Autonomous Household Energy Management Based on a Double Cooperative Game Approach in the Smart Grid
Abstract
:1. Introduction
2. Related Work
3. System Model
3.1. Welfare Model for Utility Companies
- The cost functions are strictly convex and always increasing with respect to the total demand;
- When residential users buy electricity energy from the SG, we have for ; when users sell electricity energy back to the SG, we have for ;
- At any given time slot h, the price at which the SG sells electricity energy to the residential users is always no less than the price at which it buys.
3.2. Load Dispatch Model for Residential Users
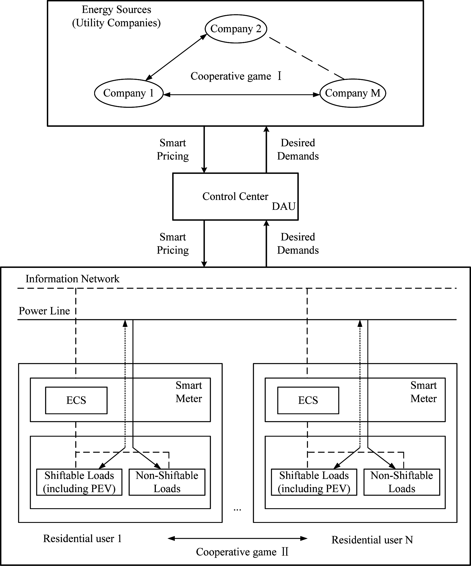
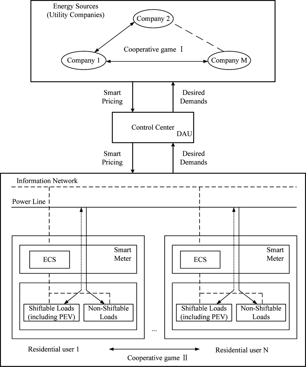
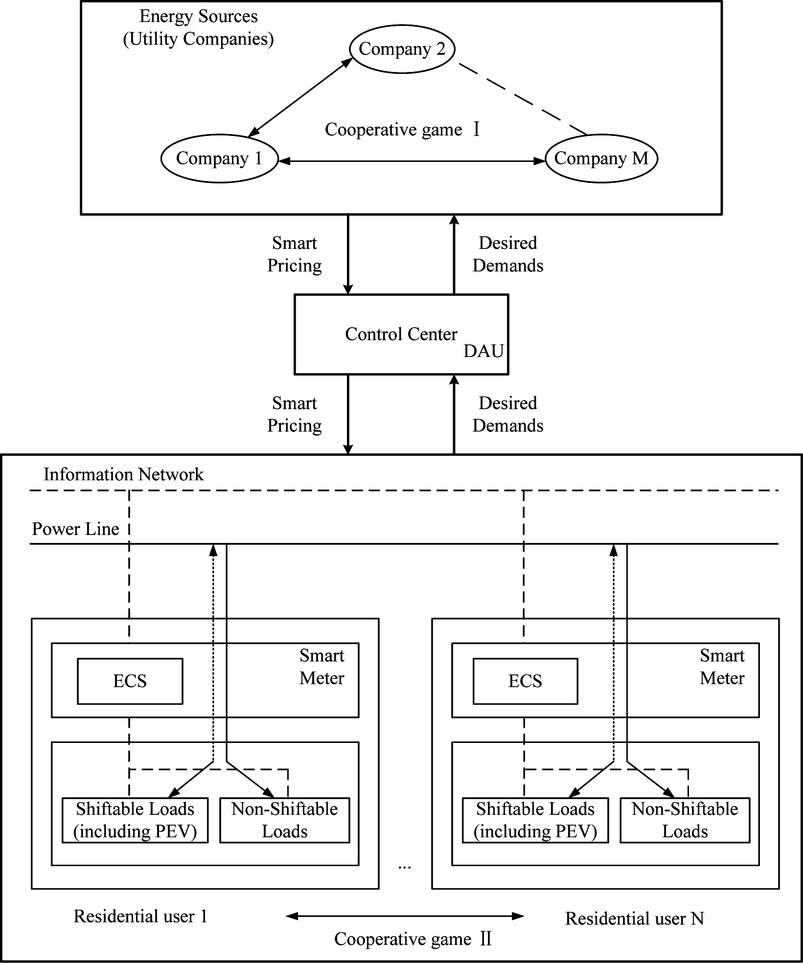
4. Double Cooperative Game among Utility Companies and Residential Users
4.1. Cooperative Game among Utility Companies
- Players: utility companies in the set ;
- Strategies: each utility company m ∈ selects its own energy generation proportion to minimize its cost;
- Payoffs: Cm(um, u−m) for each utility company in the set is defined as:
| Execute Algorithm 2 by residential users |
| Randomly initialize um and u−m |
| Repeat |
| Solve problem in Equation (12) |
| if um,h changes compared to previous value then |
| Update um,h to the new solution |
| Broadcast um,h to all other utility companies |
| end if |
| if if a new update is received then |
| update u−m,h |
| end if |
| until no utility company wants to change the strategy. |
4.2. Cooperative Game among Residential Users
- Players: users in the set ;
- Strategies: each user selects its ECS xn to maximize its payoff;
- Payoffs: Pn(xn; x−n) for each user is defined as:where x−n ≜ [x1, ⋯, xn−1, xn+1, ⋯, xN] denotes the energy consumption schedules for all users, except user n.
| Randomly initialize ln and l−n |
| Repeat |
| Solve problem in Equation (16) using inner point method. |
| if xn changes compared to current schedule then |
| Update xn to the new solution |
| Broadcast ln to all other users |
| end if |
| if if a new update is received then |
| update l−n |
| end if |
| until no residential user wants to change the strategy. |
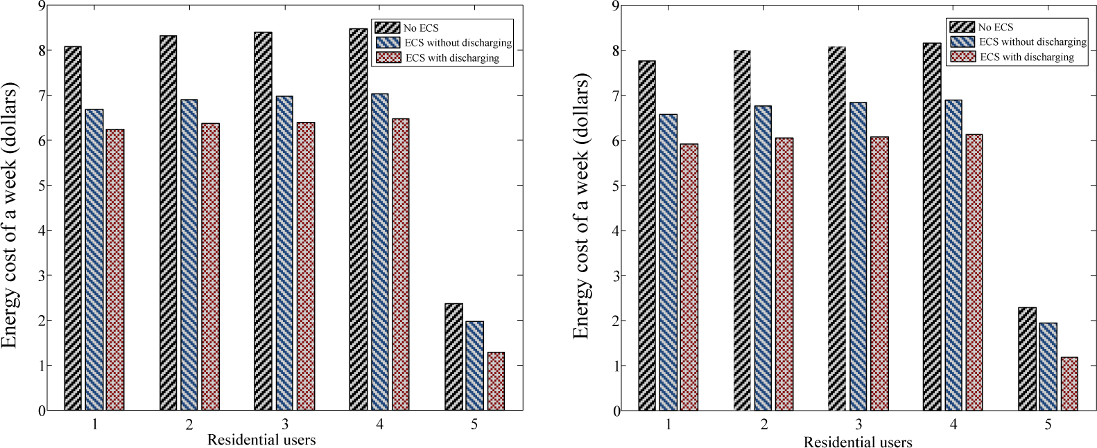
5. Case Study
6. Conclusions
Acknowledgments
Author Contributions
Conflicts of Interest
References
- Belhaiza, S.; Baroudi, U. A game theoretic model for smart grids demand management. IEEE Trans. Smart Grid 2015, 6, 1386–1393. [Google Scholar]
- Baharlouei, Z.; Hashemi, M.; Narimani, H.; Mohsenian-Rad, H. Achieving optimality and fairness in autonomous demand response: Benchmarks and billing mechanisms. IEEE Trans. Smart Grid 2013, 4, 968–975. [Google Scholar]
- Gellings, C. The concept of demand-side management for electric utilities. Proc. IEEE 1985, 73, 1468–1470. [Google Scholar]
- Fahrioglu, M.; Alvarado, F. Designing incentive compatible contracts for effective demand management. IEEE Trans. Power Syst 2000, 15, 1255–1260. [Google Scholar]
- Ramanathan, B.; Vittal, V. A framework for evaluation of advanced direct load control with minimum disruption. IEEE Trans. Power Syst 2008, 23, 1681–1688. [Google Scholar]
- Taniguchi, T.; Kawasaki, K.; Fukui, Y.; Takata, T.; Yano, S. Automated linear function submission-based double auction as bottom-up real-time pricing in a regional prosumers’ electricity network. Energies 2015, 8. in press. [Google Scholar]
- Di Silvestre, M.; Graditi, G.; Sanseverino, E. A generalized framework for optimal sizing of distributed energy resources in micro-grids using an indicator-based swarm approach. IEEE Trans. Ind. Inf 2014, 10, 152–162. [Google Scholar]
- Graditi, G.; Di Silvestre, M.; Gallea, R.; Riva Sanseverino, E. Heuristic-based shiftable loads optimal management in smart micro-grids. IEEE Trans. Ind. Inf 2015, 11, 271–280. [Google Scholar]
- Graditi, G.; Ippolito, G.; Telaretti, E.; Zizzo, G. An innovative conversion device to the grid interface of combined RES-based generators and electric storage systems. IEEE Trans. Ind. Electron 2015, 62, 2540–2550. [Google Scholar]
- Ippolito, M.; Di Silvestre, M.; Riva Sanseverino, E.; Zizzo, G.; Graditi, G. Multi-objective optimized management of electrical energy storage systems in an islanded network with renewable energy sources under different design scenarios. Energy 2014, 64, 648–662. [Google Scholar]
- Dusonchet, L.; Ippolito, M.; Telaretti, E.; Zizzo, G.; Graditi, G. An optimal operating strategy for combined RES-based generators and electric storage systems for load shifting applications. Proceedings of the 4th International Conference on Power Engineering, Energy and Electrical Drives, Istanbul, Turkey, 13–17 May 2013; pp. 552–557.
- Favuzza, S.; Graditi, G.; Ippolito, M.; Massaro, F.; Musca, R.; Riva Sanseverino, E.; Zizzo, G. Transition of a distribution system towards an active network. Part I: Preliminary design and scenario perspectives. Proceedings of the IEEE 3rd International Conference on Clean Electrical Power Renewable Energy Resources Impact, Ischia, Italy, 14–16 June 2011; pp. 9–14.
- Cosentino, V.; Favuzza, S.; Graditi, G.; Ippolito, M.; Massaro, F.; Riva Sanseverino, E.; Zizzo, G. Transition of a distribution system towards an active network. Part II: Economical analysis of selected scenario. Proceedings of the IEEE 3rd International Conference on Clean Electrical Power Renewable Energy Resources Impact, Ischia, Italy, 14–16 June 2011; pp. 15–20.
- Atzeni, I.; Ordonez, L.; Scutari, G.; Palomar, D.; Fonollosa, J. Demand-side management via distributed energy generation and storage optimization. IEEE Trans. Smart Grid 2013, 4, 866–876. [Google Scholar]
- Ipakchi, A.; Albuyeh, F. Grid of the future. IEEE Power Energy Mag 2009, 7, 52–62. [Google Scholar]
- Siano, P.; Graditi, G.; Atrigna, M.; Piccolo, A. Designing and testing decision support and energy management systems for smart homes. J. Ambient. Intell. Humaniz. Comput 2013, 4, 651–661. [Google Scholar]
- Rinaldy, R.S. An efficient load model for analyzing demand side management impacts. IEEE Trans. Power Syst 1993, 8, 1219–1226. [Google Scholar]
- Gao, B.; Zhang, W.; Tang, Y.; Hu, M.; Zhu, M.; Zhan, H. Game-Theoretic Energy Management for the Residential Users with Dischargeable Plug-in Electric Vehicles. Energies 2014, 7, 7499–7518. [Google Scholar]
- Di Silvestre, M.; Riva Sanseverino, E.; Zizzo, G.; Graditi, G. An optimization approach for efficient management of EV parking lots with batteries recharging facilities. J. Ambient. Intell. Hum. Comput 2013, 4, 641–649. [Google Scholar]
- Xu, N.; Chung, C. Challenges in future competition of electric vehicle charging management and solutions. IEEE Trans. Smart Grid 2015, 6, 1323–1331. [Google Scholar]
- Kim, B.-G.; Ren, S.; Schaar, M.; Lee, J.-W. Bidirectional energy trading and residential load scheduling with electric vehicles in the smart grid. IEEE J. Sel. Areas Commun 2013, 31, 1219–1234. [Google Scholar]
- Wu, C.; Mohsenian-Rad, H.; Huang, J. Vehicle-to-aggregator interaction game. IEEE Trans. Smart Grid 2012, 3, 434–442. [Google Scholar]
- Samadi, P.; Mohsenian-Rad, A.-H.; Schober, R.; Wong, V.; Jatskevich, J. Optimal Real-Time Pricing Algorithm Based on Utility Maximization for Smart Grid. Proceedings of the 2010 First IEEE International Conference on Smart Grid Communications, Gaithersburg, MD, USA, 4–6 October 2010; pp. 415–420.
- Miyano, Y.; Namerikawa, T. Load Leveling Control by Real-Time Dynamical Pricing Based on Steepest Descent Method. Proceedings of the SICE Annual Conference, Akita, Japan, 20–23 August 2012; pp. 131–136.
- Papavasiliou, A.; Hindi, H.; Greene, D. Market-Based Control Mechanisms for Electric Power Demand Response. Proceedings of the 49th IEEE Conference on Decision and Control, Atlanta, GA, USA, 15–17 December 2010; pp. 1891–1898.
- Kiani, A.; Annaswamy, A. Wholesale Energy Market in a Smart Grid: Dynamic Modeling and Stability. Proceedings of the 50th IEEE Conference on Decision and Control and European Control Conference, Orlando, FL, USA, 12–15 December 2011; pp. 2202–2207.
- Saad, W.; Han, Z.; Poor, H.V. Game-theoretic methods for the smart grid: An overview of microgrid systems, demand-side management, and smart grid communications. IEEE Signal Process. Mag 2012, 29, 86–105. [Google Scholar]
- Reddy, P.V.; Engwerda, J. Necessary and sufficient conditions for Pareto Optimality in infinite horizon cooperative differential games. IEEE Trans. Autom. Control 2014, 59, 2536–2542. [Google Scholar]
- Yang, P.; Tang, G.; Nehorai, A. A game-theoretic approach for optimal time-of-use electricity pricing. IEEE Trans. Power Syst 2013, 2, 884–892. [Google Scholar]
- Samadi, P.; Mohsenian-Rad, H.; Schober, R.; Wong, V. Advanced demand side management for the future smart grid using mechanism design. IEEE Trans. Smart Grid 2012, 3, 1170–1180. [Google Scholar]
- Tushar, W.; Zhang, J.A.; Smith, D.B.; Poor, H.V.; Thiebaux, S. Prioritizing consumers in smart grid: A game theoretic approach. IEEE Trans. Smart Grid 2014, 5, 1429–1438. [Google Scholar]
- Mohsenian-Rad, A.-H.; Wong, V.; Jatskevich, J.; Schober, R.; Leon-Garcia, A. Autonomous demand-side management based on game-theoretic energy consumption scheduling for the future smart grid. IEEE Trans. Smart Grid 2010, 1, 320–331. [Google Scholar]
- Wang, Y.; Saad, W.; Han, Z.; Poor, H.; Basar, T. A game-theoretic approach to energy trading in the smart grid. IEEE Trans. Smart Grid 2014, 5, 1439–1450. [Google Scholar]
- Maharjan, S.; Zhu, Q.; Zhang, Y.; Gjessing, S.; Basar, T. Dependable demand response management in the smart grid: A Stackelberg game approach. IEEE Trans. Smart Grid 2013, 4, 120–132. [Google Scholar]
- Chai, B.; Chen, J.; Yang, Z.; Zhang, Y. Demand response management with multiple utility companies: A two-level game approach. IEEE Trans. Smart Grid 2014, 5, 722–731. [Google Scholar]
- Soliman, H.M.; Leon-Garcia, A. Game-theoretic demand-side management with storage devices for the future smart grid. IEEE Trans. Smart Grid 2014, 5, 1475–1485. [Google Scholar]
- Rosen, J. Existence and uniqueness of equilibrium points for concave n-person games. Econometrica 1965, 33, 347–351. [Google Scholar]
- Sun, B.; Liao, Q.; Xie, P. A cost benefit analysis model of vehicle-to-grid for peak shaving. Power Syst. Technol 2012, 36, 30–34. [Google Scholar]
- Luo, Z.; Hu, Z.; Song, Y. Coordinated charging and discharging of large-scale plug-in electric vehicles with cost and capacity benefit analysis. Automat. Electr. Power Syst 2012, 36, 19–26. [Google Scholar]
- Warner, J. Lithium-Ion Battery Packs for EVs. In Lithium-Ion Batteries: Advances and Applications; Pistoia, G., Ed.; Elsevier: Amsterdam, The Netherlands, 2014; pp. 127–150. [Google Scholar]





| Users | Refrigerator | Light | Washing machine | EV | Dishwasher |
|---|---|---|---|---|---|
| 1 | 1.32 | 1.3 | 1.49 | 14.4 | 0 |
| 2 | 1.32 | 1.0 | 1.30 | 14.4 | 1.44 |
| 3 | 1.32 | 0.8 | 1.49 | 14.4 | 1.44 |
| 4 | 1.32 | 1.0 | 0 | 14.4 | 1.44 |
| 5 | 1.32 | 1.2 | 1.49 | 0 | 1.44 |
| 1 | 1.32 | 1.3 | 1.49 | 12.7 | 0 |
| 2 | 1.32 | 1.0 | 1.30 | 12.7 | 1.44 |
| 3 | 1.32 | 0.8 | 1.49 | 12.7 | 1.44 |
| 4 | 1.32 | 1.0 | 1.49 | 12.7 | 1.44 |
| 5 | 1.32 | 1.2 | 1.49 | 0 | 1.44 |
| Company | ai | bi | ai | bi |
|---|---|---|---|---|
| i=1 | 0.004 | 0.064 | 0.00084 | 0.064 |
| i=2 | 0.0006 | 0.046 | 0.00078 | 0.063 |
| i=3 | 0.0005 | 0.044 | 0.00080 | 0.065 |
© 2015 by the authors; licensee MDPI, Basel, Switzerland This article is an open access article distributed under the terms and conditions of the Creative Commons Attribution license (http://creativecommons.org/licenses/by/3.0/).
Share and Cite
Gao, B.; Liu, X.; Zhang, W.; Tang, Y. Autonomous Household Energy Management Based on a Double Cooperative Game Approach in the Smart Grid. Energies 2015, 8, 7326-7343. https://doi.org/10.3390/en8077326
Gao B, Liu X, Zhang W, Tang Y. Autonomous Household Energy Management Based on a Double Cooperative Game Approach in the Smart Grid. Energies. 2015; 8(7):7326-7343. https://doi.org/10.3390/en8077326
Chicago/Turabian StyleGao, Bingtuan, Xiaofeng Liu, Wenhu Zhang, and Yi Tang. 2015. "Autonomous Household Energy Management Based on a Double Cooperative Game Approach in the Smart Grid" Energies 8, no. 7: 7326-7343. https://doi.org/10.3390/en8077326
APA StyleGao, B., Liu, X., Zhang, W., & Tang, Y. (2015). Autonomous Household Energy Management Based on a Double Cooperative Game Approach in the Smart Grid. Energies, 8(7), 7326-7343. https://doi.org/10.3390/en8077326
