An Experimental Study on the Energy and Exergy Performance of an Air-Type PVT Collector with Perforated Baffle
Abstract
1. Introduction
2. Design and Experiment Method
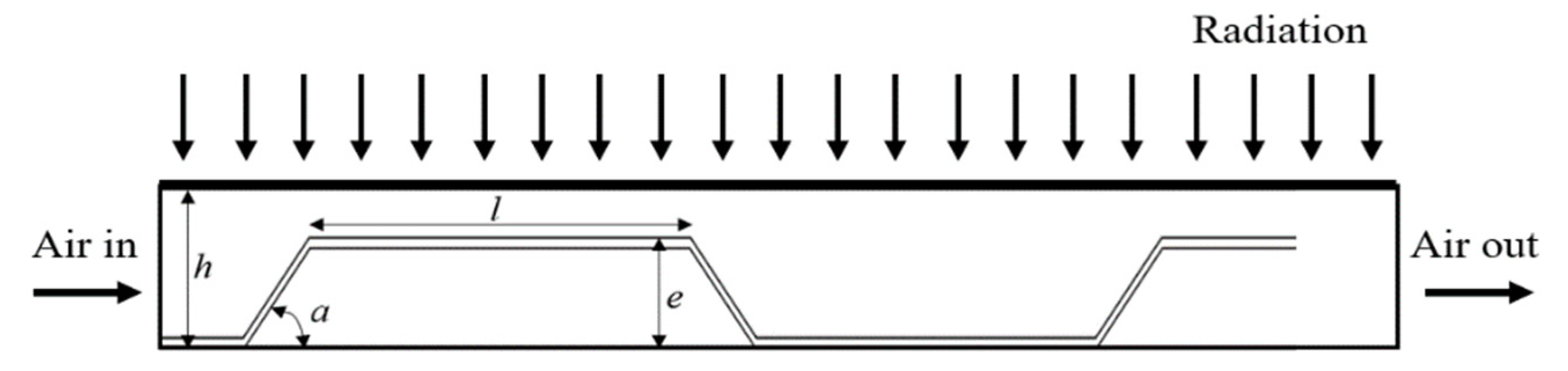
2.1. Design of Air-Type PVT Collector
2.2. Experiment Method of Air-Type PVT Collector
3. Results and Analysis
3.1. Mathematical Formulations
3.2. Energy Performance of Air-Type PVT Collector
3.3. Exergy Performance of Air-Type PVT Collector
4. Conclusions
Author Contributions
Funding
Institutional Review Board Statement
Informed Consent Statement
Data Availability Statement
Conflicts of Interest
References
- BNEF. New Energy Outlook 2019 Executive Summary; BloombergNEF: Sydney, Australia, 2019; pp. 1–8. [Google Scholar]
- Sun, L.; Shen, Y.J.J.; You, F. Sustainable residential micro-cogeneration system based I a fuel cell using dynamic programming-based economic day-ahead scheduling. ACS Sustain. Chem. Eng. 2021, 9, 3258–3266. [Google Scholar] [CrossRef]
- Hasan, H.A.; Sopian, K.; Jaaz, A.H.; Al-Shamani, A.N. Experimental investigation of jet array nanofluids impingement in photovoltaic/thermal collector. Sol. Energy 2017, 144, 321–334. [Google Scholar] [CrossRef]
- Al-Waeli, A.H.A.; Chaichan, M.T.; Kazem, H.A.; Sopian, K.; Safaei, J. Numerical study on the effect of operating nanofluids of photovoltaic thermal system (PV/T) on the convective heat transfer. Case Stud. Therm. Eng. 2018, 12, 405–413. [Google Scholar] [CrossRef]
- Choi, H.W.; Yoon, J.I.; Son, C.H.; Choi, K.H. Performance estimation of hybrid solar air-water heater on single working of heating medium. J. Korean Sol. Energy Soc. 2014, 34, 49–56. [Google Scholar] [CrossRef][Green Version]
- Choi, H.W.; Yoon, J.I.; Son, C.H.; Choi, K.H. Performance evaluation of hybrid solar air-water heater when the heated air is used as inlet air during air and water is heated simultaneously. J. Korean Sol. Energy Soc. 2015, 35, 21–29. [Google Scholar]
- Abuska, M.; Sevik, S. Energy, exergy, economic and environmental (4E) analyses of flat-plate and V-groove solar air collectors based on aluminium and copper. Sol. Energy 2017, 158, 259–277. [Google Scholar] [CrossRef]
- Riffat, S.B.; Cuce, E. A review on hybrid photovoltaic/thermal collectors and systems. Int. J. Low-Carbon Technol. 2011, 6, 212–241. [Google Scholar] [CrossRef]
- Park, S.H.; Bang, A.Y.; Kim, J.H.; Kim, J.T. An experimental study of air type photovoltaic/thermal collector. J. Korean Sol. Energy Soc. 2013, 33, 157–161. [Google Scholar]
- Kim, Y.J.; Lee, K.S.; Kang, E.C.; Lee, E.J. The impact of a PVT air flow rate and panel temperature on thermal and power efficiency. Korean Soc. Mech. Eng. 2017, 33, 85–87. [Google Scholar] [CrossRef]
- Kim, S.M.; Kim, J.H.; Kim, J.T. An experimental study on thermal and electrical performance of an air-type PVT collector. J. Korean Sol. Energy Soc. 2019, 39, 23–32. [Google Scholar] [CrossRef]
- Delisle, V.; Kim, J.T.; Kim, J.H.; Gagne, A.; Ayoub, J. Performance assessment of a new air-based building-integrated photovoltaic thermal solar collector. In Proceedings of the 33rd European Photovoltaic Solar Energy Conference and Exhibition, Ispra, Italy, 25–29 September 2017; pp. 2590–2595. [Google Scholar]
- Franklin, J.C.; Chandrasekar, M. Performance enhancement of a single pass solar photovoltaic thermal system using staves in the trailing portion of the air channel. Renew. Energy 2019, 135, 248–258. [Google Scholar] [CrossRef]
- Fudholi, A.; Zohri, M.; Rukman, N.S.B.; Nazri, N.S.; Mustapha, M.; Yen, C.H.; Mohammad, M.; Sopian, K. Exergy and sustainability index of photovoltiac thermal (PVT) air collector: A theoretical and experimental study. Renew. Sustain. Energy Rev. 2019, 100, 44–51. [Google Scholar] [CrossRef]
- Tahmasbi, M.; Siavashi, M.; Norouzi, A.M.; Doranehgard, M.H. Thermal and electrical efficiencies enhancment of a solar photovoltaic thermal/air system (PVT/air) using metal foams. J. Taiwan Inst. Chem. Eng. 2021. [Google Scholar] [CrossRef]
- Manssouri, O.L.; Hajji, B.; Tina, G.M.; Gagliano, A.; Aneli, S. Electrical and thermal performances of bi-fluid PV/Thermal collectors. Energies 2021, 14, 1633. [Google Scholar] [CrossRef]
- Boutina, L.; Khelifa, A.; Touafek, K.; Lebbi, M.; Baissi, M.T. Improvement of PVT air-cooling by the integration of a chimney tower (CT/PVT). Appl. Therm. Eng. 2018, 129, 1181–1188. [Google Scholar] [CrossRef]
- Tiwari, S.; Agrawal, S.; Tiwari, G.N. PVT air collector integrated greenhouse dryers. Renew. Sustain. Energy Rev. 2018, 90, 142–159. [Google Scholar] [CrossRef]
- Rahman, N.M.A.; Haw, L.C.; Fazlizan, A. A literature review of naturally ventilated public hospital wards in tropical climate countries for thermal comfort and energy saving improvements. Energies 2021, 14, 435. [Google Scholar] [CrossRef]
- Asefi, G.; Habibollahzade, A.; Ma, T.; Houshfar, E.; Wang, R. Thermal management of building integrated photovoltaic/thermal systems: A comprehensive review. Sol. Energy 2021, 216, 188–210. [Google Scholar] [CrossRef]
- Fan, W.; Kokogiannakis, G.; Ma, Z. Optimisation of life cycle performance of a double-pass photovoltaic thermal-solar air heater with heat pipes. Renew. Energy 2019, 138, 90–105. [Google Scholar] [CrossRef]
- Saadon, S.; Gaillard, L.; Menezo, C.; Giroux-Julien, S. Exergy, exergoeconomic analysis of a building integrated semi-transparent photovoltaic/thermal (BISTPV/T) by natural ventilation. Renew. Energy 2020, 150, 981–989. [Google Scholar] [CrossRef]
- Fudholi, A.; Sopian, K. R&D of photovoltaic thermal (PVT) systems: An overview. Int. J. Power Electron. Drive Syst. 2018, 9, 803–810. [Google Scholar]
- Arslan, E.; Aktas, M.; Can, Ö.F. Experimental and numerical investigation of a novel photovoltaic thermal (PV/T) collector with the energy and exergy analysis. J. Clean. Prod. 2020, 276, 1–16. [Google Scholar] [CrossRef]
- Li, G.; Pei, G.; Yang, M.; Ji, J. Experiment investigation on electrical and thermal performances of a semitransparent photovoltaic/thermal system with water cooling. Int. J. Photoenergy 2014, 2014, 1–7. [Google Scholar] [CrossRef]
- Esfandi, S.; Baloochzadeh, S.; Asayesh, M.; Ehyaei, M.A.; Ahmadi, A.; Rabanian, A.A.; Das, B.; Costa, M.V.A.F.; Davarpanah, A. Energy, exergy, economic, and exergoenvironmental analyses of a novel hybrid system to produce electricity, cooling, and syngas. Energies 2020, 13, 6453. [Google Scholar] [CrossRef]
- Wajs, J.; Golabek, A.; Bochniak, G.; Mikielewicz, D. Air-cooled photovoltaic roof tile as an example of the BIPVT system-An experimental study on the energy and exergy performance. Energy 2020, 197, 1–10. [Google Scholar] [CrossRef]
- Sarhaddi, F.; Farahat, S.; Ajam, H.; Behzadmehr, A. Exergetic performance assessment of a solar photovoltaic thermal (PV/T) air collector. Energy Build. 2010, 42, 2184–2199. [Google Scholar] [CrossRef]
- Özakin, A.N.; Kaya, F. Effect on the exergy of the PVT system of fins added to an air-cooled channel: A study on temperature and air velocity with ANSYS Fluent. Sol. Energy 2019, 184, 561–569. [Google Scholar] [CrossRef]
- Agathokleous, R.A.; Kalogirou, S.A.; Karellas, S. Exergy analysis of a naturally ventilated building integrated Photovoltaic/Thermal (BIPV/T) system. Renew. Energy 2018, 128, 541–552. [Google Scholar] [CrossRef]
- Joshi, A.S.; Tiwari, A. Energy and exergy efficiencies of a hybrid photovoltaic-thermal (PV/T) air collector. Renew. Energy 2007, 32, 2223–2241. [Google Scholar] [CrossRef]
- Agrawal, S.; Tiwari, G.N. Overall energy, exergy and carbon credit analysis by different type of hybrid photovoltaic thermal air collectors. Energy Convers. Manag. 2013, 65, 628–636. [Google Scholar] [CrossRef]
- Nazri, N.S.; Fudholi, A.; Mustafa, W.; Yen, C.H.; Mohammand, M.; Ruslan, M.H.; Sopian, K. Exergy and improvement potential of hybrid photovoltaic thermal/thermoelectric (PVT/TE) air collector. Renew. Sustain. Energy Rev. 2019, 111, 132–144. [Google Scholar] [CrossRef]
- Jha, P.; Das, B.; Gupta, R. An experimental study of a photovoltaic thermal air collector (PVTAC): A comparison of a flat and the wavy collector. Appl. Therm. Eng. 2019, 163, 1–13. [Google Scholar] [CrossRef]
- Yu, J.S.; Kim, J.H.; Kim, J.T. A study for improving thermal performance according to variables of perforated baffle in air-type PVT collector. J. Korean Sol. Energy Soc. 2019, 39, 83–91. [Google Scholar] [CrossRef]
- ISO 9806:2017. Solar energy-Solar Thermal Collectors-Test Methods; International Organization for Standard: Geneva, Switzerland, 2017. [Google Scholar]
- IEC 61215:2016. Crystalline Silicon Terrestrial Photovoltaic(PV) Modules-Design Qualification and Type Approval; International Electrotechnical Commission: Geneva, Switzerland, 2016. [Google Scholar]
- Petela, R. Exergy of Heat Radiation. Faculty of Mechanical Engineering Technology; Silesian Technical University: Gliwice, Poland, 1961. [Google Scholar]










| Parameters | Value |
|---|---|
| Cell type | Mono-crystalline silicon (60 cell) |
| Module size | 1638 × 996 × 6 mm |
| Module efficiency | 17.48% |
| Maximum power () | 285 W |
| Maximum voltage () | 33.1 V |
| Maximum current () | 8.7 A |
| Open voltage () | 40.1 V |
| Short current () | 9.2 A |
| Type | Specification |
|---|---|
| Solar irradiance (Pyranometer) | Model: Albedometer Operating temperature: −40 °C to +80 °C Measurement range: 0 to 2000 W/m2 Non-linearity: ±1.2% at <1000 W/m2 Directional response: ±20 W/m2 at 1000 W/m2 |
| Flow rate (Insertion mass flow meter) | Model: Steel Mass 640S Operating temperature: −20 °C to +50 °C Measurement range: 0 to 200 m3/h Accuracy: ±1% of reading ±0.5% of full scale |
| Air temperature/relative humidity (Humidity and temperature transmitter) | Model: Humidity Transmitter HF 5 Operating temperature: −40 °C to +60 °C Measurement range: −50 °C to +100 °C/0% RH to 100% RH Accuracy: ±0.1 K at 23 °C/±0.8% RH |
| PV surface temperature (Thermocouple) | Manufacture: Omega T type thermocouple Operating temperature: −60 °C to +100 °C Measurement range: −250 °C to +350 °C Accuracy: ±0.5% |
| Parameters | Experimental Value | Permitted Deviation from the Mean Value—Air Heating Collector |
|---|---|---|
| Hemispherical solar irradiance | Over 700 W/m2 | ±50 W/m2 |
| Thermal irradiance | - | ±20 W/m2 |
| Ambient air temperature | 21–31 °C | ±1.5 K |
| Fluid mass flowrate | 100–200 m3/h | ±2% |
| Fluid temperature at the collector inlet | 21–31 °C | ±1.5 K |
| Fluid temperature at the collector outlet | 33–48 °C | ±1.5 K |
| Surrounding air speed | 0–2 m/s | ±1.0 m/s deviation from set value |
Publisher’s Note: MDPI stays neutral with regard to jurisdictional claims in published maps and institutional affiliations. |
© 2021 by the authors. Licensee MDPI, Basel, Switzerland. This article is an open access article distributed under the terms and conditions of the Creative Commons Attribution (CC BY) license (https://creativecommons.org/licenses/by/4.0/).
Share and Cite
Kim, J.-H.; Yu, J.-S.; Kim, J.-T. An Experimental Study on the Energy and Exergy Performance of an Air-Type PVT Collector with Perforated Baffle. Energies 2021, 14, 2919. https://doi.org/10.3390/en14102919
Kim J-H, Yu J-S, Kim J-T. An Experimental Study on the Energy and Exergy Performance of an Air-Type PVT Collector with Perforated Baffle. Energies. 2021; 14(10):2919. https://doi.org/10.3390/en14102919
Chicago/Turabian StyleKim, Jin-Hee, Ji-Suk Yu, and Jun-Tae Kim. 2021. "An Experimental Study on the Energy and Exergy Performance of an Air-Type PVT Collector with Perforated Baffle" Energies 14, no. 10: 2919. https://doi.org/10.3390/en14102919
APA StyleKim, J.-H., Yu, J.-S., & Kim, J.-T. (2021). An Experimental Study on the Energy and Exergy Performance of an Air-Type PVT Collector with Perforated Baffle. Energies, 14(10), 2919. https://doi.org/10.3390/en14102919

