Increasing the Device Performance of Recycling Double-Pass W-Ribs Solar Air Heaters
Abstract
1. Introduction
2. Theoretical Formulations
2.1. Energy Balance Equations
2.2. Analytical Solution Procedure
2.3. Collector Efficiency
2.4. Power Consumption
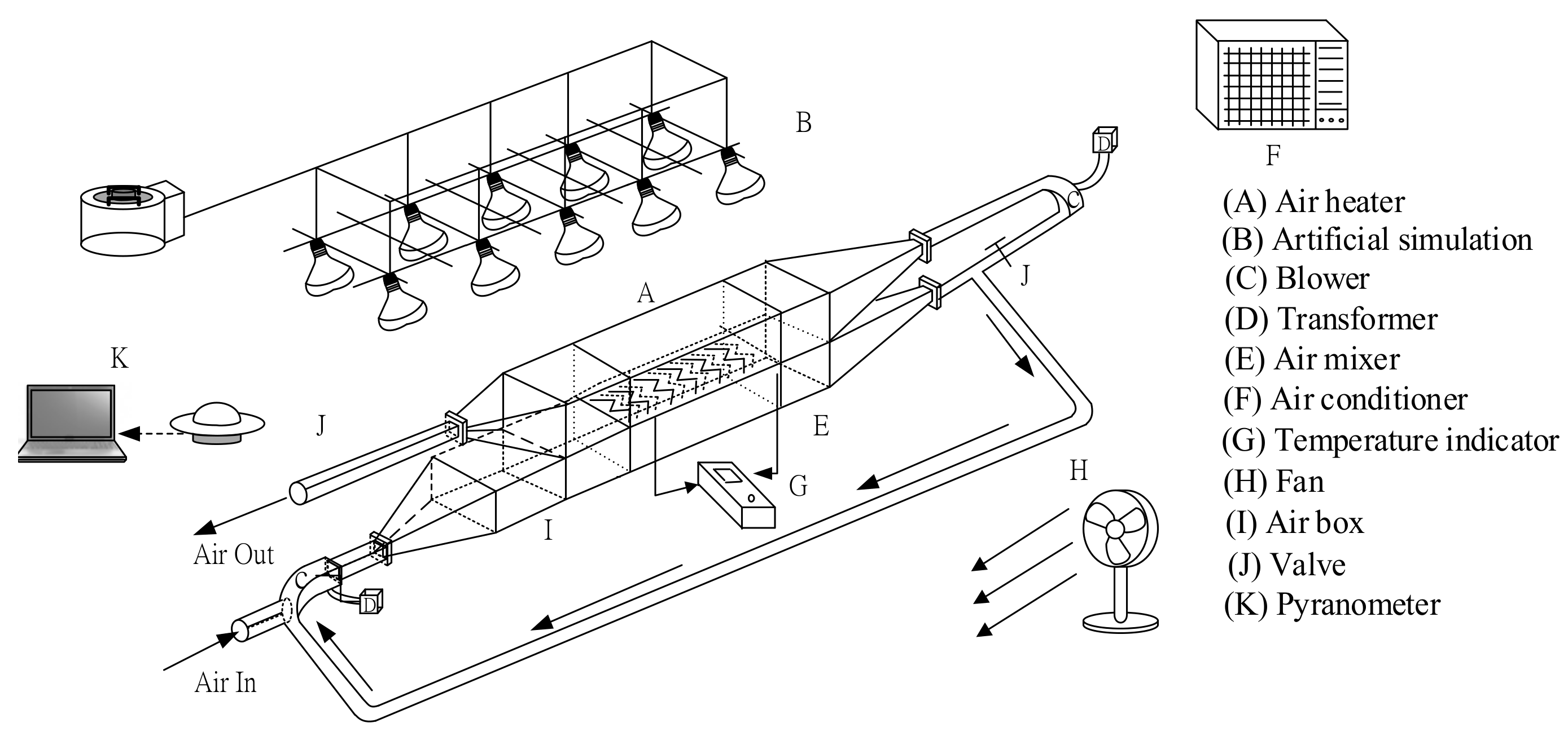
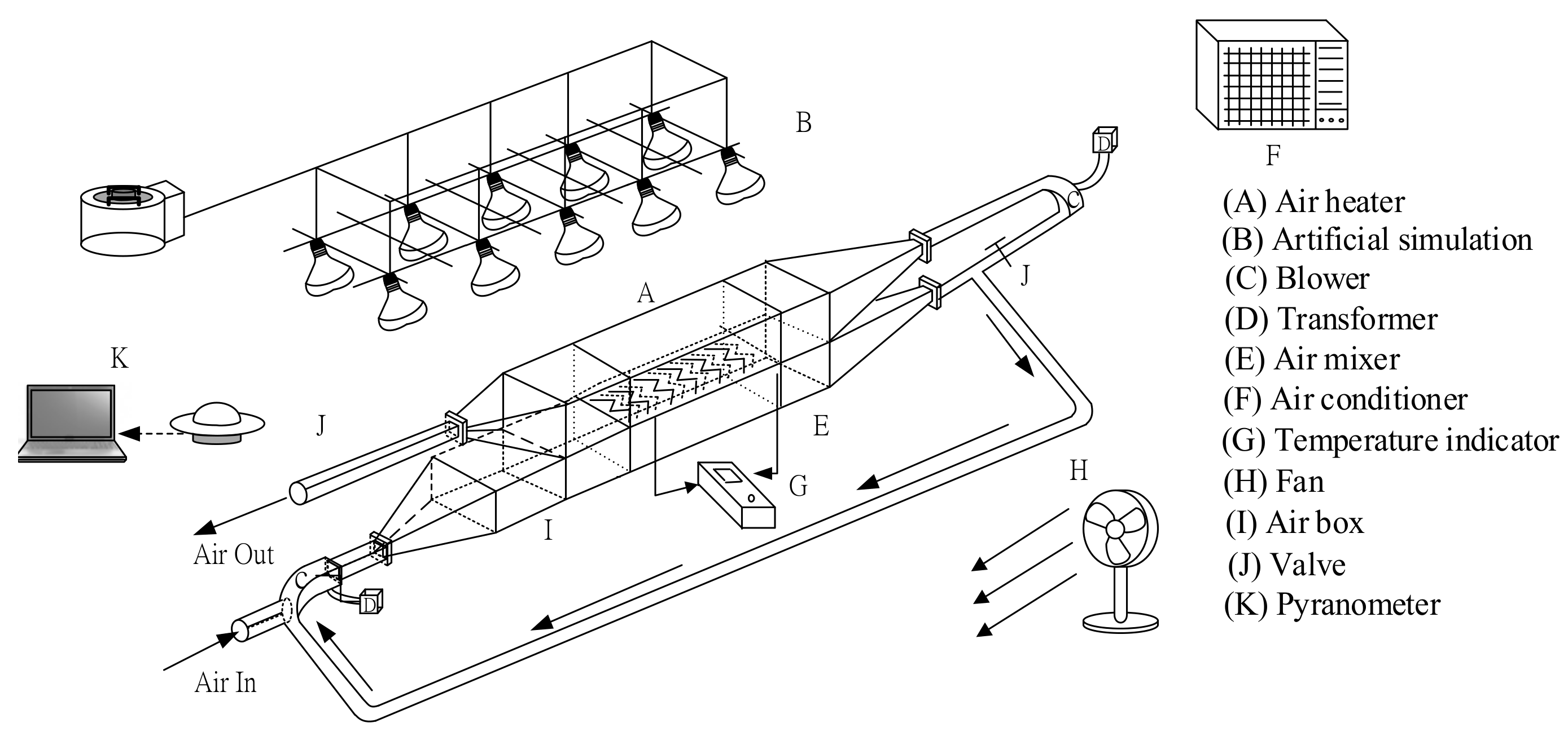
3. Experimental Methods and Apparatus
4. Collector Thermal Efficiency and the Increase of Power Consumption
5. Results and Discussion
6. Conclusions
Author Contributions
Funding
Acknowledgments
Conflicts of Interest
Nomenclature
| surface area of the collector (m2) | |
| surface area of the edge (m2) | |
| coefficients defined in Equations (A6)–(A13), i = 1, 2,…, 6 | |
| coefficients defined in Equations (A16) and (A17), i = 1, 2 | |
| specific heat of air at constant pressure (J/(kg K)) | |
| equivalent hydraulic diameter (m), i = a, b, s | |
| value equals | |
| deviation, defined in Equation (31) | |
| further collector thermal efficiency enhancement, defined in Equation (26) | |
| empirical factor defined by Equation (7a) | |
| Fanning friction factor defined in Equation (29), i = a, b, s | |
| coefficients derived in Equation (A18) | |
| coefficients derived in Equations (A1)–(A7), i = 1, 2, …, 7 | |
| height of channels (m) | |
| convection coefficient in both subchannel, i = a, b (W/m2K) | |
| convection coefficient under and above the absorber plate, i = a, b (W/m2K) | |
| convective coefficient between two glass covers (W/m2K) | |
| radiation coefficient between two glass covers, (W/m2 K) | |
| radiation coefficient from the outer cover to the ambient (W/m2K) | |
| radiation coefficient between the inner cover and absorber plate (W/m2 K) | |
| radiation coefficient between absorber plate and bottom plate (W/m2 K) | |
| convective heat-transfer coefficient of the air flowing over the outer cover (W/(m2 K)) | |
| Incident solar radiation (W/m2) | |
| coefficients, i = 1, 2 | |
| percentage of improvement defined in Equation (24) | |
| percentage of improvement defined in Equation (25) | |
| percentage of increment defined in Equation (30) | |
| percentage of increment defined in Equation (30) | |
| thermal conductivity of the stainless steel plate (W/m K) | |
| thermal conductivity of insulator (W/m K) | |
| channel length (m) | |
| thickness of insulator (m) | |
| friction loss (J/kg), i = a, b, s | |
| air mass flow rate (kg/s) | |
| number of glass covers | |
| the number of the experimental measurements | |
| Nusselt number, i = a, b, s | |
| power consumption for the double-pass flat-plate device (W) | |
| power consumption for the downward single-pass device (W) | |
| power consumption for the double-pass W-ribs device (W) | |
| Prandtl number | |
| total heat loss to the surrounding (W) | |
| useful energy gain by flowing air (W) | |
| recycle ratio | |
| Reynolds number defined in Equation (11b), i = a, b, s | |
| axial fluid temperature distribution in the lower subchannel (K) | |
| dimensionless axial fluid temperature distribution of (K) | |
| axial fluid temperature distribution in the upper subchannel (K) | |
| dimensionless axial fluid temperature distribution of (K) | |
| mixing temperature of the lower subchannel a at x = 0 (K) | |
| inlet temperature of the lower subchannel (K) | |
| outlet temperature of the lower subchannel at x = L (K) | |
| average temperature of the lower subchannel (K) | |
| temperature of the upper subchannel b at x = 0 (K) | |
| temperature of the upper subchannel at x = L (K) | |
| average temperature of the upper subchannel (K) | |
| temperature of the inner cover (K) | |
| temperature of the outer cover (K) | |
| average temperature of the inner cover (K) | |
| average temperature of the outer cover (K) | |
| inlet temperature of the lower subchannel (K) | |
| temperature of W-ribs absorber plate (K) | |
| average temperature of W-ribs absorber plate (K) | |
| bottom plate temperature (K) | |
| average temperature of bottom plate (K) | |
| ambient temperature (K) | |
| heat loss coefficient from the bottom plate to the ambient (W/m2 K) | |
| heat loss coefficient from the surfaces of edges and bottom to the ambient (W/m2 K) | |
| heat loss coefficient from the inner cover to the ambient (W/m2 K) | |
| heat loss coefficient from the edge (W/m2 K) | |
| overall heat loss coefficient (W/m2 K) | |
| heat loss coefficient from the top to the ambient (W/m2 K) | |
| wind velocity (m/s) | |
| the average velocity defined in Equation (11a) (m/s), i = a, b, s | |
| coefficient defined in Equations (A14) and (A15), i = 1, 2 | |
| collector width (m) | |
| axial coordinate along the flow direction (m) | |
| Greek Letters | |
| absorptivity of the absorber plate | |
| collector tilt (deg.) | |
| collector thermal efficiency of the double-pass flat-plate device | |
| collector thermal efficiency of the double-pass W-ribs device | |
| collector thermal efficiency of the downward-type single-pass device | |
| experimental data of collector thermal efficiency | |
| theoretical prediction of collector thermal efficiency | |
| transmittance of glass cover | |
| relative roughness | |
| emissivity of inner cover | |
| emissivity of glass cover | |
| emissivity of bottom plate | |
| emissivity of absorbing plate | |
| air density (kg/m3) | |
| air viscosity (kg/s m) | |
| σ | Stefan-Boltzmann constant (=5.682 × 10−8) (W/m2 K4) |
| dimensionless channel position | |
Appendix A
References
- Chen, X.; Yang, H.; Lu, L.; Wang, J.; Liu, W. Experimental studies on a ground coupled heat pump with solar thermal collectors for space heating. Energy 2011, 36, 5292–5300. [Google Scholar]
- El-Sebaii, A.A.; Shalaby, S.M. Experimental investigation of an indirect-mode forced convection solar dryer for drying thymus and mint. Energy Convers. Manag. 2013, 74, 109–116. [Google Scholar] [CrossRef]
- Chen, Z.; Gu, M.; Peng, D.; Peng, C.; Wu, Z. A numerical study on heat transfer of high efficient solar flat-plate collectors with energy storage. Int. J. Green Energy 2010, 7, 326–336. [Google Scholar] [CrossRef]
- Fudholi, A.; Sopian, K.; Othman, M.Y.; Ruslan, M.H.; Bakhtyar, B. Energy analysis and improvement potential of finned double-pass solar collector. Energy Convers. Manag. 2013, 75, 234–240. [Google Scholar] [CrossRef]
- Tamna, S.; Skullong, S.; Thianpong, C.; Promvonge, P. Heat transfer behaviors in a solar air heater channel with multiple V-baffle vortex generators. Sol. Energy 2014, 110, 720–735. [Google Scholar] [CrossRef]
- Skullong, S.; Promvonge, P.; Thianpong, C.; Pimsarn, M. Thermal performance in solar air heater channel with combined wavy-groove and perforated-delta wing vortex generators. Sol. Appl. Therm. Eng. 2016, 100, 611–620. [Google Scholar] [CrossRef]
- Nowzari, R.; Aldabbagh, L.B.Y.; Egelioglu, F. Single and double pass solar air heaters with partially perforated cover and packed mesh. Energy 2014, 73, 694–702. [Google Scholar] [CrossRef]
- Karim, M.A.; Perez, E.; Amin, Z.M. Mathematical modelling of counter flow v-grove solar air collector. Renew. Energy 2014, 67, 192–201. [Google Scholar] [CrossRef]
- Maithani, R.; Saini, J.S. Heat transfer and friction factor correlations for a solar air heater duct roughened artificially with V-ribs with symmetrical gaps. Exp. Therm. Fluid Sci. 2016, 70, 220–227. [Google Scholar] [CrossRef]
- Satcunanathan, S.; Deonarine, S. A two pass solar air heater. Sol. Energy 1973, 15, 41–49. [Google Scholar] [CrossRef]
- El-Sebaii, A.A.; Aboul-Enein, S.; Ramadan, M.R.I.; Shalaby, S.M.; Moharram, B.M. Investigation of thermal performance of double-pass flat and v-corrugated plate solar air heaters. Energy 2011, 36, 1076–1086. [Google Scholar] [CrossRef]
- Garg, H.P.; Sharma, V.K.; Bhargava, A.K. Theory of multiple-pass solar air heaters. Energy 1985, 10, 589–599. [Google Scholar] [CrossRef]
- Wijeysundera, N.E.; Ah, L.L.; Tjioe, L.E. Thermal performance study of two-pass solar air heaters. Sol. Energy 1982, 28, 363–370. [Google Scholar] [CrossRef]
- Singh, S.; Dhiman, P. Thermal and thermohydraulic performance evaluation of a novel type double pass packed bed solar air heater under external recycle using an analytical and RSM (response surface methodology) combined approach. Energy 2014, 72, 344–359. [Google Scholar] [CrossRef]
- Saini, R.P.; Singal, S.K. A review on roughness geometry used in solar air heaters. Sol. Energy 2007, 81, 1340–1350. [Google Scholar]
- Chamoli, S.; Chauhan, R.; Thakur, N.S.; Saini, J.S. A review of the performance of double pass solar air heater. Renew. Sustain. Energy Rev. 2012, 16, 481–492. [Google Scholar] [CrossRef]
- Ravi, R.R.; Saini, R.P. A review on different techniques used for performance enhancement of double pass solar air heaters. Renew. Sustain. Energy Rev. 2016, 56, 941–952. [Google Scholar] [CrossRef]
- Gupta, M.K.; Kaushik, S.C. Performance evaluation of solar air heater for various artificial roughness geometries based on energy, effective and exergy efficiencies. Renew. Energy 2009, 34, 465–476. [Google Scholar] [CrossRef]
- Ho, C.D.; Yeh, H.M.; Wang, R.C. Heat-transfer enhancement in double-pass flat-plate solar air heaters with recycle. Energy 2005, 30, 2796–2817. [Google Scholar] [CrossRef]
- Duffie, J.A.; Beckman, W.A. Solar Engineering of Thermal Processes; Wiley: New York, NY, USA, 1980. [Google Scholar]
- Klein, S.A. Calculation of monthly average transmittance-absorptance product. Sol. Energy 1979, 23, 547–551. [Google Scholar] [CrossRef]
- Hottel, H.C.; Woertz, B.B. Performance of flat-plate solar-heat collectors. Trans. Asme 1942, 64, 91–104. [Google Scholar]
- McAdams, W.H. Heat Transmission, 3rd ed.; McGraw-Hill: New York, NY, USA, 1954. [Google Scholar]
- Tated, M.K.; Singh, D.P.; Dogra, S. Heat transfer and friction factor characteristics of double pass solar air heater using w-shaped artificial roughness ribs. IOSR J. Mech. Civ. Eng. 2015, 2278–1684, 25–30. [Google Scholar]
- Ho, C.D.; Hsiao, C.F.; Chang, H.; Tien, Y.E.; Hong, Z.S. Efficiency of recycling double-pass V-corrugated solar air collectors. Energies 2017, 10, 875–889. [Google Scholar]
- Ho, C.D.; Chang, H.; Hsiao, C.F.; Huang, C.C. Device performance improvement of recycling double-pass cross-corrugated solar air collectors. Energies 2018, 11, 338–350. [Google Scholar]
- Bhatti, M.S.; Shah, R.K. Turbulent and Transition Flow Convective Heat Transfer. In Handbook of Single-Phase Convective Heat Transfer; Kakac, S., Shah, R.K., Aung, W., Eds.; John Wiley and Sons: New York, NY, USA, 1987. [Google Scholar]










| Mass Flow Rate | I0 = 830 (W/m2) | I0 = 1100 (W/m2) | |||||
|---|---|---|---|---|---|---|---|
| R | |||||||
| 0.0107 | 0.25 | 0.472 | 76.56 | 105.40 | 0.475 | 76.65 | 105.74 |
| 0.5 | 0.503 | 63.47 | 118.51 | 0.506 | 63.74 | 118.87 | |
| 0.75 | 0.533 | 60.98 | 131.66 | 0.536 | 61.34 | 132.04 | |
| 1.0 | 0.552 | 57.43 | 140.16 | 0.556 | 57.83 | 140.55 | |
| 1.25 | 0.569 | 54.33 | 147.28 | 0.572 | 54.76 | 147.69 | |
| 1.5 | 0.578 | 49.78 | 151.39 | 0.582 | 50.90 | 151.80 | |
| 1.75 | 0.578 | 42.81 | 151.39 | 0.591 | 47.41 | 155.92 | |
| 2.0 | 0.589 | 41.63 | 156.20 | 0.593 | 42.11 | 156.63 | |
| 0.0161 | 0.25 | 0.487 | 35.71 | 94.64 | 0.492 | 37.05 | 96.59 |
| 0.5 | 0.518 | 34.84 | 107.06 | 0.523 | 36.20 | 109.13 | |
| 0.75 | 0.549 | 33.79 | 119.52 | 0.554 | 35.77 | 121.72 | |
| 1.0 | 0.569 | 33.44 | 127.57 | 0.575 | 35.39 | 129.85 | |
| 1.25 | 0.589 | 32.86 | 134.32 | 0.592 | 34.78 | 136.67 | |
| 1.5 | 0.596 | 30.49 | 138.22 | 0.602 | 32.38 | 140.60 | |
| 1.75 | 0.605 | 29.31 | 142.11 | 0.611 | 31.16 | 144.53 | |
| 2.0 | 0.607 | 25.64 | 142.78 | 0.613 | 27.46 | 145.21 | |
| 0.0214 | 0.25 | 0.495 | 23.47 | 83.20 | 0.505 | 28.07 | 86.86 |
| 0.5 | 0.526 | 22.98 | 94.89 | 0.537 | 27.88 | 98.78 | |
| 0.75 | 0.558 | 22.18 | 106.62 | 0.569 | 27.08 | 110.75 | |
| 1.0 | 0.578 | 21.83 | 114.19 | 0.590 | 26.58 | 118.48 | |
| 1.25 | 0.596 | 21.42 | 120.55 | 0.607 | 25.88 | 124.96 | |
| 1.5 | 0.605 | 20.62 | 124.21 | 0.618 | 24.82 | 128.69 | |
| 1.75 | 0.615 | 19.88 | 127.87 | 0.628 | 23.47 | 132.43 | |
| 2.0 | 0.617 | 17.07 | 128.51 | 0.629 | 21.55 | 133.08 | |
© 2020 by the authors. Licensee MDPI, Basel, Switzerland. This article is an open access article distributed under the terms and conditions of the Creative Commons Attribution (CC BY) license (http://creativecommons.org/licenses/by/4.0/).
Share and Cite
Ho, C.-D.; Chang, H.; Hong, Z.-S.; Huang, C.-C.; Chen, Y.-H. Increasing the Device Performance of Recycling Double-Pass W-Ribs Solar Air Heaters. Energies 2020, 13, 2133. https://doi.org/10.3390/en13092133
Ho C-D, Chang H, Hong Z-S, Huang C-C, Chen Y-H. Increasing the Device Performance of Recycling Double-Pass W-Ribs Solar Air Heaters. Energies. 2020; 13(9):2133. https://doi.org/10.3390/en13092133
Chicago/Turabian StyleHo, Chii-Dong, Hsuan Chang, Zih-Syuan Hong, Chien-Chang Huang, and Yu-Han Chen. 2020. "Increasing the Device Performance of Recycling Double-Pass W-Ribs Solar Air Heaters" Energies 13, no. 9: 2133. https://doi.org/10.3390/en13092133
APA StyleHo, C.-D., Chang, H., Hong, Z.-S., Huang, C.-C., & Chen, Y.-H. (2020). Increasing the Device Performance of Recycling Double-Pass W-Ribs Solar Air Heaters. Energies, 13(9), 2133. https://doi.org/10.3390/en13092133
