Heat Transfer and Energy Consumption of Passive House in a Severely Cold Area: Simulation Analyses
Abstract
1. Introduction
2. Simulation and Analysis Methodology
2.1. Passive House Standard
2.2. Climatic and Geographical Characteristics and Building Data
2.3. Simulation Schemes and Design Parameters
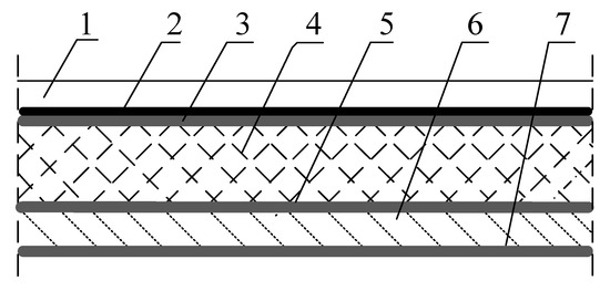
3. External Enclosure Structure
3.1. Thermal Insulation System of External Wall
3.2. Roof Insulation Structure
3.3. Energy Conservation of Door and Window
3.4. Heat Recovery Ventilation System
4. Heat Transfer and Energy Consumption Cost
4.1. Temperature and Solar Irradiation
4.2. Thermal Load and Energy Demand
4.3. Periodic Cost
5. Conclusions
Author Contributions
Funding
Conflicts of Interest
References
- Feist, W.; Schnieders, J.; Dorer, V.; Haas, A. Re-inventing air heating: Convenient and comfortable within the frame of the Passive House concept. Energy Build. 2005, 37, 1186–1203. [Google Scholar] [CrossRef]
- Schnieders, J.; Hermelink, A. CEPHEUS results: measurements and occupants’ satisfaction provide evidence for Passive Houses being an option for sustainable building. Energy Policy 2006, 34, 151–171. [Google Scholar] [CrossRef]
- Chel, A.; Tiwari, G.N. Thermal performance and embodied energy analysis of a passive house – Case study of vault roof mud-house in India. Appl. Energy 2009, 86, 1956–1969. [Google Scholar] [CrossRef]
- Mlakar, J.; Štrancar, J. Overheating in residential passive house: Solution strategies revealed and confirmed through data analysis and simulations. Energy Build. 2011, 43, 1443–1451. [Google Scholar] [CrossRef]
- Kapedani, E.; Herssens, J.; Verbeeck, G. Designing for the future? Integrating energy efficiency and universal design in Belgian passive houses. Energy Res. Soc. Sci. 2019, 50, 215–223. [Google Scholar] [CrossRef]
- Ridley, I.; Clarke, A.; Bere, J.; Altamirano, H.; Lewis, S.; Durdev, M.; Farr, A. The monitored performance of the first new London dwelling certified to the Passive House standard. Energy Build. 2013, 63, 67–78. [Google Scholar] [CrossRef]
- Stephan, A.; Crawford, R.H.; Myttenaere, K.D. A comprehensive assessment of the life cycle energy demand of passive houses. Appl. Energy 2013, 112, 23–34. [Google Scholar] [CrossRef]
- Stephan, A.; Crawford, R.H.; de Myttenaere, K. Multi-scale life cycle energy analysis of a low-density suburban neighbourhood in Melbourne, Australia. Build. Environ. 2013, 68, 35–49. [Google Scholar] [CrossRef]
- Rohdin, P.; Molin, A.; Moshfegh, B. Experiences from nine passive houses in Sweden—Indoor thermal environment and energy use. Build. Environ. 2014, 71, 176–185. [Google Scholar] [CrossRef]
- Irulegi, O.; Torres, L.; Serra, A.; Mendizabal, I.; Hernández, R. The Ekihouse: An energy self-sufficient house based on passive design strategies. Energy Build. 2014, 83, 57–69. [Google Scholar] [CrossRef]
- Dan, D.; Tanasa, C.; Stoian, V.; Brata, S.; Stoian, D.; Nagy, G.T.; Florut, S.C. Passive house design—An efficient solution for residential buildings in Romania. Energy Sustain. Dev. 2016, 32, 99–109. [Google Scholar] [CrossRef]
- Ilomets, S.; Kalamees, T.; Tariku, F. Indoor climate loads for dwellings in different cold climates to assess hygrothermal performance of building envelopes. Can. J. Civ. Eng. 2019, 46, 963–968. [Google Scholar] [CrossRef]
- Fokaides, P.A.; Christoforou, E.; Ilic, M.; Papadopoulos, A. Performance of a Passive House under subtropical climatic conditions. Energy Build. 2016, 133, 14–31. [Google Scholar] [CrossRef]
- Truong, H.; Garvie, A.M. Chifley Passive House: A Case Study in Energy Efficiency and Comfort. Energy Procedia 2017, 121, 214–221. [Google Scholar] [CrossRef]
- Alajmi, A.; Rodríguez, S.; Sailor, D. Transforming a passive house into a net-zero energy house: a case study in the Pacific Northwest of the U.S. Energy Conv. Manag. 2018, 172, 39–49. [Google Scholar] [CrossRef]
- Yu, Z.; Gou, Z.; Qian, F.; Fu, J.; Tao, Y. Towards an optimized zero energy solar house: A critical analysis of passive and active design strategies used in Solar Decathlon Europe in Madrid. J. Clean. Prod. 2019, 236, 117646. [Google Scholar] [CrossRef]
- Dalbem, R.; Grala da Cunha, E.; Vicente, R.; Figueiredo, A.; Oliveira, R.; da Silva, A.C.S.B. Optimisation of a social housing for south of Brazil: From basic performance standard to passive house concept. Energy 2019, 167, 1278–1296. [Google Scholar] [CrossRef]
- Wang, Y.; Du, J.; Kuckelkorn, J.M.; Kirschbaum, A.; Gu, X.; Li, D. Identifying the feasibility of establishing a passive house school in central Europe: An energy performance and carbon emissions monitoring study in Germany. Renew. Sustain. Energy Rev. 2019, 113, 109256. [Google Scholar] [CrossRef]
- Zhang, S.H.; Zhuang, Z.; Hu, Y.D.; Yang, B.S.; Tan, H.W. Applicability Study on a Hybrid Renewable Energy System for Net-Zero Energy House in Shanghai. Energy Procedia 2016, 88, 768–774. [Google Scholar] [CrossRef][Green Version]
- Chen, X.; Yang, H.X. Integrated energy performance optimization of a passively designed high-rise residential building in different climatic zones of China. Appl. Energy 2018, 215, 145–158. [Google Scholar] [CrossRef]
- Li, R.; Wang, M.; Zhu, J. Indoor Thermal Environment Monitoring and Evaluation of Double-Deck Prefabricated House in Central China—Taking Zhengzhou Area as an Example. Energy Procedia 2019, 158, 2812–2819. [Google Scholar] [CrossRef]
- Li, C.; Zhou, D.Q.; Wang, H.; Cheng, H.B.; Li, D.D. Feasibility assessment of a hybrid PV/diesel/battery power system for a housing estate in the severe cold zone—A case study of Harbin, China. Energy 2019, 185, 671–681. [Google Scholar] [CrossRef]
- Liu, J.Z.; Zhou, Q.X.; Tian, Z.Y.; He, B.J.; Jin, G.Y. A comprehensive analysis on definitions, development, and policies of nearly zero energy buildings in China. Renew. Sust. Energ. Rev. 2019, 114, 109314. [Google Scholar] [CrossRef]
- Liu, J.Z.; Liu, Y.W.; He, B.J.; Xu, W.; Jin, G.Y.; Zhang, X.T. Application and suitability analysis of the key technologies in nearly zero energy buildings in China. Renew. Sust. Energ. Rev. 2019, 101, 329–345. [Google Scholar] [CrossRef]
- Yang, L.; He, B.J.; Ye, M. Application research of Ecotect in residential estate planning. Energy Build. 2014, 72, 195–202. [Google Scholar] [CrossRef]
- He, X.; Kong, Q.; Xiao, Z. Fast simulation methods for dynamic heat transfer though building envelope based on model-order-reduction. Procedia Eng. 2015, 121, 1764–1771. [Google Scholar] [CrossRef]
- Yao, R.; Costanzo, V.; Li, X.; Zhang, Q.; Li, B. The effect of passive measures on thermal comfort and energy conservation. A case study of the hot summer and cold winter climate in the Yangtze River region. J. Build. Eng. 2018, 15, 298–310. [Google Scholar] [CrossRef]
- Li, N.; Chen, Q. Experimental study on Heat Transfer Characteristics of Interior Walls under Partial-Space Heating Mode in Hot Summer and Cold Winter Zone in China. Appl. Therm. Eng. 2019, 162, 114264. [Google Scholar] [CrossRef]
- Ballarini, I.; De Luca, G.; Paragamyan, A.; Pellegrino, A.; Corrado, V. Transformation of an office building into a nearly zero energy building (nZEB): Implications for thermal and visual comfort and energy performance. Energies 2019, 12, 895. [Google Scholar] [CrossRef]
- Szymon, F. Cost-optimal plus energy building in a cold climate. Energies 2019, 12, 3841. [Google Scholar] [CrossRef]
- Gustafsson, M.S.; Myhren, J.A.; Dotzauer, E.; Gustafsson, M. Life cycle cost of building energy renovation measures, considering future energy production scenarios. Energies 2019, 12, 2719. [Google Scholar] [CrossRef]














| Parameter | Unit | Maximum |
|---|---|---|
| Heating demand | kWh/m² | 18 |
| Heating load | W/m² | 12 |
| Cooling demand | kWh/m² | 13 |
| Cooling load | W/m² | 20 |
| Frequency of overheating | % | 10 |
| Air tightness (n50) | ACH | 0.6 |
| Primary energy demand | kWh/m² | 120 |
| Summer mean temperature/°C | 25 | |
| Winter mean temperature/°C | 20 | |
| Outdoor mean temperature through a year/°C | 4.5 | |
| Summer outdoor dry ball mean temperature/°C | 30.6 | |
| Winter outdoor dry ball mean temperature/°C | −24.1 | |
| Outdoor mean air flow rate/(m/s) | Summer | 2.8 |
| Winter | 3.5 | |
| Relative humidity/% | 60 | |
| Equipment power/(W/m2) | 13 | |
| Light power/(W/m2) | 11 | |
| Fresh air volume/(m³/h) | 60 | |
| Envelope Constitutes | Maximum Heat Transfer Coefficient/(W·m−2·K−1) | Envelope Delay/h | Envelope Attenuation/% |
|---|---|---|---|
| Thermal insulation wall | 0.125 | 13.3 | 4 |
| Outside window | 0.65 | 2.5 | 89 |
| Floor | 0.125 | 11.7 | 2 |
| Roof | 0.125 | 19.7 | 6 |
| Interior wall | 0.1 | 7.0 | 55 |
| Exterior door | 0.65 | 0.6 | 99 |
| Structures | Advantages | Disadvantages |
|---|---|---|
| Interior insulation | 1. Low requirements for insulation materials, easy to control cost; 2. Indoor construction is less dependent on environments; 3. Indoor construction is suitable for energy-saving renovation of old buildings; 4. Protecting the building facade. | 1. The insulation layer inside leads to structural thermal-bridge; 2. Condensation and mildew between the insulating and structural layers; 3. Susceptible to temperature difference between day and night. 4. Difficult for secondary specialization. |
| Exterior insulation | 1. Preventing the thermal-bridge; 2. Taking small space; 3. Extending the life space of building; 4. No requirements for wall materials; 5. Easy for secondary decoration | 1. The external insulation layer has strict requirements on the fire resistance of the insulation material. 2. The construction process is increased and the quality is difficult to guarantee. 3. Easy to fall off in daily use 4. Insulation materials and structures are not comfortable. |
| Sandwich insulation | 1. No additional requirements for insulation materials; 2. Insulation material and structure are consistent in life time; 3. Occupy small indoor space; 4. Complete construction. | 1. Easy to generate thermal-bridge; 2. Complicated construction process; 3. High technical difficulty; 4. The cavity at the junction between the insulation layer and the wall affects the structural quality. |
| Parameter | EPS | EFPS | PUFB | SWB |
|---|---|---|---|---|
| apparent density/(kg·m−3) | 22–32 | 25–38 | ≥35 | ≤300 |
| thermal conductivity/(W·m−1·K−1) | ≤0.039 | ≤0.035 | ≤0.06 | ≤0.04 |
| tensile strength/MPa | ≥0.1 | ≥0.20 | ≥0.15 | ≥0.075 |
| dimensional stability/% | ≤0.5 | ≤1.2 | ≤1.5 | ≤1.0 |
| vapor permeability coefficient/(mg·Pa−1·m−2·s−1) | ≤4.5 | ≤3.5 | ≤6.5 | |
| water absorption rate/% | ≤4.0 | ≤2.0 | ≤3.0 | ≤1.0 |
| Combination | Thermal Conductivity/(W·m−2·K−1) | SC | SHGC |
|---|---|---|---|
| 5GL+12Ar+5G+12Ar+5GL | 0.593 | 0.298 | 0.260 |
| 5GL+15Ar+5G+15Ar+5GL | 0.565 | 0.299 | 0.260 |
| 5GL+18A+5G+18A+5GL | 0.590 | 0.300 | 0.261 |
| 5GL+18Ar+5G+18Ar+5GL | 0.580 | 0.300 | 0.261 |
| 5GL+18M+5G+18M+5GL | 0.594 | 0.300 | 0.261 |
| 5GL+20Ar+5G+20Ar+5GL | 0.590 | 0.300 | 0.261 |
| 5GL+12Ar+5G+12Ar+5GL+12Ar+5GL | 0.432 | 0.251 | 0.218 |
| 5GL+15Ar+5G+15Ar+5GL+15Ar+5GL | 0.377 | 0.251 | 0.218 |
| 5GL+18A+5G+18A+5GL+18A+5GL | 0.472 | 0.250 | 0.217 |
| 5GL+18Ar+5G+18Ar+5GL+18Ar+5GL | 0.377 | 0.251 | 0.218 |
| 5GL+18M+5G+18M+5GL+18M+5GL | 0.387 | 0.251 | 0.218 |
| 5GL+20Ar+5G+20Ar+5GL+20Ar+5GL | 0.385 | 0.249 | 0.216 |
| Summer | Winter | ||
|---|---|---|---|
| Cooling Load | Results | Heating Load and Dissipation | Results |
| Summer total cooling load/W | 84,154 | Winter total heating load/W | 11,450 |
| Peak load time/h | 15:00 | Peak load time/h | 14:00 |
| Sensible cooling load/W | 76,759 | Heat dissipation of enclosure structure/W | 7622 |
| Latent cooling load/W | 7395 | Heat dissipation of crevice penetration/W | 3829 |
| Fresh air cooling load/W | 8265 | Heating load per unit area/(W/m2) | 2.82 |
| Cooling load per unit area/(W/m2) | 20.93 | ||
| Energy cost/¥ | 17,796 | |
| Life cycle cost/¥ | 282,388 | |
| CO2 emissions (large SUV equivalent) | 8.3 SUV | |
| Energy intensity/(MJ/m2) | 586 | |
| Peak energy demand/(kWh/m²) | 79.9 | |
| Life cycle energy | Electricity/kWh | 3638.13 |
| Gasoline/kJ | 2587.9 | |
| Natural ventilation time/h | 696 |
| Mechanical cooling time/h | 1667 |
| Electric power saving/kWh | 10,780 |
© 2020 by the authors. Licensee MDPI, Basel, Switzerland. This article is an open access article distributed under the terms and conditions of the Creative Commons Attribution (CC BY) license (http://creativecommons.org/licenses/by/4.0/).
Share and Cite
Wang, F.; Yang, W.-J.; Sun, W.-F. Heat Transfer and Energy Consumption of Passive House in a Severely Cold Area: Simulation Analyses. Energies 2020, 13, 626. https://doi.org/10.3390/en13030626
Wang F, Yang W-J, Sun W-F. Heat Transfer and Energy Consumption of Passive House in a Severely Cold Area: Simulation Analyses. Energies. 2020; 13(3):626. https://doi.org/10.3390/en13030626
Chicago/Turabian StyleWang, Fang, Wen-Jia Yang, and Wei-Feng Sun. 2020. "Heat Transfer and Energy Consumption of Passive House in a Severely Cold Area: Simulation Analyses" Energies 13, no. 3: 626. https://doi.org/10.3390/en13030626
APA StyleWang, F., Yang, W.-J., & Sun, W.-F. (2020). Heat Transfer and Energy Consumption of Passive House in a Severely Cold Area: Simulation Analyses. Energies, 13(3), 626. https://doi.org/10.3390/en13030626

