Sign in to use this feature.

Years

Between: -

Subjects

remove_circle_outline
remove_circle_outline
remove_circle_outline
remove_circle_outline
remove_circle_outline
remove_circle_outline

Journals

Article Types

Countries / Regions

Search Results (17)

Search Parameters:
Keywords = multi-year regulating reservoir

Order results
Result details
Results per page
Select all
Export citation of selected articles as:
18 pages, 5633 KB  
Article
Analysis of Enhanced Geothermal System Reservoir Parameters and Fractures on Heat Recovery Efficiency Based on a Single-Phase Conduction Model
by Yuting Luo, Juyan Wei, Meilong Fu, Li Fang and Xudong Li
Processes 2025, 13(4), 1135; https://doi.org/10.3390/pr13041135 - 9 Apr 2025
Viewed by 1031
Abstract
Geothermal energy has the advantages of being green, stable, abundant, and renewable. The thermal energy extraction efficiency of an enhanced geothermal system (EGS) is significantly regulated by Thermo–Hydraulic (TH) processes. To accurately evaluate the long-term heat recovery performance of an EGS, the dynamic [...] Read more.
Geothermal energy has the advantages of being green, stable, abundant, and renewable. The thermal energy extraction efficiency of an enhanced geothermal system (EGS) is significantly regulated by Thermo–Hydraulic (TH) processes. To accurately evaluate the long-term heat recovery performance of an EGS, the dynamic influence mechanisms under multi-field TH coupling effects must be considered comprehensively. Therefore, in this study, based on the local thermal equilibrium theory, a temperature–seepage coupling model is established using the COMSOL software. The influences of reservoir parameters and fractures on the geothermal energy mining effect are studied, and the distribution law of temperature and pressure in the thermal reservoir is analyzed. The research results provide a reference for EGS reservoir reconstruction and heat recovery efficiency optimization. It is shown that the temperature difference near the injection–production well in the early stage of development leads to the slow recovery of thermal reservoir pressure. When the matrix permeability is greater than 455 mD, the temperature of the production fluid drops too quickly, and the development life of the thermal reservoir is short. The matrix porosity has little effect on the development of thermal reservoirs. When the porosity increases from 0.05 to 0.3, after 40 years of production, the mass flow rate of the produced fluid increases by 3.08%, the temperature of the produced fluid increases by 2.14%, and the heat recovery rate increases by 7.04%. The number of fractures has a significant influence on the development of thermal reservoirs. When the number of fractures increases from 0 to 3, the mass flow rate of production fluid increases by 55.9%, the thermal breakthrough is rapid, and the development life of the thermal reservoir is shortened. Notably, the unreasonable use of cracks will hinder the outward spread of the injected fluid. Full article
(This article belongs to the Special Issue Advances in Oil and Gas Reservoir Modeling and Simulation)
Show Figures

Figure 1

21 pages, 3192 KB  
Article
Flood Regional Composition Considering Typical-Year and Multi-Site Flood Source Characteristics
by Yun Wang, Sirui Zhong, Shenglian Guo, Bokai Sun and Xiaoya Wang
Water 2025, 17(7), 1106; https://doi.org/10.3390/w17071106 - 7 Apr 2025
Viewed by 707
Abstract
The construction and operation of reservoirs have significantly altered the downstream flow regime, and the flood regional composition (FRC) method has been widely used to estimate design flood considering the regulation impact of upstream cascade reservoirs. This paper proposes a novel flood regional [...] Read more.
The construction and operation of reservoirs have significantly altered the downstream flow regime, and the flood regional composition (FRC) method has been widely used to estimate design flood considering the regulation impact of upstream cascade reservoirs. This paper proposes a novel flood regional composition based on the proper orthogonal decomposition (FRC-POD) method that comprehensively takes into account typical-year flood differences and the multi-site flood source characteristics. The proposed method is applied at Cuntan hydrologic station in the upper Yangtze River and compared with the typical-year flood composition (TYFC) method and the most likely flood regional composition (MLFRC) method. The results show the following: (1) The proposed FRC-POD method can identify main flood sources in the design section and pay more attention to floods from the mainstream and the uncontrolled interval basin. (2) Compared with the originally designed values, the 1000-year design peak discharge and 3 d, 7 d, and 15 d flood volumes estimated by the FRC-POD method are decreased by 41.3%, 40.2%, 36.6%, and 34.7%, respectively. (3) Current FRC methods depend on the selected typical-year flood events and have several solutions, while the proposed method has only one final solution, which is more reasonable in practical application. (4) A comparative study proves that the FRC-POD method could obtain rational design flood estimation and is worth further study. Full article
(This article belongs to the Special Issue Flood Risk Identification and Management, 2nd Edition)
Show Figures

Figure 1

21 pages, 7612 KB  
Article
Reflection of Daily, Seasonal and Interannual Variations in Run-Off of a Small River in the Water Isotopic Composition (δ2H, δ18O): A Case of the Ala-Archa Mountain River Basin with Glaciation (Kyrgyzstan, Central Asia)
by Igor Tokarev, Evgeny Yakovlev, Sergey Erokhin, Tamara Tuzova, Sergey Druzhinin and Andrey Puchkov
Water 2024, 16(11), 1632; https://doi.org/10.3390/w16111632 - 6 Jun 2024
Cited by 3 | Viewed by 2100
Abstract
Small intermountain river basins are most suitable for developing new methods to estimate water balance due to their well-defined catchment boundaries, relatively rapid runoff processes, and accessible landscapes for study. In general terms, dissecting the hydrograph of a small mountain river requires calibration [...] Read more.
Small intermountain river basins are most suitable for developing new methods to estimate water balance due to their well-defined catchment boundaries, relatively rapid runoff processes, and accessible landscapes for study. In general terms, dissecting the hydrograph of a small mountain river requires calibration of the flow model against multi-year data sets, including (a) glacier mass balance and snow water content, (b) radiation balance calculation, (c) estimation of the groundwater contribution, and (d) water discharge measurements. The minimum primary data set is limited to the precipitation and temperature distributions at the catchment. This approach postulates that the conditions for the formation of all components of river flow are known in advance. It is reduced to calculating the dynamic balance between precipitation (input part) and runoff, ablation, and evaporation (output part). In practice, accurately accounting for the inflow and outflow components of the balance, as well as the impact of regulating reservoirs, can be a challenging task that requires significant effort and expense, even for the extensively researched catchments. Our studies indicate the potential benefits of an approach based on one-time, but detailed, observations of stable isotope composition, temperature, and water chemistry, in addition to standard datasets. This paper presents the results of the 2022–2023 work conducted in the basin of the small mountain river Ala-Archa, located on the northern slope of the Kyrgyz Range in Tien-Shan, which was chosen as an example due to its well-studied nature. Our approach could identify previously unknown factors of flow formation and assess the time and effectiveness of work in similar conditions. Full article
Show Figures

Figure 1

17 pages, 2155 KB  
Article
Probability-Based Rule Curves for Multi-Purpose Reservoir System in the Seine River Basin, France
by Quan Van Dau, Anongrit Kangrang and Kittiwet Kuntiyawichai
Water 2023, 15(9), 1732; https://doi.org/10.3390/w15091732 - 30 Apr 2023
Cited by 8 | Viewed by 3749
Abstract
Multiple reservoir operation is of paramount importance due to tradeoffs in water supply and their cost functions. Understanding this complexity is important for optimizing water supply and increasing synergies gained from the joint operation. Therefore, this study aimed to develop a conceptual framework [...] Read more.
Multiple reservoir operation is of paramount importance due to tradeoffs in water supply and their cost functions. Understanding this complexity is important for optimizing water supply and increasing synergies gained from the joint operation. Therefore, this study aimed to develop a conceptual framework for addressing the effects of climate change on water security under the operating rules of the multiple reservoir system in northern France. A dynamic programming approach (DP) was employed to find the cost–benefit analysis that best fit with the objectives of reservoir operation, while the space rule was applied to balance the available space in each reservoir of a parallel system. A finite-horizon optimal regulation was then adopted for determining daily reservoir storage based on probability-based rule curves. The results indicated that the predicted inflow during the drawdown–refill cycle period to the Marne and Pannecière reservoirs would be the largest and lowest, respectively. The proposed upper rule curves during high-flow conditions suggested that the release from Aube reservoir should be postponed from July to August until September. At 50- and 100-year return periods, quite a high release rate from Seine and Marne reservoirs was observed during the dry season. A decrease in future water supply from Pannecière reservoir was found during summer, while the withdrawal in November could cause excessive water in the Seine tributary and Paris City. Under low-flow conditions in all return periods, the proposed lower rule curves recommended that the reservoir storage should go below the current operating rule, with a clear difference in July (the largest in Marne and the smallest in Pannecière) and almost no difference in November. Moreover, the web-based support system IRMaRA was developed for revising operating rules of four main reservoirs located in the Seine River Basin. The novelty of this modeling framework would contribute to the practice of deriving optimal operating rules for a multi-reservoir system by the probability-based rule curve method. Based on the evaluation of the effects of applying the estimated reservoir storage capacity under different return periods, both less overflow and water shortage represented by different levels of quantity and severity can be expected compared to the existing target storage at specified control points. Finally, the obtained finding revealed that the application of dynamic programming for reservoir optimization would help in developing a robust operating policy for tackling the effects of climate change. Full article
(This article belongs to the Section Water and Climate Change)
Show Figures

Figure 1

24 pages, 7666 KB  
Article
Statistical and Water Management Assessment of the Impact of Climate Change in the Reservoir Basin of the Volga–Kama Cascade on the Environmental Safety of the Lower Volga Ecosystem
by Alexander Buber, Mikhail Bolgov and Vladimir Buber
Appl. Sci. 2023, 13(8), 4768; https://doi.org/10.3390/app13084768 - 10 Apr 2023
Cited by 3 | Viewed by 2588
Abstract
When managing water resources in order to provide water to consumers, a number of consequences arise related to the violation of the hydrological regime due to the regulation of flow by reservoirs. The second factor is possible climate change. These changes can negatively [...] Read more.
When managing water resources in order to provide water to consumers, a number of consequences arise related to the violation of the hydrological regime due to the regulation of flow by reservoirs. The second factor is possible climate change. These changes can negatively (or positively) affect the functioning of aquatic ecosystems. To reduce the impact on the environment, it is necessary to determine the nature and indicators of changes in the hydrological regime, calculate quantitative estimates of these indicators and ranges of acceptable values, and develop release rules that ensure compliance with these ranges with a given probability. To manage the water resources of the Volga and Kama Rivers, the main ecological task is to flood the floodplain meadows, to maintain the conditions of natural reproduction of fish on the Lower Volga, including the Volga River delta and the Volga–Akhtuba floodplain. In addition, it is necessary to meet with sufficient reliability the requirements of energy in the summer–autumn and winter low-water periods and water transport during the navigation period. The task of optimal management is to find such solutions in years of different water content that ensure the well-being of the main water users with a given probability and do not disturb the Lower Volga ecosystem. This article presents the research of the water resources state of the water resource system of the Volga and Kama river basins. A statistical analysis of the hydrological series of the observed inflow for 1916–2020 was performed, and the inflow change point (1979) was found by the Bayesian method of estimation. A statistically significant difference between the average inflow values of two series (1916–1978, 1979–2020) was proved using a two-sample Student’s test. The seasonal parameters of the reliability curves were calculated based on the three-parameter Kritsky and Menkel distribution. For these two series, water resource optimization calculations (using Excel Solver) were performed, and the reliability of fulfilling the requirements of water users was determined; for the series 1916–1978, an alternative solution was found in favor of fisheries, and an analysis of the results was also performed. The methodology used in the research allows finding trade-off solutions in the favor of different water users (ecology, agriculture and fisheries, water supply, hydropower, navigation, etc.) and is based on the use of multi-criteria optimization methods and the trade-offs theory. As a result of the research, new knowledge was obtained about the hydrological situation in the basin of the Volga–Kama reservoir cascade in connection with climate change. Full article
(This article belongs to the Special Issue Regional Climate Change: Impacts and Risk Management)
Show Figures

Figure 1

25 pages, 5022 KB  
Article
A Joint Dispatch Operation Method of Hydropower and Photovoltaic: Based on the Two-Stage Hedging Model
by Tuo Xie, Hong Liu, Gang Zhang, Kaoshe Zhang and Pai Li
Appl. Sci. 2022, 12(22), 11348; https://doi.org/10.3390/app122211348 - 8 Nov 2022
Cited by 1 | Viewed by 1841
Abstract
The randomness and volatility of large-scale clean energy output represented by wind power and photovoltaic lead to difficulties in grid connection. The problems of abandoned wind, light, and water become increasingly prominent. The adjustment capacity of traditional thermal power is limited and it [...] Read more.
The randomness and volatility of large-scale clean energy output represented by wind power and photovoltaic lead to difficulties in grid connection. The problems of abandoned wind, light, and water become increasingly prominent. The adjustment capacity of traditional thermal power is limited and it is difficult to ensure the consumption of high proportion clean energy. On this basis, the marginal benefit hedging rule in economics is introduced into the hydropower and photovoltaic joint operation system in this paper. A two-stage spatio-temporal hedging strategy is designed to solve the spatio-temporal conflict problem in the hydropower and photovoltaic joint system. The multi-objective joint dispatching model of hydropower and photovoltaic system considering system benefits, risks, and stability is established, which can be solved by a MOEA/D-GABS algorithm with selection strategy. The joint system scheduling schemes under different schemes are analyzed by case. The results demonstrate that, compared with the traditional multi-objective decision-making scheme, the flood control risk in each period of the reservoir in the proposed method is controlled to be no more than 1.63 × 10−3 (the flood control standard corresponding to the 50-year flood control risk is 0.006); the flood limit water level of the reservoir is increased from 583.00 m to 583.70 m, which improves the benefit of the reservoir; and the water utilization rate is effectively improved. On the other hand, compared with the traditional scheme, the proposed method reduces the peak valley difference of the combined system by 50.67% and 59.68% in typical sunny and cloudy scenarios, respectively, which greatly reduces the uncertainty of photovoltaic output, and the stability of the combined system is improved. It is shown that the proposed method can be used to guide the economic dispatch of a complementary system with hydropower as the regulating energy. Full article
Show Figures

Figure 1

19 pages, 5284 KB  
Article
Research on Operation Mode of the Yalong River Cascade Reservoirs Based on Improved Stochastic Fractal Search Algorithm
by Ailing Xu, Li Mo and Qi Wang
Energies 2022, 15(20), 7779; https://doi.org/10.3390/en15207779 - 20 Oct 2022
Cited by 5 | Viewed by 1727
Abstract
With the completion of the Lianghekou Reservoir, with a multiyear regulation capacity, the operation relationship of the cascade reservoirs in the Yalong River is becoming increasingly complex. In order to study an optimal operation mode of the cascade reservoirs in the Yalong River [...] Read more.
With the completion of the Lianghekou Reservoir, with a multiyear regulation capacity, the operation relationship of the cascade reservoirs in the Yalong River is becoming increasingly complex. In order to study an optimal operation mode of the cascade reservoirs in the Yalong River under different inflow frequencies, based on the shortcomings of the existing single reservoir operation mode and the local joint operation mode of the cascade reservoirs, this paper first proposed a global joint operation mode for the cascade reservoirs to develop the power generation potential of daily regulating reservoirs and then gave a solution method for the cascade reservoirs’ operational model based on an improved stochastic fractal search (ISFS) algorithm. Finally, taking the maximum power generation as the goal and the inflow data of five typical years as the model inputs, this paper analyzed the differences in the power generation and water abandonment results of the cascade reservoirs in the middle and lower reaches of the Yalong River under the above three operation modes. The results show that (1) compared with the stochastic fractal search (SFS) algorithm and the particle swarm optimization (PSO) algorithm, the ISFS algorithm had faster convergence speed and higher precision; (2) the global joint operation mode had a more significant optimization effect in the year with more inflow, followed by the local joint operation mode, and the single reservoir operation mode had the worst; however, the difference in the results of the three operation modes gradually decreased as the inflows gradually decreased. Full article
Show Figures

Figure 1

20 pages, 13707 KB  
Article
Continuous Monitoring of the Surface Water Area in the Yellow River Basin during 1986–2019 Using Available Landsat Imagery and the Google Earth Engine
by Qingfeng Hu, Chongwei Li, Zhihui Wang, Yang Liu and Wenkai Liu
ISPRS Int. J. Geo-Inf. 2022, 11(5), 305; https://doi.org/10.3390/ijgi11050305 - 10 May 2022
Cited by 13 | Viewed by 5046
Abstract
The Yellow River Basin (YRB) has been facing severe water shortages; hence, the long-term dynamic monitoring of its surface water area (SWA) is essential for the efficient utilization of its water resources and sustainable socioeconomic development. In order to detect the changing trajectory [...] Read more.
The Yellow River Basin (YRB) has been facing severe water shortages; hence, the long-term dynamic monitoring of its surface water area (SWA) is essential for the efficient utilization of its water resources and sustainable socioeconomic development. In order to detect the changing trajectory of the SWA of the YRB and its influencing factors, we used available Landsat images from 1986 through to 2019 and a water and vegetation indices-based method to analyze the spatial–temporal variability of four types of SWAs (permanent, seasonal, maximum and average extents), and their relationship with precipitation (Pre), temperature (Temp), leaf area index (LAI) and surface soil moisture (SM).The multi-year average permanent surface water area (SWA) and seasonal SWA accounted for 46.48% and 53.52% in the Yellow River Basin (YRB), respectively. The permanent and seasonal water bodies were dominantly distributed in the upper reaches, accounting for 70.22% and 48.79% of these types, respectively. The rate of increase of the permanent SWA was 49.82 km2/a, of which the lower reaches contributed the most (34.34%), and the rate of decrease of the seasonal SWA was 79.18 km2/a, of which the contribution of the source region was the highest (25.99%). The seasonal SWA only exhibited decreasing trends in 13 sub-basins, accounting for 15% of all of the sub-basins, which indicates that the decrease in the seasonal SWA was dominantly caused by the change in the SWA in the main river channel region. The conversions from seasonal water to non-water bodies, and from seasonal to permanent water bodies were the dominant trends from 1986 to 2019 in the YRB. The SWA was positively correlated with precipitation, and was negatively correlated with the temperature. Because the permanent and seasonal water bodies were dominantly distributed in the river channel region and sub-basins, respectively, the change in the permanent SWA was significantly affected by the regulation of the major reservoirs, whereas the change in the seasonal SWA was more closely related to climate change. The increase in the soil moisture was helpful in the formation of the permanent water bodies. The increased evapotranspiration induced by vegetation greening played a significant positive role in the SWA increase via the local cooling and humidifying effects, which offset the accelerated water surface evaporation caused by the atmospheric warming. Full article
(This article belongs to the Special Issue Geo-Information for Watershed Processes)
Show Figures

Figure 1

20 pages, 4172 KB  
Article
Three-Parameter Regulation Rules for the Long-Term Optimal Scheduling of Multiyear Regulating Storage Reservoirs
by Yangyang Xie, Saiyan Liu, Hongyuan Fang, Maohua Ding and Jingcai Wang
Water 2021, 13(24), 3593; https://doi.org/10.3390/w13243593 - 14 Dec 2021
Cited by 2 | Viewed by 2678
Abstract
The perennial storage water level (PL), the water level at the end of wet season (WL), and the water level at the end of dry season (DL) are three critical water levels for multiyear regulating storage (MRS) reservoirs. Nevertheless, the three critical water [...] Read more.
The perennial storage water level (PL), the water level at the end of wet season (WL), and the water level at the end of dry season (DL) are three critical water levels for multiyear regulating storage (MRS) reservoirs. Nevertheless, the three critical water levels have not been paid enough attention, and there is no general method that calculates them in light of developing regulating rules for MRS reservoirs. In order to address the issue, three-parameter regulation (TPR) rules based on the coordination between the intra- and interannual regulation effects of MRS reservoirs are presented. Specifically, a long-term optimal scheduling (LTOS) model is built for maximizing the multiyear average hydropower output (MAHO) of a multireservoir system. The TPR rules are a linear form of rule with three regulation parameters (annual, storage, and release regulation parameters), and use the cuckoo search (CS) algorithm to solve the LTOS model with three regulation parameters as the decision variables. The approach of utilizing the CS algorithm to solve the LTOS model with the WL and DL as the decision variables is abbreviated as the OPT approach. Moreover, the multiple linear regression (MLR) rules and the artificial neural network (ANN) rules are derived from the OPT approach-based water-level processes. The multireservoir system at the upstream of Yellow River (UYR) with two MRS reservoirs, Longyangxia (Long) and Liujiaxia (Liu) reservoirs, is taken as a case study, where the TPR rules are compared with the OPT approach, the MLR rules, and the ANN rules. The results show that for the UYR multireservoir system, (1) the TPR rules-based MAHO is about 0.3% (0.93 × 108 kW∙h) more than the OPT approach-based MAHO under the historical inflow condition, and the elapsed time of the TPR rules is only half of that of the OPT approach; (2) the TPR rules-based MAHO is about 0.79 × 108 kW∙h more than the MLR/ANN rules-based MAHO under the historical inflow condition, and the TPR rules can realize 0.1–0.4% MAHO more than the MLR and ANN rules when the reservoir inflow increases or reduces by 10%. According to the annual regulation parameter, the PLs of Long and Liu reservoirs are 2572.3 m and 1695.2 m, respectively. Therefore, the TPR rules are an easy-to-obtain and adaptable LTOS rule, which could reasonably and efficiently to determine the three critical water levels for MRS reservoirs. Full article
(This article belongs to the Section Hydrology)
Show Figures

Figure 1

41 pages, 10449 KB  
Article
Multi-Criteria Analysis of the “Lake Baikal—Irkutsk Reservoir” Operating Modes in a Changing Climate: Reliability, Resilience, Vulnerability
by Alexander Buber and Mikhail Bolgov
Water 2021, 13(20), 2879; https://doi.org/10.3390/w13202879 - 14 Oct 2021
Cited by 1 | Viewed by 2917
Abstract
In the second half of the twentieth century, a cascade of reservoirs was constructed along the Angara: Irkutskoe, Bratskoe, Ust-Ilimskoe and Boguchanskoe, which were intended for producing renewable hydroelectric energy for providing transportation through the Angara and Yenisei Rivers, and for avoiding floods. [...] Read more.
In the second half of the twentieth century, a cascade of reservoirs was constructed along the Angara: Irkutskoe, Bratskoe, Ust-Ilimskoe and Boguchanskoe, which were intended for producing renewable hydroelectric energy for providing transportation through the Angara and Yenisei Rivers, and for avoiding floods. The upper reservoir (Irkutsk Dam) is used to regulate the level of Baikal Lake. The cascade of Angarsk reservoirs is managed using the dispatch schedules developed in 1988. This article contains a multi-criteria analysis of the “Lake Baikal–Irkutsk Reservoir” operating modes in a changing climate, based on statistical summaries of performance criteria: reliability, resilience, vulnerability. Studies have shown that dispatch schedules need to be developed on the historical series of recent years, updated more often and optimization methods should be used for real-time management. This article discusses mathematical methods, algorithms and their implementations for the formation of reservoir operation modes based on dispatch schedules (DS) and optimization methods. Furthermore, mathematical methods, algorithms and programs have been developed for the formation of reservoir operation modes in real time, based on optimization approaches and long-term series of observed inflows, taking into account a given hierarchy of priorities of water users’ requirements. To solve the integer nonlinear large-dimensional task of performing water resource calculations, a special optimization algorithm was developed that allows decomposition of the task into a series of two-year dimensional independent subtasks. Full article
Show Figures

Figure 1

11 pages, 3812 KB  
Article
Remote Sensing Investigation of the Offset Effect between Reservoir Impoundment and Glacier Meltwater Supply in Tibetan Highland Catchment
by Jingying Zhu, Chunqiao Song, Linghong Ke, Kai Liu and Tan Chen
Water 2021, 13(9), 1307; https://doi.org/10.3390/w13091307 - 7 May 2021
Cited by 5 | Viewed by 2722
Abstract
This article presents multi-source remote sensing measurements to quantify the water impoundment and regulation of the Zhikong Reservoir (ZKR) and Pangduo Reservoir (PDR), together with the estimation of the glacier mass balance to explore whether the increased glacier meltwater supply can buffer the [...] Read more.
This article presents multi-source remote sensing measurements to quantify the water impoundment and regulation of the Zhikong Reservoir (ZKR) and Pangduo Reservoir (PDR), together with the estimation of the glacier mass balance to explore whether the increased glacier meltwater supply can buffer the influences of the reservoir impoundment to some degree in the Tibetan highland catchment. The ZKR and PDR are two reservoirs constructed on the upper Lhasa River that originate from the Nyainqentanglha glaciers in the remote headwater in the Tibetan Plateau (TP) and lacks historical in situ hydrological observations in the long term. Therefore, the Joint Research Center (JRC) Global Surface Water dataset (GSW), and the Shuttle Radar Topography Mission (SRTM) digital elevation model (DEM) data were used for estimating the total amount of water storage of the two reservoirs, and the SRTM and TanDEM-X DEMs were used for estimating the glacier mass balance. The result shows that the total amount of water impounded by reservoirs is 0.76 Gt, roughly 54% of their design capacities. The mass balance of the glaciers is estimated by comparing the elevation changes between the SRTM and TanDEM-X DEMs. The glaciers in this region melt at an average rate of 0.09 ± 0.02 Gt·year−1 from 2000 to circa 2013, and the impounded water of these reservoirs is comparable to the amount of glacier-fed meltwater in eight years. Full article
Show Figures

Figure 1

20 pages, 1927 KB  
Article
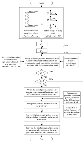
Optimization of Year-End Water Level of Multi-Year Regulating Reservoir in Cascade Hydropower System Considering the Inflow Frequency Difference
by Zhiqiang Jiang, Peibing Song and Xiang Liao
Energies 2020, 13(20), 5345; https://doi.org/10.3390/en13205345 - 14 Oct 2020
Cited by 13 | Viewed by 2333
Abstract
In order to analyze the year-end water level of multi-year regulating reservoir of the cascade hydropower system, this paper studied the joint operation optimization model of cascade reservoirs and its solving method based on multi-dimensional dynamic programming, and analyzed the power generation impact [...] Read more.
In order to analyze the year-end water level of multi-year regulating reservoir of the cascade hydropower system, this paper studied the joint operation optimization model of cascade reservoirs and its solving method based on multi-dimensional dynamic programming, and analyzed the power generation impact factors of cascade system that contains multi-year regulating reservoir. In particular, taking the seven reservoirs in the middle and lower reaches of Yalong River as an example, the optimal year-end water levels of multi-year regulating reservoir under the multi-year average situation and different inflow frequencies situation were studied. Based on the optimal calculation results of multi-dimensional dynamic programming, the inflow frequency difference considered operation rule of year-end water level of Lianghekou reservoir was extracted using the least square principle. The simulation results showed that, compared with the fixed year-end water level in multi-year, the extracted rule can improve the cascade power generation by more than 400 million kWh in an average year, representing an increase of 0.4%. This result means that the extracted rule can give full play to the regulation performance of multi-year regulating reservoir and improve the conversion efficiency of hydropower resources in cascade system. This is of great significance to the practical operation of cascade reservoirs system that contains multi-year regulating reservoir. Full article
(This article belongs to the Section A: Sustainable Energy)
Show Figures

Graphical abstract

13 pages, 1533 KB  
Article
Evolution of Flood Regulation Capacity for a Large Shallow Retention Lake: Characterization, Mechanism, and Impacts
by Zhandong Sun, Qun Huang and Tom Lotz
Water 2020, 12(10), 2853; https://doi.org/10.3390/w12102853 - 13 Oct 2020
Cited by 8 | Viewed by 2841
Abstract
The retention lake often plays an important role in flood mitigation through the water storage and the lake–river interactions. However, the evolution of real-time flood regulation capacity remains poorly characterized. Using wavelet decomposition and flood peak removing ratios, this study presents a comprehensive [...] Read more.
The retention lake often plays an important role in flood mitigation through the water storage and the lake–river interactions. However, the evolution of real-time flood regulation capacity remains poorly characterized. Using wavelet decomposition and flood peak removing ratios, this study presents a comprehensive evaluation of the characterization, mechanism, and impacts of the flood regulation capacity in Dongting Lake. The results indicate that the change of flood regulation effect of the lake can be well reflected by the multi-year changes in the variances of the inflow and outflow runoffs. The wavelet decomposition indicates that the flood regulation of the lake is mainly functioned on the high-frequency floods with durations less than 32 days. The average yearly flood peak removing ratios range from 0.13 to 0.56, but no significant tendency changes on the effect of the flood regulation capacity has happened during the study period. The changes in maximum regulation volume reveal that the flood regulation of the Dongting Lake is mainly a passive process decided by the complex river–lake relationship and the interactions among different processes of discharge and sediment. The impacts from the large volume reduction caused by sedimentation in the lake is compensated by the increased flood controlling water level, which in turn have resulted in the new phenomenon of “normal discharge, high water level and disaster” in the lake regions after the 1990s. The significant impacts on the lake–river relationship caused by the sediment reallocation from the operation of the Three Gorges Reservoir (TGR) have further changed the hydrological regimes between the lake and the Yangtze River. Influenced by the new lake-river interaction pattern the discharge passing capacity downstream the outlet of the lake is becoming a key factor that affects the flood regulation capacity, which is leading to a shift of the flood pressures from the lake region to the downstream of Yangtze in the near future. Full article
(This article belongs to the Section Hydrology)
Show Figures

Figure 1

18 pages, 5124 KB  
Article
Study on the Single-Multi-Objective Optimal Dispatch in the Middle and Lower Reaches of Yellow River for River Ecological Health
by Tao Bai, Xia Liu, Yan-ping HA, Jian-xia Chang, Lian-zhou Wu, Jian Wei and Jin Liu
Water 2020, 12(3), 915; https://doi.org/10.3390/w12030915 - 24 Mar 2020
Cited by 10 | Viewed by 4268
Abstract
Given the increasingly worsening ecology issues in the lower Yellow River, the Xiaolangdi reservoir is chosen as the regulation and control target, and the single and multi-objective operation by ecology and power generation in the lower Yellow River is studied in this paper. [...] Read more.
Given the increasingly worsening ecology issues in the lower Yellow River, the Xiaolangdi reservoir is chosen as the regulation and control target, and the single and multi-objective operation by ecology and power generation in the lower Yellow River is studied in this paper. This paper first proposes the following three indicators: the ecological elasticity coefficient (f1), the power generation elasticity coefficient (f2), and the ecological power generation profit and loss ratio (k). This paper then conducts a multi-target single dispatching study on ecology and power generation in the lower Yellow River. A genetic algorithm (GA) and an improved non-dominated genetic algorithm (NSGA-II) combining constraint processing and feasible space search techniques were used to solve the single-objective model with the largest power generation and the multi-objective optimal scheduling model considering both ecology and power generation. The calculation results show that: (1) the effectiveness of the NSGA-Ⅱcombined with constraint processing and feasible spatial search technology in reservoir dispatching is verified by an example; (2) compared with the operation model of maximizing power generation, the power generation of the target model was reduced by 0.87%, the ecological guarantee rate was increased by 18.75%, and the degree of the impact of ecological targets on the operating results was quantified; (3) in each typical year, the solution spatial distribution and dimensions of the single-target and multi-target models of change are represented by the Pareto-front curve, and a multi-objective operation plan is generated for decision makers to choose; (4) the f1, f2, and k indicators are selected to analyze the sensitivity of the five multi-objective plans and to quantify the interaction between ecological targets and power generation targets. Ultimately, this paper discusses the conversion relationship and finally recommends the best equilibrium solution in the multi-objective global equilibrium solution set. The results provide a decision-making basis for the multi-objective dispatching of the Xiaolangdi reservoir and have important practical significance for further improving the ecological health of the lower Yellow River. Full article
(This article belongs to the Special Issue Advances in Hydrologic Forecasts and Water Resources Management )
Show Figures

Figure 1

18 pages, 3226 KB  
Article
Multi-Objective Optimal Operation of the Inter-Basin Water Transfer Project Considering the Unknown Shapes of Pareto Fronts
by Jianjian Xu and Dan Bai
Water 2019, 11(12), 2644; https://doi.org/10.3390/w11122644 - 14 Dec 2019
Cited by 8 | Viewed by 3756
Abstract
Studies have shown that the performance of multi-objective evolutionary algorithms depends to a large extent on the shape of the Pareto fronts of the problem. Although, most existing algorithms have poor applicability in dealing with this problem, especially in the multi-objective optimization operation [...] Read more.
Studies have shown that the performance of multi-objective evolutionary algorithms depends to a large extent on the shape of the Pareto fronts of the problem. Although, most existing algorithms have poor applicability in dealing with this problem, especially in the multi-objective optimization operation of reservoirs with unknown Pareto fronts. Therefore, this paper introduces an evolutionary algorithm with strong versatility and robustness named the Multi-Objective Evolutionary Algorithm with Reference Point Adaptation (AR-MOEA). In this paper, we take two water conservancy hubs (Huangjinxia and Sanhekou) of the Hanjiang to Wei River Water Diversion Project as example, and build a multi-objective operation model including water supply, ecology, and power generation. We use the AR-MOEA, the Non-dominated Sorting Genetic Algorithm II (NSGA-II), the Multi-Objective Evolutionary Algorithm based on Decomposition (MOEA/D) and the Indicator-Based Evolutionary Algorithm (IBEA) to search the optimal solutions, respectively. We analyze the performance of four algorithms and the operation rules in continuous dry years. The results indicate that (1) the AR-MOEA can overcome the difficulty of the shape and distribution of the unknown Pareto fronts in the multi-objective model. (2) AR-MOEA can improve the convergence and uniformity of the Pareto solution. (3) If we make full use of the regulation ability of the Sanhekou reservoir in the dry season, the water supply for coping with possible continuous dry years can be guaranteed. The study results contribute to the identification of the relationship among objectives, and is valued for water resources management of the Hanjiang to Wei River Water Diversion Project. Full article
(This article belongs to the Section Hydrology)
Show Figures

Figure 1

Back to TopTop