Sign in to use this feature.

Years

Between: -

Subjects

remove_circle_outline
remove_circle_outline
remove_circle_outline
remove_circle_outline
remove_circle_outline
remove_circle_outline
remove_circle_outline
remove_circle_outline
remove_circle_outline

Journals

remove_circle_outline
remove_circle_outline
remove_circle_outline
remove_circle_outline
remove_circle_outline
remove_circle_outline
remove_circle_outline

Article Types

Countries / Regions

remove_circle_outline
remove_circle_outline
remove_circle_outline
remove_circle_outline

Search Results (772)

Search Parameters:
Keywords = decentralized mechanism

Order results
Result details
Results per page
Select all
Export citation of selected articles as:
19 pages, 2701 KB  
Article
RFID-Enabled Electronic Voting Framework for Secure Democratic Processes
by Stella N. Arinze and Augustine O. Nwajana
Telecom 2025, 6(4), 78; https://doi.org/10.3390/telecom6040078 - 16 Oct 2025
Abstract
The growing global demand for secure, transparent, and efficient electoral systems has highlighted the limitations of traditional voting methods, which remain susceptible to voter impersonation, ballot tampering, long queues, logistical challenges, and delayed result processing. To address these issues, this study presents the [...] Read more.
The growing global demand for secure, transparent, and efficient electoral systems has highlighted the limitations of traditional voting methods, which remain susceptible to voter impersonation, ballot tampering, long queues, logistical challenges, and delayed result processing. To address these issues, this study presents the design and implementation of a Radio Frequency Identification (RFID)-based electronic voting framework that integrates robust voter authentication, encrypted vote processing, and decentralized real-time monitoring. The system is developed as a scalable, cost-effective solution suitable for both urban and resource-constrained environments, especially those with limited infrastructure or inconsistent internet connectivity. It employs RFID-enabled smart voter cards containing encrypted unique identifiers, with each voter authenticated via an RC522 reader that validates their UID against an encrypted whitelist stored locally. Upon successful verification, the voter selects a candidate via a digital interface, and the vote is encrypted using AES-128 before being stored either locally on an SD card or transmitted through GSM to a secure backend. To ensure operability in offline settings, the system supports batch synchronization, where encrypted votes and metadata are uploaded once connectivity is restored. A tamper-proof monitoring mechanism logs each session with device ID, timestamps, and cryptographic checksums to maintain integrity and prevent duplication or external manipulation. Simulated deployments under real-world constraints tested the system’s performance against common threats such as duplicate voting, tag cloning, and data interception. Results demonstrated reduced authentication time, improved voter throughput, and strong resistance to security breaches—validating the system’s resilience and practicality. This work offers a hybrid RFID-based voting framework that bridges the gap between technical feasibility and real-world deployment, contributing a secure, transparent, and credible model for modernizing democratic processes in diverse political and technological landscapes. Full article
(This article belongs to the Special Issue Digitalization, Information Technology and Social Development)
Show Figures

Figure 1

23 pages, 1572 KB  
Article
Revenue Distribution in Manufacturer–University Collaborative R&D for Industrial Generic Technologies
by Ying Sun, Zhiqiang Ma and Fan Yang
Sustainability 2025, 17(20), 9142; https://doi.org/10.3390/su17209142 - 15 Oct 2025
Abstract
The collaborative model between manufacturers and universities represents a primary mechanism for achieving deep cross-organizational synergy in the development of industrial generic technologies. Establishing a scientific and equitable benefit-distribution mechanism is crucial for building efficient and sustainable collaborative partnerships between these heterogeneous entities. [...] Read more.
The collaborative model between manufacturers and universities represents a primary mechanism for achieving deep cross-organizational synergy in the development of industrial generic technologies. Establishing a scientific and equitable benefit-distribution mechanism is crucial for building efficient and sustainable collaborative partnerships between these heterogeneous entities. With manufacturers as the principal incentive provider, this study incorporates the heterogeneity of both parties and develops dynamic game-theoretic models under both decentralized and centralized decision-making modes to investigate the optimal profit-sharing mechanism and its underlying operational logic. The findings indicate that when both the manufacturer’s and the university’s efforts contribute to the outcome, profit sharing is essential regardless of the decision-making modes to incentivize cooperation. Moreover, the profit distribution coefficient is determined solely by each party’s relative contribution weight. In the presence of bilateral moral hazard, manufacturers attain higher profits under decentralized decision-making compared to the centralized mode, leading to a preference for decentralized schemes. Universities, conversely, exhibit the opposite preference. Nevertheless, the decentralized decision-making mode is found to maximize the overall benefits for industrial generic technology collaboration. Theoretically, this research extends the framework of cooperative innovation and benefit distribution into contexts involving heterogeneous actors and multiple decision-making regimes, offering a novel dynamic game-based perspective for cross-organizational collaborative governance. Practically, it provides actionable insights for mechanism design in manufacturer–university partnerships, contributing significantly to improving the efficiency and sustainability of such collaborations. Full article
(This article belongs to the Topic Green Technology Innovation and Economic Growth)
Show Figures

Figure 1

22 pages, 370 KB  
Article
AIRPoC: An AI-Enhanced Blockchain Consensus Framework for Autonomous Regulatory Compliance
by Sejin Han
Electronics 2025, 14(20), 4058; https://doi.org/10.3390/electronics14204058 - 15 Oct 2025
Abstract
Following the stablecoin legislation (GENIUS Act) enacted under the second Trump administration in 2025, blockchain has become core digital economy infrastructure. However, privacy risks from decentralization and transparency constrain adoption in regulated industries, requiring solutions that harmonize blockchain architecture with regulatory compliance. Existing [...] Read more.
Following the stablecoin legislation (GENIUS Act) enacted under the second Trump administration in 2025, blockchain has become core digital economy infrastructure. However, privacy risks from decentralization and transparency constrain adoption in regulated industries, requiring solutions that harmonize blockchain architecture with regulatory compliance. Existing research relies on reactive auditing or post-execution rule checking, which wastes computational resources or provides only basic encryption or access controls without comprehensive privacy compliance. The proposed Artificial Intelligence-enhanced Regulatory Proof-of-Compliance (AIRPoC) framework addresses this gap through a two-phase consensus mechanism that integrates AI legal agents with semantic web technologies for autonomous regulatory compliance enforcement. Unlike existing research, AIRPoC implements a dual-layer architecture where AI-powered regulatory validation precedes consensus execution, ensuring that only compliant transactions proceed to blockchain finalization. The system employs AI legal agents that automatically construct and update regulatory databases via multi-oracle networks, using SPARQL-based inference engines for real-time General Data Protection Regulation (GDPR) compliance validation. A simulation-based experimental evaluation conducted across 24 tests with 116,200 transactions in a controlled environment demonstrates 88.9% compliance accuracy, with 9502 transactions per second (TPS) versus 11,192 TPS for basic Proof-of-Stake (PoS) (4.5% overhead). This research represents a paradigm shift to dynamic, transaction-based regulatory models that preserve blockchain efficiency. Full article
Show Figures

Figure 1

20 pages, 2702 KB  
Review
Advancing Compliance with HIPAA and GDPR in Healthcare: A Blockchain-Based Strategy for Secure Data Exchange in Clinical Research Involving Private Health Information
by Sabri Barbaria, Abderrazak Jemai, Halil İbrahim Ceylan, Raul Ioan Muntean, Ismail Dergaa and Hanene Boussi Rahmouni
Healthcare 2025, 13(20), 2594; https://doi.org/10.3390/healthcare13202594 - 15 Oct 2025
Viewed by 48
Abstract
Background: Healthcare data interoperability faces significant barriers, including regulatory compliance complexities, institutional trust deficits, and technical integration challenges. Current centralized architectures demonstrate inadequate mechanisms for balancing data accessibility requirements with patient privacy protection, as mandated by HIPAA and GDPR frameworks. Traditional compliance approaches [...] Read more.
Background: Healthcare data interoperability faces significant barriers, including regulatory compliance complexities, institutional trust deficits, and technical integration challenges. Current centralized architectures demonstrate inadequate mechanisms for balancing data accessibility requirements with patient privacy protection, as mandated by HIPAA and GDPR frameworks. Traditional compliance approaches rely on manual policy implementation and periodic auditing, which are insufficient for dynamic, multi-organizational healthcare data-sharing scenarios. Objective: This study develops and proposes a blockchain-based healthcare data management framework that leverages Hyperledger Fabric, IPFS, and the HL7 FHIR standard and incorporates automated regulatory compliance mechanisms via smart contract implementation to meet HIPAA and GDPR requirements. It assesses the theoretical system architecture, security characteristics, and scalability considerations. Methods: We developed a permissioned blockchain architecture that employs smart contracts for privacy policy enforcement and for patient consent management. The proposed system incorporates multiple certification authorities for patients, hospitals, and research facilities. Architectural evaluation uses theoretical modeling and system design analysis to assess a system’s security, compliance, and scalability. Results: The proposed framework demonstrated enhanced security through decentralized control mechanisms and cryptographic protection protocols. Smart contract-based compliance verification can automate routine regulatory tasks while maintaining human oversight in complex scenarios. The architecture supports multi-organizational collaboration with attribute-based access control and comprehensive audit-trail capabilities. Conclusions: Blockchain-based healthcare data-sharing systems provide enhanced security and decentralized control compared with traditional architectures. The proposed framework offers a promising solution for automating regulatory compliance. However, implementation considerations—including organizational readiness, technical complexity, and scalability requirements—must be addressed for practical deployment in healthcare settings. Full article
(This article belongs to the Section Digital Health Technologies)
Show Figures

Figure 1

31 pages, 1516 KB  
Article
Federated Quantum Machine Learning for Distributed Cybersecurity in Multi-Agent Energy Systems
by Kwabena Addo, Musasa Kabeya and Evans Eshiemogie Ojo
Energies 2025, 18(20), 5418; https://doi.org/10.3390/en18205418 - 14 Oct 2025
Viewed by 228
Abstract
The increasing digitization and decentralization of modern energy systems have heightened their vulnerability to sophisticated cyber threats, necessitating advanced, scalable, and privacy-preserving detection frameworks. This paper introduces a novel Federated Quantum Machine Learning (FQML) framework tailored for anomaly detection in multi-agent energy environments. [...] Read more.
The increasing digitization and decentralization of modern energy systems have heightened their vulnerability to sophisticated cyber threats, necessitating advanced, scalable, and privacy-preserving detection frameworks. This paper introduces a novel Federated Quantum Machine Learning (FQML) framework tailored for anomaly detection in multi-agent energy environments. By integrating parameterized quantum circuits (PQCs) at the local agent level with secure federated learning protocols, the framework enhances detection accuracy while preserving data privacy. A trimmed-mean aggregation scheme and differential privacy mechanisms are embedded to defend against Byzantine behaviors and data-poisoning attacks. The problem is formally modeled as a constrained optimization task, accounting for quantum circuit depth, communication latency, and adversarial resilience. Experimental validation on synthetic smart grid datasets demonstrates that FQML achieves high detection accuracy (≥96.3%), maintains robustness under adversarial perturbations, and reduces communication overhead by 28.6% compared to classical federated baselines. These results substantiate the viability of quantum-enhanced federated learning as a practical, hardware-conscious approach to distributed cybersecurity in next-generation energy infrastructures. Full article
Show Figures

Graphical abstract

26 pages, 1008 KB  
Article
FedECPA: An Efficient Countermeasure Against Scaling-Based Model Poisoning Attacks in Blockchain-Based Federated Learning
by Rukayat Olapojoye, Tara Salman, Mohamed Baza and Ali Alshehri
Sensors 2025, 25(20), 6343; https://doi.org/10.3390/s25206343 - 14 Oct 2025
Viewed by 123
Abstract
Artificial intelligence (AI) and machine learning (ML) have become integral to various applications, leveraging vast amounts of heterogeneous, globally distributed Internet of Things (IoT) data to identify patterns and build accurate ML models for predictive tasks. Federated learning (FL) is a distributed ML [...] Read more.
Artificial intelligence (AI) and machine learning (ML) have become integral to various applications, leveraging vast amounts of heterogeneous, globally distributed Internet of Things (IoT) data to identify patterns and build accurate ML models for predictive tasks. Federated learning (FL) is a distributed ML technique developed to learn from such distributed data while ensuring privacy. Nevertheless, traditional FL requires a central server for aggregation, which can be a central point of failure and raises trust issues. Blockchain-based federated learning (BFL) has emerged as an FL extension that provides guaranteed decentralization alongside other security assurances. However, due to the inherent openness of blockchain, BFL comes with several vulnerabilities that remain unexplored in literature, e.g., a higher possibility of model poisoning attacks. This paper investigates how scaling-based model poisoning attacks are made easier in BFL systems and their effects on model performance. Subsequently, it proposes FedECPA-an extension of FedAvg aggregation algorithm with Efficient Countermeasure against scaling-based model Poisoning Attacks in BFL. FedECPA filters out clients with outlier weights and protects the model against these attacks. Several experiments are conducted with different attack scenarios and settings. We further compared our results to a frequently used defense mechanism, Multikrum. Results show the effectiveness of our defense mechanism in protecting BFL from these attacks. On the MNIST dataset, it maintains an overall accuracy of 98% and 89% and outperforms our baseline with 4% and 38% in both IID and non-IID settings, respectively. Similar results were achieved with the CIFAR-10 dataset. Full article
Show Figures

Figure 1

35 pages, 13290 KB  
Article
Blockchain-Enabled Secure Energy Transactions for Scalable and Decentralized Peer-to-Peer Solar Energy Trading with Dynamic Pricing
by Jovika Nithyanantham Balamurugan, Devineni Poojitha, Ramu Jahna Bindu, Archana Pallakonda, Rayappa David Amar Raj, Rama Muni Reddy Yanamala, Christian Napoli and Cristian Randieri
Technologies 2025, 13(10), 459; https://doi.org/10.3390/technologies13100459 - 10 Oct 2025
Viewed by 220
Abstract
Decentralized energy trading has been designed as a scalable substitute for traditional electricity markets. While blockchain technology facilitates efficient transparency and automation for peer-to-peer energy trading, the majority of current proposals lack real-time intelligence and adaptability concerning pricing strategies. This paper presents an [...] Read more.
Decentralized energy trading has been designed as a scalable substitute for traditional electricity markets. While blockchain technology facilitates efficient transparency and automation for peer-to-peer energy trading, the majority of current proposals lack real-time intelligence and adaptability concerning pricing strategies. This paper presents an innovative machine learning-driven solar energy trading platform on the Ethereum blockchain that uniquely integrates Bayesian-optimized XGBoost models with dynamic pricing mechanisms inherently incorporated within smart contracts. The principal innovation resides in the real-time amalgamation of meteorological data via Chainlink oracles with machine learning-enhanced price optimization, thereby establishing an adaptive system that autonomously responds to fluctuations in supply and demand. In contrast to existing static pricing methodologies, our framework introduces a multi-faceted dynamic pricing model that encompasses peak-hour adjustments, prediction confidence weighting, and weather-influenced corrections. The system dynamically establishes energy prices predicated on real-time supply–demand forecasts through the implementation of role-based access control, cryptographic hash functions, and ongoing integration of meteorological and machine learning data. Utilizing real-world meteorological data from La Trobe University’s UNISOLAR dataset, the Bayesian-optimized XGBoost model attains a remarkable prediction accuracy of 97.45% while facilitating low-latency price updates at 30 min intervals. The proposed system delivers robust transaction validation, secure offer creation, and scalable dynamic pricing through the seamless amalgamation of off-chain machine learning inference with on-chain smart contract execution, thereby providing a validated platform for trustless, real-time, and intelligent decentralized energy markets that effectively address the disparity between theoretical blockchain energy trading and practical implementation needs. Full article
Show Figures

Figure 1

21 pages, 1631 KB  
Article
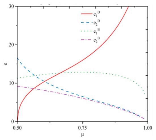
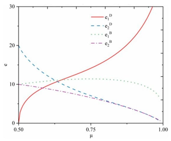
Competition and Coordination of Regional Fresh Supply Chain Under Government Regulation
by Chao Zhao, Yongmei Chi, Nini Gao and Jixiang Song
Games 2025, 16(5), 53; https://doi.org/10.3390/g16050053 - 10 Oct 2025
Viewed by 142
Abstract
Fresh agricultural products have significant seasonality and perishability, and their cross-regional sales often face differences in market demand, price, and sales volume. In the context of government quality regulation, competition among retailers in different regions drives supply chain members to improve product quality, [...] Read more.
Fresh agricultural products have significant seasonality and perishability, and their cross-regional sales often face differences in market demand, price, and sales volume. In the context of government quality regulation, competition among retailers in different regions drives supply chain members to improve product quality, expand sales, and reduce losses. However, conflicts of interest under decentralized decision-making may lead to overall inefficiency. This article constructs a supply chain model consisting of a single Manufacturer and two regional Retailers to study the quality competition and coordination mechanism of cross-regional fresh food supply chains under government supervision. By comparing centralized and decentralized decision-making, it is found that although quality improvement in decentralized mode helps enhance competitiveness and sales performance, it is difficult to effectively increase profits and may even lead to a decline in profits. Therefore, this article proposes a cost-sharing contract to achieve supply chain coordination. Research has shown that this contract can effectively improve the overall profit of the supply chain and achieve Pareto improvement; under high market demand and strict regulatory penalties, the total profit of the supply chain increases, but the dominant Retailer benefits more, which can easily trigger the “Matthew effect”. The research results reveal the comprehensive impact of quality investment, contract coordination, market demand fluctuations, and regulatory intensity on supply chain performance, providing theoretical basis and management insights for improving the collaborative efficiency and policy design of cross-regional fresh food supply chains. Full article
Show Figures

Figure 1

32 pages, 3312 KB  
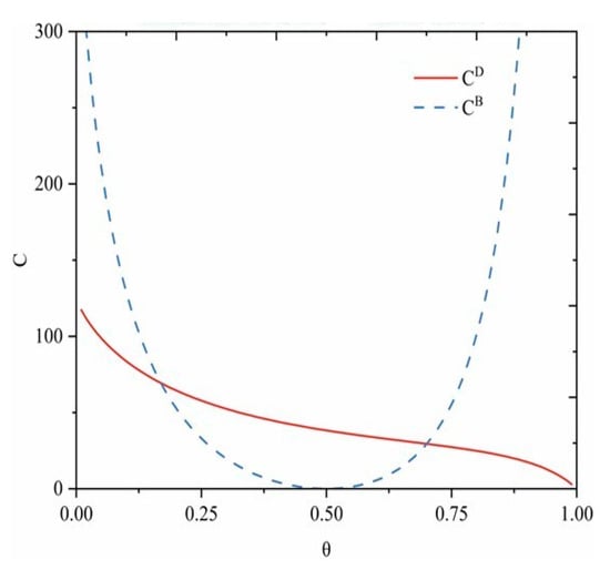
Article
Green Investment and Emission Reduction in Supply Chains Under Dual-Carbon Regulation: A Dynamic Game Perspective on Coordination Mechanisms and Policy Insights
by Dandan Wu, Kun Li and Yang Cheng
Sustainability 2025, 17(19), 8951; https://doi.org/10.3390/su17198951 - 9 Oct 2025
Viewed by 371
Abstract
This study examines green investment and emission reduction strategies in a two-tier supply chain under dual-carbon regulation that combines a carbon tax with a cap-and-trade mechanism. A multi-stage dynamic game model is developed, in which the manufacturer reduces emissions through recycling efforts and [...] Read more.
This study examines green investment and emission reduction strategies in a two-tier supply chain under dual-carbon regulation that combines a carbon tax with a cap-and-trade mechanism. A multi-stage dynamic game model is developed, in which the manufacturer reduces emissions through recycling efforts and investments in green technology. We compare optimal decisions under centralized, decentralized, and coordinated structures, and propose an enhanced bilateral cost-sharing contract to improve collaboration. Numerical experiments validate the theoretical results, and sensitivity analyses provide further insights. The results show that while both carbon tax and permit trading increase emission reduction, the carbon tax may lower manufacturer profit, underscoring the need for coordinated policy design. Benchmarking proves more effective than grandfathering in stimulating green investment, particularly under high carbon prices and strong consumer environmental preferences. The proposed contract alleviates free riding, enhances overall supply chain profitability, and improves emission reduction performance. Policy implications highlight the importance of prioritizing benchmark allocation, promoting consumer environmental awareness, and encouraging firms to integrate carbon asset management with technological innovation. This research provides both theoretical and practical insights for designing effective carbon policies and collaborative mechanisms in green supply chains. Full article
(This article belongs to the Special Issue Sustainable Operations and Green Supply Chain)
Show Figures

Figure 1

22 pages, 7879 KB  
Review
Effectiveness of Small Hydropower Plants Dismantling in the Chishui River Watershed and Recommendations for Follow-Up Studies
by Wenzhuo Gao, Zhigang Wang, Ke Wang, Xianxun Wang, Xiao Li and Qunli Jiang
Water 2025, 17(19), 2909; https://doi.org/10.3390/w17192909 - 9 Oct 2025
Viewed by 292
Abstract
With the characteristic of “decentralized distribution and local power supply”, small hydropower (SHP) in China has become a core means of solving the problem of insufficient power supply in rural and remote mountainous areas, effectively promoting the improvement of local livelihoods. However, for [...] Read more.
With the characteristic of “decentralized distribution and local power supply”, small hydropower (SHP) in China has become a core means of solving the problem of insufficient power supply in rural and remote mountainous areas, effectively promoting the improvement of local livelihoods. However, for a long time, SHP has had many problems, such as irrational development, old equipment, and poor economic efficiency, resulting in some rivers with connectivity loss and reduced biodiversity, etc. The Chishui River Watershed is an ecologically valuable river in the upper reaches of the Yangtze River. As an important habitat for rare fish in the upper reaches of the Yangtze River and the only large-scale tributary that maintains a natural flow pattern, the SHP plants’ dismantling and ecological restoration practices in the Chishui River Watershed can set a model for regional sustainable development. This paper adopts the methods of literature review, field research, and case study analysis, combined with the comparison of ecological conditions before and after the dismantling, to systematically analyze the effectiveness and challenges of SHP rectification in the Chishui River Watershed. The study found that after dismantling 88.2% of SHP plants in ecologically sensitive areas, the number of fish species upstream and downstream of the original dam site increased by about 6.67% and 70%, respectively; the natural hydrological connectivity has been restored to the downstream of the Tongzi River, the Gulin River and other rivers, but there are short-term problems such as sediment underflow, increased economic pressure, and the gap of alternative energy sources; the retained power stations have achieved the success and challenges of power generation and ecological management ecological flow control and comprehensive utilization, achieving a balance between power generation and ecological protection. Based on the above findings, the author proposes dynamic monitoring and interdisciplinary tracking research to fill the gap of systematic data support and long-term effect research in the SHP exit mechanism, and the results can provide a reference for the green transition of SHP. Full article
(This article belongs to the Section Water Resources Management, Policy and Governance)
Show Figures

Figure 1

25 pages, 876 KB  
Article
Blockchain-Based Self-Sovereign Identity Management Mechanism in AIoT Environments
by Jingjing Ren, Jie Zhang, Yongjun Ren and Jiang Xu
Electronics 2025, 14(19), 3954; https://doi.org/10.3390/electronics14193954 - 8 Oct 2025
Viewed by 395
Abstract
With the rapid growth of Artificial Intelligence of Things (AIoT), identity management and trusted communication have become critical for system security and reliability. Continuous AI learning and large-scale device connectivity introduce challenges such as permission drift, cross-domain access, and fine-grained API calls. Traditional [...] Read more.
With the rapid growth of Artificial Intelligence of Things (AIoT), identity management and trusted communication have become critical for system security and reliability. Continuous AI learning and large-scale device connectivity introduce challenges such as permission drift, cross-domain access, and fine-grained API calls. Traditional identity management often fails to balance privacy protection with efficiency, leading to risks of data leakage and misuse. To address these issues, this paper proposes a blockchain-based self-sovereign identity (SSI) management mechanism for AIoT. By integrating SSI with a zero-trust framework, it achieves decentralized identity storage and continuous verification, effectively preventing unauthorized access and misuse of identity data. The mechanism employs selective disclosure (SD) technology, allowing users to submit only necessary attributes, thereby ensuring user control over self-sovereign identity information and guaranteeing the privacy and integrity of undisclosed attributes. This significantly reduces verification overhead. Additionally, this paper designs a context-aware dynamic permission management that generates minimal permission sets in real time based on device requirements and environmental changes. Combined with the zero-trust principles of continuous verification and least privilege, it enhances secure interactions while maintaining flexibility. Performance experiments demonstrate that, compared with conventional approaches, the proposed zero-trust architecture-based SSI management mechanism better mitigates the risk of sensitive attribute leakage, improves identity verification efficiency under SD, and enhances the responsiveness of dynamic permission management, providing robust support for secure and efficient AIoT operations. Full article
(This article belongs to the Topic Recent Advances in Security, Privacy, and Trust)
Show Figures

Figure 1

32 pages, 2020 KB  
Article
Research on Coordination of the E-Commerce Platform Supply Chain Considering Tripartite AI Investments
by Zijiao Sun and Jun Tu
J. Theor. Appl. Electron. Commer. Res. 2025, 20(4), 269; https://doi.org/10.3390/jtaer20040269 - 2 Oct 2025
Viewed by 464
Abstract
This study examines a three-tier e-commerce platform supply chain consisting of a manufacturer, an e-commerce platform, and a logistics provider, where three members invest in artificial intelligence. Market demand is modeled as a function of retail price and the AI investment efforts of [...] Read more.
This study examines a three-tier e-commerce platform supply chain consisting of a manufacturer, an e-commerce platform, and a logistics provider, where three members invest in artificial intelligence. Market demand is modeled as a function of retail price and the AI investment efforts of three members. To coordinate the supply chain, all possible coalition forms and the cost-sharing contract are investigated. Game models under different scenarios are established and solved. The results show that: (1) Compared with the centralized structure, each member’s AI investment effort will decrease under decentralized structures; (2) The cost-sharing contract is always effective for the AI investment efforts of the manufacturer and platform, but it is effective for the logistics provider’s AI investment effort under certain conditions; (3) The cost-sharing contract effectively coordinates the e-commerce platform supply chain compared to the revenue-sharing contract. Market demand and supply chain profit are larger under the cost-sharing contract than under the fully decentralized structure. This paper provides a theoretical basis for the design of AI investment strategies, product pricing, and coordination mechanisms for supply chain members of the e-commerce supply chain. Full article
Show Figures

Figure 1

23 pages, 6197 KB  
Article
A Leader-Assisted Decentralized Adaptive Formation Method for UAV Swarms Integrating a Pre-Trained Semantic Broadcast Communication Model
by Xing Xu, Bo Zhang and Rongpeng Li
Drones 2025, 9(10), 681; https://doi.org/10.3390/drones9100681 - 30 Sep 2025
Viewed by 240
Abstract
Multiple unmanned aerial vehicle (UAV) systems have attracted considerable research interest due to their broad applications, such as formation control. However, decentralized UAV formation faces challenges stemming from limited local observations, which may lead to consistency conflicts, and excessive communication. To address these [...] Read more.
Multiple unmanned aerial vehicle (UAV) systems have attracted considerable research interest due to their broad applications, such as formation control. However, decentralized UAV formation faces challenges stemming from limited local observations, which may lead to consistency conflicts, and excessive communication. To address these issues, this paper proposes SemanticBC-DecAF, a decentralized adaptive formation (DecAF) framework under a leader–follower architecture, incorporating a semantic broadcast communication (SemanticBC) mechanism. The framework consists of three modules: (1) a proximal policy optimization (PPO)-based semantic broadcast module, where the leader UAV transmits semantically encoded global obstacle images to followers to enhance their perception; (2) a YOLOv5-based detection and position estimation module, enabling followers to infer obstacle locations from recovered images; and (3) a multi-agent proximal policy optimization (MAPPO)-based formation module, which fuses global and local observations to achieve adaptive formation and obstacle avoidance. Experiments in the multi-agent simulation environment MPE show that the proposed framework significantly improves global perception and formation efficiency compared with methods that rely on local observations. Full article
(This article belongs to the Section Artificial Intelligence in Drones (AID))
Show Figures

Figure 1

36 pages, 2113 KB  
Article
Self-Sovereign Identities and Content Provenance: VeriTrust—A Blockchain-Based Framework for Fake News Detection
by Maruf Farhan, Usman Butt, Rejwan Bin Sulaiman and Mansour Alraja
Future Internet 2025, 17(10), 448; https://doi.org/10.3390/fi17100448 - 30 Sep 2025
Viewed by 662
Abstract
The widespread circulation of digital misinformation exposes a critical shortcoming in prevailing detection strategies, namely, the absence of robust mechanisms to confirm the origin and authenticity of online content. This study addresses this by introducing VeriTrust, a conceptual and provenance-centric framework designed to [...] Read more.
The widespread circulation of digital misinformation exposes a critical shortcoming in prevailing detection strategies, namely, the absence of robust mechanisms to confirm the origin and authenticity of online content. This study addresses this by introducing VeriTrust, a conceptual and provenance-centric framework designed to establish content-level trust by integrating Self-Sovereign Identity (SSI), blockchain-based anchoring, and AI-assisted decentralized verification. The proposed system is designed to operate through three key components: (1) issuing Decentralized Identifiers (DIDs) and Verifiable Credentials (VCs) through Hyperledger Aries and Indy; (2) anchoring cryptographic hashes of content metadata to an Ethereum-compatible blockchain using Merkle trees and smart contracts; and (3) enabling a community-led verification model enhanced by federated learning with future extensibility toward zero-knowledge proof techniques. Theoretical projections, derived from established performance benchmarks, suggest the framework offers low latency and high scalability for content anchoring and minimal on-chain transaction fees. It also prioritizes user privacy by ensuring no on-chain exposure of personal data. VeriTrust redefines misinformation mitigation by shifting from reactive content-based classification to proactive provenance-based verification, forming a verifiable link between digital content and its creator. VeriTrust, while currently at the conceptual and theoretical validation stage, holds promise for enhancing transparency, accountability, and resilience against misinformation attacks across journalism, academia, and online platforms. Full article
(This article belongs to the Special Issue AI and Blockchain: Synergies, Challenges, and Innovations)
Show Figures

Figure 1

25 pages, 2472 KB  
Article
JudicBlock: Judicial Evidence Preservation Scheme Based on Blockchain Technology
by Tapasi Bhattacharjee, Amalendu Singha Mahapatra, Debashis De and Asmita Chowdhury
Blockchains 2025, 3(4), 11; https://doi.org/10.3390/blockchains3040011 - 26 Sep 2025
Viewed by 259
Abstract
The electronic judicial evidence preservation systems face various challenges including regulatory control, data exchange, poor credibility, etc. To address these issues, a blockchain-based judicial evidence preservation framework, JudicBlock, is proposed in the present study. It combines the scalability of the Interplanetary File System [...] Read more.
The electronic judicial evidence preservation systems face various challenges including regulatory control, data exchange, poor credibility, etc. To address these issues, a blockchain-based judicial evidence preservation framework, JudicBlock, is proposed in the present study. It combines the scalability of the Interplanetary File System with the transparency and security of public blockchain. By decentralizing data management and using cryptographic integrity, the system ensures reliable chronological tracking of investigative changes. Unlike traditional approaches, JudicBlock incorporates smart contracts and advanced consensus mechanisms to enforce strict access controls with secure collaboration among the stakeholders. The simulation results show that JudicBlock provides better results over traditional ELR (electronic law records) storage schemes in terms of mining cost, query fetching time, block processing IPFS (Interplanetary file systems) throughput, etc. At a USD 6 mining cost, it appends an average of 23,601 transactions. For 25 blocks, the average query fetching time is 0.852 ms with the cache support of 32 KB. The proposed scheme achieves an average ELR uploading latency improvement of 6.79% over traditional schemes. The results indicate the efficacy of the proposed scheme over the conventional schemes. Full article
Show Figures

Figure 1

Back to TopTop