Sign in to use this feature.

Years

Between: -

Subjects

remove_circle_outline
remove_circle_outline
remove_circle_outline
remove_circle_outline
remove_circle_outline

Journals

Article Types

Countries / Regions

Search Results (31)

Search Parameters:
Authors = Vasit Sagan ORCID = 0000-0003-4375-2096

Order results
Result details
Results per page
Select all
Export citation of selected articles as:
20 pages, 17598 KB  
Article
Self-Supervised Learning for Soybean Disease Detection Using UAV Hyperspectral Imagery
by Mustafizur Rahaman, Vasit Sagan, Felipe A. Lopes, Haireti Alifu, Cagri Gul, Hadi Aliakbarpour and Kannappan Palaniappan
Remote Sens. 2025, 17(23), 3928; https://doi.org/10.3390/rs17233928 - 4 Dec 2025
Viewed by 859
Abstract
The accuracy of machine learning models in plant disease detection significantly relies on large volumes of knowledge-based labeled data; the acquisition of annotation remains a significant bottleneck in domain-specific research such as plant disease detection. While unsupervised learning alleviates the need for labeled [...] Read more.
The accuracy of machine learning models in plant disease detection significantly relies on large volumes of knowledge-based labeled data; the acquisition of annotation remains a significant bottleneck in domain-specific research such as plant disease detection. While unsupervised learning alleviates the need for labeled data, its effectiveness is constrained by the intrinsic separability of feature clusters. These limitations underscore the need for approaches that enable supervised early disease detection without extensive annotation. To this end, we propose a self-supervised learning (SSL) framework for the early detection of soybean’s sudden death syndrome (SDS) using hyperspectral data acquired from an unmanned aerial vehicle (UAV). The methodology employs a novel distance-based spectral pairing technique that derives intermediate labels directly from the data. In addition, we introduce an adapted contrastive loss function designed to improve cluster separability and reinforce discriminative feature learning. The proposed approach yields an 11% accuracy gain over agglomerative hierarchical clustering and attains both classification accuracy and F1 score of 0.92, matching supervised baselines. Reflectance frequency analysis further demonstrates robustness to label noise, highlighting its suitability in label-scarce settings. Full article
(This article belongs to the Special Issue Advances in Deep Learning Approaches: UAV Data Analysis)
Show Figures

Figure 1

19 pages, 8986 KB  
Article
Stability Assessment of the Tepehan Landslide: Before and After the 2023 Kahramanmaras Earthquakes
by Katherine Nieto, Noha I. Medhat, Aimaiti Yusupujiang, Vasit Sagan and Tugce Baser
Geosciences 2025, 15(5), 181; https://doi.org/10.3390/geosciences15050181 - 17 May 2025
Viewed by 1055
Abstract
This study focuses on the investigation of the Tepehan landslide triggered by the 6 February 2023, Kahramanmaraş earthquake in Türkiye. The overall goal of this study is to understand the slope condition and simulate the failure considering pre- and post-event geometry. Topographic variations [...] Read more.
This study focuses on the investigation of the Tepehan landslide triggered by the 6 February 2023, Kahramanmaraş earthquake in Türkiye. The overall goal of this study is to understand the slope condition and simulate the failure considering pre- and post-event geometry. Topographic variations in the landslide area were analyzed using digital elevation models (DEMs) derived from the Sentinel-1 Synthetic Aperture Radar (SAR) satellite data and geospatial analysis. Slope stability analyses were conducted over a representative alignment, including assessments of soil structure, geological history, and field features. A limit equilibrium back-analysis was performed under both static and pseudo-static conditions, where an earthquake load coefficient was considered in the analyses. A total of five scenarios were evaluated to determine factors of safety (FoS) based on fully softened and residual strength parameters. The resulting critical slip surfaces from the simulations were compared with the geomorphometric analysis, necessitating the adjustment of the subsurface hard clay layer for residual conditions. The analyses revealed that the slope behaves as a delayed first-time landslide, with bedding planes acting as localized weak layers, reducing mobilized shear strength. This integrated remote sensing–geotechnical approach advances landslide hazard evaluation by enhancing the precision of slip surface identification and post-seismic slope behavior modeling, offering a valuable framework for similar post-disaster geohazard assessments. Full article
(This article belongs to the Section Geomechanics)
Show Figures

Figure 1

29 pages, 8502 KB  
Article
Seed Protein Content Estimation with Bench-Top Hyperspectral Imaging and Attentive Convolutional Neural Network Models
by Imran Said, Vasit Sagan, Kyle T. Peterson, Haireti Alifu, Abuduwanli Maiwulanjiang, Abby Stylianou, Omar Al Akkad, Supria Sarkar and Noor Al Shakarji
Sensors 2025, 25(2), 303; https://doi.org/10.3390/s25020303 - 7 Jan 2025
Cited by 2 | Viewed by 2126
Abstract
Wheat is a globally cultivated cereal crop with substantial protein content present in its seeds. This research aimed to develop robust methods for predicting seed protein concentration in wheat seeds using bench-top hyperspectral imaging in the visible, near-infrared (VNIR), and shortwave infrared (SWIR) [...] Read more.
Wheat is a globally cultivated cereal crop with substantial protein content present in its seeds. This research aimed to develop robust methods for predicting seed protein concentration in wheat seeds using bench-top hyperspectral imaging in the visible, near-infrared (VNIR), and shortwave infrared (SWIR) regions. To fully utilize the spectral and texture features of the full VNIR and SWIR spectral domains, a computer-vision-aided image co-registration methodology was implemented to seamlessly align the VNIR and SWIR bands. Sensitivity analyses were also conducted to identify the most sensitive bands for seed protein estimation. Convolutional neural networks (CNNs) with attention mechanisms were proposed along with traditional machine learning models based on feature engineering including Random Forest (RF) and Support Vector Machine (SVM) regression for comparative analysis. Additionally, the CNN classification approach was used to estimate low, medium, and high protein concentrations because this type of classification is more applicable for breeding efforts. Our results showed that the proposed CNN with attention mechanisms predicted wheat protein content with R2 values of 0.70 and 0.65 for ventral and dorsal seed orientations, respectively. Although, the R2 of the CNN approach was lower than of the best performing feature-based method, RF (R2 of 0.77), end-to-end prediction capabilities with CNN hold great promise for the automation of wheat protein estimation for breeding. The CNN model achieved better classification of protein concentrations between low, medium, and high protein contents, with an R2 of 0.82. This study’s findings highlight the significant potential of hyperspectral imaging and machine learning techniques for advancing precision breeding practices, optimizing seed sorting processes, and enabling targeted agricultural input applications. Full article
(This article belongs to the Special Issue Spectral Detection Technology, Sensors and Instruments, 2nd Edition)
Show Figures

Figure 1

28 pages, 70926 KB  
Article
Fusion of Visible and Infrared Aerial Images from Uncalibrated Sensors Using Wavelet Decomposition and Deep Learning
by Chandrakanth Vipparla, Timothy Krock, Koundinya Nouduri, Joshua Fraser, Hadi AliAkbarpour, Vasit Sagan, Jing-Ru C. Cheng and Palaniappan Kannappan
Sensors 2024, 24(24), 8217; https://doi.org/10.3390/s24248217 - 23 Dec 2024
Cited by 3 | Viewed by 3222
Abstract
Multi-modal systems extract information about the environment using specialized sensors that are optimized based on the wavelength of the phenomenology and material interactions. To maximize the entropy, complementary systems operating in regions of non-overlapping wavelengths are optimal. VIS-IR (Visible-Infrared) systems have been at [...] Read more.
Multi-modal systems extract information about the environment using specialized sensors that are optimized based on the wavelength of the phenomenology and material interactions. To maximize the entropy, complementary systems operating in regions of non-overlapping wavelengths are optimal. VIS-IR (Visible-Infrared) systems have been at the forefront of multi-modal fusion research and are used extensively to represent information in all-day all-weather applications. Prior to image fusion, the image pairs have to be properly registered and mapped to a common resolution palette. However, due to differences in the device physics of image capture, information from VIS-IR sensors cannot be directly correlated, which is a major bottleneck for this area of research. In the absence of camera metadata, image registration is performed manually, which is not practical for large datasets. Most of the work published in this area assumes calibrated sensors and the availability of camera metadata providing registered image pairs, which limits the generalization capability of these systems. In this work, we propose a novel end-to-end pipeline termed DeepFusion for image registration and fusion. Firstly, we design a recursive crop and scale wavelet spectral decomposition (WSD) algorithm for automatically extracting the patch of visible data representing the thermal information. After data extraction, both the images are registered to a common resolution palette and forwarded to the DNN for image fusion. The fusion performance of the proposed pipeline is compared and quantified with state-of-the-art classical and DNN architectures for open-source and custom datasets demonstrating the efficacy of the pipeline. Furthermore, we also propose a novel keypoint-based metric for quantifying the quality of fused output. Full article
(This article belongs to the Section Physical Sensors)
Show Figures

Figure 1

16 pages, 4723 KB  
Article
A Wavelet Decomposition Method for Estimating Soybean Seed Composition with Hyperspectral Data
by Aviskar Giri, Vasit Sagan, Haireti Alifu, Abuduwanli Maiwulanjiang, Supria Sarkar, Bishal Roy and Felix B. Fritschi
Remote Sens. 2024, 16(23), 4594; https://doi.org/10.3390/rs16234594 - 6 Dec 2024
Cited by 4 | Viewed by 1579
Abstract
Soybean seed composition, particularly protein and oil content, plays a critical role in agricultural practices, influencing crop value, nutritional quality, and marketability. Accurate and efficient methods for predicting seed composition are essential for optimizing crop management and breeding strategies. This study assesses the [...] Read more.
Soybean seed composition, particularly protein and oil content, plays a critical role in agricultural practices, influencing crop value, nutritional quality, and marketability. Accurate and efficient methods for predicting seed composition are essential for optimizing crop management and breeding strategies. This study assesses the effectiveness of combining handheld spectroradiometers with the Mexican Hat wavelet transformation to predict soybean seed composition at both seed and canopy levels. Initial analyses using raw spectral data from these devices showed limited predictive accuracy. However, by using the Mexican Hat wavelet transformation, meaningful features were extracted from the spectral data, significantly enhancing prediction performance. Results showed improvements: for seed-level data, Partial Least Squares Regression (PLSR), a method used to reduce spectral data complexity while retaining critical information, showed R2 values increasing from 0.57 to 0.61 for protein content and from 0.58 to 0.74 for oil content post-transformation. Canopy-level data analyzed with Random Forest Regression (RFR), an ensemble method designed to capture non-linear relationships, also demonstrated substantial improvements, with R2 increasing from 0.07 to 0.44 for protein and from 0.02 to 0.39 for oil content post-transformation. These findings demonstrate that integrating handheld spectroradiometer data with wavelet transformation bridges the gap between high-end spectral imaging and practical, accessible solutions for field applications. This approach not only improves the accuracy of seed composition prediction at both seed and canopy levels but also supports more informed decision-making in crop management. This work represents a significant step towards making advanced crop assessment tools more accessible, potentially improving crop management strategies and yield optimization across various farming scales. Full article
(This article belongs to the Special Issue Recent Progress in Hyperspectral Remote Sensing Data Processing)
Show Figures

Figure 1

22 pages, 7845 KB  
Article
The Ballpark Effect: Spatial-Data-Driven Insights into Baseball’s Local Economic Impact
by Aviskar Giri, Vasit Sagan and Michael Podgursky
Appl. Sci. 2024, 14(18), 8134; https://doi.org/10.3390/app14188134 - 10 Sep 2024
Cited by 3 | Viewed by 3780
Abstract
The impact of sporting events on local economies and their spatial distribution is a topic of active policy debate. This study adds to the discussion by examining granular cellphone location data to assess the spillover effects of Major League Baseball (MLB) games in [...] Read more.
The impact of sporting events on local economies and their spatial distribution is a topic of active policy debate. This study adds to the discussion by examining granular cellphone location data to assess the spillover effects of Major League Baseball (MLB) games in a major US city. Focusing on the 2019 season, we explore granular geospatial patterns in mobility and consumer spending on game days versus non-game days in the Saint Louis region. Through density-based clustering and hotspot analysis, we uncover distinct spatiotemporal signatures and variations in visitor affluence across different teams. This study uses features like game day characteristics, location data (latitude and longitude), business types, and spending data. A significant finding is that specific spatial clusters of economic activity are formed around the stadium, particularly on game days, with multiple clusters identified. These clusters reveal a marked increase in spending at businesses such as restaurants, bars, and liquor stores, with revenue surges of up to 38% in certain areas. We identified a significant change in spending patterns in the local economy during games, with results varying greatly across teams. Notably, the XGBoost model performs best, achieving a test R2 of 0.80. The framework presented enhances the literature at the intersection of urban economics, sports analytics, and spatial modeling while providing data-driven actionable insights for businesses and policymakers. Full article
(This article belongs to the Special Issue Sustainable Urban Mobility)
Show Figures

Figure 1

30 pages, 6877 KB  
Article
Hyperfidelis: A Software Toolkit to Empower Precision Agriculture with GeoAI
by Vasit Sagan, Roberto Coral, Sourav Bhadra, Haireti Alifu, Omar Al Akkad, Aviskar Giri and Flavio Esposito
Remote Sens. 2024, 16(9), 1584; https://doi.org/10.3390/rs16091584 - 29 Apr 2024
Cited by 4 | Viewed by 3169
Abstract
The potential of artificial intelligence (AI) and machine learning (ML) in agriculture for improving crop yields and reducing the use of water, fertilizers, and pesticides remains a challenge. The goal of this work was to introduce Hyperfidelis, a geospatial software package that provides [...] Read more.
The potential of artificial intelligence (AI) and machine learning (ML) in agriculture for improving crop yields and reducing the use of water, fertilizers, and pesticides remains a challenge. The goal of this work was to introduce Hyperfidelis, a geospatial software package that provides a comprehensive workflow that includes imagery visualization, feature extraction, zonal statistics, and modeling of key agricultural traits including chlorophyll content, yield, and leaf area index in a ML framework that can be used to improve food security. The platform combines a user-friendly graphical user interface with cutting-edge machine learning techniques, bridging the gap between plant science, agronomy, remote sensing, and data science without requiring users to possess any coding knowledge. Hyperfidelis offers several data engineering and machine learning algorithms that can be employed without scripting, which will prove essential in the plant science community. Full article
(This article belongs to the Section Biogeosciences Remote Sensing)
Show Figures

Figure 1

22 pages, 14590 KB  
Article
Early Detection of Drought Stress in Durum Wheat Using Hyperspectral Imaging and Photosystem Sensing
by Bishal Roy, Vasit Sagan, Alifu Haireti, Maria Newcomb, Roberto Tuberosa, David LeBauer and Nadia Shakoor
Remote Sens. 2024, 16(1), 155; https://doi.org/10.3390/rs16010155 - 30 Dec 2023
Cited by 11 | Viewed by 4767
Abstract
Wheat, being the third largest U.S. crop and the principal food grain, faces significant risks from climate extremes such as drought. This necessitates identifying and developing methods for early water-stress detection to prevent yield loss and improve water-use efficiency. This study investigates the [...] Read more.
Wheat, being the third largest U.S. crop and the principal food grain, faces significant risks from climate extremes such as drought. This necessitates identifying and developing methods for early water-stress detection to prevent yield loss and improve water-use efficiency. This study investigates the potential of hyperspectral imaging to detect the early stages of drought stress in wheat. The goal is to utilize this technology as a tool for screening and selecting drought-tolerant wheat genotypes in breeding programs. Additionally, this research aims to systematically evaluate the effectiveness of various existing sensors and methods for detecting early stages of water stress. The experiment was conducted in a durum wheat experimental field trial in Maricopa, Arizona, in the spring of 2019 and included well-watered and water-limited treatments of a panel of 224 replicated durum wheat genotypes. Spectral indices derived from hyperspectral imagery were compared against other plant-level indicators of water stress such as Photosystem II (PSII) and relative water content (RWC) data derived from proximal sensors. Our findings showed a 12% drop in photosynthetic activity in the most affected genotypes when compared to the least affected. The Leaf Water Vegetation Index 1 (LWVI1) highlighted differences between drought-resistant and drought-susceptible genotypes. Drought-resistant genotypes retained 43.36% more water in leaves under well-watered conditions compared to water-limited conditions, while drought-susceptible genotypes retained only 15.69% more. The LWVI1 and LWVI2 indices, aligned with the RWC measurements, revealed a strong inverse correlation in the susceptible genotypes, underscoring their heightened sensitivity to water stress in earlier stages. Several genotypes previously classified based on their drought resistance showed spectral indices deviating from expectations. Results from this research can aid farmers in improving crop yields by informing early management practices. Moreover, this research offers wheat breeders insights into the selection of drought-tolerant genotypes, a requirement that is becoming increasingly important as weather patterns continue to change. Full article
Show Figures

Figure 1

28 pages, 9126 KB  
Article
Early Detection of Wheat Yellow Rust Disease and Its Impact on Terminal Yield with Multi-Spectral UAV-Imagery
by Canh Nguyen, Vasit Sagan, Juan Skobalski and Juan Ignacio Severo
Remote Sens. 2023, 15(13), 3301; https://doi.org/10.3390/rs15133301 - 27 Jun 2023
Cited by 39 | Viewed by 7166
Abstract
The food production system is vulnerable to diseases more than ever, and the threat is increasing in an era of climate change that creates more favorable conditions for emerging diseases. Fortunately, scientists and engineers are making great strides to introduce farming innovations to [...] Read more.
The food production system is vulnerable to diseases more than ever, and the threat is increasing in an era of climate change that creates more favorable conditions for emerging diseases. Fortunately, scientists and engineers are making great strides to introduce farming innovations to tackle the challenge. Unmanned aerial vehicle (UAV) remote sensing is among the innovations and thus is widely applied for crop health monitoring and phenotyping. This study demonstrated the versatility of aerial remote sensing in diagnosing yellow rust infection in spring wheats in a timely manner and determining an intervenable period to prevent yield loss. A small UAV equipped with an aerial multispectral sensor periodically flew over, and collected remotely sensed images of, an experimental field in Chacabuco (−34.64; −60.46), Argentina during the 2021 growing season. Post-collection images at the plot level were engaged in a thorough feature-engineering process by handcrafting disease-centric vegetation indices (VIs) from the spectral dimension, and grey-level co-occurrence matrix (GLCM) texture features from the spatial dimension. A machine learning pipeline entailing a support vector machine (SVM), random forest (RF), and multilayer perceptron (MLP) was constructed to identify locations of healthy, mild infection, and severe infection plots in the field. A custom 3-dimensional convolutional neural network (3D-CNN) relying on the feature learning mechanism was an alternative prediction method. The study found red-edge (690–740 nm) and near infrared (NIR) (740–1000 nm) as vital spectral bands for distinguishing healthy and severely infected wheats. The carotenoid reflectance index 2 (CRI2), soil-adjusted vegetation index 2 (SAVI2), and GLCM contrast texture at an optimal distance d = 5 and angular direction θ = 135° were the most correlated features. The 3D-CNN-based wheat disease monitoring performed at 60% detection accuracy as early as 40 days after sowing (DAS), when crops were tillering, increasing to 71% and 77% at the later booting and flowering stages (100–120 DAS), and reaching a peak accuracy of 79% for the spectral-spatio-temporal fused data model. The success of early disease diagnosis from low-cost multispectral UAVs not only shed new light on crop breeding and pathology but also aided crop growers by informing them of a prevention period that could potentially preserve 3–7% of the yield at the confidence level of 95%. Full article
(This article belongs to the Section Biogeosciences Remote Sensing)
Show Figures

Figure 1

27 pages, 5356 KB  
Article
Combining Remote Sensing Approaches for Detecting Marks of Archaeological and Demolished Constructions in Cahokia’s Grand Plaza, Southwestern Illinois
by Israa Kadhim, Fanar M. Abed, Justin M. Vilbig, Vasit Sagan and Caitlin DeSilvey
Remote Sens. 2023, 15(4), 1057; https://doi.org/10.3390/rs15041057 - 15 Feb 2023
Cited by 8 | Viewed by 4355
Abstract
Remote sensing data are increasingly being used in digital archaeology for the potential non-invasive detection of archaeological remains. The purpose of this research is to evaluate the capability of standalone (LiDAR and aerial photogrammetry) and integration/fusion remote sensing approaches in improving the prospecting [...] Read more.
Remote sensing data are increasingly being used in digital archaeology for the potential non-invasive detection of archaeological remains. The purpose of this research is to evaluate the capability of standalone (LiDAR and aerial photogrammetry) and integration/fusion remote sensing approaches in improving the prospecting and interpretation of archaeological remains in Cahokia’s Grand Plaza. Cahokia Mounds is an ancient area; it was the largest settlement of the Mississippian culture located in southwestern Illinois, USA. There are a limited number of studies combining LiDAR and aerial photogrammetry to extract archaeological features. This article, therefore, combines LiDAR with photogrammetric data to create new datasets and investigate whether the new data can enhance the detection of archaeological/ demolished structures in comparison to the standalone approaches. The investigations are implemented based on the hillshade, gradient, and sky view factor visual analysis techniques, which have various merits in revealing topographic features. The outcomes of this research illustrate that combining data derived from different sources can not only confirm the detection of remains but can also reveal more remains than standalone approaches. This study demonstrates that the use of combination remote sensing approaches provides archaeologists with another powerful tool for site analysis. Full article
Show Figures

Figure 1

38 pages, 10981 KB  
Article
UAV Multisensory Data Fusion and Multi-Task Deep Learning for High-Throughput Maize Phenotyping
by Canh Nguyen, Vasit Sagan, Sourav Bhadra and Stephen Moose
Sensors 2023, 23(4), 1827; https://doi.org/10.3390/s23041827 - 6 Feb 2023
Cited by 49 | Viewed by 7682
Abstract
Recent advances in unmanned aerial vehicles (UAV), mini and mobile sensors, and GeoAI (a blend of geospatial and artificial intelligence (AI) research) are the main highlights among agricultural innovations to improve crop productivity and thus secure vulnerable food systems. This study investigated the [...] Read more.
Recent advances in unmanned aerial vehicles (UAV), mini and mobile sensors, and GeoAI (a blend of geospatial and artificial intelligence (AI) research) are the main highlights among agricultural innovations to improve crop productivity and thus secure vulnerable food systems. This study investigated the versatility of UAV-borne multisensory data fusion within a framework of multi-task deep learning for high-throughput phenotyping in maize. UAVs equipped with a set of miniaturized sensors including hyperspectral, thermal, and LiDAR were collected in an experimental corn field in Urbana, IL, USA during the growing season. A full suite of eight phenotypes was in situ measured at the end of the season for ground truth data, specifically, dry stalk biomass, cob biomass, dry grain yield, harvest index, grain nitrogen utilization efficiency (Grain NutE), grain nitrogen content, total plant nitrogen content, and grain density. After being funneled through a series of radiometric calibrations and geo-corrections, the aerial data were analytically processed in three primary approaches. First, an extended version normalized difference spectral index (NDSI) served as a simple arithmetic combination of different data modalities to explore the correlation degree with maize phenotypes. The extended NDSI analysis revealed the NIR spectra (750–1000 nm) alone in a strong relation with all of eight maize traits. Second, a fusion of vegetation indices, structural indices, and thermal index selectively handcrafted from each data modality was fed to classical machine learning regressors, Support Vector Machine (SVM) and Random Forest (RF). The prediction performance varied from phenotype to phenotype, ranging from R2 = 0.34 for grain density up to R2 = 0.85 for both grain nitrogen content and total plant nitrogen content. Further, a fusion of hyperspectral and LiDAR data completely exceeded limitations of single data modality, especially addressing the vegetation saturation effect occurring in optical remote sensing. Third, a multi-task deep convolutional neural network (CNN) was customized to take a raw imagery data fusion of hyperspectral, thermal, and LiDAR for multi-predictions of maize traits at a time. The multi-task deep learning performed predictions comparably, if not better in some traits, with the mono-task deep learning and machine learning regressors. Data augmentation used for the deep learning models boosted the prediction accuracy, which helps to alleviate the intrinsic limitation of a small sample size and unbalanced sample classes in remote sensing research. Theoretical and practical implications to plant breeders and crop growers were also made explicit during discussions in the studies. Full article
(This article belongs to the Special Issue Unmanned Aerial Vehicles in Smart Agriculture)
Show Figures

Figure 1

29 pages, 9885 KB  
Article
Estimating Crop Seed Composition Using Machine Learning from Multisensory UAV Data
by Kamila Dilmurat, Vasit Sagan, Maitiniyazi Maimaitijiang, Stephen Moose and Felix B. Fritschi
Remote Sens. 2022, 14(19), 4786; https://doi.org/10.3390/rs14194786 - 25 Sep 2022
Cited by 21 | Viewed by 5444
Abstract
The pre-harvest estimation of seed composition from standing crops is imperative for field management practices and plant phenotyping. This paper presents for the first time the potential of Unmanned Aerial Vehicles (UAV)-based high-resolution hyperspectral and LiDAR data acquired from in-season stand crops for [...] Read more.
The pre-harvest estimation of seed composition from standing crops is imperative for field management practices and plant phenotyping. This paper presents for the first time the potential of Unmanned Aerial Vehicles (UAV)-based high-resolution hyperspectral and LiDAR data acquired from in-season stand crops for estimating seed protein and oil compositions of soybean and corn using multisensory data fusion and automated machine learning. UAV-based hyperspectral and LiDAR data was collected during the growing season (reproductive stage five (R5)) of 2020 over a soybean test site near Columbia, Missouri and a cornfield at Urbana, Illinois, USA. Canopy spectral and texture features were extracted from hyperspectral imagery, and canopy structure features were derived from LiDAR point clouds. The extracted features were then used as input variables for automated machine-learning methods available with the H2O Automated Machine-Learning framework (H2O-AutoML). The results presented that: (1) UAV hyperspectral imagery can successfully predict both the protein and oil of soybean and corn with moderate accuracies; (2) canopy structure features derived from LiDAR point clouds yielded slightly poorer estimates of crop-seed composition compared to the hyperspectral data; (3) regardless of machine-learning methods, the combination of hyperspectral and LiDAR data outperformed the predictions using a single sensor alone, with an R2 of 0.79 and 0.67 for corn protein and oil and R2 of 0.64 and 0.56 for soybean protein and oil; and (4) the H2O-AutoML framework was found to be an efficient strategy for machine-learning-based data-driven model building. Among the specific regression methods evaluated in this study, the Gradient Boosting Machine (GBM) and Deep Neural Network (NN) exhibited superior performance to other methods. This study reveals opportunities and limitations for multisensory UAV data fusion and automated machine learning in estimating crop-seed composition. Full article
Show Figures

Figure 1

12 pages, 4157 KB  
Article
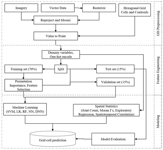
Predicting Terrorism in Europe with Remote Sensing, Spatial Statistics, and Machine Learning
by Caleb Buffa, Vasit Sagan, Gregory Brunner and Zachary Phillips
ISPRS Int. J. Geo-Inf. 2022, 11(4), 211; https://doi.org/10.3390/ijgi11040211 - 22 Mar 2022
Cited by 17 | Viewed by 6439
Abstract
This study predicts the presence or absence of terrorism in Europe on a previously unexplored spatial scale. Dependent variables consist of satellite imagery and socio-environmental data. Five machine learning models were evaluated over the following binary classification problem: the presence or absence of [...] Read more.
This study predicts the presence or absence of terrorism in Europe on a previously unexplored spatial scale. Dependent variables consist of satellite imagery and socio-environmental data. Five machine learning models were evaluated over the following binary classification problem: the presence or absence of historical attacks within hexagonal-grid cells of 25 square kilometers. Four spatial statistics were conducted to assess the validity of the results and improve our inferential understanding of spatial processes among terror attacks. This analysis resulted in a Random Forest model that achieves 0.99 accuracy in predicting the presence or absence of terrorism at a spatial resolution of approximately 5 km. The results were validated by robust F1 and average precision scores of 0.96 and 0.97, respectively. Additionally, statistical analysis revealed spatial differences between separatists and all other terrorist types. This work concludes that remote sensing, machine learning, and spatial techniques are important and valuable methods for providing insight into terrorist activity and behavior. Full article
Show Figures

Figure 1

34 pages, 3542 KB  
Review
Optical and Thermal Remote Sensing for Monitoring Agricultural Drought
by Qiming Qin, Zihua Wu, Tianyuan Zhang, Vasit Sagan, Zhaoxu Zhang, Yao Zhang, Chengye Zhang, Huazhong Ren, Yuanheng Sun, Wei Xu and Cong Zhao
Remote Sens. 2021, 13(24), 5092; https://doi.org/10.3390/rs13245092 - 15 Dec 2021
Cited by 45 | Viewed by 9537
Abstract
By effectively observing the land surface and obtaining farmland conditions, satellite remote sensing has played an essential role in agricultural drought monitoring over past decades. Among all remote sensing techniques, optical and thermal remote sensing have the most extended history of being utilized [...] Read more.
By effectively observing the land surface and obtaining farmland conditions, satellite remote sensing has played an essential role in agricultural drought monitoring over past decades. Among all remote sensing techniques, optical and thermal remote sensing have the most extended history of being utilized in drought monitoring. The primary goal of this paper is to illustrate how optical and thermal remote sensing have been and will be applied in the monitoring, assessment, and prediction of agricultural drought. We group the methods into four categories: optical, thermal, optical and thermal, and multi-source. For each category, a concise explanation is given to show the inherent mechanisms. We pay special attention to solar-induced chlorophyll fluorescence, which has great potential in early drought detection. Finally, we look at the future directions of agricultural drought monitoring, including (1) early detection; (2) spatio-temporal resolution; (3) organic combination of multi-source data; and (4) smart prediction and assessment based on deep learning and cloud computing. Full article
(This article belongs to the Special Issue Drought Monitoring Using Satellite Remote Sensing)
Show Figures

Graphical abstract

29 pages, 9419 KB  
Article
Forest Conservation with Deep Learning: A Deeper Understanding of Human Geography around the Betampona Nature Reserve, Madagascar
by Gizelle Cota, Vasit Sagan, Maitiniyazi Maimaitijiang and Karen Freeman
Remote Sens. 2021, 13(17), 3495; https://doi.org/10.3390/rs13173495 - 3 Sep 2021
Cited by 8 | Viewed by 5136
Abstract
Documenting the impacts of climate change and human activities on tropical rainforests is imperative for protecting tropical biodiversity and for better implementation of REDD+ and UN Sustainable Development Goals. Recent advances in very high-resolution satellite sensor systems (i.e., WorldView-3), computing power, and machine [...] Read more.
Documenting the impacts of climate change and human activities on tropical rainforests is imperative for protecting tropical biodiversity and for better implementation of REDD+ and UN Sustainable Development Goals. Recent advances in very high-resolution satellite sensor systems (i.e., WorldView-3), computing power, and machine learning (ML) have provided improved mapping of fine-scale changes in the tropics. However, approaches so far focused on feature extraction or the extensive tuning of ML parameters, hindering the potential of ML in forest conservation mapping by not using textural information, which is found to be powerful for many applications. Additionally, the contribution of shortwave infrared (SWIR) bands in forest cover mapping is unknown. The objectives were to develop end-to-end mapping of the tropical forest using fully convolution neural networks (FCNNs) with WorldView-3 (WV-3) imagery and to evaluate human impact on the environment using the Betampona Nature Reserve (BNR) in Madagascar as the test site. FCNN (U-Net) using spatial/textural information was implemented and compared with feature-fed pixel-based methods including Support Vector Machine (SVM), Random Forest (RF), and Deep Neural Network (DNN). Results show that the FCNN model outperformed other models with an accuracy of 90.9%, while SVM, RF, and DNN provided accuracies of 88.6%, 84.8%, and 86.6%, respectively. When SWIR bands were excluded from the input data, FCNN provided superior performance over other methods with a 1.87% decrease in accuracy, while the accuracies of other models—SVM, RF, and DNN—decreased by 5.42%, 3.18%, and 8.55%, respectively. Spatial–temporal analysis showed a 0.7% increase in Evergreen Forest within the BNR and a 32% increase in tree cover within residential areas likely due to forest regeneration and conservation efforts. Other effects of conservation efforts are also discussed. Full article
(This article belongs to the Special Issue National REDD+ Monitoring and Reporting)
Show Figures

Graphical abstract

Back to TopTop