Predicting Terrorism in Europe with Remote Sensing, Spatial Statistics, and Machine Learning
Abstract
:1. Introduction
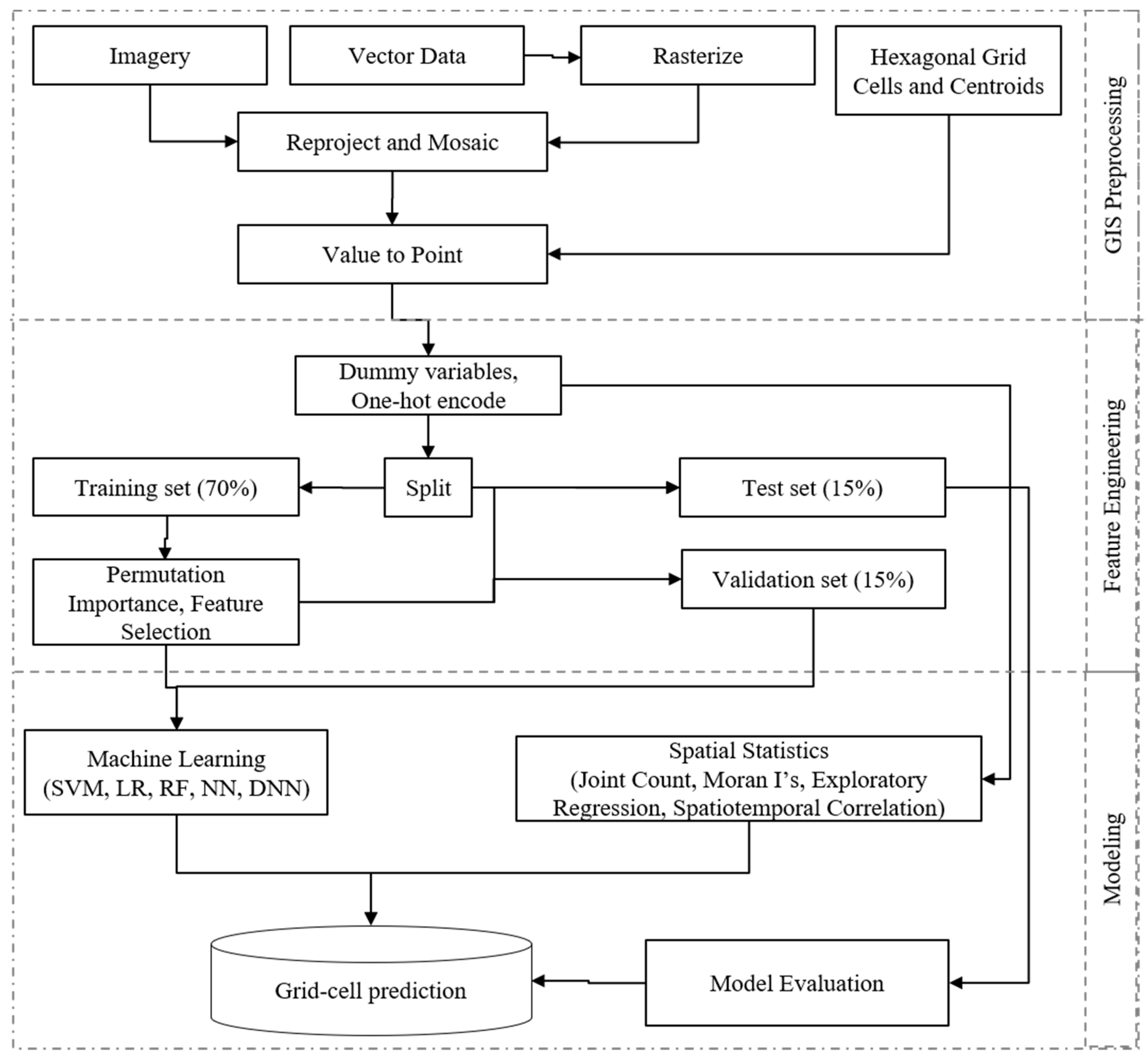
2. Methods
3. Results
4. Discussion
5. Conclusions
Author Contributions
Funding
Data Availability Statement
Conflicts of Interest
References
- Cooper, H.A. Terrorism: The problem of definition revisited. Am. Behav. Sci. 2001, 44, 881–893. [Google Scholar] [CrossRef]
- Sanchez-Cuenca, I.; de la Calle, L. What we talk about when we talk about terrorism. Politics Soc. 2011, 39, 451–472. [Google Scholar] [CrossRef]
- Murphy, J. Defining international terrorism: A way out of the quagmire. In The Progression of International Law; Dinstein, Y., Domb, F., Eds.; Brill Nijhoff: Leiden, The Netherlands, 2011; pp. 465–490. [Google Scholar] [CrossRef]
- Ruby, C.L. The definition of terrorism. Anal. Soc. Issues Public Policy 2002, 2, 9–14. [Google Scholar] [CrossRef]
- Bahgat, K.; Medina, R. An overview of geographical perspectives and approaches in terrorism research. Perspect. Terror. 2013, 7, 38–72. Available online: http://www.jstor.org/stable/26296908 (accessed on 8 November 2020).
- Flint, C. The Geography of War and Peace: From Death Camps to Diplomats; Oxford University Press: Oxford, UK, 2004. [Google Scholar]
- Galgano, F.A. A geographical analysis of un-governed spaces. Pa. Geogr. 2006, 44, 67. [Google Scholar]
- Kittner, C. The role of safe havens in Islamist terrorism. Terror. Political Violence 2007, 19, 307–329. [Google Scholar] [CrossRef]
- Korteweg, R. Black holes: On terrorist sanctuaries and governmental weakness. Civil Wars 2008, 10, 60–71. [Google Scholar] [CrossRef]
- Rock, J. The geographic nature of terrorism. Pa. Geogr. 2013, 44, 133. Available online: http://www.ontology.buffalo.edu/smith/courses01/papers/Rock(Geo).pdf (accessed on 8 November 2020).
- Savitch, H.; Ardashev, G. Does terror have an urban future? Urban Stud. 2001, 38, 2515–2533. [Google Scholar] [CrossRef]
- Hobbs, J. The geographical dimensions of Al-Qaeda rhetoric. Geogr. Rev. 2005, 95, 301–327. [Google Scholar] [CrossRef]
- Nunn, S. Incidents of terrorism in the United States, 1997–2005. Geogr. Rev. 2007, 97, 89–111. [Google Scholar] [CrossRef]
- Mustafa, D. The terrible geographicalness of terrorism: Reflections of a hazards geographer. Antipode 2005, 37, 72–92. [Google Scholar] [CrossRef]
- Braithwaite, A.; Li, Q. Transnational terrorism hot spots: Identification and impact evaluation. Confl. Manag. Peace Sci. 2007, 24, 281–296. [Google Scholar] [CrossRef]
- Kliot, K.; Charney, I. The geography of suicide terrorism in Israel. GeoJournal 2006, 66, 353–373. [Google Scholar] [CrossRef]
- Berrebi, C.; Lakdawalla, D. How does terrorism risk vary across space and time? An analysis based on the Israeli experience. Def. Peace Econ. 2007, 18, 113–133. [Google Scholar] [CrossRef]
- Smith, B.L.; Cothren, J.; Roberts, P.; Damphousse, K.R. Geospatial Analysis of Terrorist Activities: The Identification of Spatial and Temporal Patterns of Preparatory Behavior of International and Environmental Terrorists; Terrorism Research Center in Fulbright College, 2008. Available online: https://www.ncjrs.gov/pdffiles1/nij/grants/222909.pdf (accessed on 8 November 2020).
- Rossmo, K.; Harries, K. The geospatial structure of terrorist cells. Justice Q. 2011, 28, 221–248. [Google Scholar] [CrossRef]
- Singh, S.; Allanach, J.; Tu, H.; Pattipati, K.; Krishna, P.; Willett, P. Stochastic modeling of a terrorist event via the ASAM system. In Proceedings of the 2004 IEEE International Conference on Systems, Man and Cybernetics (IEEE Cat. No.04CH37583), The Hague, The Netherlands, 10–13 October 2004. [Google Scholar] [CrossRef]
- Dixon, S.J.; Dixon, M.B.; Elliot, J.; Guest, E.; Mullier, D.J. A neural network for counter-terrorism. In Research and Development in Intelligent Systems XXVIII; Bramer, M., Petridis, M., Nolle, L., Eds.; Springer: Berlin/Heidelberg, Germany, 2011; pp. 229–234. [Google Scholar]
- Saha, S.; Aladi, H.; Kurian, A.; Basu, A. Future Terrorist Attack Prediction Using Machine Learning Techniques; PESIT South Campus: Bengaluru, India, 2017. [Google Scholar] [CrossRef]
- Mo, H.; Meng, X.; Li, J.; Zhao, S. Terrorist event prediction based on revealing data. In Proceedings of the Institute of Electrical and Electronics Engineers, Beijing, China, 10–12 March 2017. [Google Scholar] [CrossRef]
- Ding, F.; Ge, Q.; Jiang, D.; Fu, J.; Hao, M. Understanding the dynamics of terrorism events with multiple-discipline datasets and machine learning approach. PLoS ONE 2017, 12, e0179057. [Google Scholar] [CrossRef] [Green Version]
- Uddin, M.I.; Zada, N.; Aziz, F.; Saeed, Y.; Zeb, A.; Shah, S.A.A.; Al-Khasawneh, M.A.; Mahmoud, M. Prediction of future terrorist activities using deep neural networks. Complexity 2020, 2020, 1373087. [Google Scholar] [CrossRef] [Green Version]
- LaFree, G. The global terrorism database (GTD): Accomplishments and challenges. Perspect. Terror. 2010, 4, 24–46. Available online: https://www.jstor.org/stable/26298434F (accessed on 8 November 2020).
- Buchhorn, M.; Smets, B.; Bertels, L.; De Roo, B.; Lesiv, M.; Tsendbazar, N.-E.; Herold, M.; Fritz, S. Copernicus Global Land Service: Land Cover 100m: Collection 3: Epoch 2019: Globe; Zenodo: Genève, Switzerland, 2020. [Google Scholar] [CrossRef]
- Li, X.; Zhou, Y.; Zhao, M.; Zhao, X. A harmonized global nighttime light dataset 1992–2018. Sci. Data 2020, 7, 168. [Google Scholar] [CrossRef]
- Raleigh, C.; Linke, A.; Hegre, H.; Karlsen, J. Introducing ACLED: An armed conflict location and event dataset. J. Peace Res. 2010, 47, 651–660. [Google Scholar] [CrossRef]
- Boschee, E.; Lautenschlager, J.; O’Brien, S.; Shellman, S.; Starz, J.; Ward, M. ICEWS Coded Event Data; Harvard Dataverse: Harvard, MA, USA, 2015. [Google Scholar] [CrossRef]
- Altmann, A.; Tolosi, L.; Sander, O.; Lengauer, T. Permutation importance: A corrected feature importance measure. Bioinformatics 2010, 26, 1340–1347. [Google Scholar] [CrossRef] [PubMed]
- Guo, X.; Yin, Y.; Dong, C.; Yang, G.; Zhou, G. On the Class Imbalance Problem. In Proceedings of the 2008 Fourth International Conference on Natural Computation, Jinan, China, 18–20 October 2008; pp. 192–201. [Google Scholar] [CrossRef]
- Pedregosa, F.; Varoquaux, G.; Gramfort, A.; Michel, V.; Thirion, B.; Grisel, O.; Blondel, M.; Prettenhofer, P.; Weiss, R.; Dubourg, V.; et al. Scikit-learn: Machine Learning in Python. J. Mach. Learn. Res. 2011, 12, 2825–2830. [Google Scholar]
- Grandini, M.; Bagli, E.; Visani, G. Metrics for Multi-Class Classification: An Overview. arXiv 2020, arXiv:2008.05756. [Google Scholar]
- Kalantar, B.; Pradhan, B.; Naghibi, S.A.; Motevalli, A.; Mansor, S. Assessment of the effects of training data selection on the landslide susceptibility mapping: A comparison between support vector machine (SVM), logistic regression (LR) and artificial neural networks (ANN). Geomat. Nat. Hazards Risk 2018, 9, 49–69. [Google Scholar] [CrossRef]
- Bui, D.T.; Pradhan, B.; Lofman, O.; Revhaug, I.; Dick, O.B. Application of support vector machines in landslide susceptibility assessment for the Hoa Binh province (Vietnam) with kernel functions analysis. Int. Congr. Environ. Model. Softw. 2012, 226. Available online: http://scholarsarchive.byu.edu/iemssconference/2012/Stream-B/226 (accessed on 8 November 2020).
- Zhang, T. Solving large scale linear prediction problems using stochastic gradient descent algorithms. In Proceedings of the Twenty-First International Conference on Machine Learning, Banff, AB, Canada, 4–8 July 2004. [Google Scholar] [CrossRef]
- Belgiu, M.; Dragut, L. Random forrest in remote sensing: A review of applications and future directions. ISPRS J. Photogramm. Remote Sens. 2016, 114, 24–31. [Google Scholar] [CrossRef]
- Rahayu, S.P.; Embong, A. Overview of random forest: Effective ensemble method in modern data mining. In Proceedings of the National Conference on Software Engineering and Computer Systems 2007 (NaCES 2007); 2007. Available online: http://umpir.ump.edu.my/id/eprint/982/1/NaCSES-2007-133_Overview_of_Random_Forest_Effective_Ensemble.pdf (accessed on 8 November 2020).
- Wang, L. (Ed.) Support Vector Machines: Theory and Applications; Springer: Berlin/Heidelberg, Germany, 2005; Volume 7. [Google Scholar]
- Suthaharan, S. Support vector machine. In Machine Learning Models and Algorithms for Big Data Classification; Springer: Berlin/Heidelberg, Germany, 2016; pp. 207–235. [Google Scholar] [CrossRef]
- Kim, H.C.; Pang, S.; Je, H.M.; Kim, D.; Bang, S.Y. Constructing support vector machine ensemble. Pattern Recognit. 2003, 36, 2757–2767. [Google Scholar] [CrossRef]
- Stevenson, J. The Price of Peace in Northern Ireland: “Say Nothing” Shows How Slow Reconciliation Can Be; Foreign Affairs: Congers, NY, USA, 2019; Available online: https://www.foreignaffairs.com/reviews/review-essay/2019-05-20/price-peace-northern-ireland (accessed on 8 November 2020).
- Balfour, S. A Brief History of Catalan Nationalism: The Roots of the Current Crisis. Foreign Affairs. 2017. Available online: https://www.foreignaffairs.com/articles/spain/2017-10-18/brief-history-catalan-nationalism (accessed on 8 November 2020).
- Kupchan, F.C.A. Independence for Kosovo. Foreign Affairs. 2005. Available online: https://www.foreignaffairs.com/articles/europe/2005-10-01/independence-kosovo (accessed on 8 November 2020).
- Thompson, I. Settlement and conflict in Corsica. Trans. Inst. Br. Geogr. 1978, 3, 259–273. [Google Scholar] [CrossRef]
- Motyl, A.J. War Comes to Ukraine: The Consequences of the Crash in Donetsk. Foreign Affairs. 2014. Available online: https://www.foreignaffairs.com/articles/russian-federation/2014-07-17/war-comes-ukraine (accessed on 8 November 2020).
- Johnson, J.M.; Khoshgoftaar, T.M. Survey on deep learning with class imbalance. J. Big Data 2019, 6, 27. [Google Scholar] [CrossRef]






| Feature | Description | Year | Resolution |
|---|---|---|---|
| Distance to inland water | Kilometers to inland body of water | 2016 | 100 m |
| Distance to major road | Kilometers to OSM roadway | 2016 | 100 m |
| Distance to major waterway | Kilometers to major navigable waterway | 2016 | 100 m |
| Elevation | SRTM meters above sea level | 2000 | 100 m |
| Civil unrest | Armed conflict location and event dataset | 2018 | 10 km |
| Population density | People per pixel | 2018 | 1 km |
| Slope | SRTM degree of topographic slope | 2000 | 100 m |
| Nighttime lights | VIIRS temporally calibrated nighttime lights | 2018 | 100 m |
| Landcover | Copernicus calibrated nighttime lights | 2018 | 100 m |
| Model | Accuracy | AP | F1 |
|---|---|---|---|
| DNN | 0.98 | 0.91 | 0.91 |
| NN | 0.98 | 0.90 | 0.91 |
| Random Forest | 0.99 | 0.97 | 0.96 |
| Log Reg + SGD | 0.96 | 0.90 | 0.88 |
| SVM Ensemble | 0.96 | 0.63 | 0.88 |
Publisher’s Note: MDPI stays neutral with regard to jurisdictional claims in published maps and institutional affiliations. |
© 2022 by the authors. Licensee MDPI, Basel, Switzerland. This article is an open access article distributed under the terms and conditions of the Creative Commons Attribution (CC BY) license (https://creativecommons.org/licenses/by/4.0/).
Share and Cite
Buffa, C.; Sagan, V.; Brunner, G.; Phillips, Z. Predicting Terrorism in Europe with Remote Sensing, Spatial Statistics, and Machine Learning. ISPRS Int. J. Geo-Inf. 2022, 11, 211. https://doi.org/10.3390/ijgi11040211
Buffa C, Sagan V, Brunner G, Phillips Z. Predicting Terrorism in Europe with Remote Sensing, Spatial Statistics, and Machine Learning. ISPRS International Journal of Geo-Information. 2022; 11(4):211. https://doi.org/10.3390/ijgi11040211
Chicago/Turabian StyleBuffa, Caleb, Vasit Sagan, Gregory Brunner, and Zachary Phillips. 2022. "Predicting Terrorism in Europe with Remote Sensing, Spatial Statistics, and Machine Learning" ISPRS International Journal of Geo-Information 11, no. 4: 211. https://doi.org/10.3390/ijgi11040211
APA StyleBuffa, C., Sagan, V., Brunner, G., & Phillips, Z. (2022). Predicting Terrorism in Europe with Remote Sensing, Spatial Statistics, and Machine Learning. ISPRS International Journal of Geo-Information, 11(4), 211. https://doi.org/10.3390/ijgi11040211

