TLBO Tuned a Novel Robust Fuzzy Control Structure for LFC of a Hybrid Power System with Photovoltaic Source †
Abstract
:1. Introduction
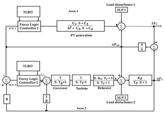
2. Power System under Study
3. The Proposed LFC System
3.1. I Controller Plus Cascade Fuzzy FOPI-FOPD
3.2. The Optimisation Tool-TLBO and the Objective Function
4. Results and Discussion
5. Conclusions
Author Contributions
Funding
Institutional Review Board Statement
Informed Consent Statement
Conflicts of Interest
References
- Tungadio, D.H.; Sun, Y. Load frequency controllers considering renewable energy integration in power system. Energy Rep. 2019, 5, 436–453. [Google Scholar] [CrossRef]
- Shouran, M.; Anayi, F.; Packianather, M. A State-of-the-Art Review on LFC Strategies in Conventional and Modern Power Systems. In Proceedings of the 2021 International Conference on Advance Computing and Innovative Technologies in Engineering (ICACITE), Greater Noida, India, 4–5 March 2021; pp. 268–277. [Google Scholar] [CrossRef]
- Abd-Elazim, S.M.; Ali, E.S. Load frequency controller design of a two-area system composing of PV grid and thermal generator via firefly algorithm. Neural Comput. Appl. 2018, 30, 607–616. [Google Scholar] [CrossRef]
- Yousri, D.; Babu, T.S.; Fathy, A. Recent methodology based Harris Hawks optimizer for designing load frequency control incorporated in multi-interconnected renewable energy plants. Sustain. Energy Grids Netw. 2020, 22, 100352. [Google Scholar] [CrossRef]
- Fathy, A.; Alharbi, A.G. Recent Approach Based Movable Damped Wave Algorithm for Designing Fractional-Order PID Load Frequency Control Installed in Multi-Interconnected Plants With Renewable Energy. IEEE Access 2021, 9, 71072–71089. [Google Scholar] [CrossRef]
- Fathy, A.; Yousri, D.; Rezk, H.; Thanikanti, S.B.; Hasanien, H.M. A Robust Fractional-Order PID Controller Based Load Frequency Control Using Modified Hunger Games Search Optimizer. Energies 2022, 15, 361. [Google Scholar] [CrossRef]
- Mokhtar, M.; Marei, M.I.; Sameh, M.A.; Attia, M.A. An Adaptive Load Frequency Control for Power Systems with Renewable Energy Sources. Energies 2022, 15, 573. [Google Scholar] [CrossRef]
- Xu, Y.; Ma, Y.; Han, Y.; Hu, T.; Lun, X.; Mi, Y. Load Frequency Control for Renewable Energy Power System Based on Sliding Mode control with Hybrid Energy Storage. In Proceedings of the 2020 Chinese Control And Decision Conference (CCDC), Hefei, China, 22–24 August 2020; pp. 1340–1345. [Google Scholar] [CrossRef]
- Mi, Y.; Fu, Y.; Li, D.; Wang, C.; Loh, P.C.; Wang, P. The sliding mode load frequency control for hybrid power system based on disturbance observer. Int. J. Electr. Power Energy Syst. 2016, 74, 446–452. [Google Scholar] [CrossRef]
- Pandey, S.K.; Mohanty, S.R.; Kishor, N.; Catalão, J.P.S. Frequency regulation in hybrid power systems using particle swarm optimization and linear matrix inequalities based robust controller design. Int. J. Electr. Power Energy Syst. 2014, 63, 887–900. [Google Scholar] [CrossRef]
- Loka, R.; Parimi, A.M.; Srinivas, S. Model Predictive Control Design for Fast Frequency Regulation in Hybrid Power System. In Proceedings of the 2022 2nd International Conference on Power Electronics & IoT Applications in Renewable Energy and its Control (PARC), Mathura, India, 21–22 January 2022; pp. 1–5. [Google Scholar] [CrossRef]
- Shouran, M.; Anayi, F.; Packianather, M.; Habil, M. Load Frequency Control Based on the Bees Algorithm for the Great Britain Power System. Designs 2021, 5, 50. [Google Scholar] [CrossRef]
- Shouran, M.; Anayi, F.; Packianather, M.; Habil, M. Different Fuzzy Control Configurations Tuned by the Bees Algorithm for LFC of Two-Area Power System. Energies 2022, 15, 657. [Google Scholar] [CrossRef]
- Shouran, M.; Alsseid, A. Particle Swarm Optimization Algorithm-Tuned Fuzzy Cascade Fractional Order PI-Fractional Order PD for Frequency Regulation of Dual-Area Power System. Processes 2022, 10, 477. [Google Scholar] [CrossRef]
- Shafei, M.A.R.; Ibrahim, D.K.; Bahaa, M. Application of PSO tuned fuzzy logic controller for LFC of two-area power system with redox flow battery and PV solar park. Ain Shams Eng. J. 2022, 13, 101710. [Google Scholar] [CrossRef]
- Annamraju, A.; Nandiraju, S. Robust frequency control in a renewable penetrated power system: An adaptive fractional order-fuzzy approach. Prot. Control Mod. Power Syst. 2019, 4, 16. [Google Scholar] [CrossRef] [Green Version]
- Zou, F.; Chen, D.; Xu, Q. A survey of teaching—Learning-based optimization. Neurocomputing 2019, 335, 366–383. [Google Scholar] [CrossRef]






| ACE 1 | ACE 1 | ||||
|---|---|---|---|---|---|
| NB | NS | Z | PS | PB | |
| NB | NB | NB | NB | NS | Z |
| NS | NB | NB | NS | Z | PS |
| Z | NB | NS | Z | PS | PB |
| PS | NS | Z | PS | PB | PB |
| PB | Z | PS | PB | PB | PB |
| Controller | Parameters | ||||||||
|---|---|---|---|---|---|---|---|---|---|
| Area one controller | |||||||||
| 0.284 | 0.7304 | −1.9193 | 0.5200 | 0.4816 | 0.6971 | −1.6179 | 0.7885 | 0.1499 | |
| Area two controller | |||||||||
| −1.28 | −0.1798 | −2 | −2 | 0.0409 | 0.1631 | −1.6188 | 0.0142 | 0.2625 | |
| Controller | Frequency in Area One | Frequency in Area Two | Tie-line Power Deviation | ITAE | ||||||
|---|---|---|---|---|---|---|---|---|---|---|
| I + F C FOPI-FOPD | −0.0835 | 0 | 5.697 | −0.0751 | 0 | 5.9810 | −0.0015 | 0.0052 | 3.3810 | 0.267 |
| PI—FA | −0.281 | 0.106 | 12.283 | −0.210 | 0.0908 | 13.1132 | −0.0382 | 0.0427 | 9.9657 | 4.192 |
Publisher’s Note: MDPI stays neutral with regard to jurisdictional claims in published maps and institutional affiliations. |
© 2022 by the authors. Licensee MDPI, Basel, Switzerland. This article is an open access article distributed under the terms and conditions of the Creative Commons Attribution (CC BY) license (https://creativecommons.org/licenses/by/4.0/).
Share and Cite
Shouran, M.; Anayi, F. TLBO Tuned a Novel Robust Fuzzy Control Structure for LFC of a Hybrid Power System with Photovoltaic Source. Eng. Proc. 2022, 19, 1. https://doi.org/10.3390/ECP2022-12684
Shouran M, Anayi F. TLBO Tuned a Novel Robust Fuzzy Control Structure for LFC of a Hybrid Power System with Photovoltaic Source. Engineering Proceedings. 2022; 19(1):1. https://doi.org/10.3390/ECP2022-12684
Chicago/Turabian StyleShouran, Mokhtar, and Fatih Anayi. 2022. "TLBO Tuned a Novel Robust Fuzzy Control Structure for LFC of a Hybrid Power System with Photovoltaic Source" Engineering Proceedings 19, no. 1: 1. https://doi.org/10.3390/ECP2022-12684
APA StyleShouran, M., & Anayi, F. (2022). TLBO Tuned a Novel Robust Fuzzy Control Structure for LFC of a Hybrid Power System with Photovoltaic Source. Engineering Proceedings, 19(1), 1. https://doi.org/10.3390/ECP2022-12684

