Improved Use of the Full Length of Milling-Tool Flutes in Processes of Air-Contour Milling
Abstract
1. Introduction
2. Research Method
2.1. Geometry
2.2. New Feed Rate
2.3. Correction of the Feed per Tooth According to Concavity
2.4. Displacement of the Milling Tool Along the Z Axis
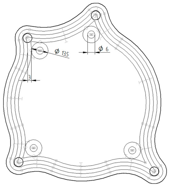
3. Practical Implementation
3.1. Simulation
3.2. Materials
3.3. Practical Test
4. Results and Discussion
4.1. Results
4.2. Discussion
5. Conclusions
- -
- The longer life of the milling tool edges, increasing the number of parts to be milled before they get worn;
- -
- Uniform wear of the milling tool edges along their entire length, instead of local wear areas. This allows one to distribute the wear of the edges;
- -
- The possibility of working with general-purpose milling tools, instead of using more expensive specialised ones;
- -
- Increasing the sustainability of the milling processes, thanks to the optimisation of the milling tool’s life, as the entire cutting edge is used, instead of having to discard it due to wear concentration in one area.
- -
- Trying to apply this method to parts with a bottom, in processes such as pocket milling, which would imply the use of front teeth;
- -
- Analysing the use of milling tools without front teeth, for processes of air-contour milling, which would reduce their manufacturing costs.
Author Contributions
Funding
Data Availability Statement
Acknowledgments
Conflicts of Interest
References
- Guo, L.; Yang, W.; Sun, J. A Continuous Oscillating Milling Strategy Based on Uniform Wear Theory for Improving the Service Life of the Ball-End Cutter. Tribol. Int. 2024, 192, 109318. [Google Scholar] [CrossRef]
- Guo, L.; Liao, X.; Yang, W.; Sun, J. An Oscillating Milling Strategy Based on the Uniform Wear Theory for Improving Service Life of the Ball-End Cutter. J. Mater. Process. Technol. 2023, 317, 117993. [Google Scholar] [CrossRef]
- Luo, M.; Luo, H.; Zhang, D.; Tang, K. Improving Tool Life in Multi-Axis Milling of Ni-Based Superalloy with Ball-End Cutter Based on the Active Cutting Edge Shift Strategy. J. Mater. Process. Technol. 2018, 252, 105–115. [Google Scholar] [CrossRef]
- Villarrazo, N.; Sáinz De La Maza, Á.; Caneda, S.; Bai, L.; Pereira, O.; López De Lacalle, L.N. Effect of Tool Orientation on Surface Roughness and Dimensional Accuracy in Ball End Milling of Thin-Walled Blades. Int. J. Adv. Manuf. Technol. 2025, 136, 383–395. [Google Scholar] [CrossRef]
- Käsemodel, R.B.; de Souza, A.F.; Voigt, R.; Basso, I.; Rodrigues, A.R. CAD/CAM Interfaced Algorithm Reduces Cutting Force, Roughness, and Machining Time in Free-Form Milling. Int. J. Adv. Manuf. Technol. 2020, 107, 1883–1900. [Google Scholar] [CrossRef]
- Vavruska, P.; Bartos, F.; Stejskal, M.; Pesice, M.; Zeman, P.; Heinrich, P. Increasing Tool Life and Machining Performance by Dynamic Spindle Speed Control along Toolpaths for Milling Complex Shape Parts. J. Manuf. Process. 2023, 99, 283–297. [Google Scholar] [CrossRef]
- Zhang, X.F.; Xie, J.; Xie, H.F.; Li, L.H. Experimental Investigation on Various Tool Path Strategies Influencing Surface Quality and Form Accuracy of CNC Milled Complex Freeform Surface. Int. J. Adv. Manuf. Technol. 2012, 59, 647–654. [Google Scholar] [CrossRef]
- Garde Barace, J.-J.; Huertas-Talón, J.-L.; Valdivia Calvo, F.; Bueno-Pérez, J.-A.; Cano-Álvarez, B.; Alcázar-Sánchez, M.-Á.; Ponz-Cuenca, R.; Tzotzis, A. Velocidad de Corte Constante En Fresado. IMHE 2021, 476, 100–115. [Google Scholar]
- Conradie, P.; Oosthuizen, T.; Dimitrov, D.; Saxer, M. Effect of Milling Strategy and tool geometry on machining cost when cutting titanium alloys. S. Afr. J. Ind. Eng. 2015, 26, 137–151. [Google Scholar] [CrossRef]
- García-Hernández, C.; Garde-Barace, J.-J.; Valdivia-Sánchez, J.-J.; Ubieto-Artur, P.; Bueno-Pérez, J.-A.; Cano-Álvarez, B.; Alcázar-Sánchez, M.-Á.; Valdivia-Calvo, F.; Ponz-Cuenca, R.; Huertas-Talón, J.-L.; et al. Trochoidal Milling Path with Variable Feed. Application to the Machining of a Ti-6Al-4V Part. Mathematics 2021, 9, 2701. [Google Scholar] [CrossRef]
- Jacso, A.; Szalay, T.; Sikarwar, B.S.; Phanden, R.K.; Singh, R.K.; Ramkumar, J. Investigation of Conventional and ANN-Based Feed Rate Scheduling Methods in Trochoidal Milling with Cutting Force and Acceleration Constraints. Int. J. Adv. Manuf. Technol. 2023, 127, 487–506. [Google Scholar] [CrossRef]
- Minquiz, G.M.; Meraz-Melo, M.A.; Flores Méndez, J.; González-Sierra, N.E.; Munoz-Hernandez, G.A.; Piñón Reyes, A.C.; Moreno Moreno, M. Sustainable Assessment of a Milling Manufacturing Process Based on Economic Tool Life and Energy Modeling. J. Braz. Soc. Mech. Sci. Eng. 2023, 45, 365. [Google Scholar] [CrossRef]
- Singh, K.; Sultan, I.A. A Computer-Aided Sustainable Modelling and Optimization Analysis of CNC Milling and Turning Processes. J. Manuf. Mater. Process. 2018, 2, 65. [Google Scholar] [CrossRef]
- Bhat, P.; Agrawal, C.; Khanna, N. Development of a Sustainability Assessment Algorithm and Its Validation Using Case Studies on Cryogenic Machining. J. Manuf. Mater. Process. 2020, 4, 42. [Google Scholar] [CrossRef]
- Mehmood, T.; Khalil, M.S. Enhancement of Machining Performance of Ti-6Al-4V Alloy Though Nanoparticle-Based Minimum Quantity Lubrication: Insights into Surface Roughness, Material Removal Rate, Temperature, and Tool Wear. J. Manuf. Mater. Process. 2024, 8, 293. [Google Scholar] [CrossRef]
- García-Hernández, C.; Martínez-Angulo, A.; Efkolidis, N.; Ubieto-Artur, P.; Huertas-Talón, J.L.; Kyratsis, P. Applying High Speed Video to Optimize the Performance of Milling Tools. In Proceedings of the Advances on Mechanics, Design Engineering and Manufacturing II; Cavas-Martínez, F., Eynard, B., Fernández Cañavate, F.J., Fernández-Pacheco, D.G., Morer, P., Nigrelli, V., Eds.; Springer: New York, NY, USA, 2019; pp. 422–429. [Google Scholar]
- Tima, T.S.; Geier, N. Machining-Induced Burr Suppression in Edge Trimming of Carbon Fibre-Reinforced Polymer (CFRP) Composites by Tool Tilting. J. Manuf. Mater. Process. 2024, 8, 247. [Google Scholar] [CrossRef]
- Krajnik, P.; Kopač, J. Modern Machining of Die and Mold Tools. J. Mater. Process. Technol. 2004, 157–158, 543–552. [Google Scholar] [CrossRef]
- Vavruska, P.; Pesice, M.; Zeman, P.; Kozlok, T. Automated Feed Rate Optimization with Consideration of Angular Velocity According to Workpiece Shape. Results Eng. 2022, 16, 100762. [Google Scholar] [CrossRef]
- Vavruska, P.; Bartos, F.; Pesice, M. Effective Feed Rate Control to Maintain Constant Feed per Tooth along Toolpaths for Milling Complex–Shaped Parts. Int. J. Adv. Manuf. Technol. 2023, 128, 3215–3232. [Google Scholar] [CrossRef]
- Marena, S.L. Website. Available online: https://marena.es/ (accessed on 26 February 2025).
- Puerta-Morales, F.J.; Gomez, J.S.; Fernandez-Vidal, S.R. Study of the Influence of Helical Milling Parameters on the Quality of Holes in the UNS R56400 Alloy. Appl. Sci. 2020, 10, 845. [Google Scholar] [CrossRef]
- Inácio, R.H.; Da Silva, R.H.L.; Pereira, I.C.; Hassui, A. Suppressing Notch Wear by Changing the Tool Path in the Side Milling of a Ti-6Al-4 V Alloy. Int. J. Adv. Manuf. Technol. 2023, 125, 453–463. [Google Scholar] [CrossRef]
- Denkena, B.; Biermann, D. Cutting Edge Geometries. CIRP Ann. 2014, 63, 631–653. [Google Scholar] [CrossRef]
- Uhlmann, E.; Oberschmidt, D.; Löwenstein, A.; Kuche, Y. Influence of Cutting Edge Preparation on the Performance of Micro Milling Tools. Procedia CIRP 2016, 46, 214–217. [Google Scholar] [CrossRef]
- Vavruska, P.; Maly, J.; Novotny, A. Increasing Tool Life through Adjustment of Cutting Edge and Toolpath during Milling of Inconel 718. MM SJ 2022, 2022, 6283–6288. [Google Scholar] [CrossRef]
- Gross, D.; Friedl, F.; Meier, T.; Hanenkamp, N. Comparison of Linear and Trochoidal Milling for Wear and Vibration Reduced Machining. Procedia CIRP 2020, 90, 563–567. [Google Scholar] [CrossRef]
- Yan, G.; Zhang, D.; Xu, J.; Sun, Y. Corner Smoothing for CNC Machining of Linear Tool Path: A Review. J. Adv. Manuf. Sci. Technol. 2023, 3, 2023001. [Google Scholar] [CrossRef]
- Fagor Automation CNCelite 8058/8060/8065/8070 Programming Manual. Available online: https://www.fagorautomation.com/en/downloads (accessed on 1 April 2025).
- Fagor Free Simulator. Fagor Automation. Available online: https://www.fagorautomation.com/es/documentacion#/descarga/8060-65-70-free-simulator/896496 (accessed on 1 April 2025).
- Lee, Y.J.; Yoon, H.-S. Modeling of Cutting Tool Life with Power Consumption Using Taylor’s Equation. J. Mech. Sci. Technol. 2023, 37, 3077–3085. [Google Scholar] [CrossRef]
- Plodzien, M.; Burek, J.; Zylka, L.; Sulkowicz, P. The Influence of End Mill Helix Angle on High Performance Milling Process. J. Mech. Sci. Technol. 2020, 34, 817–827. [Google Scholar] [CrossRef]
- LopezdeLacalle, L.N.L.; Lamikiz, A.; Sanchez, J.A.; FernandezdeBustos, I.F. Simultaneous Measurement of Forces and Machine Tool Position for Diagnostic of Machining Tests. IEEE Trans. Instrum. Meas. 2005, 54, 2329–2335. [Google Scholar] [CrossRef]






















| Diameter of the milling tool | 6 mm |
| Number of teeth | 4 teeth |
| Used cutting length | 12 mm |
| ae first run | 6 mm |
| ae following runs | 3 mm |
| az | 0.021 mm/tooth |
| vc | 60 m/min |
| Total milled length | 2321 mm |
Disclaimer/Publisher’s Note: The statements, opinions and data contained in all publications are solely those of the individual author(s) and contributor(s) and not of MDPI and/or the editor(s). MDPI and/or the editor(s) disclaim responsibility for any injury to people or property resulting from any ideas, methods, instructions or products referred to in the content. |
© 2025 by the authors. Licensee MDPI, Basel, Switzerland. This article is an open access article distributed under the terms and conditions of the Creative Commons Attribution (CC BY) license (https://creativecommons.org/licenses/by/4.0/).
Share and Cite
García-Hernández, C.; Valdivia-Sánchez, J.-J.; Ubieto-Artur, P.; García-Arbués, M.; Tzotzis, A.; Garde-Barace, J.-J.; Valdivia-Calvo, F.; Huertas-Talón, J.-L. Improved Use of the Full Length of Milling-Tool Flutes in Processes of Air-Contour Milling. J. Manuf. Mater. Process. 2025, 9, 150. https://doi.org/10.3390/jmmp9050150
García-Hernández C, Valdivia-Sánchez J-J, Ubieto-Artur P, García-Arbués M, Tzotzis A, Garde-Barace J-J, Valdivia-Calvo F, Huertas-Talón J-L. Improved Use of the Full Length of Milling-Tool Flutes in Processes of Air-Contour Milling. Journal of Manufacturing and Materials Processing. 2025; 9(5):150. https://doi.org/10.3390/jmmp9050150
Chicago/Turabian StyleGarcía-Hernández, César, Juan-Jesús Valdivia-Sánchez, Pedro Ubieto-Artur, Mariano García-Arbués, Anastasios Tzotzis, Juan-José Garde-Barace, Francisco Valdivia-Calvo, and José-Luis Huertas-Talón. 2025. "Improved Use of the Full Length of Milling-Tool Flutes in Processes of Air-Contour Milling" Journal of Manufacturing and Materials Processing 9, no. 5: 150. https://doi.org/10.3390/jmmp9050150
APA StyleGarcía-Hernández, C., Valdivia-Sánchez, J.-J., Ubieto-Artur, P., García-Arbués, M., Tzotzis, A., Garde-Barace, J.-J., Valdivia-Calvo, F., & Huertas-Talón, J.-L. (2025). Improved Use of the Full Length of Milling-Tool Flutes in Processes of Air-Contour Milling. Journal of Manufacturing and Materials Processing, 9(5), 150. https://doi.org/10.3390/jmmp9050150

