Abstract
This study examines the effect of monetary inflation for a two-warehouse single-product inventory system, in which items are stored in a limited capacity Own Warehouse (OW) and an unlimited capacity Rental Warehouse (RW). Demand for an item is considered stock dependent. Items may deteriorate at a different constant rate in both warehouses. Shortages are allowed in the stock-out period and are partially backlogged and satisfied in the next replenishment point. The supplier permits flexible payment options for the retailer to pay the amount in three equal payments at different time points. The retailers’ preferred payment option is as follows: the first payment is prior to the replenishment point with some discount; the second payment is one-third of the total purchasing cost, which is paid at the time of the replenishment epoch; and the third payment is after the replenishment point and before the start of the next cycle, with some penalty. The influence of inflation on the cost calculation is considered, and an analytic expression for optimal minimal cost is explicitly derived from this. We performed arrived sensitivity analysis to discern the effects of the inflation and backlogging rates, as well as the effects of the discount rate on purchasing cost, and the effects of penalties upon the late payment of purchasing costs in optimizing the total cost.
Keywords:
two-warehouse inventory; stock-dependent demand; inflation; payment options; partial backlogging MSC:
90B05
1. Introduction
In the study of a single product, the deterministic inventory implementation of real-time practices on two-warehouse inventory models is popular. The retailers are given feasible settlement options by the supplier, and such a contract helps to prolong the strong relationship between the retailer and the supplier in economic marketing. Most of the time, demand for the items depends on the stock on hand, price of the items, seasonal climatic conditions, and/or reach of advertisements about the item. Item deterioration is one of the most challenging factors that is unavoidable in inventory maintenance. We may postpone deterioration to some extent by facilitating warehouse conditions. As a result, instantaneous deterioration is avoided. A non-instantaneous deteriorated single-product inventory model with limited storage place is considered in ref. [1], analyzing the effect of changing the price of the inventory in between the replenishment cycle, taking into account total profit and derived pricing policies. Recently, two-warehouse inventory was studied in ref. [2], which considered stock-dependent demand on fresh items in the OW and derived the future cash flow of the firm. The derived profit functions are based on the resupply policies, which are validated numerically. Article [3] also discussed stock-dependent demand and derived the profit function. Unavoidable item deterioration phenomena are more challenging during lockdown periods, such as during the COVID-19 pandemic. The impact of demand volatility on derived inventory policies for two-warehouse deteriorated-items inventory was discussed in ref. [4], which solved the nonlinear cost function. A two-warehouse model of perishable items with Weibull-type linear time-dependent demands evolving in two different scenarios were studied in ref. [5] to minimize the system’s total cost. To sustain itself in the competitive economic market, it is essential that the supplier grants different types of payment options to the retailer to continue long-term business. The financial view on long payment delays is validated by using existing US firm data, which showed consistent results in ref. [6]. Many of the suppliers permit late and advanced payment options with different slotted options to attract customers. The EOQ model of decaying items along with an advance full-payment schedule is studied by ref. [7] in three different cases, namely full backlogging of demands, partial backlogging of demands, and no such shortages. Model performance is analyzed along with some managerial insights. The payment concept is detailed and discussed in articles [8,9]. Article [10] gives due importance to the inventory policy of the customers along with two cases: one on full pre-payment and another on partial pre-payment along with partial delay payment options by including shortages in both cases. The influence of the length of the advance and delayed payment on the inventory cycle is established with numerical illustrations. Articles [11,12,13] are fully based on deteriorating items. An inventory control model analyzing the price- and time-dependent demand of deteriorating items to maximize the total replenishment cycle profit is carried out in ref. [14] by allowing and not allowing shortages in the full pre-payment option environment. Recommendations and suggestions are given to the retailer to offer discounts upon pre-payment options. Advance cash credit (ACC) is a common strategy in the literature on economic marketing and finance. This option is usually given by the supplier to the retailer. In ref. [15], the seller offers the ACC scheme to his downtrend, which optimizes the total profit. For further work on advanced payment options and product reworking, we may refer to Refs. [16,17]. Refer to ref. [18] for the study of two-warehouse inventory models with items that have non-instantaneous deterioration in the rental warehouse and deterioration that starts immediately in their own warehouse. Selling-price-dependent demand is considered with an advance payment option. The optimal algorithm has arrived in three different cases of starting-time deterioration. The impact of monetary inflation in the study of inventory management is an inevitable challenge faced by both suppliers and retailers because it makes a ripple effect on all types of prices for suppliers and retailers by lowering their revenue. A two-warehouse inventory model of deteriorated items with partial backlogging is studied by ref. [19], which imposed the permissible delay payment option on the inflation environment and derived the maximum net present value of the retailer’s profit. The backlogging option is considered in an inventory model with trapezoidal demand and deterioration-preventing technology used in ref. [20]. The effect of the time value of money and inflation are given due importance in ref. [21], which analyzes the two-warehouse storage inventories of non-instantaneous-deteriorated items with permissible partial backlogging of shortages. It created the algorithm for minimizing the present value of the cycle’s total cost. Furthermore, we may refer to articles [22,23,24] for the effect of money inflation on arriving at either optimal total cost or profit. In our review of past literature on the two-warehouse single-product inventory model, due importance is not given to the real-time situation of three-slot partial payment policies or the effect of money inflation offered by the supplier, which is a discount in the prior payment and a penalty in the posterior payment, apart from the partial amount paid at the epoch of the replenishment point. In any commercial economic marketing, customer satisfaction and retention are essential parameters to sustain long-term business, even in a heavily competitive economic market. As for the concern of inventory maintenance and management by a retailer, the length of the stock-out period has to be given due importance since the length of the stock-out period should not exceed the tolerance level of waiting customers. In the study of inventory modeling, a focus on optimizing the length of the stock-out period is essential in maintaining and earning the goodwill of the customers. To fill the gap, we proposed this article to find the optimal cost with the above-said considerations.
The article is arranged as follows: In Section 2, notations of the model and necessary assumptions are given. Model descriptions and analytic solutions, along with the diagram for the dynamic inventory, are also provided in Section 2. Section 3 is devoted to numerical examples with suitable environment parameters and sensitivity analysis. In Section 4, we conclude the article with a scope for extension.
2. Model Description
2.1. Assumptions
The following assumptions are considered for the model:
- The OW has limited capacity, whereas the capacity of RW is unlimited;
- Items stored in RW are sold first due to higher holding costs;
- Zero lead is considered upon reordering;
- The planning horizon and replenishment rate are infinite;
- We consider linear stock-dependent demand D(t);
- Demands in the stock-out period are partially backlogged;
- Supplier permits the retailer three-slot payment options on paying purchasing costs;
- Retailers may pay one-third of the purchasing cost with a discount at the time epoch P1 prior to the replenishment point;
- The second part of the purchasing cost is settled at time epoch P2 of the replenishment point;
- The third part of the purchasing cost is paid with a penalty at time epoch P3 which is posterior to the replenishment point;
- The effect of inflation is considered, and also time-dependent value of money is taken into account;
- Deterioration starts immediately after purchasing the items but the rate of deterioration is different in both warehouses due to their existing facilities.
2.2. Model Specifications
We consider a single product for purchasing, storing, and selling. There are items initially ordered, which includes the number of items that have been partially backlogged in the previous cycle. After satisfying the partial backlogged demand of items we have items on hand. items are stored in the , and the remaining items are stored in the.
We always recommend selling items from the due to the high holding cost and other rental charges. The inventory level drops down and reaches zero at time epoch in the RW due to the combined effect of inventory-dependent demand and items deterioration at a rate of. Meanwhile, the items in the OW are decreased only by the deterioration effect since items in the will only be sold after the number of items in the become zero. In the interval , the inventory level drops to zero at time epoch in the due to the effects of stock-dependent demand and items deterioration at a rate of . After time epoch , order demands up to the next replenishment time epoch at a rate of are partially backlogged and are satisfied at a rate of at the next replenish epoch. The diagram representing the model is in Figure 1.
Figure 1.
Diagrammatic representation of the model.
The effect of monetary inflation is included as the discount rate of monetary inflation. The supplier permits the retailer to pay the amount in three equal payments at different time points. We consider the preference of the retailers’ payment option as follows: the first one-third of the payment is prior to the replenishment point with some discount, the second one-third of the amount is paid at the time of the replenishment epoch, and the third one-third of the payment is after the replenishment point and before the start of the next cycle with some penalty. Corresponding governing differential equations to represent the dynamism of this model are derived below and solved. The diagram representing the model is in Figure 1.
The inventory level at any point in the entire replenishment cycle is derived by the following differential equations: In the RW, the inventory is depleted by the combined effect of demand and deterioration in the interval The inventory level at any time point t in is derived from the differential equation
Integrating Equation (1), we obtain
Using the boundary condition, we obtain
In the interval , the inventory decreases only due to deterioration. The differential equation for inventory level at t is represented by
The solution of the above Equation (4) is
By using the boundary condition , we obtain
After emptying the RW, the arriving demands are satisfied by items from the OW. Both demand and deterioration occur in the interval. The differential equation for the above interval is
Solving the above Equation (7), we obtain
Using the boundary condition, we obtain
Furthermore, the time interval is stock-out period. The inventory level at any time t in this interval is represented by the below differential equation
Solving the differential Equation (10) by using the boundary condition, we obtain the solution
Initially, the has items, and the has and items occur in the stock-out period. Therefore, from Equation (3)
Additionally, from Equation (11), we obtain the total partially backlogged items
Therefore, the total number of items that have been ordered is
where represents partially backlogged items.
Moreover, the present model has been developed under inflationary conditions. Hence, one simple way of modelling is to assume R, which is the constant rate of inflation. Therefore, the various costs as the ordering, inventory holding, deteriorating, shortage, and lost sales costs at any time t are evaluated as follows:
Traditionally, the purchasing cost per cycle is
The payment of purchasing cost in the three time slots as a total is
The inventory holding cost in the RW is
The inventory holding cost in the OW is
The deterioration cost in the RW and , respectively, are as follows
The shortage cost per cycle is
The lost sales cost per cycle is
Therefore, the total cost, which has to be optimized per unit of time from Equation (18) to Equation (29) is
Let,
We obtain,
As we mentioned above, our primary objective is to identify the critical point that decides the length of the stock-out period to attain the total minimum cost of the entire replenishment cycle in addition to the optimum ordering quantity. To obtain the optimal values of and ( and, we differentiate Equation (34) with respect and:
Solving the necessary conditions for optimality, namely Equations (37) and (38), results in critical points that have to be further examined.
The critical point that satisfies the sufficient condition:
For optimality along with the property,
is identified to achieve our objective of minimizing the total replenishment cycle cost. MATLAB coding is used to achieve the task. The optimal total cost is denoted by and the optimum ordering quantity is denoted by.
3. Numerical Illustration and Sensitivity Analysis
3.1. Numerical Illustration
For illustration purposes, we consider the economic environment of the retailer with the following parameter values: , , , , tems, , , , , , , , , = 0.87, =120, , , , , and for the appropriate units. We have arrived at the length of the stock-out period as 1.7, which results in the optimal total cost as 34,193.62 for the optimal ordering quantity of 3836 items. The diagrammatic representation of the cost function for this above environment is represented in Figure 2.
Figure 2.
Diagrammatic representation of the cost function.
3.2. Sensitivity Analysis
We studied the optimal measures in the above said environment by varying the rate of inflation, rate of backlogging, discount rate of inflation, and penalty rate. Sensitivity analysis was performed extensively to support analytical derivation and our discussion of the proposed model.
3.2.1. Environment with Varying Rate of Inflation
By varying the inflation rate R from 0.12 to 0.18, from the above list of parameters we have listed the minimum total cost, optimum ordering quantity, and the feasible length of the backlogging interval in Table 1, and the effect is depicted in Figure 3. We discovered that the increase in inflation rate R increases the length of the stock-out period, which in turn increases ordering quantity and optimal ordering cost.
Table 1.
Effect of inflation rate on optimizing the total cost.
Figure 3.
Effect of inflation rate on optimizing the total cost and ordering quantity.
3.2.2. Environment with Varying Rate of Backlogging
Next, by varying the customer’s backlogging rate β from 0.84 to 0.90, the system’s behaviour is studied. The effect is listed in Table 2 and depicted in Figure 4. We discovered that the increase in the customer’s backlogging rate β results in an increase in the length of the stock-out period, which in turn increases ordering quantity and optimal ordering cost. However, the rate of increase in the total minimum cost is very high and increases the backlogging rate β rather than the inflation rate R.
Table 2.
Effect of backlogging rate on optimizing the total cost.
Figure 4.
Effect of backlogging rate on optimizing the total cost and ordering quantity.
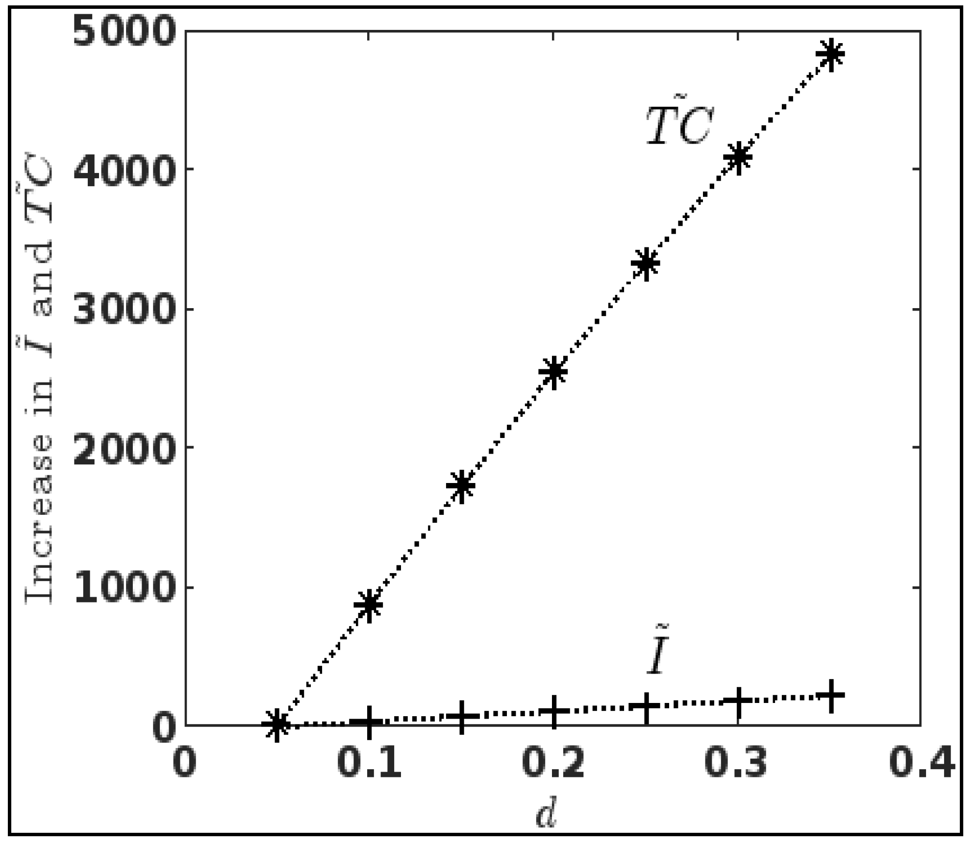
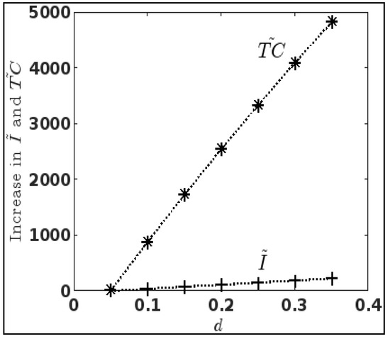
3.2.3. Environment with Varying Rate of Discount
The effect of the discount rateoffered by the supplier upon early payment influences the optimal cost. To examine this effect, we varied the discount rates from 0.05 to 0.35 without altering the other parameter values. We have listed the values in Table 3, and they are also depicted in Figure 5.
Table 3.
Effect of discount rate on purchasing cost when optimizing the total cost.
Figure 5.
Effect of discount rate on purchasing cost when optimizing the total cost and ordering quantity.
3.2.4. Environment with Varying Rate of Penalty
An increase in discount rate results in a decrease in the backlogging interval, in turn decreasing the total ordering quantity and minimum total cost of the replenishment cycle. Instead, the increase in the penalty rate for the posterior payment results in an increase in the stock-out period, total optimum ordering quantity, and optimal total cost of the cycle. It is listed in Table 4 and depicted in Figure 6.
Table 4.
Effect of penalty upon late payment of purchasing cost on optimizing the total cost.
Figure 6.
Effect of penalty upon late payment of purchasing cost when optimizing the total cost and ordering quantity.
4. Conclusions
A single-product deteriorated inventory system stored in OW and RW with stock-dependent demand is carried out to find the optimal ordering quantity to minimize the total expenditure of the entire replenishment cycle. The supplier grants the retailer the ability to pay the purchasing amount in three time points. The first one is a prior payment with a discount. The second one is a posterior payment with a penalty. The third is to be paid at the time of replenishment. The effect of monetary inflation is incorporated in payment, in addition to the calculation of the shortage cost per cycle, lost sales cost per cycle, and the inventory holding and deterioration costs of both warehouses. We have arrived at the total number of items to be ordered to minimize the total expenditure. We recommend that public retailers who deal with single-commodity two-warehouse inventories under the above-quoted assumptions offer suppliers three-slot payment options; furthermore, we provide a numerical example and our obtained optimal total cost of the replenishment cycle. We found that the environment effects the monetary inflation rate and the customers backlogging rate at the time of the stock-out period, which led us to the novel consideration of an attractive of three-slot payment strategy, which offers payment options such as a discount rate on early payments and a penalty on posterior payments. We then arrived at the total optimal cost of the cycle. There is a decrease in the optimal total cost of the cycle and an increase in the rate of discount on early payments performed by the retailer. In all other cases, there is an increasing trend in the total optimal cost. This article’s limitations may trigger other researchers to extend our work by considering the following factors: total early payments in finite instalments with the consideration of the effect of monetary inflation due to the economic crisis, a screening process started before the start of the demand after replenishment, and permitting customers to return the purchased items to redo the process due to warranty policies, etc.
Author Contributions
Conceptualization, R.T., J.V., L.C. and V.S.; data curation, R.T.; formal analysis, J.V.; investigation, R.T.; methodology, R.T., J.V., V.S. and L.C.; supervision, V.S. and L.C.; visualization, R.T. and J.V.; writing—original draft, R.T. and J.V.; writing—review and editing, V.S. and L.C. All authors have read and agreed to the published version of the manuscript.
Funding
This research received no external funding.
Data Availability Statement
The data presented in this study are available through email upon request to the corresponding author.
Conflicts of Interest
The authors declare no conflict of interest.
List of Symbols
| Ordering cost per order | |
| Inventory holding cost per item in the unit of time in RW. | |
| Inventory holding cost per item in the unit of time in OW. | |
| Deterioration cost per item in the unit of time in RW. | |
| Deterioration cost per item in the unit of time in OW. | |
| Purchasing cost per item in the unit of time. | |
| Shortage cost per item in the unit of time. | |
| Last sale cost per item in the unit of time. | |
| , and are positive constants | |
| Deterioration rate in RW. | |
| Deterioration rate in OW. | |
| Discount rate for pre-payment. | |
| Penalty rate for late payment. | |
| Rate of partial backlogging. | |
| Net discount rate of inflation and is constant here is discount rate and is inflation rate. | |
| Points at which partial prior payments are performed by the retailer. | |
| Points at which partial on time payments are performed by the retailer. | |
| Points at which partial posterior payments are performed by the retailer. | |
| Level of inventory at in RW. | |
| Level of inventory at in OW. | |
| Total inventory to be ordered. | |
| Partial backlogged inventory. | |
| Point at which the inventory level reaches zero in RW. | |
| Point at which the inventory level reaches zero in OW. | |
| Length of the entire replenishment cycle. | |
| Rental charge of per unit of time. | |
| Differentiation of with respect to . |
References
- Rezagholifam, M.; Sadjadi, S.J.; Heydari, M.; Karimi, M. Optimal pricing and ordering strategy for non-instantaneous deteriorating items with price and stock sensitive demand and capacity constraint. Int. J. Syst. Sci. Oper. Logist. 2022, 9, 121–132. [Google Scholar] [CrossRef]
- Ghiami, Y.; Beullens, P. The continuous resupply policy for deteriorating items with stock-dependent observable demand in a two-warehouse and two-echelon supply chain. Appl. Math. Model. 2020, 82, 271–292. [Google Scholar] [CrossRef]
- Pando, V.; San-José, L.A.; Sicilia, J. An inventory model with stock-dependent demand rate and maximization of the return on investment. Mathematics 2021, 9, 844. [Google Scholar] [CrossRef]
- Kumar, A.; Chanda, U. Two-warehouse inventory model for deteriorating items with demand influenced by innovation criterion in growing technology market. J. Manag. Anal. 2018, 5, 198–212. [Google Scholar] [CrossRef]
- Rana, R.S.; Kumar, D.; Mor, R.S.; Prasad, K. Modelling the impact of demand disruptions on two warehouse perishable inventory policy amid COVID-19 lockdown. Int. J. Logist. 2021, 1–23. [Google Scholar] [CrossRef]
- Seifert, D.; Seifert, R.W.; Isaksson, O.H.D. A test of inventory models with permissible delay in payment. Int. J. Prod. Res. 2017, 55, 1117–1128. [Google Scholar] [CrossRef]
- Tavakoli, S.; Taleizadeh, A.A. An EOQ model for decaying item with full advanced payment and conditional discount. Ann. Oper. Res. 2017, 259, 415–436. [Google Scholar] [CrossRef]
- Saren, S.; Sarkar, B.; Bachar, R.K. Application of various price-discount policy for deteriorated products and delay-in-payments in an advanced inventory model. Inventions 2020, 5, 50. [Google Scholar] [CrossRef]
- Shaikh, A.A.; Cárdenas-Barrón, L.E.; Manna, A.K.; Céspedes-Mota, A.; Treviño-Garza, G. Two level trade credit policy approach in inventory model with expiration rate and stock dependent demand under nonzero inventory and partial backlogged shortages. Sustainability 2021, 13, 13493. [Google Scholar] [CrossRef]
- Taleizadeh, A.A.; Tavakoli, S.; San-José, L.A. A lot sizing model with advance payment and planned backordering. Ann. Oper. Res. 2018, 271, 1001–1022. [Google Scholar] [CrossRef]
- Çalışkan, C. An inventory ordering model for deteriorating items with compounding and backordering. Symmetry 2021, 13, 1078. [Google Scholar] [CrossRef]
- Khan, M.A.-A.; Shaikh, A.A.; Cárdenas-Barrón, L.E.; Mashud, A.H.M.; Treviño-Garza, G.; Céspedes-Mota, A. An inventory model for non-instantaneously deteriorating items with nonlinear stock-dependent demand, hybrid payment scheme and partially backlogged shortages. Mathematics 2022, 10, 434. [Google Scholar] [CrossRef]
- Chung, K.-J.; Liao, J.-J.; Lin, S.-D.; Chuang, S.-T.; Srivastava, H.M. The inventory model for deteriorating items under conditions involving cash discount and trade credit. Mathematics 2019, 7, 596. [Google Scholar] [CrossRef]
- Shah, N.H.; Naik, M.K. EOQ model for deteriorating item under full advance payment availing of discount when demand is price-sensitive. Int. J. Supply Chain Oper. Resil. 2018, 3, 163. [Google Scholar] [CrossRef]
- Li, R.; Liu, Y.; Teng, J.-T.; Tsao, Y.-C. Optimal pricing, lot-sizing and backordering decisions when a seller demands an advance-cash-credit payment scheme. Eur. J. Oper. Res. 2019, 278, 283–295. [Google Scholar] [CrossRef]
- Sadikur Rahman, M.; Al-Amin Khan, M.; Abdul Halim, M.; Nofal, T.A.; Akbar Shaikh, A.; Mahmoud, E.E. Hybrid price and stock dependent inventory model for perishable goods with advance payment related discount facilities under preservation technology. Alex. Eng. J. 2021, 60, 3455–3465. [Google Scholar] [CrossRef]
- Ahmed, W.; Moazzam, M.; Sarkar, B.; Ur Rehman, S. Synergic effect of reworking for imperfect quality items with the integration of multi-period delay-in-payment and partial backordering in global supply chains. Engineering 2021, 7, 260–271. [Google Scholar] [CrossRef]
- Khan, M.A.-A.; Shaikh, A.A.; Panda, G.C.; Bhunia, A.K.; Konstantaras, I. Non-instantaneous deterioration effect in ordering decisions for a two-warehouse inventory system under advance payment and backlogging. Ann. Oper. Res. 2020, 289, 243–275. [Google Scholar] [CrossRef]
- Yang, H.-L.; Chang, C.-T. A two-warehouse partial backlogging inventory model for deteriorating items with permissible delay in payment under inflation. Appl. Math. Model. 2013, 37, 2717–2726. [Google Scholar] [CrossRef]
- Mondal, R.; Shaikh, A.A.; Bhunia, A.K.; Hezam, I.M.; Chakrabortty, R.K. Impact of trapezoidal demand and deteriorating preventing technology in an inventory model in interval uncertainty under backlogging situation. Mathematics 2021, 10, 78. [Google Scholar] [CrossRef]
- Kumar, N.; Singh, S.R.; Kumari, R. Learning effect on an inventory model with two-level storage and partial backlogging under inflation. Int. J. Serv. Oper. Manag. 2013, 16, 105. [Google Scholar] [CrossRef]
- Avdiu, K.; Unger, S. Predicting inflation—A holistic approach. J. Risk Fin. Manag. 2022, 15, 151. [Google Scholar] [CrossRef]
- Bhunia, A.K.; Shaikh, A.A.; Gupta, R.K. A study on two-warehouse partially backlogged deteriorating inventory models under inflation via particle swarm optimisation. Int. J. Syst. Sci. 2015, 46, 1036–1050. [Google Scholar] [CrossRef]
- Alamri, O.A.; Jayaswal, M.K.; Khan, F.A.; Mittal, M. An EOQ model with carbon emissions and inflation for deteriorating imperfect quality items under learning effect. Sustainability 2022, 14, 1365. [Google Scholar] [CrossRef]
Publisher’s Note: MDPI stays neutral with regard to jurisdictional claims in published maps and institutional affiliations. |
© 2022 by the authors. Licensee MDPI, Basel, Switzerland. This article is an open access article distributed under the terms and conditions of the Creative Commons Attribution (CC BY) license (https://creativecommons.org/licenses/by/4.0/).





