Low-Cost IoT Communication in the Arctic Region: Using the SWARM Satellite Constellation for Remote Community Connectivity
Abstract
1. Introduction
Related Work
2. Overview of SWARM IoT Constellation
2.1. History of SWARM Technologies’ Successful Missions
2.2. Capabilities of Constellation
- GPS Module: Used for location tracking;
- VHF Radio: For satellite communication;
- ARM Cortex-M4 Processor: Powers the modem’s operations;
- Sensors: Include onboard GPS and a temperature sensor;
- Connectivity: Uses a 3.3 V serial UART for communication, simplifying integration into systems;
- Low Power Modes: Support various low-power operation modes that can be triggered by timers, GPIO signals, or serial commands.
2.3. Comparison of Satellite Connectivities Across Different Locations
2.4. Global Applications
3. Message Transmission and Notification
3.1. SWARM
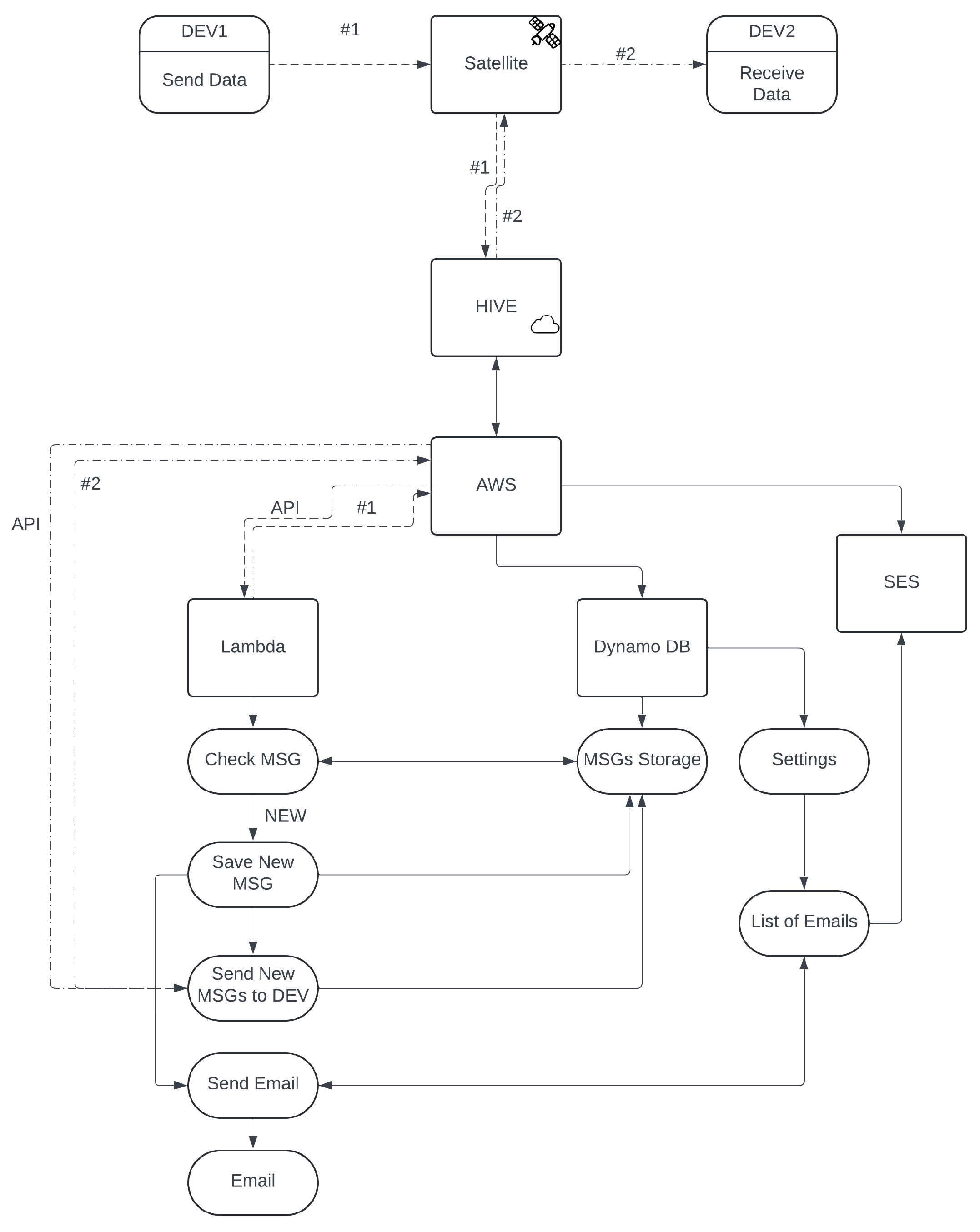
- Dev 1 in Figure 7 describes a SWARM device that is collecting some data in the remote region while also automatically sending the data (with some time interval) to the satellite. It connects without any Internet usage and uses the VHF radio to send the data.
- When the satellite receives the data, it sends them to the HIVE cloud (developed by SWARM Technologies).
- The HIVE cloud is then connected to our AWS through the API. The HIVE cloud will be discussed more in the next section.
- After the HIVE cloud receives feedback or a message that it should be delivered to the next device, it automatically sends it to the satellites.
- Then, the closest satellite to Dev 2 in the region will try to deliver the message until the confirmation is received from Dev 2.
- Dev 1:
- Constantly try to send data to a satellite as the new data collected;
- Try to send data over a specific period.
- Dev 2:
- Constantly ask for new messages (responses from Dev 1) from the nearby flying satellite;
- Send the response about the message being received to the device.
3.2. HIVE
3.3. AWS
4. Hardware Demonstration
4.1. Hardware Test Setup
4.2. Tests
- 1.
- June: = 182.20, the number of experiments is , and the final standard deviation . The following result indicated that the data are more spread out. The longest time it took to transmit one message was 62 min, while the lowest was −46 min.
- 2.
- July: = 49.04, the number of experiments is , and the final standard deviation . The following result indicated that the data are less spread out; however, it is not yet perfect. The longest time it took to transmit the message from the device to the satellite was 11 min. The time has improved significantly due to changes to the original code in AWS, the weather was improved, and the time when the average RSSI was high was properly chosen. The highest and lowest times to transfer messages were 11 and 2 min, respectively.
- 3.
- August: = 2.01, the number of experiments is , and the final standard deviation . The following result indicated that the data are ideal and are clustered tightly around the mean value. The highest time to transfer the message was 4 min, while the lowest was around 3 min.
5. Future Work
6. Discussion
7. Conclusions
Author Contributions
Funding
Institutional Review Board Statement
Informed Consent Statement
Data Availability Statement
Conflicts of Interest
Abbreviations
| AWS | Amazon Web Services |
| API | Application Programming Interface |
| LEO | low Earth orbiting |
| HF | High Frequency |
| GPS | Global Positioning System |
| UFL | Ultra-Flange Connector |
| SMA | Sub Miniature version A connector |
| VNF | Virtual Network Functions |
| Dev 1 | SWARM Device Number One |
| Dev 2 | SWARM Device Number Two |
| HIVE | Sustainable Distributed Cloud Infrastructure |
| REST | Representational State Transfer |
| POST | HTTP method |
| HTTP | Hypertext Transfer Protocol |
| Amazon S3 | Amazon Simple Storage Service |
| ASCII | American Standard Code for Information Interchange |
| IoRT | Internet of Remote Things |
| VDES | VHF Data Exchange System |
References
- Sinclair, R. Canada: Canada and the Arctic Region. 2022. Available online: https://arctic-council.org/about/states/canada/ (accessed on 12 March 2024).
- Plastras, S.; Tsoumatidis, D.; Skoutas, D.N.; Rouskas, A.; Kormentzas, G.; Skianis, C. Non-Terrestrial Networks for Energy-Efficient Connectivity of Remote Areas: A Satellite—UAV Integration Approach. Sensors 2024, 24, 1227. [Google Scholar] [CrossRef]
- Ellekrog, O. Elon Musk’s Starlink Is Disturbing Greenlands’s Expensive Internet Market. 2024. [Google Scholar]
- Uppal, R. Improving Arctic Communication Infrastructure Amidst Growing Geostrategic Importance. Int. Def. Secur. Technol. 2023. Available online: https://idstch.com/geopolitics/improving-arctic-communication-infrastructure-amidst-growing-geostrategic-importance/ (accessed on 4 July 2024).
- Postler, A. Space-Based Solutions for Closing the Arctic Digital Divide. 2019. Available online: https://georgetownsecuritystudiesreview.org/2019/11/27/space-based-solutions-for-closing-the-arctic-digital-divide/ (accessed on 24 November 2024).
- Haisler, D.D.M.; Miller, B. Blasting Off. Government Technology 32.6. 2019. Available online: https://archives.erepublic.com/GT/GT_Mag_Sept2019.pdf (accessed on 8 January 2025).
- Werner, D. Eyes on the Arctic: Satellites Reveal Changing Conditions at Northern Latitudes. 2022. Available online: https://spacenews.com/eyes-on-the-arctic-satellites-reveal-changing-conditions-at-northern-latitudes/ (accessed on 24 November 2024).
- European Space Agency. Arctic Poses Communications Challenges; ESA: Paris, France, 2023.
- Winton, H. Remote Science: Challenges of Working in the Polar Regions. 2019. Available online: https://royalsociety.org/blog/2019/03/remote-science-challenges-of-working-in-polar-regions/ (accessed on 12 March 2024).
- Gruss, M. Canada Eyes $2.4 Billion ARCTIC Satellite Communications Constellation. 2016. Available online: https://spacenews.com/canada-eyes-2-4-billion-arctic-satellite-communications-constellation/ (accessed on 6 June 2024).
- Arctic Council. Arctic Council Report on Communication Challenges in the Arctic; Arctic Council: Tromso, Norway, 2023. [Google Scholar]
- Tatananni, M. US Navy Admits testing Elon Musk’s Starlink Internet on Ships for ‘Tactical’ Advantage Before Mysteriously Deleting Post. 2024. [Google Scholar]
- Dyson, T.H.C.; Chiang, E.E. Radio-Frequency Interference at the McGill Arctic Research Station. J. Astron. Instrum. 2021, 12, 4. [Google Scholar] [CrossRef]
- Hansen, P. Electromagnetic Environmental Effrects (E3) Survey of Sites in the South Pole Area, Antarctica Final Report. 2003. [Google Scholar]
- Liu, X.; Chen, X.; Zhao, K.; Yang, L.; Zhao, Y.; Fan, C. Energy-Efficiently collaborative data downloading in optical satellite networks. Wirel. Netw. 2024, 30, 3429–3441. [Google Scholar] [CrossRef]
- Humpert, M. SpaceX’s Starlink Ready to Boost Arctic Military Communications Says US Air Force. 2023. Available online: https://www.highnorthnews.com/en/spacexs-starlink-ready-boost-arctic-military-communications-says-us-air-force (accessed on 24 November 2024).
- Merano, M. Starlink Completes 9 Months of Military Tests in the Arctic. 2023. Available online: https://www.teslarati.com/spacex-starlink-military-test-artic/ (accessed on 24 November 2024).
- Wolfe, F. 10 Starlink Satellites to Enhance Arctic Communications for NORTHCOM. 2021. Available online: https://www.defensedaily.com/10-starlink-satellites-enhance-arctic-communications-northcom/space/ (accessed on 24 November 2024).
- SatelliteMap.Space. Starlink Satellite Constellation. 2024. Available online: https://satellitemap.space/?constellation=starlink (accessed on 24 November 2024).
- Janosek, D.M. On the Horizon: Nanosatellite Constellations Will Revolutionize the Internet of Things (IoT). Seattle J. Tech. Env’t Innov. L. 2021, 12, 74. [Google Scholar]
- Spangelo, S.C. Modeling and Optimizing Space Networks for Improved Communication Capacity. Ph.D. Thesis, University of Michigan, Ann Arbor, MI, USA, 2013. [Google Scholar]
- Spangelo, S.C. Optimization-based scheduling for the single-satellite, multi-ground station communication problem. Comput. Oper. 2015, 57, 1–16. [Google Scholar] [CrossRef]
- Røste, T.; Yang, K.; Wen, C. Satellite to Buoy IoT Communications in the Arctic Ocean. 2023. Available online: https://www.frontiersin.org/articles/10.3389/fmars.2023.1153798/full (accessed on 8 January 2025).
- Palma, D.; Birkeland, R. Enabling the Internet of Arctic Things with Freely-Drifting Small-Satellite Swarms. IEEE Access 2018, 6, 71435–71443. [Google Scholar] [CrossRef]
- Sun, W.; Tang, M.; Zhang, L.; Huo, Z.; Shu, L. A Survey of Using Swarm Intelligence Algorithms in IoT. Sensors 2020, 20, 1420. [Google Scholar] [CrossRef]
- Space, S. Swarm M138 Modem—Specifications. 2022. Available online: https://swarm.space/wp-content/uploads/2022/09/Swarm-M138-Specifications.pdf (accessed on 15 June 2022).
- Swarm Technologies. Swarm M138 Modem Product Manual; United States, Revision 1.41; Swarm Technologies: Palo Alto, CA, USA, 2022; pp. 12–33. [Google Scholar]
- Space, S. Satellite-Enabled Water Monitoring in the Australian Outback. 2022. Available online: https://theyabby.com.au/satellite-enabled-water-monitoring-in-the-australian-outback/ (accessed on 15 June 2022).
- Technologies, S. Swarm Technologies Satellite Network. 2021. Available online: https://www.swarm.tech (accessed on 24 November 2024).
- Corporation, S. Swarm Technologies and Semtech Collaborate to Provide Affordable Global Connectivity for IoT Devices. 2021. Available online: https://www.semtech.com (accessed on 24 November 2024).
- Chen, Y.; Zhang, M.; Li, X.; Che, T.; Jin, R.; Guo, J.; Nie, X. Satellite-Enabled Internet of Remote Things Network Transmits Field Data from the Most Remote Areas of the Tibetan Plateau. Sensors 2022, 22, 3713. [Google Scholar] [CrossRef] [PubMed]
- Kuersten, A. The Arctic Digital Divide. Arctic Summer College Yearbook; Springer: Berlin/Heidelberg, Germany, 2018; pp. 93–105. [Google Scholar]
- Wisniewski, R.; Dalsgaard, J.; Nielsen, A.R.G. Enhancing Maritime Safety Through Satellite-Based Communication in the Arctic. 2023. Available online: https://www.en.space.aau.dk/research/research-projects/mariot (accessed on 25 January 2025).
- Abualigah, L.; Falcone, D.; Forestiero, A. Swarm Intelligence to Face IoT Challenges. 2023. Available online: https://onlinelibrary.wiley.com/doi/10.1155/2023/4254194 (accessed on 8 January 2025).
- Space, S. Swarm Pass Checker. 2022. Available online: https://kube.tools.swarm.space/pass-checker/ (accessed on 15 June 2022).
- Space, S. Monitoring Critical Communications Sites in Remote New Zealand. 2021. Available online: https://www.telecompaper.com/news/motiv-swarm-to-monitor-critical-communications-sites-in-remote-new-zealand–1395564 (accessed on 15 June 2022).
- Amazon Web Services Inc. Amazon Web Services Documentation, Includes Information on APIs, Webhooks, and AWS Services. 2022. Available online: https://aws.amazon.com/blogs/compute/sending-and-receiving-webhooks-on-aws-innovate-with-event-notifications/ (accessed on 15 February 2022).
- Allan, A. Death of a Satellite Swarm. 2024. Available online: https://www.hackster.io/news/death-of-a-satellite-swarm-b5f6d52a1825 (accessed on 8 January 2025).










| Points | 1 | 2 | 3 | 4 | ||
|---|---|---|---|---|---|---|
| Points | Duration t [h] | Elevation [deg] | 30 | 50 | 70 | 90 |
| 1 | t < 0.5 | 1 | 2 | 3 | 4 | |
| 2 | 0.5 < t < 1 | 2 | 4 | 6 | 8 | |
| 3 | 1 < t < 2 | 3 | 6 | 9 | 12 | |
| 4 | t > 2 | 4 | 8 | 12 | 16 | |
| Test # | Date (2022) | Time MSG Sent | Time MSG Delivered | Total Mean Time [min] | Cloudy | Wind Speed [km/h] | Ave. RSSI |
|---|---|---|---|---|---|---|---|
| 1 | 7 June | 15:56:32 | 16:47:54 | 51.37 | Mostly | 26 | −98 |
| 2 | 3 July | 13:12:53 | 13:18:23 | 5.5 | Partially | 17 | −100 |
| 3 | 15 August | 17:10:05 | 17:13:05 | 3.0 | Partially | 14 | −115 |
Disclaimer/Publisher’s Note: The statements, opinions and data contained in all publications are solely those of the individual author(s) and contributor(s) and not of MDPI and/or the editor(s). MDPI and/or the editor(s) disclaim responsibility for any injury to people or property resulting from any ideas, methods, instructions or products referred to in the content. |
© 2025 by the authors. Licensee MDPI, Basel, Switzerland. This article is an open access article distributed under the terms and conditions of the Creative Commons Attribution (CC BY) license (https://creativecommons.org/licenses/by/4.0/).
Share and Cite
Yermolenko, A.; Ferguson, P. Low-Cost IoT Communication in the Arctic Region: Using the SWARM Satellite Constellation for Remote Community Connectivity. Aerospace 2025, 12, 130. https://doi.org/10.3390/aerospace12020130
Yermolenko A, Ferguson P. Low-Cost IoT Communication in the Arctic Region: Using the SWARM Satellite Constellation for Remote Community Connectivity. Aerospace. 2025; 12(2):130. https://doi.org/10.3390/aerospace12020130
Chicago/Turabian StyleYermolenko, Anastasiya, and Philip Ferguson. 2025. "Low-Cost IoT Communication in the Arctic Region: Using the SWARM Satellite Constellation for Remote Community Connectivity" Aerospace 12, no. 2: 130. https://doi.org/10.3390/aerospace12020130
APA StyleYermolenko, A., & Ferguson, P. (2025). Low-Cost IoT Communication in the Arctic Region: Using the SWARM Satellite Constellation for Remote Community Connectivity. Aerospace, 12(2), 130. https://doi.org/10.3390/aerospace12020130
