Abstract
In this paper we review results obtained in the searches of double beta decays to excited states of the daughter nuclei and illustrate the related experimental techniques. In particular, we describe in some detail the only two cases in which the transition has been observed; that is the decay of Mo and Nd nuclides. Moreover, the most significant results in terms of lower limits on the half-life are also summarized.
1. Introduction
In 1935 Maria Goeppert-Mayer described a second-order weak-interaction process: the double beta () decay1, a transition between isobaric nuclei where two neutrons simultaneously decay into protons () [1]; this process can occur in neutron-rich nuclei. In proton-rich nuclei, up to three competing processes can be kinematically available—the double emission (), the single emission plus single electron capture (), and double electron capture (). The decay is strongly suppressed and can only be observed in those isotopes where single beta decay is forbidden. The two neutrino decay has been observed in several nuclei; however the decay processes discussed by Furry in 1939, namely the neutrinoless double beta decay () [2], is requiring further efforts in various isotopes. The decay modes without emission of neutrinos would be highly relevant in proving the existence of a process violating the conservation of the total lepton number and of the (baryon-lepton) number quantity (B-L). The detection of a process violating (B-L) would have implications in theories trying to explain matter and anti-matter asymmetry in the Universe. The decay mode would prove the non-conservation of the lepton number and would be a key tool to probe if the neutrino—contrary to all the other known fermions—is a Majorana particle, that is, it coincides with its own anti-particle. A fundamental step toward sensitive investigations on neutrino-less decay modes is the unambiguous and precise measurement of the two-neutrino decay ones. The latter process is allowed in the Standard Model of particle physics (SM) although predicted to be extremely rare; these predictions use many-body techniques and nuclear models similar to those applied for decay; thus, measurements of decay are also relevant for interpreting decay results. In conclusion, the decay is among the rarest processes in nature and offers an ideal benchmark to study atomic physics, nuclear physics, and physics beyond the Standard Model.
Another way to approach the investigation of decay processes is to study decays where the daughter nucleus is left in an excited state; then, the excited state will decay to the ground state emitting gamma rays. However, excited-state decay transitions have a smaller Q-value than the ground state-ground state transitions and, thus, a longer half-life. Nevertheless, more research on such transitions is needed from both the experimental and the theoretical sides.
In the following we will introduce and discuss several experimental results in the searches for decay processes to excited states of daughter nuclei with some perspectives.
2. Double Beta Decay to Excited States of Daughter Nuclei
Studies on decay to excited levels provide supplementary information about the decay of the parent nuclide. Further information on dynamics of the decays can also be inferred by the , , and processes both to the ground and the excited states. Despite the lower decay probability of the and processes with respect to that of the processes (due to the suppression of the phase space factor), the investigations of these decay modes either to the ground or to the excited states can also strongly contribute to clarify the mechanism of the decay [3]. In addition, the investigations of the processes to excited levels of daughter nuclei can profit of the possibility of a resonant enhancement of the capture rate by several orders of magnitude in case the initial and final states are energetically degenerate [4,5,6,7,8,9,10]. In such a case, the resonant effect can provide a sensitivity of the process approaching the case of decay. The effect was pointed out by R.G. Winter [4] in 1955 and further stressed by few other authors in the 1980s [5,9]. The key parameter for the resonant processes is the degeneracy parameter, , equal to the mass difference of the parent and the daughter atoms. The maximum enhancement is obtained for . However, it has been demonstrated (see for example Reference [7]) that even for keV an enhancement of a factor can be achieved, leading to a renewed interest in these double beta decay processes.
The decay to excited levels of daughter nuclei provides a very clear signature; in addition to the two electrons/positrons either one or two/more photons due to nuclear de-excitation with well identified energies are present. Moreover, for , and decay 511 keV -rays from positrons annihilation are present as well, while for , and characteristic X-rays can improve the detection efficiency. All this can offer the possibility to study such decays by coincidence techniques.
Thus, since the beginning several different techniques have been used, such as:
- the source = detector technique using low-background detectors containing the nuclides of interest. Germanium detectors, bolometers, scintillation detectors, ionization detectors, even enriched in particular isotopes, have been used.
- the coincidence technique between a low-background detector containing the nuclides of interest and other detectors, as either scintillators or HP-Ge detectors.
- the source ≠ detector technique by measuring either the gamma emission of a pure sample of material containing the nuclides of interest mostly by means of HP-Ge detectors and/or the electrons/positrons coming out of the source.
An important issue, that is common to all these different experimental techniques, is the use of low background set-ups placed in underground laboratories (although some experimental results have been obtained in shallow deep sites). The cores of the experiments are well shielded by the environmental radioactivity through heavy either passive or active shields. The radon present in trace in the atmosphere in proximity of the experimental site is generally removed by suitable sealed radon removal systems. In addition, the detectors and all their components, and the external source materials if present are carefully checked, cleaned and in some cases purified for low-radioactivity (see also later). For a discussion of these techniques see, for example, Reference [11].
Since the beginning, the decay to the excited levels of the daughter nuclei was studied as a by-product of the experiments searching for decay to ground states. The first experimental study on decay to the excited levels of the daughter nuclei was reported in 1977 in the search for decay of Ge [12]. As a by-product of this experiment the double beta decay of Ge to the first excited state of Se was also considered [12]. Other studies were performed few years later in Reference [13] looking for the de-excitation gamma-rays following the double beta decay processes through a 130 cm Ge(Li) detector at sea level and in the Mont Blanc tunnel. Commercial purified samples of neodymium, nickel, and molybdenum have been placed in the proximity of the sensitive zone of the Ge(Li) detector. These measurements allowed—in addition to the study of the decay of Ge present in the natural composition of the germanium itself of the detector—the first study of the decay of Nd, Nd, Ni, Mo, and Mo to the excited levels of the daughter nuclei. No evidence was found for the processes searched for and limits on the half-life, , were set at level of yr for Ge transitions and at level of yr for the other isotopes [13].
The merit of such experiments was the opening of the investigation on the decay to the excited levels of daughter nuclei. In those years the development and the use of low-background High Purity Germanium (HP-Ge) detectors in underground facilities (see, for example, Reference [14]) were pointed out as an interesting possibility to detect the gamma rays produced in the de-excitation of the nuclear levels after a decay to excited levels of daughter nuclei. In particular, it was shown that this process could be detected in three nuclei [15]: Zr, Mo and Nd. The corresponding half-lives were evaluated at that time to be of order of yr [15], reachable by the low-background installations available at that time.
Later on, the decay of Mo to the excited level at 1130.32 keV of Ru was observed [16]. A 956 g sample of molybdenum powder enriched to 98.5% in Mo was exposed in a low-background germanium detector; excesses of and events were measured in the energy regions of the expected gamma rays: 539.5 keV and 590.8 keV, respectively [16]. Other experiments confirmed this result, improving the experimental sensitivity (see Section 3).
Ten years later, in 2004 there was the first observation of the decay of Nd to the excited level at 740.46 keV of Sm [17]. About 3 kg of neodymium oxide powder was measured with a HP-Ge detector; excesses of and counts were measured in the energy regions of the expected gamma rays: 334.0 keV and 406.5 keV, respectively [17]. Since then, other results with improved sensitivity were achieved; they are summarized in Section 4.
Since the first works in the 1980s, the sensitivities to double beta decay experiments improved significantly and new limits for many nuclei and different modes of decay to the excited states of daughter nuclei were established. Some of them will be quoted and summarized in Section 5. Examples of the reached sensitivities for the double beta decay channels to excited levels in germanium detectors, bolometers and scintillators will be described in Section 5.1, Section 5.2 and Section 5.3, respectively. The technique of the passive source using gamma spectrometers, as low-background germanium detectors, will be summarize in Section 5.4.
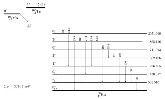
3. Positive Results from Mo Decay to the Excited Level
The Mo is one of the most interesting and most investigated isotopes for decay searches among all the 35 naturally occurring candidates due to: (i) its rather high natural abundance: [18]; (ii) the possibility to obtain isotopically enriched material using the comparatively inexpensive ultra-speed centrifuge technology; (iii) the high energy release of keV [19] which defines a large phase space integral of the decay and, thus, a relatively high probability of processes. The allowed decay to the ground state of Ru was observed in several direct experiments. The most accurate value comes from the recent experiment CUPID-Mo using lithium molybdate (LiMoO) scintillating bolometers: yr [20].
In addition to the transition to the ground state, the decay of Mo was registered also for the transition to the first excited level of Ru (see Figure 1).
Figure 1.
Scheme of decay of Mo to the ground state and to the first excited levels of Ru (reprinted from Reference [21] with permission from Elsevier). The energies of the levels and the relative main branching ratios are taken from Reference [22].
The half-life of the Mo →Ru decay was measured in several experiments [16,21,23,24,25,26,27,28] in the range of yr, with a recommended value: yr [29] (see later). Many of these experiments also searched for Mo decay to other excited levels of Ru [16,21,23,25,26,27]. The best experimental lower limits on the half-lives of these processes are reported in Table 1.
Table 1.
Experimental results on of the decay of Mo to the excited states of Ru. All limits are given at 90% C.L.
In the following of this section, the experiments which obtained a positive result in the search for decay of Mo to the first excited level of Ru will be briefly reviewed.
The first search for this transition was performed in 1982 and only a lower limit on the half-life yr (90% C.L.) was obtained [13]. Afterwards, this decay mode was positively identified by an experiment located in the Soudan mine in Minnesota (2090 m w.e. depth) [16]. A sample of 956 g of powdered molybdenum metal, enriched to % in Mo and contained in a lucite Marinelli beaker, was measured using a low-background 114 cm HP-Ge detector assembled in a cryostat of low-background copper components housed in a large bulk shield of ordinary lead having an inner lining 5 cm thick 150-yr-old lead (see Figure 2 (left)). The bulk shield was sealed and fluxed with nitrogen boil-off gas to mitigate radon in the shield. The energy spectrum obtained in 415.43 days of counting is shown in Figure 2, right. The two expected peaks from the decay de-excitation were observed: counts for the 539.5 keV peak and counts for the 590.8 keV peak. The corresponding half-life was calculated to be yr [16].
Figure 2.
(left) Scheme of the setup used in the Soudan experiment. (right) Energy spectrum obtained by the Soudan experiment over 415.43 days in the energy range corresponding to the decay of Mo to the state of Ru at 1130.3 keV, which is accompanied by two quanta (539.5 keV and 590.8 keV). Reprinted from Reference [16] with permission from Elsevier.
After a null result in Reference [30] not consistent with the Soudan experiment, a new positive result for decay of Mo to the level of Ru was obtained few years later, in 1999 [23]. A set of 17 different Mo enriched metallic powder samples (107–1005 g, enriched to 95.1–99.3%) was measured by using low-background HP-Ge detectors. The total spectrum was obtained from the data collected in 17 measurements with the different samples ( h measuring time). Small peaks were found in the regions of interest with events at 539.5 keV and events at 590.8 keV. The half-life of yr was deduced from the summed -ray spectrum, with an additional systematic error estimated to be approximately 15% [23].
Another positive result was then obtained by the TUNL-ITEP experiment in 2000 [24] and with improved sensitivity in the following years [25,27]. The experiment was performed at a shallow depth in the basement of the Physics Department of Duke University (USA). A novel method was used, with two HP-Ge detectors in a coincidence scheme, where two separate detectors simultaneously detect the two emitted rays (590.8 and 539.5 keV) from the decay of Mo. In particular, a disk sample of enriched Mo (1.05 kg mass, 106 mm diameter, 11 mm thickness and enriched to 98.4% in Mo) was sandwiched between the front faces of two large HP-Ge detectors that work in the coincidence regime (see Figure 3 (left)). The HP-Ge detectors, 85 mm in diameter by 50 mm in length, were inserted in a NaI(Tl) annulus used as an active veto. Plastic plates (10 cm thickness) on either side of the apparatus acted as a veto for the regions which are not covered by the NaI(Tl) annulus. The entire apparatus was surrounded by a passive shielding made of lead bricks. The efficiency for the searched - coincidences was estimated through very accurate calibrations with a Rh source (that emits two rays having similar energies than the process searched for) and confirmed by Monte Carlo simulations. After 905 days of measurements, coincidence events were detected for the 539.5 keV and 590.8 keV quanta cascade following the transition to the excited state of Ru (see Figure 3 (right)). As a result yr was obtained for the process searched for [24,25,27].
Figure 3.
(left) Scheme of the experimental apparatus used in the TUNL-ITEP experiment (reprinted from Reference [31] with permission from American Physical Society). (right) Total collected events with the TUNL-ITEP apparatus over 905 days. (a) ray spectrum of events with energy around 540 keV in coincidence with the 590.8 keV transition in Ru, and (b) ray spectrum of events with energy around 590 keV in coincidence with the 539.5 keV transition in Ru (reprinted from Reference [27] with permission from Elsevier).
The NEMO collaboration released in 2007 new results on Mo decays to the excited levels of Ru obtained with the NEMO-3 detector [26] at Modane Underground Laboratory (4800 m w.e. depth); a schematic view of the detector is shown in Figure 4 (left).
Figure 4.
(left) Schematic view of the NEMO-3 detector. (right) A reconstructed event candidate for decay of Mo to the excited state of Ru. Two electrons of 424 and 286 keV energy, with a common origin in the source foil, hit fired isolated scintillators. The remaining fired scintillators compose three clusters, two are due to rays emitted in coincidence with the electrons, the third cluster is most probably due to the rescattering of one of these rays. Reprinted from Reference [26] with permission from Elsevier.
It was cylindrical in design ( m × 4 m) and composed of twenty equal sectors. There were three main components: a foil consisting of different sources of decay isotopes, a tracker made of Geiger wire cells and a calorimeter made of scintillator blocks with PMT readout, surrounded by a solenoidal coil. The wire chamber was made of 6180 open octagonal drift cells operating in Geiger mode and able to provides a three-dimensional measurement of the charged particle tracks. The calorimeter, surrounding the wire chamber, was composed of 1940 plastic scintillator blocks coupled by light-guides to low-radioactivity PMTs. The apparatus could accommodate almost 10 kg of different decay isotopes, comprising 6914 g of purified Mo (average enrichment at 97.7%). The foils were placed inside the wire chamber in the central vertical plane of each sector. The whole detector was covered by inner and outer shields. Thanks to the tracking calorimeter, the NEMO-3 detector was able to identify the two electrons from decay and the de-excitation photons from the excited state of the daughter nucleus. An example of reconstructed event candidate for decay of Mo to the excited state of Ru is shown in Figure 4 (right). A large number of selection criteria based on energy, track, time and topology of the detected particles were applied in order to maximize the signal to background ratio and two methods of background estimation were used. After ∼1 year of measurement, 37.5 signal events were obtained after cuts with an efficiency , which corresponds to T yr [26].
In 2010, the ARMONIA experiment remeasured ≃1 kg of Mo enriched in Mo to 99.5% already used in Reference [30] but with higher statistics and higher sensitivity [28]. After the first stage of the ARMONIA experiment, a purification procedure based on chemical transformation of metallic molybdenum to molybdenum oxide (MoO) was applied to the metallic Mo powder. The measurements were performed at the Gran Sasso underground laboratory (LNGS) of the INFN in Italy (3600 m w.e. depth). The quanta with energies of 590.8 keV and 539.5 keV emitted in cascade in the de-excitation of the excited level of Ru were searched for using the GeMulti gamma spectrometer at STELLA facility of LNGS (see Reference [14] and Section 5.4). The set-up is composed of four low-background HP-Ge detectors (≃225 cm each) allocated in one cryostat with a well in the center. The experimental set-up was enclosed in a lead and copper passive shielding and had a nitrogen ventilation system in order to avoid radon contamination. A schematic view of the MoO source and the four HP-Ge detectors is shown in Figure 5 (left).
Figure 5.
(left) Schematic view of the MoO source and the four HP-Ge detectors used in the ARMONIA experiment (only the source and the detectors are shown). (right) Energy spectrum collected by the ARMONIA experiment with the MoO sample (points with error bars) in the 490–630 keV energy interval together with its fit (continuous curve). The background spectrum (normalized to 18120 h) is also shown (filled histogram). Both peaks at 539.5 keV and 590.8 keV due to the decay MoRu are clearly visible in the MoO spectrum. Reprinted from Reference [28] with permission from Elsevier.
The MoO sample was measured for 18,120 h. The data acquisition system allowed to accumulate the energy spectra of the individual detectors and to take into account the coincidence between detectors during the data analysis as well. The background of the set-up was collected before and after the measurements with the sample, with consistent results. The 1-dimensional spectrum (sum of all 4 HP-Ge detectors) of the MoO sample and of the background in the 490−630 keV energy interval is given in Figure 5 (right). Both peaks at 539.5 keV and 590.8 keV expected for decay MoRu are present in the spectrum collected with the MoO sample and absent in the background spectrum. In particular, counts and counts were determined for the two peaks, respectively, fitting the MoO spectrum. The efficiencies for the two lines were calculated with Montecarlo simulations, taking into account the angular correlation between the emitted quanta. Finally, joining the results from the two peaks, yr was obtained. This result was also confirmed by the analysis of the events with multiplicity 2 accumulated in coincidence mode. In particular, eight events were detected in double coincidence for the 539.5 keV and 590.8 keV ’s. They correspond to the half-life: yr [28].
In 2014, a new experiment [21] of the NEMO-3 collaboration was performed using a 2588 g sample of enriched Mo metallic foil which was formerly inside the NEMO-3 detector (see above). In this case, the collaboration used a 600 cm low-background HP-Ge detector to measure the 2588 g sample of enriched Mo metallic foil in a special delrin box which was placed around the detector end cap. Data were collected for 2288 h. The Ge spectrometer was composed of a p-type crystal. The cryostat, endcap, and the other mechanical parts were made of a very pure Al−Si alloy. The cryostat had a U-type geometry to shield the crystal from radioactive impurities in the dewar. The passive shielding was composed of three layers of Roman lead with a total thickness of ∼12 cm and an external layer of ∼20 cm of low radioactivity lead. A system for radon removal was present. Figure 6 shows the energy spectrum in the range of interest.
Figure 6.
Energy spectrum in the range 500−640 keV obtained by the 2014 NEMO-3 collaboration experiment (reprinted from Reference [21] with permission from Elsevier). The dashed line is the estimated continuous background and colored (on-line) lines are the fitted peaks at 539.5 and 590.8 keV.
Both peaks at 539.5 keV and 590.8 keV are clearly visible, and the calculated area are counts and counts, respectively. From the combined analysis the half-life for the decay of Mo to the excited state in Ru was measured to be yr [21].
In conclusion, a summary of all the present positive results obtained in the search for decay of Mo to the first excited state of Ru is given in Table 2. The number of observed counts (N) and the signal-to-background ratio (S/B) are also reported. The average value was calculated in Reference [29], following the procedure recommended by the Particle Data Group [32].
Table 2.
Present positive results on of the decay of Mo to the first excited state of Ru. N is the number of detected events or coincidences and S/B is the signal/background ratio.
4. Positive Results from Nd Decay to the Excited Level
Another of the most interesting isotopes to study the decay to excited levels is the Nd. This nuclide is a very promising naturally occurring isotope having a natural isotopic abundance of 5.638(28)% [18] and an high energy release: = 3371.38(20) keV [33]. The two neutrino decay mode to the ground state of Sm has been observed in various experiments with a half-life in the range yr [34,35,36].
The decay of Nd to the excited level (740.46 keV) of Sm has been also investigated in several experiments reporting half-life in the range yr, as summarized in the following. The simplified decay scheme of Nd is reported in Figure 7. As can be seen, the excited level of Sm has an energy of 740.5 keV. From this level two gamma quanta of 406.5 keV and 334.0 keV, respectively, can be emitted in cascade to reach the ground level.
Figure 7.
Simplified decay scheme of the decay of Nd to the excited level of Sm.
The first observation of this decay has been obtained in 2004 [17] with 3.046 kg of NdO in form of powder, measured for 11,320.5 h in a 400 cm low background HP-Ge detector. The detector was surrounded by a low background passive shield and by a radon removal system. The signal is given by the presence of an excess of events at the energy values of the gamma’s emitted in the Sm de-excitation cascade. The energy spectrum measured in the experiment is reported in Figure 8; the two energy intervals of interest for the presence of the peaks searched for are reported.
Figure 8.
Energy spectrum collected in the HP-Ge experiment of Reference [17]. The two plots show the energy ranges of interest to search for the presence of the gamma’s related to the decay of the excited states of the daughter nucleus. Reprinted from Reference [37] with permission from American Physical Society.
In particular, the measured energy spectrum shows the presence of a peak at energy close to 334.0 keV, while the presence of the 406.5 keV peaks is somehow overlapped to a background peak ascribed to Pb decay. After subtracting the estimated background, the excess for the 334.0 keV and 406.5 keV gamma lines correspond to ( and () counts over a background of about 656.6 and 484.5 counts, respectively [17]. By summing the two peaks, the obtained half-life is: yr [17]. Some years later, the data analysis has been refined in Reference [37]. The full peak efficiencies for the gamma’s searched for have been recalculated and smaller values for the excess counts—that is, and , respectively—have been obtained. The new half-life value was set to yr [37]. In the same paper other transitions to higher excited states were also searched for. No evidences have been found and lower limits on the half-lives of the decay of Nd to the , , and were set at level of about yr.
A foil with 56.7 g of NdO enriched to Nd at 91.0% has been used in the NEMO-3 experiment to measure the half-life of the decay to excited level of the Nd [38] (the set-up has already been described in Section 3). In the case of the double beta decay of Nd to the excited level of Sm both electrons and gamma have been measured to reconstruct the full kinematics of the decay. A preliminary analysis has been performed in a PhD thesis and not published [38].
Another investigation on the decay of Nd to the excited level of Sm was also performed at the Kimballton Underground Research Facility [31] at a depth of 1450 m w.e. A compressed NdO powder of 50.00 g enriched to 93.60% in Nd was placed, in a sandwich–like configuration, between the two HP-Ge detectors of the set-up already-discussed in Section 3, see Figure 3 (left). The strategy was to investigate the coincidences in the two HP-Ge detectors between the two quanta emitted in the de-excitation of the Sm level. The experiment suffers of low detection efficiency; however, the possibility to identify the signal and the reached high signal-to-background ratio allowed to have enough sensitivity for the sought effect. The coincidence spectrum of both the HP-Ge detectors, corresponding to 642.8 days of measurement, is reported in Figure 9. After discarding the vetoed events and subtracting the background, () events in coincidence were observed and the half-life of the decay has been established to yr [31].
Figure 9.
Coincidence plots collected in the experiment at Kimballton: (a) spectrum of events with energy around 406 keV in coincidence with a gamma of 334.0 keV; (b) spectrum of events with energy around 334 keV in coincidence with a gamma of 406.5 keV. Reprinted from Reference [31] with permission from American Physical Society.
At present an experiment to perform a further measurement of the decay to excited states of Nd is ongoing at the STELLA facility of LNGS [14], using NdO powder as source. This powder, used also in previous measurements [17,37], has preliminarily undergone chemical and physical purification procedures based on the precipitation of the material from a solution and on the liquid-liquid extraction method [39,40]. The powder was then pressed into 20 cylindrical tablets ( mm each), corresponding to a total mass of 2.381 kg. The tablets were placed in GeMulti gamma spectrometer (see Section 3 and Figure 5 (left)), where time and amplitude of events in each detector are recorded. The energy resolution of the four spectrometers has been estimated by standard gamma sources. During the data taking the energy scale and the resolution of the detectors have been monitored by considering few background peaks.
The approach pursued by the experiment is the measurement of the cumulative spectrum collected with the four HP-Ge detectors to point out the presence of the 334.0 keV and the 406.5 keV peaks ascribed to the gamma transitions from the Sm excited level. In addition, the coincidence spectrum has also been studied. In the decay searched for, in fact, one expects to observe the two de-excitation gammas in coincidence in two different HP-Ge detectors.
In particular, a dedicated correlation analysis of the two gamma lines in the energy spectrum acquired by the HPGe diodes has been performed. The presence of such correlated events is the signature of the sought decay. In the last analysis (previous data releases were reported in [41,42]) the data collected over 34,174 h have been considered [43]. The background spectrum obtained in 7862 h of measurement without inserting in GeMulti the NdO powder has also been considered for comparison. The cumulative energy spectra obtained in this experiment are reported in Figure 10. In particular, in the left and right plots one can see the excess of events observed at 334.0 keV and at 406.5 keV respectively. The estimated number of counts for these two peaks was and (, respectively.
Figure 10.
Spectra collected over 34,174 h by measuring NdO powder in the four HP-Ge detectors (GeMulti) at STELLA facility of LNGS. The two plots refer to the regions of interest to search for de-excitation gamma of the level of Sm [43].
The two expected peaks have also been observed in the two coincidence spectra (see Figure 11). In particular, the obtained number of coincidence events is: . On the contrary, there is no evidence for peaks in the background coincidence spectrum, achieved by random coincidences when the energy of events in one of the detectors is taken as 375 keV , where no gamma is expected (see Figure 11 (bottom)). From a combined analysis of these measurements, a preliminary value for the half-life of the double beta decay of Nd to the excited level of Sm has been set as: yr [43].
Figure 11.
Coincidence spectra obtained in the experiment performed at STELLA facility of LNGS by using the four HP-Ge (GeMulti) detectors. In the top (middle) plot the spectrum of events with energy around 334 keV (406.5 keV) measured in coincidence with a 406.5 keV (334.0 keV) gamma in one HP-Ge detector is reported; the plot in the bottom represents a random coincidence background spectrum, see text and Reference [43].
Finally, the half-life measurements available so far for the double beta decay of Nd to the excited level of Sm are summarized in Table 3. The number of observed counts (N) and the signal-to-background ratio (S/B) are also reported. The average value has been calculated following the procedure recommended by the Particle Data Group [32], and considering that the values of References [17,41,42] are preliminary and are not included in the average. Further more accurate measurements are foreseen by the experiment at LNGS, still running in order to increase the statistics and improve the sensitivity to the studied process.
Table 3.
Half-life values of the decay of Nd to the excited level of Sm measured so far by different experiments. N is the number of detected events or coincidences and S/B is the signal/background ratio.
5. Limits Achieved in the Search for Other Decay to Excited Levels
Many other results on different isotopes have been obtained in the search for double beta decay to excited levels of the daughter nuclei. In this section we only summarize the results of those isotopes more considered in the field. For the others isotopes we invite the reader to the bibliography [7,8,29,44,45,46,47,48,49,50,51,52,53,54,55,56,57,58,59].
The best present experimental results on the half-life, , of the decay ( and ) to the excited levels of daughter nuclei for some of the isotopes most considered in the field are reported in Table 4. There, for simplicity only the transitions to the first and excited levels of daughter nucleus are considered. This is justified by the fact that higher excited levels correspond to lower decay rates and longer half-lives; moreover, other excited levels with larger multipolarity are strongly suppressed by the selection rules.
Table 4.
Present best experimental results on the half-life, , of the decay ( and ) to the excited levels of daughter nuclei (limits are at 90% C.L.) for some of the isotopes most considered in the field. Only the transitions to the first and excited levels of the daughter nucleus, if energetically allowed, are considered. See text.
Thus, considering that the transitions to the level are more suppressed than those to the level, and that the decay to the level provides a coincidences with two photons while only one photon is expected for the de-excitation of the level, it appears very intriguing the study of the decay. Actually, the only positive evidences are indeed obtained just for the decay (see Section 3 and Section 4).
The decay to excited levels is allowed only for four nuclides and only involving the level of the daughter nucleus. The best present experimental results on the half-life, , of the decay ( and ) to the excited levels of daughter nuclei for all the isotopes where this transition is allowed are reported in Table 5. The reported measurements have been obtained by a BaF crystal scintillator (mass of 3615 g) and two low background NaI(Tl) detectors for tagging [83] within the DAMA activities. Moreover, the measurements by the DAMA-INR Kyiv collaboration at LNGS, obtained with CdWO crystal scintillator in GeMulti [56] and in a closed (anti-)coincidence with two CdWO [84] (see Section 5.3), are also reported.
Table 5.
All the isotopes where the decay ( and ) to the excited levels of daughter nuclei is allowed. When available, the present best experimental result on (limits are at 90% C.L.) is reported. Only transitions to the first excited level of the daughter nucleus are allowed. See text.
Let us note that a limit on the half-lives for all decay modes of Ba has been estimated by a geochemical experiment in Reference [47] as yr (90% C.L.) [45]. As shown, for the other nuclides there are no measurement yet.
Finally, Table 6 and Table 7 show the present best experimental results on the half-life, , of the and decay to the excited levels of daughter nuclei for some of the isotopes most considered in the field. As in Table 4, only the and excited levels, if energetically allowed, of the daughter nucleus are considered. In the following, for the decay mode to the ground or to the excited levels of the daughter nucleus, we assume that the energy excess is taken away by bremsstrahlung quanta with energy , where are the binding energies of the captured electrons in the atomic shells of the daughter atom, and is the energy of the reached excited level. The experimental results available for resonant decay modes (see Section 2) are instead summarized in Table 8. Let us note that most of the limits reported in Table 4, Table 5, Table 6, Table 7 and Table 8 have been obtained within the DAMA activities and by the DAMA-INR Kyiv collaboration at LNGS (see also in the following, Section 5.3 and Section 5.4).
Table 6.
Some of the isotopes most considered in the field of the decay ( and ) to the excited levels of daughter nuclei. When available, the present best experimental result on is also reported (limits are at 90% C.L.). Only the transitions to the first and excited levels of the daughter nucleus, if energetically allowed, are considered. See text.
Table 7.
Some of the isotopes most considered in the field of the decay ( and ) to the excited levels of daughter nuclei. When available, the present best experimental result on is also reported (limits are at 90% C.L.). Only the transitions to the first and excited levels of the daughter nucleus, if energetically allowed, are considered. See text.
Table 8.
Present best experimental results on of the resonant decay (limits are at 90% C.L.) for some of the isotopes most considered in the field. See text.
In the following, we illustrate the used techniques and their potentiality, taking as example some of the experiments in the field of , , , and decay to excited levels of daughter nuclei.
5.1. Examples of Experiments with Germanium Detectors as Active Source
The germanium detectors were one of the first kind of detectors ever used in the field of decay; the first experimental study on decay to the excited levels of the daughter nuclei was indeed reported by a germanium detector [12]. Since germanium contains the Ge nuclide (natural isotopic abundance 7.8%) and isotopic enrichments are also possible and feasible, the detector coincides with the source itself. Thus, Ge is one of the most investigated isotopes for the decay ( keV [93]); it can decay to three excited levels of the daughter nucleus, Se, with clear event signatures consisting of a decay followed by the prompt emission of one or two quanta. The level scheme of such a decay is reported in Figure 12.
Figure 12.
Scheme of decay of Ge to the ground state and to the first excited levels of Se. The energies of the levels and the relative main branching ratios are taken from Reference [94].
Progress and efforts in the improvements of low-level of radioactivity measurements techniques has favoured the studies on double beta decay of Ge isotope. This is the case, for example, of the half-life limits achieved for the of Ge to excited states of Se deduced from the background screening of a passive shield using an HP-Ge detector in Reference [95]. Present results, indeed, have been profited of a long history of experimental technical improvements, of new deep underground laboratories and an increase of expertise in the sector.
The two most sensitive Ge-based experiments running nowadays are GERDA experiment and MAJORANA DEMONSTRATOR (MJD). Actually, both experiments have reached a sensitivity, for the half-life of the double beta decay to excited states of daughter nucleus, at the level of yr. In particular, the MJD has published the most stringent limits for all the processes to excited levels of Se, both for and emission, as reported in Table 4. Thus, in the following, such results will be briefly described.
The MJD experiment is located deep underground at Sanford Laboratory, and consists of two modules, each one composed of an array of HP-Ge detectors operated in vacuum and cooled down with two separate cryostats. The granularity of the set-up, common in the sector of rare events, allows a powerful discrimination of the event signature from background. The total number of HP-Ge detectors are 58 with a total mass of 44.1 kg, 28.7 kg of which is enriched to 88% to Ge and the remaining 15.4 kg detectors have the natural isotopic abundance 7.8%. The shield of the detectors is composed of underground electroformed copper, commercially oxygen-free copper, and lead (see Figure 13 (left)). A radon removal system and a neutron shield are also present. The events have been selected in the region of interest (ROI) considering the expected quanta from the de-excitations of the energy levels of Ge, as reported in Figure 13 (right). The data analysis is based on the double coincidence between the detector where decay occurred releasing the energy of the two electrons and a second detector where the de-excitation rays are detected. To evaluate the detection efficiency, a Monte Carlo simulation has been developed. The complete analysis is described in Reference [62], and no effect has been observed. Therefore, the upper limits for the T of decay of Ge to the excited states of Se after an exposure of 41.9 kg × yr–corresponding to a 21.3 kg × yr for the isotopic exposure of Ge–have been inferred. In particular, the half-life limits for the and transitions with/without neutrinos are reported in Table 4, while the half-life limits for the keV) transitions are: yr for the decay and yr for the decay [62].
Figure 13.
(left) Picture of the shield of MJD. It is possible to see the lead bricks and the inner copper shield (taken from Reference [96]). (right) MAJORANA measured energy spectrum after applying all the cuts (black histogram); the signal (ES=excited state) for the decay of Ge to the level of Se is searched for in the energy region of the two expected gamma quanta: 559 keV and 563 keV. The background (BG) ROI where the background is evaluated is labelled too. Reprinted from Reference [97] under the terms of the Creative Commons Attribution 3.0 licence.
The GERmanium Detector Array (GERDA) experiment [98,99] is operating 37 detectors made from material enriched in Ge and a total mass of 35.6 kg within a cryostat containing liquid argon (LAr) at LNGS. The experiment profits from the shielding of the LAr and its scintillation properties. The Ge detectors are installed in strings, and each detector-string is enclosed within a cylinder, made of 60 m thick Cu foil, called “mini-shroud” for mitigating K background due to the Ar decay. Moreover, all the detector-strings are enclosed in a radon shroud made by a copper shield [98,99]. GERDA to date published limits for the decay to the excited (, , ) levels of Se at level of yr [100]. For such analysis the GERDA exposure, in terms of Ge isotopic exposure, is of 22.3 kg × yr [100].
Considering that the exposures of GERDA and MJD are rather similar, the better performance of MJD, in terms of sensitivity, with respect to GERDA can be attributed to: (i) MJD has higher detection efficiency in the ROI because of the LAr surrounding the GERDA HP-Ge detectors (not present in MJD); (ii) the dominant background in GERDA in the ROI for excited state decays is due to the decay of K in its LAr shield (not present in MJD); (iii) MJD has better energy resolution due to the absence of cross-talk between detectors, which worsened GERDA’s resolution for multi-detector events [62].
5.2. Example of Bolometer Experiments as Active Source
The Te is another among-the-most investigated isotopes for the decay ( keV [101,102,103]). The decay scheme of Te to the Xe is shown in Figure 14.
Figure 14.
Scheme of decay of Te to the ground state and to the first excited levels of Te (reprinted from Reference [72] under the terms of the Creative Commons Attribution 4.0 licence). The energies of the levels and the relative main branching ratios are taken from Reference [102].
To date, CUORE collaboration has reached the most competitive limits on the decay of Te in the excited state of Xe. In particular, CUORE experiment, in its first stage named CUORE-0 experiment, has measured the most stringent limit on the decay to the 0 excited state in Xe [72], improving its previous limit by the CUORE prototype experiment named CUORICINO and applying the same strategy and data analysis in both the studies [104]. However, CUORE-0 and CUORICINO have not investigated the decay of Te to the first (536.09 keV, ) and second (1122.15 keV, ) excited levels of Xe. CUORE experiment is a cryogenic calorimeter using bolometers of TeO crystals with natural abundance in Te (34.2% [105]). Each crystal is a cube with 5 cm of edge, arranged in 19 towers; each tower is made by 52 TeO crystal bolometers. CUORE-0 had been using only one tower of the CUORE experiment program (see Figure 15 (left)). The crystals of each tower are arranged in a copper frame into 13 floors, with each floor containing four crystals. The mass of each crystal is 750 g, each tower corresponds to 39 kg of TeO and the isotopic mass of Te is 10.8 kg. The operation temperature of each crystal is about 10 mK, monitored by a neutron transmutation doped thermistor [106] glued to the crystal surface. Different layers of shielding, as for example, an internal low-background Roman lead layer and an external anti-radon box, surround the cryostat and the crystals [107,108,109].
Figure 15.
(left) The CUORE-0 tower (reprinted from Reference [107] with permission from IOP Publishing). (right) CUORE-0 spectra for the one of five signatures selected for the decay of Te to the level of Xe. The blue histogram shows the data without any energy related cut; the reconstruction of the background model is shown in red; in black are data with energy cuts [72]. The black arrow points to the location of the expected peak. In particular this scenario considers three hits from 3 different detectors, in the same coincidence time window. One crystal must contain a signal with energy in the range keV; another one must have energy in the keV range. No requirement is imposed on the energy deposited in the third crystal. Reprinted from Reference [72] under the terms of the Creative Commons Attribution 4.0 licence.
Considering the granularity of the multi-detectors set-up, several coincidence scenarios have been applied. The strategy, indeed, profits of a coincidence/anticoincidence logic between a first detector where the beta energy is released and a second or more detectors where the de-excited ’s are fully absorbed (see for example Figure 15 (right)). The details of the analysis are reported in Reference [72]. Taking into account the data combination of CUORE-0 and CUORICINO, the achieved half-life limits for the case of and to the 0 excited level of Xe are (at 90% C.L.) [72]: and
To complete the picture about the investigation in the decay of Te to excited levels of Xe, the following limits have also been reached: by exposing tellurium samples to a germanium detector [70], by using the calorimetric approach [71], and by exposing tellurium samples to two germanium detectors [110].
5.3. Examples of Experiments with Low-Background Scintillators
Low-background scintillators in double beta decay searches are used, in particular, within the DAMA activities and by the DAMA-INR Kyiv collaboration. In this Section a few of these activities will be summarized.
The AURORA experiment took data at LNGS for five years to investigate decay processes in Cd with 1.162 kg of enriched CdWO scintillators [68]. Two cadmium tungstate crystals (580 g and 582 g) produced by means of the low-thermal-gradient Czochralski crystal growth technique from highly purified cadmium enriched in Cd to 82% were used in the experiment. After several upgrades aiming at improving the detector background and energy resolution, the scintillators in the final stage were fixed inside polytetrafluoroethylene containers (see Figure 16) filled up with ultra-pure pseudocumene based liquid scintillator (LS). The passive shield and the plexiglas box for the radon removal system are shown in Figure 16 (left).
Figure 16.
(left) Schematic view of the last AURORA set-up assembling. The two CdWO crystal scintillators (1) are fixed in Teflon containers (2) filled up with liquid scintillator (3) and viewed through quartz light-guides (4) by photomultipliers (5). The passive shield consisted of high purity copper (6), additional high purity copper shield (6a), low radioactive lead (7), cadmium (8), polyethylene/paraffin (9), and plexiglas box for the radon removal system (10) [68]. (right) The energy spectrum of events accumulated over 26831 h with the CdWO detectors together with the main components of the background model and the decay contribution (blue curve) [68]. Figures reprinted from Reference [68] with permission from American Physical Society.
There is a clear signature of the Cd decay distribution in the energy spectrum of events selected by using the pulse-shape, time-amplitude and front-edge analyzes of the data accumulated over 26831 h (blue curve in Figure 16 (right)). The half-life relatively to decay to the ground state has precisely been measured as: yr. Stringent limits for decay transitions to excited levels of Sn (see Figure 17 (left)) have also been obtained [68], and some of them are reported in Table 4.
Figure 17.
Simplified decay schemes of Cd (left) and of Cd (right). The energies of the excited levels and the emitted quanta are in keV; the relative intensities of quanta are given in parentheses. Their values are taken from References [68,84].
Another isotope of cadmium, Cd, has been studied in an experiment, still running at LNGS, in the DAMA/CRYS set-up. In particular, a CdWO crystal scintillator was the used detector [84]. The scheme of the experimental set-up is shown in Figure 18 (top). Two CdWO crystal scintillators include a cylindrical cut-out to house the CdWO crystal. The detector system was surrounded by four high purity copper bricks, low radioactive copper and lead, cadmium, and polyethylene in order to reduce the external background. Figure 18 (bottom), shows the energy spectrum of the events accumulated for 26033 h by the CdWO scintillation detector in anti-coincidence with the CdWO counters together with the background model [84]. The excluded distribution of the decay of Cd to the ground state of Pd is also shown [84]. This experiment allowed to set new improved limits on various channels of Cd double beta decay at the level of yr (see Figure 17, right) [84]. In particular, for the channel to the ground state the half-life was estimated as yr [84]. The sensitivity is within the region of the theoretical predictions for the decay probability that are in the range of yr [84]. Some of these limits for decay channels to excited levels of Pd—obtained by the running experiments and in their previous stages— are also reported in Table 5, Table 6, Table 7 and Table 8.
Figure 18.
(top) Schematic of the experimental set-up with the CdWO crystal scintillation detector (1), viewed through PbWO light-guide (2) by PMT (3). Two CdWO crystal scintillators (4) are viewed through light-guides glued from quartz (5) and polystyrene (6) by PMTs (7). The detector system was shielded by copper, lead, cadmium, and polyethylene (not shown). Only part of the copper details (8) is shown [84]. (bottom) Energy spectrum of the events accumulated for 26.033 h by the CdWO scintillation detector in anti-coincidence with the CdWO counters together with the background model (red line). The excluded distribution of the decay of Cd to the ground state of Pd with the half-life yr is shown by red solid line [84]. Figures reprinted from Reference [84] under the terms of the Creative Commons Attribution license.
The next stage of experiment is running at LNGS in the DAMA/R&D set-up with an improved sensitivity to all of the decay channels, thanks to the reduction of the background approximately by a factor 3–5 due to ultra-radiopure PMTs, longer quartz light-guides for the CdWO counters, and a more powerful passive shield of the detector system. The energy resolution of the CdWO detector was also improved. As a result, the sensitivity to the decay of Cd to the ground state is expected to be high enough to detect the process with the half-life at level of yr over five yr of measurements. Consequently, further improvements in the sensitivities to the transitions to the excited levels are also expected.
5.4. Some Other Experiments Exploiting the Passive Source Approach
The passive source approach has been exploited for some of the above-mentioned experiments. In this Section we briefly summarize the measurements carried out by the HP-Ge spectrometers at the STELLA facility of LNGS [14] by the DAMA-INR Kyiv collaboration (see also Section 3 and Section 4). These detectors are mainly used for material screening needed for the experiments installed in the underground laboratories and the high level of their performance as ultra-low-level detector systems allows for detecting extremely low radioactivity levels in materials (typically down to the Bq kg level). Some HP-Ge are used to search for various rare nuclear processes, which are accompanied by emission of gamma quanta and therefore also for double beta decays to excited states.
The experiments were carried out by using:
- the ultra-low background HP-Ge spectrometer GeCris (465 cm, 120% relative efficiency with respect to a 3″ × 3″ sodium iodine detector [14]). The detector is shielded with low radioactivity lead (∼25 cm), copper (∼5 cm), and, in the inner-most part, with archaeological Roman lead (∼ 2.5 cm). The set-up is placed in an air-tight poly-methyl-methacrylate box and flushed with high purity nitrogen gas to exclude the environmental radon. The purified samples were enclosed in a cylindrical polystyrene box on the HP-Ge detector end cap.
- the GeMulti set-up (made of four HP-Ge detectors inside the same cryostat; ≃225 cm each one). The detectors are surrounded by a passive shield made of low radioactivity copper ( cm) and low radioactivity lead (≃25 cm). The set-up is continuously flushed with high purity nitrogen to remove residual radon.
- the ultra-low background HP-Ge detector GeBer (244 cm). The detector is located inside a passive shield made of low radioactivity lead (≈20 cm), copper ( cm) and borated polyethylene (≈10 cm). To remove radon, the set-up is continuously flushed by highly pure nitrogen.
The typical energy resolution of the detectors is 2.0 keV at the 1332.5 keV line of Co. Other HP-Ge detectors are also used for radio-purity measurements [14]. The detection efficiencies of the processes searched for were Monte-Carlo simulated by using the EGSnrc [111] package and the GEANT4 package [112,113,114], with initial kinematics given by the DECAY0 event generator [115,116].
In particular, the measurements on Mo and Nd in GeMulti have already been discussed in Section 3 and Section 4, respectively. Campaigns of measurements were performed on a quite large number of elements containing isotopes candidates for decay: samarium (Sm, Sm) [76], ytterbium (Yb, Yb) [78], erbium (Er, Er) [77], cerium (Ce) [86,117,118], ruthenium (Ru, Ru) [55,119], osmium (Os, Os) [81], platinum (Pt, Pt) [82], dysprosium ( Dy, Dy) [87], cadmium (Cd) [120], and tin (Sn, Sn) [121].
Some of these measurements are part of a program to explore the possibility to purify lanthanide elements and, using the purified samples, also to study their processes in low-scale experiments [41,77,78,118]. The interest in purification is mainly related to Nd, Gd, and also rare-earth nuclides, which are among the most promising candidates for decay searches. For samarium, ytterbium, erbium and dysprosium, the material contamination has been investigated by Inductively Coupled Plasma-Mass Spectrometry (ICP-MS). To reduce the observed radioactive contamination for samarium, ytterbium, erbium and cerium, purification of the material was performed using a combination of the sedimentation (precipitation) and liquid-liquid extraction [39] methods. The liquid-liquid extraction method has been proved to be the most effective technique for the purification of lanthanides from uranium and thorium traces [39,77,118].
Thanks to the procedures for purification of the used samples, to the high-purity and low-background HPGe detectors and to the underground facility, high sensitivities to the double beta decays to excited states have been reached; namely the best limits span from to yr, as reported in Table 4, Table 5, Table 6, Table 7 and Table 8.
6. Perspectives And Conclusions
The current interest and status of the experimental searches for decay to the excited states of daughter nuclei have been outlined. In particular, several results have been obtained as a by-product of experiments whose main goal was the investigation of the decay to the ground state. Further results profit of a wide variety of experimental set-ups with different sizes, even using materials enriched in the isotopes candidates for decay. The improvements in low-background techniques, the chemical/physical purification of the used materials, and the possibility to locate the experiments in suitable underground sites allow for further background suppression. The large variety of techniques and experimental set-ups leads to perspectives in further improvements of the reachable sensitivities. Thus, in addition to the decay to the excited levels already-observed for the Mo and Nd cases, we could expect in future to have enough sensitivity for the detection of decay to the excited levels in other isotopes, as for example Zr. Moreover, in the theoretical predictions reported in the framework of QRPA and pnQRPA nuclear models [122], values in the range yr are reported for several nuclides both for decay to the and even excited levels. All this gives the possibility to detect in near-future experiments even the transitions, which allow the field to access new information.
As it is well known, large efforts are planned in the future in the whole decay field. For example, new results are foreseen by the CUORE experiment (using all its towers) at LNGS improving its half-life sensitivities [123], while – in the future—the two germanium collaborations (see Section 5.1) plan to join their efforts in the new LEGEND project, aiming at improving the sensitivity to the decay in Ge. Among the other existing efforts, the DAMA-INR Kiev collaboration is working in the purification of lanthanides aiming at improving the sensitivity in the passive source approach, and at growing crystals containing candidate isotopes to be used as scintillators in source=detector approach.
All similar activities, when suitably supported, will also allow the investigation of the decay to the excited states of daughter nuclei with significantly improved sensitivity, and thus increasing our knowledge in the nuclear matrix elements and in the dynamics of the process.
Author Contributions
All the authors of this paper have been significantly contributing to the presented review of experimental results. All authors have read and agreed to the published version of the manuscript.
Funding
This research received no external funding.
Acknowledgments
It is a pleasure to thank all our collaborators in the searches on related fields.
Conflicts of Interest
The authors declare no conflict of interest.
References
- Goeppert-Mayer, M. Double Beta-Disintegration. Phys. Rev. 1935, 48, 512. [Google Scholar] [CrossRef]
- Furry, W.H. On Transition Probabilities in Double Beta-Disintegration. Phys. Rev. 1939, 56, 1184. [Google Scholar] [CrossRef]
- Hirsch, M.; Muto, K.; Oda, T.; Klapdor-Kleingrothaus, H.V. Nuclear structure calculation of β+β+, β+/EC and EC/EC decay matrix elements. Z. Phys. A 1994, 347, 151–160. [Google Scholar] [CrossRef]
- Winter, R.G. Double K Capture and Single K Capture with Positron Emission. Phys. Rev. 1955, 100, 142–144. [Google Scholar] [CrossRef]
- Voloshin, M.B.; Mitselmakher, G.V.; Eramzhyan, R.A. Conversion of an atomic electron into a positron and double β+ decay. JETP Lett. 1982, 35, 656–659. [Google Scholar]
- Bernabeu, J.; De Rujula, A.; Jarlskog, C. Neutrinoless double electron capture as a tool to measure the electron neutrino mass. Nucl. Phys. B 1983, 223, 15–28. [Google Scholar] [CrossRef]
- Blaum, K.; Eliseev, S.; Danevich, F.A.; Tretyak, V.I.; Kovalenko, S.; Krivoruchenko, M.I.; Novikov, Y.N.; Suhonen, J. Neutrinoless Double-Electron Capture. arXiv 2020, arXiv:2007.14908. [Google Scholar]
- Krivoruchenko, M.I.; Simkovic, F.; Frekers, D.; Faessler, A. Resonance enhancement of neutrinoless double electron capture. Nucl. Phys. A 2011, 859, 140. [Google Scholar] [CrossRef]
- Georgi, H.M.; Glashow, S.L.; Nussinov, S. Unconventional model of neutrino masses. Nucl. Phys. B 1981, 193, 297–316. [Google Scholar] [CrossRef]
- Eliseev, S.A.; Novikov, Y.N.; Blaum, K. Search for resonant enhancement of neutrinoless double-electron capture by high-precision Penning-trap mass spectrometry. J. Phys. G 2012, 39, 124003. [Google Scholar] [CrossRef]
- Belli, P. Special Issue: Low Background Techniques. Int. J. Mod. Phys. A 2017, 32. [Google Scholar] [CrossRef]
- Fiorini, E. Neutrino ’77-Proceed. of the Intern. Conf. on Neutrino Physics and Neutrino Astrophysics, Baksan Valley, 18–24 June, 1977; Nauka: Moscow, Russia, 1978; Volume 2, pp. 315–320. [Google Scholar]
- Bellotti, E.; Fiorini, E.; Liguori, C.; Pullia, A.; Sarracino, A.; Zanotti, L. An experimental investigation on lepton number conservation in double-beta processes. Lett. Nuovo Cim. 1982, 33, 273. [Google Scholar] [CrossRef]
- Laubenstein, M. Screening of materials with high purity germanium detectors at the Laboratori Nazionali del Gran Sasso. Int. J. Mod. Phys. A 2017, 32, 1743002. [Google Scholar] [CrossRef]
- Barabash, A.S. A possibility for experimentally observing two-neutrino double beta decay. JETP Lett. 1990, 51, 207–209. [Google Scholar]
- Barabash, A.S.; Avignone, F.T.; Collar, J.I.; Guerard, C.K.; Arthur, R.J.; Brodzinski, R.L.; Miley, H.S.; Reeves, J.H.; Meier, J.R.; Ruddick, K.; et al. Two neutrino double-beta decay of 100Mo to the first excited 0+ state in 100Ru. Phys. Lett. B 1995, 345, 408. [Google Scholar] [CrossRef]
- Barabash, A.S.; Hubert, F.; Hubert, P.; Umatov, V.I. Double-beta decay of 150Nd to the first excited state of 150Sm*. Phys. Atom. Nucl. 2004, 67, 1216–1219. [Google Scholar] [CrossRef]
- Meija, J.; Coplen, T.B.; Berglund, M.; Brand, W.A.; De Biévre, P.; Gröning, M.; Holden, N.E.; Irrgeher, J.; Loss, R.D.; Walczyk, T.; et al. Isotopic compositions of the elements 2013 (IUPAC Technical Report). Pure Appl. Chem. 2016, 88, 293. [Google Scholar] [CrossRef]
- Wang, M.; Audi, G.; Kondev, F.G.; Huang, W.J.; Naimi, S.; Xing, X. The Ame2016 atomic mass evaluation. Chin. Phys. C 2017, 41, 030003. [Google Scholar] [CrossRef]
- Armengaud, E.; Augier, C.; Zolotarova, A.S. Precise measurement of 2νββ decay of 100Mo with the CUPID-Mo detection technology. Eur. Phys. J. C 2020, 80, 674. [Google Scholar] [CrossRef]
- Arnold, R.; Augier, C.; Barabash, A.S.; Basharina-Freshville, A.; Blondel, S.; Blot, S.; Bongrand, M.; Brudanin, V.; Busto, J.; Caffrey, A.J.; et al. Investigation of double beta decay of 100Mo to excited states of 100Ru. Nucl. Phys. A 2014, 925, 25–36. [Google Scholar] [CrossRef]
- Singh, B. Nuclear Data Sheets for A = 100. Nucl. Data Sheets 2008, 109, 297. [Google Scholar] [CrossRef]
- Barabash, A.S.; Gurriaran, R.; Hubert, F.; Hubert, P.; Umatov, V.I. 2νββ decay of 100Mo to the first 0+ excited state in 100Ru. Phys. At. Nucl. 1999, 62, 2039–2043. [Google Scholar]
- De Braeckeleer, L.; Hornish, M.; Barabash, A.; Umatov, V. Measurement of the ββ-Decay Rate of 100Mo to the First Excited 0+ State of 100Ru. Phys. Rev. Lett. 2001, 86, 3510–3513. [Google Scholar] [CrossRef]
- Hornish, M.J.; De Braeckeleer, L.; Barabash, A.S.; Umatov, V.I. Double β decay of 100Mo to excited final states. Phys. Rev. C 2006, 74, 044314. [Google Scholar] [CrossRef]
- Arnold, R.; Augier, C.; Baker, J.; Barabash, A.S.; Bongrand, M.; Broudin, G.; Brudanin, V.; Caffrey, A.J.; Egorov, V.; Etienvre, A.I.; et al. Measurement of double beta decay of 100Mo to excited states in the NEMO 3 experiment. Nucl. Phys. A 2007, 781, 209–226. [Google Scholar] [CrossRef]
- Kidd, M.F.; Esterline, J.H.; Tornow, W.; Barabash, A.S.; Umatov, V.I. New results for double-beta decay of 100Mo to excited final states of 100Ru using the TUNL-ITEP apparatus. Nucl. Phys. A 2009, 821, 251–261. [Google Scholar] [CrossRef]
- Belli, P.; Bernabei, R.; Boiko, R.S.; Cappella, F.; Cerulli, R.; Danevich, F.A.; d’Angelo, S.; Incicchitti, A.; Kobychev, V.V.; Kropivyansky, B.N.; et al. New observation of 2β2ν decay of 100Mo to the level of 100Ru in the ARMONIA experiment. Nucl. Phys. A 2010, 846, 143–156. [Google Scholar] [CrossRef]
- Barabash, A.S. Average and recommended half-life values for two-neutrino double beta decay. Nucl. Phys. A 2015, 935, 52. [Google Scholar] [CrossRef]
- Blum, D.; Busto, J.; Campagne, J.E.; Dassié, D.; Hubert, F.; Hubert, P.; Isaac, M.C.; Izac, C.; Jullian, S.; Kouts, B.N.; et al. Search for γ-rays following ββ decay of 100Mo to excited states of 100Ru. Phys. Lett. B 1992, 275, 506. [Google Scholar] [CrossRef]
- Kidd, M.F.; Esterline, J.H.; Finch, S.W.; Tornow, W. Two-neutrino double-β decay of 150Nd to excited final states in 150Sm. Phys. Rev. C 2014, 90, 055501. [Google Scholar] [CrossRef]
- Zyla, P.A.; Barnett, R.M.; Beringer, J.; Dahl, O.; Dwyer, D.A.; Groom, D.E.; Lin, C.J.; Lugovsky, K.S.; Pianori, E.; Robinson, D.J.; et al. Particle Data Group, Review of Particle Physics. Prog. Theor. Exp. Phys. 2020, 2020, 083C01. [Google Scholar]
- Kolhinen, V.S.; Eronen, T.; Gorelov, D.; Hakala, J.; Jokinen, A.; Kankainen, A.; Moore, I.D.; Rissanen, J.; Saastamoinen, A.; Suhonen, J.; et al. Double-β decay Q Value 150Nd. Phys. Rev. C 2010, 82, 022501. [Google Scholar] [CrossRef]
- Artemiev, V.; Brakchman, E.; Karelin, A.; Kirichenko, V.; Klimenko, A.; Kozodaeva, O.; Lubimova, V.; Mitin, A.; Osetrov, A.; Paramokhin, V.; et al. Half-life measurement of 150Nd 2β2ν decay in the time projection chamber experiment. Phys. Lett. B 1995, 345, 564. [Google Scholar] [CrossRef]
- De Silva, A.; Moe, M.K.; Nelson, M.A.; Vient, M.A. Double β decays of 100Mo and 150Nd. Phys. Rev. C 1997, 56, 2451. [Google Scholar] [CrossRef]
- Arnold, R.; Augier, C.; Baker, J.D.; Barabash, A.S.; Basharina-Freshville, A.; Blondel, S.; Blot, S.; Bongrand, M.; Brudanin, V.; Busto, J.; et al. Measurement of the 2νββ decay half-life of 150Nd and a search for 0νββ decay processes with the full exposure from the NEMO-3 detector. Phys. Rev. D 2016, 94, 072003. [Google Scholar] [CrossRef]
- Barabash, A.S.; Hubert, P.; Nachab, A.; Umatov, V.I. Investigation of ββ decay in 150Nd and 148Nd to the excited states of daughter nuclei. Phys. Rev. C 2009, 79, 045501. [Google Scholar] [CrossRef]
- Blondel, S. Optimisation du Blindage Contre les Neutrons pour le Demonstrateur de SuperNEMO et Analyse de la Double Desintegration Beta du Neodyme-150 vers les Etats Excites du Samarium-150 Avec le Detecteur NEMO-3. Ph.D. Thesis, LAL (Laboratoire de l’Accélérateur Linéaire–Université Paris-Saclay), Orsay, France, 2013. [Google Scholar]
- Boiko, R.S. Chemical purification of lanthanides for low-background experiments. Int. J. Mod. Phys. A 2017, 32, 1743005. [Google Scholar] [CrossRef]
- Polischuk, O.G.; Barabash, A.S.; Belli, P.; Bernabei, R.; Boiko, R.S.; Cappella, F.; Cerulli, R.; Danevich, F.A.; Incicchitti, A.; Laubenstein, M.; et al. Purification of lanthanides for double beta decay experiments. AIP Conf. Proc. 2013, 1549, 124. [Google Scholar]
- Barabash, A.S.; Belli, P.; Bernabei, R.; Boiko, R.S.; Cappella, F.; Caracciolo, V.; Cerulli, R.; Danevich, F.A.; Di Marco, A.; Incicchitti, A.; et al. Double beta decay of 150Nd to the first excited level of 150Sm: Preliminary results. Nucl. Phys. Energy 2018, 19, 95. [Google Scholar] [CrossRef]
- Kasperovych, D.V.; Barabash, A.S.; Belli, P.; Bernabei, R.; Boiko, R.S.; Cappella, F.; Caracciolo, V.; Cerulli, R.; Danevich, F.A.; Di Marco, A.; et al. Study of double-β decay of 150Nd to the first excited level of 150Sm. AIP Conf. Proc. 2019, 2165, 020014. [Google Scholar]
- Polischuk, O.G. Presentation at ICNFP Conference. In Proceedings of the 9th International Conference on New Frontiers in Physics (ICNFP 2020), Athens, Greece, 4 September–2 October 2020. [Google Scholar]
- Tretyak, V.I.; Zdesenko, Y.G. Tables of double beta decay data—An update. At. Data Nucl. Data Tables 2002, 80, 83–116. [Google Scholar] [CrossRef]
- Barabash, A.S. Double beta decay to the excited states: Review. AIP Conf. Proc. 2017, 1894, 020002. [Google Scholar]
- Barabash, A.S. Precise Half-Life Values for Two-Neutrino Double-β Decay: 2020 review. Universe 2020, 6, 159. [Google Scholar] [CrossRef]
- Meshik, A.P.; Hohenberg, C.M.; Pravdivtseva, O.V.; Kapusta, Y.S. Weak decay of 130Ba and 132Ba: Geochemical measurements. Phys. Rev. C 2001, 64, 035205. [Google Scholar] [CrossRef]
- Pujol, M.; Marty, B.; Burnard, P.; Philippot, P. Xenon in Archean barite: Weak decay of 130Ba, mass dependent isotopic fractionation and implication for barite formation. Geochim. Cosmochim. Acta 2009, 73, 6834. [Google Scholar] [CrossRef]
- Gavrilyuk, Y.M.; Gangapshev, A.M.; Kazalov, V.V.; Kuzminov, V.V.; Panasenko, S.I.; Ratkevich, S.S. Indications of 2ν2K capture in 78Kr. Phys. Rev. C 2013, 87, 035501. [Google Scholar] [CrossRef]
- Ratkevich, S.S.; Gangapshev, A.M.; Gavrilyuk, Y.M.; Karpeshin, F.F.; Kazalov, V.V.; Kuzminov, V.V.; Panasenko, S.I.; Trzhaskovskaya, M.B.; Yakimenko, S.P. Comparative study of the double-K-shell-vacancy production in single- and double-electron-capture decay. Phys. Rev. C 2017, 96, 065502. [Google Scholar] [CrossRef]
- Agostini, M.; Allardt, M.; Bakalyarov, A.M.; Balata, M.; Barabanov, I.; Barros, N.; Baudis, L.; Bauer, C.; Bellotti, E.; Belogurov, S.; et al. Limit on the radiative neutrinoless double electron capture of 36Ar from GERDA Phase I. Eur. Phys. J. C 2016, 76, 652. [Google Scholar] [CrossRef][Green Version]
- Angloher, G.; Bauer, M.; Bauer, P.; Bavykina, I.; Bento, A.; Bucci, C.; Canonica, L.; Ciemniak, C.; Defay, X.; Deuter, G.; et al. New limits on double electron capture of 40Ca and 180W. J. Phys. G 2016, 43, 095202. [Google Scholar] [CrossRef]
- Lehnert, B.; Degering, D.; Frotscher, A.; Michel, T.; Zuber, K. A search for the radiative neutrinoless double-electron capture of 58Ni. J. Phys. G 2016, 43, 065201. [Google Scholar] [CrossRef]
- Belli, P.; Bernabei, R.; Cappella, F.; Cerulli, R.; Danevich, F.A.; d’Angelo, S.; Incicchitti, A.; Kobychev, V.V.; Poda, D.V.; Tretyak, V.I. Final results of experiment to search for 2β processes in zinc and tungsten with the help of radiopure ZnWO4 crystal scintillators. J. Phys. G 2011, 38, 115107. [Google Scholar] [CrossRef]
- Belli, P.; Bernabei, R.; Cappella, F.; Cerulli, R.; Danevich, F.A.; d’Angelo, S.; Incicchitti, A.; Kovtun, G.P.; Kovtun, N.G.; Laubenstein, M.; et al. Search for 2β decays of 96Ru and 104Ru by ultralow-background HPGe γ spectrometry at LNGS: Final results. Phys. Rev. C 2013, 87, 034607. [Google Scholar] [CrossRef]
- Belli, P.; Bernabei, R.; Brudanin, V.B.; Cappella, F.; Caracciolo, V.; Cerulli, R.; Chernyak, D.M.; Danevich, F.A.; d’Angelo, S.; Di Marco, A.; et al. Search for double-β decay in 106Cd with an enriched 106CdWO4 crystal scintillator in coincidence with four HPGe detectors. Phys. Rev. C 2016, 93, 045502. [Google Scholar] [CrossRef]
- Barabash, A.S.; Hubert, P.; Marquet, C.; Nachab, A.; Konovalov, S.I.; Perrot, F.; Piquemal, F.; Umatov, V. Improved limits on β+EC and ECEC processes in 112Sn. Phys. Rev. C 2011, 83, 045503. [Google Scholar] [CrossRef]
- Andreotti, E.; Arnaboldi, C.; Avignone, F.T., III; Balata, M.; Bandac, I.; Barucci, M.; Beeman, J.W.; Bellini, F.; Brofferio, C.; Bryant, A.; et al. Search for β+/EC double beta decay of 120Te. Astropart. Phys. 2011, 34, 643. [Google Scholar] [CrossRef][Green Version]
- Gavrilyuk, Y.M.; Gangapshev, A.M.; Kazalov, V.V.; Kuzminov, V.V.; Panasenko, S.I.; Ratkevich, S.S.; Tekueva, D.A.; Yakimenko, S.P. A technique for searching for the 2K capture in 124Xe with a copper proportional counter. Phys. Nucl. 2016, 78, 1563. [Google Scholar] [CrossRef]
- Bakalyarov, A.; Balysh, A.; Barabash, A.S.; Benes, P.; Briancon, C.; Brudanin, V.; Cermák, P.; Egorov, V.; Hubert, F.; Hubert, P.; et al. Improved Limits on β- and β-β- Decays of 48Ca. Pisma Zh. Eksp. Teor. Fiz. 2002, 76, 643. [Google Scholar] [CrossRef]
- Barabash, A.S. Limit on 2β(0νχ0)-decay of 48Ca. Phys. Lett. B 1989, 216, 257–258. [Google Scholar] [CrossRef]
- Arnquist, I.J.; Avignone, F.T., III; Barabash, A.S.; Barton, C.J.; Bertrand, F.E.; Blalock, E.; Bos, B.; Busch, M.; Buuck, M.; Caldwell, T.S.; et al. The Majorana Demonstrator’s Search for Double-Beta Decay of 76Ge to Excited States of 76Se. arXiv 2020, arXiv:2008.06014. [Google Scholar]
- Beeman, J.W.; Bellini, F.; Benetti, P.; Cardani, L.; Casali, N.; Chiesa, D.; Clemenza, M.; Dafinei, I.; Di Domizio, S.; Ferroni, F.; et al. Double-beta decay investigation with highly pure enriched 82Se for the LUCIFER experiment. Eur. Phys. J. C 2015, 75, 591. [Google Scholar] [CrossRef]
- Barabash, A.S.; Gurriarán, R.; Hubert, F.; Hubert, P.; Reyss, J.L.; Suhonen, J.; Umatov, V.I. Investigation of the ββ decay of 96Zr to excited states in 96Mo. J. Phys. G: Nucl. Part. Phys. 1996, 22, 487–496. [Google Scholar] [CrossRef]
- Argyriades, J.; Arnold, R.; Augier, C.; Baker, J.; Barabash, A.S.; Basharina-Freshville, A.; Bongrand, M.; Broudin-Bay, G.; Brudanin, V.; Caffrey, A.J.; et al. Measurement of the two neutrino double beta decay half-life of 96Zr with the NEMO-3 detector. Nucl. Phys. A 2010, 847, 168–179. [Google Scholar] [CrossRef]
- Finch, S.W.; Tornow, W. Search for two-neutrino double-β decay of 96Zr to excited states of 96Mo. Phys. Rev. C 2015, 92, 045501. [Google Scholar] [CrossRef]
- Piepke, A.; Beck, M.; Bockholt, J.; Glatting, D.; Heusser, G.; Klapdor-Kleingrothaus, H.V.; Maier, B.; Petry, F.; Schmidt-Rohr, U.; Strecker, H.; et al. Investigation of the ββ decay of 116Cd into excited states of 116Sn. Nucl. Phys. A 1994, 577, 493–510. [Google Scholar] [CrossRef]
- Barabash, A.S.; Belli, P.; Bernabei, R.; Cappella, F.; Caracciolo, V.; Cerulli, R.; Chernyak, D.M.; Danevich, F.A.; d’Angelo, S.; Incicchitti, A.; et al. Final results of the Aurora experiment to study 2β decay of 116Cd with enriched 116CdWO4 crystal scintillators. Phys. Rev. D 2018, 98, 092007. [Google Scholar] [CrossRef]
- Barabash, A.S.; Hubert, P.; Nachab, A.; Konovalov, S.I.; Vanyushin, I.A.; Umatova, V. Search for β+EC and ECEC processes in 112Sn and β-β--decay of 124Sn to the excited states of 124Te. Nucl. Phys. A 2008, 807, 269–281. [Google Scholar] [CrossRef]
- Bellotti, E.; Cattadori, C.; Cremonesi, O.; Fiorini, E.; Liguori, C.; Pullia, A.; Sverzellati, P.P.; Zanotti, L. A Search for Double Beta Decay of 128Te and 130Te Leading to the First Excited State of Daughter Nuclei. Europhys. Lett. 1987, 3, 889. [Google Scholar] [CrossRef]
- Arnaboldi, C.; Brofferio, C.; Bucci, C.; Capelli, S.; Cremonesi, O.; Fiorini, E.; Giuliani, A.; Nucciotti, A.; Pavan, M.; Pedretti, M.; et al. A calorimetric search on double beta decay of 130Te. Phys. Lett. B 2003, 557, 167–175. [Google Scholar] [CrossRef]
- Alduino, C.; Alfonso, K.; Artusa, D.R.; Avignone III, F.T.; Azzolini, O.; Banks, T.I.; Bari, G.; Beeman, J.W.; Bellini, F.; Bersani, A.; et al. Double-beta decay of 130Te to the first 0+ excited state of 130Xe with CUORE-0. Eur. Phys. J. C 2019, 79, 795. [Google Scholar] [CrossRef]
- Bernabei, R.; Belli, P.; Cappella, F.; Cerulli, R.; Montecchia, F.; Incicchitti, A.; Prosperi, D.; Dai, C.J. Search for neutrinoless ββ decay in 134Xe. Phys. Lett. B 2002, 527, 182–186. [Google Scholar] [CrossRef]
- Asakura, K.; Gando, A.; Gando, Y.; Hachiya, T.; Hayashida, S.; Ikeda, H.; Inoue, K.; Ishidoshiro, K.; Ishikawa, T.; Ishio, S.; et al. Search for double-beta decay of 136Xe to excited states of 136Ba with the KamLAND-Zen experiment. Nucl. Phys. A 2016, 946, 171–181. [Google Scholar] [CrossRef]
- Argyriades, J.; Arnold, R.; Augier, C.; Baker, J.; Barabash, A.S.; Basharina-Freshville, A.; Bongrand, M.; Broudin, G.; Brudanin, V.; Caffrey, A.J.; et al. Measurement of the double-β decay half-life of 150Nd and search for neutrinoless decay modes with the NEMO-3 detector. Phys. Rev. C 2009, 80, 032501(R). [Google Scholar] [CrossRef]
- Belli, P.; Bernabei, R.; Boiko, R.S.; Cappella, F.; Caracciolo, V.; Cerulli, R.; Danevich, F.A.; Di Marco, A.; Incicchitti, A.; Kropivyansky, B.N.; et al. First direct search for 2ε and εβ+ decay of 144Sm and 2β- decay of 154Sm. Eur. Phys. J. A 2019, 55, 201. [Google Scholar] [CrossRef]
- Belli, P.; Bernabei, R.; Boiko, R.S.; Cappella, F.; Caracciolo, V.; Cerulli, R.; Danevich, F.A.; Incicchitti, A.; Kropivyansky, B.N.; Laubenstein, M.; et al. First search for 2ε and εβ+ decay of 162Er and new limit on 2β- decay of 170Er to the first excited level of 170Yb. J. Phys. G: Nucl. Part. Phys. 2018, 45, 095101. [Google Scholar] [CrossRef]
- Belli, P.; Bernabei, R.; Boiko, R.S.; Cappella, F.; Caracciolo, V.; Cerulli, R.; Danevich, F.A.; di Vacri, M.L.; Incicchitti, A.; Kropivyansky, B.N.; et al. First search for 2ε and εβ+ processes in 168Yb. Nucl. Phys. A 2019, 990, 64–78. [Google Scholar] [CrossRef]
- Belli, P.; Bernabei, R.; Cappella, F.; Cerulli, R.; Danevich, F.A.; Grinyov, B.V.; Incicchitti, A.; Kobychev, V.V.; Mokina, V.M.; Nagorny, S.S.; et al. Search for double beta decay of zinc and tungsten with low background ZnWO4 crystal scintillators. Nucl. Phys. A 2009, 826, 256–273. [Google Scholar] [CrossRef]
- Danevich, F.A.; Georgadze, A.S.; Kobychev, V.V.; Kropivyansky, B.N.; Nikolaiko, A.S.; Ponkratenko, O.A.; Tretyak, V.I.; Zdesenko, S.Y.; Zdesenko, Y.G.; Bizzeti, P.G.; et al. Search for 2β of cadmium and tungsten isotopes: Final results of the Solotvina experiment. Phys. Rev. C 2003, 68, 035501. [Google Scholar] [CrossRef]
- Belli, P.; Bernabei, R.; Cappella, F.; Cerulli, R.; Danevich, F.A.; d’Angelo, S.; Di Marco, A.; Incicchitti, A.; Kovtun, G.P.; Kovtun, N.G.; et al. First search for double-β decay of 184Os and 192Os. Eur. Phys. J. A 2013, 49, 24. [Google Scholar] [CrossRef]
- Belli, P.; Bernabei, R.; Cappella, F.; Cerulli, R.; Danevich, F.A.; Di Marco, A.; Incicchitti, A.; Laubenstein, M.; Nagorny, S.S.; Nisi, S.; et al. First search for double-β decay of platinum by ultra-low background HP Ge γ spectrometry. Eur. Phys. J. A 2011, 47, 91. [Google Scholar] [CrossRef]
- Cerulli, R.; Belli, P.; Bernabei, R.; Cappella, F.; Nozzoli, F.; Montecchia, F.; d’Angelo, A.; Incicchitti, A.; Prosperi, D.; Dai, C.J. Performances of a BaF2 detector and its application to the search for ββ decay modes in 130Ba. Nucl. Instr. Meth. A 2004, 525, 535–543. [Google Scholar] [CrossRef]
- Belli, P.; Bernabei, R.; Brudanin, V.B.; Cappella, F.; Caracciolo, V.; Cerulli, R.; Danevich, F.A.; Incicchitti, A.; Kasperovych, D.V.; Klavdlienko, V.R.; et al. Search for double beta decay of 106Cd with an enriched 106CdWO4 crystal scintillator in coincidence with CdWO4 scintillation counters. Universe 2020, 6, 182. [Google Scholar] [CrossRef]
- Barabash, A.S.; Kuzminov, V.V.; Lobashev, V.M.; Novikov, V.M.; Ovchinnikov, B.M.; Pomansky, A.A. Results of the experiment on the search for double beta decay of 136Xe, 134Xe and 124Xe. Phys. Lett. A 1989, 223, 273–276. [Google Scholar] [CrossRef]
- Belli, P.; Bernabei, R.; Boiko, R.S.; Cappella, F.; Cerulli, R.; Danevich, F.A.; Incicchitti, A.; Kropivyansky, B.N.; Laubenstein, M.; Mokina, V.M.; et al. New limits on 2ε, εβ+ and 2β+ decay of 136Ce and 138Ce with deeply purified cerium sample. Eur. Phys. J. A 2017, 53, 172. [Google Scholar] [CrossRef]
- Belli, P.; Bernabei, R.; Cappella, F.; Cerulli, R.; Danevich, F.A.; d’Angelo, S.; Di Vacri, M.L.; Incicchitti, A.; Laubenstein, M.; Nagorny, S.S.; et al. First search for double β decay of dysprosium. Nucl. Phys. A 2011, 859, 126–139. [Google Scholar] [CrossRef]
- Barabash, A.S.; Brudanin, V.B.; Klimenko, A.A.; Konovalov, S.I.; Rakhimov, A.V.; Rukhadze, E.N.; Rukhadze, N.I.; Shitov, Y.A.; Stekl, I.; Warot, G.; et al. Improved limits on β+EC and ECEC processes in 74Se. Nucl. Phys. A 2020, 996, 121697. [Google Scholar] [CrossRef]
- Belli, P.; Bernabei, R.; Cerulli, R.; Danevich, F.A.; Galenin, E.; Gektin, A.; Incicchitti, A.; Isaienko, V.; Kobychev, V.V.; Laubenstein, M.; et al. Radioactive contamination of SrI2(Eu) crystal scintillator. Nucl. Instr. Meth. A 2012, 670, 10–17. [Google Scholar] [CrossRef]
- Belli, P.; Bernabei, R.; Boiko, R.S.; Brudanin, V.B.; Cappella, F.; Caracciolo, V.; Cerulli, R.; Chernyak, D.M.; Danevich, F.A.; d’Angelo, S.; et al. Search for double-β decay processes in 106Cd with the help of a 106CdWO4 crystal scintillator. Phys. Rev. C 2012, 85, 044610. [Google Scholar] [CrossRef]
- Danevich, F.A.; Hult, M.; Kasperovych, D.V.; Kovtun, G.P.; Kovtun, K.V.; Lutter, G.; Marissens, G.; Polischuk, O.G.; Stetsenko, S.P.; Tretyak, V.I. First search for 2ε and εβ+ decay of 174Hf. Nucl. Phys. A 2020, 996, 121703. [Google Scholar] [CrossRef]
- Finch, S.W.; Tornow, W. Search for neutrinoless double-electron capture of 156Dy. Phys. Rev. C 2015, 92, 065503. [Google Scholar] [CrossRef]
- Mount, B.J.; Redshaw, M.; Myers, M. Double-beta-decay Q-values of 74Se and 76Ge. Phys. Rev. C 2010, 81, 032501. [Google Scholar] [CrossRef]
- Singh, B. Nuclear data sheets update for A= 76. Nucl. Data Sheets 1995, 74, 63. [Google Scholar] [CrossRef]
- Beck, M.; Bockholt, J.; Echternach, J.; Heusser, G.; Hirsch, M.; Klapdor-Kleingrothaus, H.V.; Piepke, A.; Strecker, H.; Zuber, K.; Bakalyarov, A.; et al. New half life limits for the ββ2ν+0ν decay of 76Ge to the excited states of 76Se from the Heidelberg-Moscow ββ experiment. Z. Phys. A 1992, 343, 397–400. [Google Scholar] [CrossRef]
- The MAJORANA Project a Status Report, Talk Presented by Steve Elliott at the Neutrinos and Dark Matter in Nuclear Physics Conference on 1–4 June 2015, in Jyvaskyla, Finland. Available online: https://www.npl.washington.edu/majorana/sites/sand.npl.washington.edu.majorana/files/documents/presentations/ElliottNDM2015-2.pdf (accessed on 13 December 2020).
- Guinn, I.S.; Arnquist, I.J.; Avignone, F.T., III; Barabash, A.S.; Barton, C.J.; Bertrand, F.E.; Bos, B.; Busch, M.; Buuck, M.; Caldwell, T.S.; et al. Results of the MAJORANA DEMONSTRATOR’s Search for Double-Beta Decay of 76Ge to Excited States of 76Se. J. Phys. Conf. Ser. 2020, 1468, 012115. [Google Scholar] [CrossRef]
- Ackermann, K.; Agostini, M.; Allardt, M.; Altmann, M.; Andreotti, E.; Bakalyarov, A.M.; Balata, M.; Barabanov, I.; Barnabé Heider, M.; Barros, N.; et al. The GERDA experiment for the search of 0νββ decay in 76Ge. Eur. Phys. J. C 2013, 73, 2330. [Google Scholar] [CrossRef]
- Agostini, M.; Bakalyarov, A.M.; Balata, M.; Barabanov, I.; Baudis, L.; Bauer, C.; Bellotti, E.; Belogurov, S.; Belyaev, S.T.; Benato, G.; et al. Upgrade for Phase II of the GERDA experiment. Eur. Phys. J. C 2018, 78, 388. [Google Scholar] [CrossRef]
- Agostini, M.; Allardt, M.; Bakalyarov, A.M.; Balata, M.; Barabanov, I.; Barros, N.; Baudis, L.; Bauer, C.; Becerici-Schmidt, N.; Bellotti, E.; et al. 2νββ decay of 76Ge into excited states with GERDA Phase I. J. Phys. G: Nucl. Part. Phys. 2015, 42, 115201. [Google Scholar]
- Redshaw, M.; Mount, B.J.; Meyers, E.G.; Avignone, F.T., III. Masses of 130Te and 130Xe and Double-β-Decay Q Value of 130Te. Phys. Rev. Lett. 2009, 102, 212502. [Google Scholar] [CrossRef]
- Scielzo, N.D.; Caldwell, S.; Savard, G.; Clark, J.A.; Deibel, C.M.; Fallis, J.; Gulick, S.; Lascar, D.; Levand, A.F.; Li, G.; et al. Double-β-Decay Q values of 130Te, 128Te, and 120Te. Phys. Rev. C 2009, 80, 025501. [Google Scholar] [CrossRef]
- Rahaman, S.; Elomaa, V.V.; Eronen, T.; Hakala, J.; Jokinen, A.; Kankainen, A.; Rissanen, J.; Suhonen, J.; Weber, C.; Äystö, J. Double-beta decay Q values of 116Cd and 130Te. Phys. Lett. B 2011, 703, 412. [Google Scholar] [CrossRef]
- Andreotti, E.; Arnaboldi, C.; Avignone, F.T., III; Balata, M.; Bandac, I.; Barucci, M.; Beeman, J.W.; Bellini, F.; Brofferio, C.; Bryant, A.; et al. Search for double-β decay of 130Te to the first 0+ excited state of 130Xe with the CUORICINO experiment bolometer array. Phys. Rev. C 2012, 85, 045503. [Google Scholar] [CrossRef]
- Fehr, M.A.; Rehkämper, M.; Halliday, A.N. Application of MC-ICPMS to the precise determination of tellurium isotope compositions in chondrites, iron meteorites and sulfides. Int. J. Mass Spectrom. 2004, 232, 83. [Google Scholar] [CrossRef]
- Haller, E.E. Physics and design of advanced IR bolometers and photoconductors. Infrared Phys. 1985, 25, 257. [Google Scholar] [CrossRef]
- Alduino, C.; Alfonso, K.; Artusa, D.R.; Avignone, F.T., III; Azzolini, O.; Balata, M.; Banks, T.I.; Bari, G.; Beeman, J.W.; Bellini, F.; et al. CUORE-0 detector: Design, construction and operation. J. Inst. 2016, 11, P07009. [Google Scholar] [CrossRef]
- Alfonso, K.; Artusa, D.R.; Avignone, F.T., III; Azzolini, O.; Balata, M.; Banks, T.I.; Bari, G.; Beeman, J.W.; Bellini, F.; Bersani, A.; et al. Search for Neutrinoless Double-Beta Decay of 130Te with CUORE-0. Phys. Rev. Lett. 2015, 115, 102502. [Google Scholar] [CrossRef]
- Alduino, C.; Alfonso, K.; Artusa, D.R.; Avignone, F.T., III; Azzolini, O.; Banks, T.I.; Bari, G.; Beeman, J.W.; Bellini, F.; Bersani, A.; et al. Analysis techniques for the evaluation of the neutrinoless double-β decay lifetime in 130Te with the CUORE-0 detector. Phys. Rev. C 2016, 93, 045503. [Google Scholar] [CrossRef]
- Barabash, A.S.; Hubert, F.; Hubert, P.; Umatov, V.I. New limits on the ββ decay of 130Te to excited states of 130Xe. Eur. Phys. J. A 2001, 11, 143–145. [Google Scholar] [CrossRef]
- Kawrakow, I.; Mainegra-Hing, E.; Rogers, D.W.O.; Tessier, F.; Walters, B.R.B. The EGSnrc Code System: Monte Carlo Simulation of Electron and Photon Transport; NRCC (National Research Council Canada) Report PIRS-701; NRCC: Ottawa, ON, Canada, 2003. [Google Scholar]
- Agostinelli, S.; Allison, J.; Amako, K.; Apostolakis, J.; Araujo, H.; Arce, P.; Asai, M.; Axen, D.; Banerjee, S.; Barrand, G.; et al. GEANT4–a simulation toolkit. Nucl. Instr. Meth. A 2003, 506, 250. [Google Scholar] [CrossRef]
- Boswell, M.; Chan, Y.D.; Detwiler, J.A.; Finnerty, P.; Henning, R.; Gehman, V.M.; Johnson, R.A.; Jordan, D.V.; Kazkaz, K.; Knapp, M.; et al. MaGe-a Geant4-Based Monte Carlo Application Framework for Low-Background Germanium Experiments. IEEE Trans. Nucl. Sci. 2011, 58, 1212–1220. [Google Scholar] [CrossRef]
- Allison, J.; Amako, K.; Apostolakis, J.; Araujo, H.; Arce Dubois, P.; Asai, M.; Barrand, G.; Capra, R.; Chauvie, S.; Chytracek, R.; et al. Geant4 developments and applications. IEEE Trans. Nucl. Sci. 2006, 53, 270–278. [Google Scholar] [CrossRef]
- Ponkratenko, O.A.; Tretyak, V.I.; Zdesenko, Y.G. Event generator DECAY4 for simulating double-beta processes and decays of radioactive nuclei. Phys. At. Nucl. 2000, 63, 1282. [Google Scholar] [CrossRef]
- Tretyak, V.I. (Institute for Nuclear Research of NASU, Kyiv, Ukraine). Personal communication, 2007. [Google Scholar]
- Belli, P.; Bernabei, R.; d’Angelo, S.; Cappella, F.; Cerulli, R.; Incicchitti, A.; Laubenstein, M.; Prosperi, D.; Tretyak, V.I. First limits on neutrinoless resonant 2ε captures in 136Ce and new limits for other 2β processes in 136Ce and 138Ce isotopes. Nucl. Phys. A 2009, 824, 101. [Google Scholar] [CrossRef]
- Belli, P.; Bernabei, R.; Boiko, R.S.; Cappella, F.; Cerulli, R.; Danevich, F.A.; Incicchitti, A.; Kropivyansky, B.N.; Laubenstein, M.; Poda, D.V.; et al. Search for double beta decay of 136Ce and 138Ce with HPGe gamma detector. Nucl. Phys. A 2014, 930, 195. [Google Scholar] [CrossRef]
- Belli, P.; Bernabei, R.; Cappella, F.; Cerulli, R.; Danevich, F.A.; d’Angelo, S.; Incicchitti, A.; Laubenstein, M.; Polischuk, O.G.; Prosperi, D.; et al. Search for double beta decays of 96Ru and 104Ru by ultra-low background HPGe gamma spectrometry. Eur. Phys. J. A 2009, 42, 171. [Google Scholar] [CrossRef]
- Belli, P.; Bernabei, R.; Incicchitti, A.; Arpesella, C.; Kobychev, V.V.; Ponkratenko, O.A.; Tretyak, V.I.; Zdesenko, Y.G. New limits on 2β+ decay processes in 106Cd. Astropart. Phys. 1999, 10, 115–120. [Google Scholar] [CrossRef]
- Das, S.; Ghorui, S.K.; Raina, P.K.; Singh, A.K.; Rath, P.K.; Cappella, F.; Cerulli, R.; Laubenstein, M.; Belli, P.; Bernabei, R. Preliminary study of feasibility of an experiment looking for excited state double beta transitions in tin. Nucl. Instr. Meth. A 2015, 797, 130. [Google Scholar] [CrossRef][Green Version]
- Pirinen, P.; Suhonen, J. Systematic approach to β and 2νββ decays of mass A = 100–136 nuclei. Phys. Rev. C 2015, 91, 054309. [Google Scholar] [CrossRef]
- Fantini, G. Presentation of Its PhD Thesis. Available online: https://indico.gssi.it/event/131/contributions/350/attachments/169/248/FANTINIGuidoPhDseminarv1FINAL.pdf (accessed on 13 December 2020).
| 1. | Throughout the paper the wording indicate the generic double beta decay, with neutrinos or neutrino-less. Where not specified, it includes the cases with electrons emission, , with positrons emission, , the single positron emission plus single electron capture, , and the double electron capture, . |
Publisher’s Note: MDPI stays neutral with regard to jurisdictional claims in published maps and institutional affiliations. |
© 2020 by the authors. Licensee MDPI, Basel, Switzerland. This article is an open access article distributed under the terms and conditions of the Creative Commons Attribution (CC BY) license (http://creativecommons.org/licenses/by/4.0/).

















