Next Article in Journal
Performance of WLAN in Downlink MU-MIMO Channel with the Least Cost in Terms of Increased Delay
Next Article in Special Issue
LTE and NB-IoT Performance Estimation Based on Indicators Measured by the Radio Module
Previous Article in Journal
Improved Algorithms for Calculating the Space-Charge Field in Vacuum Devices
Previous Article in Special Issue
Review of Collision Avoidance and Path Planning Algorithms Used in Autonomous Underwater Vehicles
 
 
Font Type:
Arial Georgia Verdana
Font Size:
Aa Aa Aa
Line Spacing:
Column Width:
Background:
Article

A Concept of Autonomous Multi-Agent Navigation System for Unmanned Surface Vessels

by
Agnieszka Lazarowska
1,*,† and
Andrzej Żak
2,†
1
Department of Ship Automation, Gdynia Maritime University, 81-225 Gdynia, Poland
2
Faculty of Mechanical and Electrical Engineering, Polish Naval Academy, 81-127 Gdynia, Poland
*
Author to whom correspondence should be addressed.
These authors contributed equally to this work.
Electronics 2022, 11(18), 2853; https://doi.org/10.3390/electronics11182853
Submission received: 28 June 2022 / Revised: 22 August 2022 / Accepted: 5 September 2022 / Published: 9 September 2022

Abstract

The paper introduces a proposal of an Autonomous Navigation System for Unmanned Surface Vessels. The system architecture is presented with a special emphasis on collision avoidance and maneuver auto-negotiation. For the purpose of maneuver auto-negotiation, the concept of multi-agent systems has been applied. The algorithm developed for the task of collision avoidance is briefly described and the results of the simulation tests, confirming the effectiveness of applied method, are also given. Presented outcomes include solutions of test scenarios from the perspectives of different ships taking part in the considered situations, confirming the applicability of the collision avoidance algorithm in the process of maneuver auto-negotiation.

1. Introduction

Navigation is a vital task in the operation of every autonomously moving object. This relates to self-driving cars, autonomous mobile robots, drones and unmanned ships. Autonomous navigation of a craft has to cover perception, obstacle detection and avoidance and path planning and following. Marine units that move autonomously can be divided into autonomous merchant vessels and smaller crafts—Unmanned Surface Vehicles (USVs). The International Maritime Organization (IMO) introduced a term for autonomous merchant vessels—the Maritime Autonomous Surface Ship (MASS), which is used to express a ship which, to a varying degree, can operate independent of human interaction [1].
Over the last few years, many research and development projects dedicated to MASSs have been carried out. Examples of such projects, listed in Table 1 and in Figure 1, include the Maritime Unmanned Navigation through Intelligence in Networks (MUNIN) [2], ReVolt [3], Advanced Autonomous Waterborne Applications (AAWA) [4], Autosea [5], Autoferry [6], Yara Birkeland [7], Safer Vessel with Autonomous Navigation (SVAN) [8] and Mayflower Autonomous Ship (MAS) [9].
The technology of USVs has also developed dynamically in recent years. Examples of recently developed USVs are listed in Table 2. USVs application areas include defense area, such as surveillance, search and rescue, reconnaissance and strike missions, but also ocean surveying, such as collecting oceanographic data (bathymetry, pollution monitoring). A review of USVs with a special emphasis on the design aspects of the GNC system for these marine crafts can be found in [10].
Table 2. Examples of recently developed USVs.
Table 2. Examples of recently developed USVs.
USVCountryLength [m]Max SpeedPayloadMission EnduranceApplication
Katana [11]Israel11.960 kn2200 kg350 nmDefense/military
Protector [12]Israel11 or 940 kn->48 hNaval & security missions
C-Target 9 [13]USA9.650 kn--Defense/military
C-Target 6 [14]USA6.535 kn--Defense/military
Edredon [15,16]Poland5.730 kn1000 kg8–130 hDefense/military
C-Worker 7 [17]USA7.56 kn500 kg25 days @ 2 knOcean Surveying
C-Worker 6 [18]USA5.86.5 kn-30 daysOcean Surveying
Sounder [19]Norway812 kn-20 days @ 4 knHydroacoustic Applications
Recently, different classification societies, maritime organizations and companies have been developing classifications of ships based on their degrees of autonomy [20]. The Maritime Safety Committee (MSC) of the IMO defined 4 degrees of ship autonomy, as shown in Table 3 [1].
The aim of this paper is to present the developed concept of the Autonomous Navigation System for the USV. The main contributions of the research presented in this paper are:
  • An analysis of recent projects on autonomous ships and USVs with a special emphasis on ANSs and the collision avoidance feature;
  • The definition of an USV Autonomous Navigation System structure based on the analyzed projects;
  • The definition of the agent architecture and control flow in the autonomous multi-agent navigation system for USVs, on the basis of a general structure of an agent system;
  • The development of an effective collision avoidance algorithm to be applied for the maneuver auto-negotiation in the proposed multi-agent system;
  • Evaluation of the deterministic collision avoidance method for the purpose of the possibility to apply collaborative strategies to avoid collisions with other agents by the calculation of multiple trajectories for all USVs taking part in the considered navigational scenario.
Section 2 introduces the general structure of the Autonomous Navigation System for USVs. Section 3 presents the concept of the Multi-agent system for USV maneuver auto-negotiation. In Section 4, the collision avoidance algorithm developed for the application in the ANS for USVs has been briefly described. In Section 5, simulation tests results obtained with the use of the collision avoidance algorithm are shown, with a special emphasis of solutions achieved from the perspectives of different USVs taking part in the considered encounter situations. Discussion on the results is given in Section 6 and the paper is summarized in Section 7.

2. Autonomous Navigation System Structure

The Autonomous Navigation System is responsible for the navigation of the USV. The main tasks of the Autonomous Navigation System of every vehicle include: perception of the environment, path planning and path following (vehicle control).
One of the main subsystems of the ANS is the Collision Avoidance (CA) module. The CA module is responsible for the collision risk assessment on the basis of information obtained from the system that fuses data from various navigational sensors. The second task of the CA module is to ensure the safe navigation of the USV, both on the open sea and in restricted waters. The main element of the CA module is the collision avoidance algorithm, responsible for determining a safe maneuver or a safe trajectory for the vehicle, when a risk of collision has been detected. Besides the CA module, the route planning module is also applied. This subsystem is responsible for the calculation of a global path between the initial and final position, e.g., two harbors, including the craft’s mission, but also weather conditions (therefore known also as weather routing). Figure 2 presents a general structure of the Autonomous Navigation System for USVs.
The module responsible for navigational data reception and fusion is the Advanced Sensor Module—ASM, also known as the Situation Awareness module or Sensor Fusion module. Applied sensors include: nautical charts, long-range radars, the Automatic Identification System (AIS), stereo vision systems, short-range radars, lidars and the Global Positioning System (GPS). In relation to the ANS of USVs, the term Obstacle Detection and Avoidance (ODA) system is also used, which reflects a combined version of the Situation Awareness and Collision Avoidance modules. Motion Control system is responsible for the calculation of appropriate control forces to steer the USV along the calculated trajectory or to execute a maneuver determined by the CA module. Table 4 presents a comparative analysis of ANSs proposed in different research projects on autonomous ships, listed in Figure 1 and Table 1. The ANS structure applied in the research presented in this paper was developed based on the solutions proposed in the mentioned projects.

3. Multi-Agent System for USV Maneuver Auto-Negotiation

Multi-agent systems are regarded as a powerful concept for solving real-world problems, especially in complex, dynamic environments, enabling to achieve increased autonomy within control systems [21]. Table 5 presents a summary of multi-agent systems proposed in the recent literature in relation to ships and different types of unmanned vehicles: USVs, UUVs (Unmanned Underwater Vehicles) and UAVs (Unmanned Aerial Vehicles). The comparison lists the control objects, the purpose of proposed systems, the type of tasks solved by the system, i.e., cooperation and/or competition, the type of applied method and information about the optimization of the task. The last column contains additional remarks, concerning advantages, limitations or other comments with regard to the relation between the mentioned methods and the approach described in this paper. Some of the proposed multi-agent systems are intended for solving a different task than collision avoidance, considered in this paper, such as formation control [22,23], training a team of USVs [24], searching water region by a team of UUV [25] and/or consider a different type of vehicle, such as UAV [26], UUV or a car [27].
The concept of the maneuver auto-negotiation system in relation to autonomous cars was proposed in [27], to UAV in [26] and to ships in [28,29,30]. In [28], collision avoidance and maneuver auto-negotiation is based on geometrical relationships. Two ships encounters are considered in this approach and the solutions might not be COLREGs compliant. In [29], a concept stage of the task has been presented. The authors assumed the application of evolutionary sets of safe trajectories, where the best set of reciprocal trajectories is calculated, but results of the collision avoidance approach are not presented in the paper. In [30], the author proposes a structure of the maneuver auto-negotiation system with the concentration on the data acquisition aspect. Safe trajectories are assumed to be calculated as evolutionary sets of safe trajectories. This approach has been presented in the author’s previous works [x, y]. The author proposed a control flow, in which one of the vessels is a leader ship. The leader is responsible for data gathering, determination and optimization of maneuvers and distribution of the results among other participants of the encounter.
The literature analysis shows that the development of a multi-agent system for collision avoidance with maneuver auto-negotiation is an open research problem, as algorithms for the calculation of multiple trajectories are rare in the recent literature. There exists a demand in the industry for the development of an effective, robust and reliable multi-agent system, which will enable for the calculation of a set of safe trajectories for all ships or USVs taking part in an encounter. The development of such a solution is the aim of the research presented in this paper.
Extending the ANS architecture for the purpose of maneuver auto-negotiation was based on multi-agent systems. Multi-agent systems are classified as an approach of Distributed Artificial Intelligence (DAI) [31]. A multi-agent system is composed of a number of agents, which interact with each other and the environment in order to achieve their goals. Such approach has been applied for modeling and solving problems by cooperation between local solvers and the design of complex systems. An agent is an object, being in a certain situation, that has the ability to perceive the environment and influence it through an autonomous action to achieve a defined goal. In the approach presented in this paper an agent is an USV, perceiving the environment through navigational equipment such as AIS, radar with ARPA, GPS, log, gyrocompass, lidar and stereovision systems. The USV also interacts with other USVs in the surroundings and acts on the environment by changing its course and/or speed.
Assumed agent architecture and control flow is shown in Figure 3 [25,32]. The algorithms related to detecting obstacles are included in the layer of reflex action. The planning layer implements obstacle avoidance algorithms [33,34,35] and these responsible for the control of the vehicle along a set trajectory. At the level of cooperation, the vehicle exchanges data with other vehicles and conducts negotiations about planned collision avoidance actions.
The agent architecture applied in this research is the InteRRaP model [36], which means Integration of Reactive behavior and Rational Planning. This architecture utilized the BDI model of reasoning, which comes from Beliefs, Desires (Goals) and Intentions [37,38]. In such an architecture, two types of interaction between different layers are possible. These are: bottom-up activation and top-down execution. In the first type, when a lower layer is not able to deal with the current situation, it passes control to a higher layer. In the second type of interaction, a higher layer uses the functionality assured by a lower layer in order to reach its goal. In the InteRRaP architecture, when new data from sensors arrive at the lowest reflex action layer, it evaluates whether it can deal with the situation. When the layer is not able to perform the task, the control will be passed in the bottom-up activation manner to the planning layer. This layer will also asses the task and when it will be able to deal with the it, after which it will apply a top-down execution. Otherwise, it will pass control to the highest cooperation layer. Such an architecture, in comparison with other layered architectures of multi-agent systems, has as an advantage that only the lowest layer has direct access to actuators. This excludes the occurrence of conflicting decisions between different layers. A different layered approach was proposed in [39], where appropriate filtering and suppression mechanisms have to be applied in order to prevent the system from conflicts among the actions of different layers.
Agents communicate with each other, while maintaining their autonomy of action and decision-making, which translates into actions taken by individual agents. Such interaction between agents leads to the modification of knowledge and actions of individual agents based on the behavior of other agents. A single agent is equipped with a strategy, leading it to achieve the assumed goal, which in this case is to reach a specific geographical position—the end point of the trajectory. However, as part of a multi-agent system, it must implement collaborative strategies to avoid collisions with other agents. The key feature of agents in a multi-agent system is their collaboration and competition. Therefore, agents exchange information on individual actions taken in order to avoid a collision.
The collision avoidance process with the use of the proposed autonomous multi-agent navigation system for USVs can be performed in one of the two following ways, both of which are possible with the use of the applied collision avoidance algorithm:
(a)
A decentralized system, where collision avoidance calculations are performed by individual agents (USVs), these partial solutions are then used in the auto-negotiation process;
(b)
One USV calculates the complete solution of the current navigational situation and then distributes the partial solutions to other agents.

4. USV Collision Avoidance Algorithm

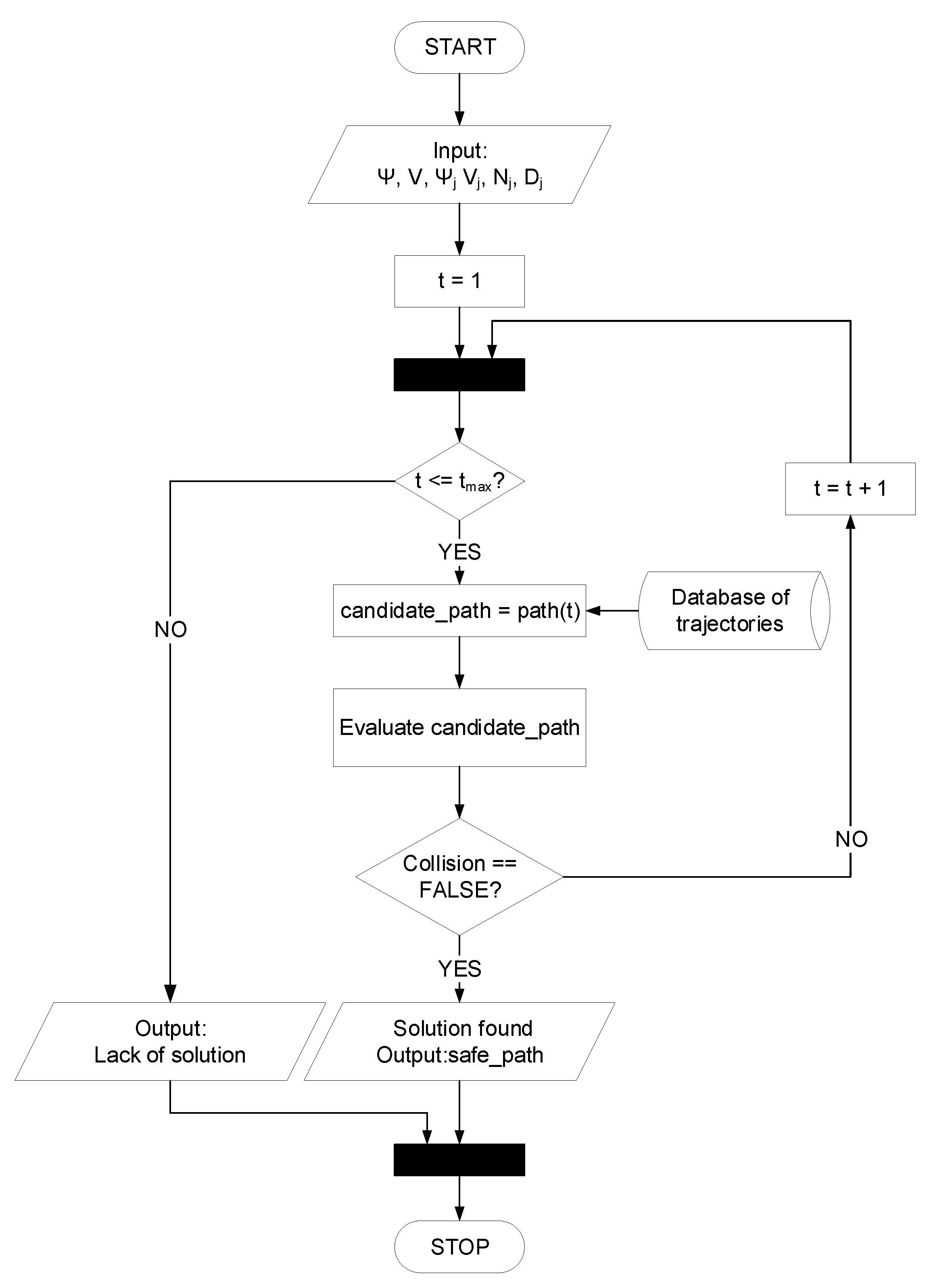
Collision avoidance and safe path planning algorithm applied in the introduced concept of Autonomous Multi-agent Navigation System is a deterministic approach. The algorithm’s operation is based on the search through a database with stored candidate trajectories in order to find the best safe path solving the currently considered situation; therefore, the approach has been called the Trajectory Base Algorithm (TBA). This algorithm has been chosen for further development due to its competitive results in relation to other deterministic and non-deterministic methods. A comparative analysis of different methods, along with the TBA, can be found in [40].
The main advantages of this approach are: the solution repeatability for every run of calculations with the same input data, achievement of COLREGs compliant solutions with minimal path length and run time of the algorithm enabling the application of this approach for real-time path planning.
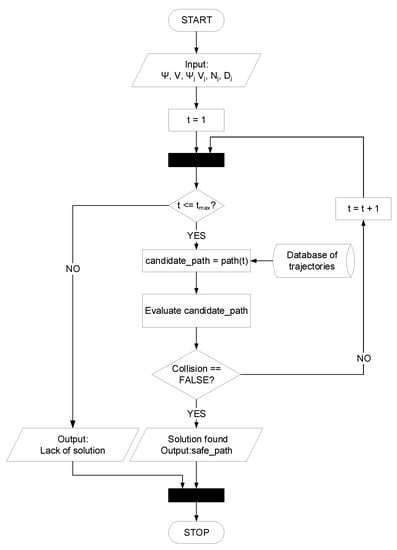
The input variables, shown in Figure 4, are:
  • Ψ —the course of an own ship (USV no. 0, for which the safe trajectory is currently calculated by the algorithm);
  • V—the speed of an own ship;
  • Ψ j —the course of the j-th USV (also called target ship);
  • V j —the speed of the j-th USV;
  • N j —the bearing of the j-th USV;
  • D j —the distance of the j-th USV from an own ship (USV no.0);
  • t—the number of a currently evaluated candidate trajectory retrieved from the database;
  • t m a x —the maximum number of candidate trajectories in the database.
The inputs from the database of trajectories are: candidate trajectories composed of a number of waypoints (x and y coordinates of the USV position). The output variables are: safe trajectories composed of a number of waypoints (x and y coordinates of the USV position) and the values of the USVs course at the consecutive parts of the trajectories.
Figure 5 presents a flowchart of the TBA. As mentioned above, input data are the courses, speeds, bearings and distances of all vessels taking part in an encounter. After the reception of input data describing the current navigational situation, the first candidate trajectory is retrieved from the database for the evaluation procedure. The evaluated candidate trajectory is divided into a number of steps. Afterwards, in every step, an own ship is moved into a new instantaneous position along the evaluated trajectory. Target ships are also moved into their next instantaneous positions, resulting from their motion parameters and a trajectory selected for the implementation. Then, the procedure of checking, whether the vessels positions do not lead to a collision, is carried out. When the whole trajectory is verified as a safe path, which means that it does not cause a collision with any of encountered ships during the vessel’s movement along it, it becomes the final best solution. The optimization criterion applied in the collision avoidance algorithm, defined by Equation (1), is the minimal path length. It is calculated as a sum of the lengths of line segments composing the safe path, where i = 1, …, e are the waypoints composing the path:
f ( t ) = d i s t ( t ) = i = 1 e 1 ( x i + 1 x i ) 2 + ( y i + 1 y i ) 2 m i n
The information about the selected trajectory, as a part of cooperation activities between agents, is transferred to other agents in a multi-agent system to be used in their decision-making. Further calculations are terminated. A more detailed description of the TBA can be found in [41].

5. Results of Collision Avoidance Algorithm

The TBA proposed in this paper for USVs collision avoidance has been tested comprehensively in order to validate its reliability and robustness. Various tests of this algorithm have been carried out, including:
  • Simple encounter situations with one target ship considered in The International Regulations for Preventing Collisions at Sea (COLREGs) (head-on, crossing and overtaking);
  • Encounter situations with static obstacle (lands, shallows);
  • Complex encounter situations with real navigational data.
The results of these test can be found in [42].
One of the methods to assure a proper distance between the USVs or other marine crafts in a collision avoidance algorithm is to model other USVs (target ships) with the use of a ship domain. A ship domain is defined as an area around a ship, which a navigator wants to keep free from static and dynamic obstacles. In the presented approach, a ship domain with a hexagon shape, as proposed in [43], has been applied. The dimensions of the target ship domain used in the tests were: distance towards the bow: 1.3 nm, distance of amidships: 0.6 nm, distance towards the stern: 0.5 nm, distance towards the starboard side: 0.6 nm and distance towards the port side: 0.5 nm.
For the purpose of the algorithm’s application in the USV Autonomous Multi-Agent Navigation System, the evaluation of solutions consistency from different ships’ perspectives has been carried out. The results of these experiments are presented here. The algorithm was implemented in the MATLAB programming language and tested on a PC with Intel Core i7-10750H CPU, 32 GB RAM, 64-bit Windows 10 operating system. Out of many test cases, four scenarios have been chosen for the presentation in this paper. These test cases have been chosen as standard scenarios, which present the solutions compliance with the COLREGs. Similar test scenarios were presented in the cooperative path planning approach proposed in [44]. Input data of USVs, including courses in degrees, speeds in knots, bearings in degrees and distances between the marine crafts in nautical miles, are given in Table 6, Table 7, Table 8 and Table 9. Table 10, Table 11, Table 12 and Table 13 present output data, such as USV courses in degrees at consecutive parts of the calculated safe path, path lengths in nautical miles and run time of the algorithm in seconds. Figure 6, Figure 7, Figure 8 and Figure 9 show graphical solutions of test cases 1–4. Initial positions of USVs are marked by digits representing the number of an USV (USV No. in tables). The numbers given along the consecutive positions of the USVs show the time of the USV arrival at a given point in minutes. Presented results have been discussed in the following section.

6. Discussion

6.1. Analysis of Results

Results of TBA applied in the presented concept for USV collision avoidance allow to state the following remarks:
  • Safe paths calculated by the algorithm are compliant with COLREGs (especially rules 8b, 14 and 15);
  • Paths calculated by the algorithm from the perspectives of different USVs taking part in the considered test case are consistent (do not lead to a collision between the crafts);
  • The run time of the algorithms (less than a second) is acceptable for real-time path planning purposes.
It should be underlined here that results of collision avoidance algorithms, regarding calculation of multiple trajectories, are very rare in the literature on that topic. Examples of approaches other that the one presented in this paper can be found in [44,45].
Test case 1 presents a head-on situation. In this encounter situation, according to rule 14 of COLREGs, both vessels should alter her course to starboard side in order to pass on the port side of the other vessel. Figure 1 presents paths calculated by the algorithm for both vessels. As can be observed there, both USVs execute maneuvers to their starboard sides. Maneuvers are also compliant with rule 8b of COLREGs—they are large enough to be easily noticed and interpreted by the other vessel.
Test case 2 presents an encounter of three USVs and is composed of head-on (between vessels 0–2) and crossing situations (between vessels 0–1 and 1–2) between the different pairs of vessels. The behavior of vessels in a crossing situation is defined by rule 15 of COLREGs. According to this rule, the vessel that has the other vessel on her starboard side should keep out of the way and avoid crossing ahead of the other vessel. As can be observed in Figure 2, the USV no. 0 keeps out of the way of the USV no. 1 and does not cross ahead on the other vessel. In the same manner, the USV no. 1 keeps out of the way of the USV no. 2. The solution is also compliant with rule 14 of COLREGs—both USVs no. 0 and no. 2 alter their course to starboard, passing on the port side of the other vessel. Similarly, as in test case 1, maneuvers of all USVs also fulfill rule 8b.
In test case 3, a crossing situation occurs between vessels 0–1 and 0–2, whereas a head-on encounter takes place between vessels 1–2. Likewise, in test case 2, solutions are calculated by the TBA for all of the USVs fulfill rules 8b, 14 and 15.
Test case 4 is an encounter between four USVs, where crossing situations occur between the vessels 0–1, 1–2, 2–3 and 3–0, and head-on situations take place between vessels 0–2 and 1–3. Analyses of safe paths returned by the TBA enable to state that the solutions are compliant with COLREGs rules 8b, 14 and 15.
The obtained results confirm the prospect to apply the proposed collision avoidance algorithm in the Autonomous Multi-Agent Navigation System for Unmanned Surface Vessels, as it has been proven that the solutions calculated for different vessels in the same encounter situation constitute safe paths (do not lead to a collision between the marine crafts). Therefore, they can constitute a solution of maneuver auto-negotiation procedure.

6.2. Comparison with Other Collision Avoidance Algorithms

The collision avoidance algorithm has been compared with other approaches proposed for the application in maneuver auto-negotiation systems or presenting results from different ships’ perspectives. The results of this analysis are shown in Table 14 and Table 15. The comparison includes: applied method, type of the method, i.e., deterministic or non-deterministic, consideration of static navigational restrictions, dynamic obstacles and COLREGs, applied optimization criterion. The run time of the algorithm and repeatability of a solution for every run of calculations with the same input data are also specified in the tables. The adopted calculation approach has also been defined for every algorithm, whether the trajectories are calculated by only one vessel: the leader ship or by all of marine crafts taking part in the encounter. The main advantages of the approach proposed in this paper, in relation to other existing methods, are as follows:
  • Deterministic nature of the algorithm, which guarantees repeatable solutions, similarly to [28,44];
  • Near-real run time: up to a second, making it applicable for USVs;
  • COLREGs compliant solution (rules 8b, 13–15);
  • Consideration of static constraints (lands, shallows, buoys), as in [45];
  • Possibility to calculate the solution from the leader USV perspective as well as all ships’ perspectives.

7. Conclusions

The main contributions of the research presented in this paper in relation to the previous works of the authors are the application of the developed deterministic collision avoidance algorithm within the framework of a multi-agent system for the purpose of USV maneuver auto-negotiation and also the carried out tests of the algorithm in order to assess the possibility to apply collaborative strategies to avoid collisions with other agents in the proposed multi-agent system by the calculation of multiple trajectories for all USVs taking part in the considered navigational scenario.
A concept of the Autonomous Navigation System for Unmanned Surface Vessels, with a special emphasis on the task of collision avoidance, was presented first. A general structure of the ANS system was developed, based on the idea of multi-agent systems. An agent is an autonomous entity that perceives the environment using sensors and acts on the environment through effectors (actuators). The agent’s interaction can be based on cooperation or competition. The goal of the USV, modeled as an agent, is to reach the end point of the trajectory. However, in order to achieve this objective, it has to apply collaborative strategies to avoid collisions with other agents. For this purpose, agents exchange information on planned actions. Proposed collision avoidance algorithm was validated by simulation experiments with a special emphasis on the verification of its applicability for the purpose of maneuver auto-negotiation. The achieved results prove that the trajectories obtained for different agents do not lead to a collision; therefore, the algorithm is suitable for the application in the Autonomous Multi-Agent Navigation System for the USV.
Further research include the development of the communication protocol between agents, allowing them to exchange the information efficiently. After that, experiments in real operating conditions are planned to be carried out.

Author Contributions

Conceptualization, A.L. and A.Ż.; methodology, A.L. and A.Ż.; software, A.L.; validation, A.L. and A.Ż.; formal analysis, A.L. and A.Ż.; investigation, A.L. and A.Ż.; resources, A.L. and A.Ż.; data curation, A.L. and A.Ż.; writing—original draft preparation, A.L. and A.Ż.; writing—review and editing, A.L. and A.Ż.; visualization, A.L. and A.Ż.; supervision, A.Ż.; project administration, A.L. and A.Ż.; funding acquisition, A.L. and A.Ż. All authors have read and agreed to the published version of the manuscript.

Funding

This research was funded within the framework of the program of the Minister of Science and Higher Education under the name “Regional Excellence Initiative” in the years 2019–2022; project number 006/RID/2018/19; the amount of financing: 11 870 000 PLN.

Conflicts of Interest

The authors declare no conflict of interest.

Abbreviations

The following abbreviations are used in this manuscript:
AISAutomatic Identification System
ANSAutonomous Navigation System
ARPAAutomatic Radar Plotting Aid
ASMAdvanced Sensor Module
CACollision Avoidance module
COLREGsThe International Regulations for Preventing Collisions at Sea
DAIDistributed Artificial Intelligence
GPSGlobal Positioning System
IMOThe International Maritime Organization
MASSMaritime Autonomous Surface Ship
MPCModel Predictive Control
SASituation Awareness module
SFSensor Fusion module
TBATrajectory Base Algorithm
UAVUnmanned Aerial Vehicle
USVUnmanned Surface Vessel (Vehicle)
UUVUnmanned Underwater Vehicle
VOVelocity Obstacles method

References

  1. The Maritime Safety Committee of the International Maritime Organization. Outcome of the Regulatory Scoping Exercise for the Use of Maritime Autonomous Surface Ships (MASS), MSC.1/Circ.1638. June 2021. Available online: https://www.imo.org (accessed on 3 February 2022).
  2. MUNIN—Maritime Unmanned Navigation through Intelligence in Networks. Available online: http://www.unmanned-ship.org/munin/about/ (accessed on 28 February 2022).
  3. DNV GL. The ReVolt. A New Inspirational Ship Concept. Available online: https://www.dnvgl.com/technology-innovation/revolt/index.html (accessed on 28 February 2022).
  4. Rolls-Royce. Remote and Autonomous Ship—The Next Step. Available online: https://www.rolls-royce.com/~/media/Files/R/Rolls-Royce/documents/customers/marine/ship-intel/aawa-whitepaper-210616.pdf (accessed on 28 February 2022).
  5. NTNU. Autosea—Sensor Fusion and Collision Avoidance for Autonomous Surface Vehicles. Available online: https://www.ntnu.edu/autosea/ (accessed on 28 February 2022).
  6. NTNU. Autoferry—Autonomous All-Electric Passenger Ferries for Urban Water Transport. Available online: https://www.ntnu.edu/autoferry (accessed on 28 February 2022).
  7. Kongsberg. YARA Birkeland—Autonomous Ship Project. Available online: https://www.kongsberg.com/maritime/support/themes/autonomous-ship-project-key-facts-about-yara-birkeland/ (accessed on 28 February 2022).
  8. Rolls-Royce 2018. SVAN—Safer Vessel with Autonomous Navigation. Available online: https://breakingwaves.fi/wp-content/uploads/2019/06/SVAN-presentation.pdf (accessed on 28 February 2022).
  9. Promare. Mayflower Autonomous Ship (MAS). Available online: https://mas400.com (accessed on 28 February 2022).
  10. Campbell, S.; Naeem, W.; Irwin, G.W. A review on improving the autonomy of unmanned surface vehicles through intelligent collision avoidance manoeuvres. Annu. Rev. Control 2012, 36, 267–283. [Google Scholar] [CrossRef]
  11. Katana—USV System. Available online: https://www.iai.co.il/p/katana (accessed on 2 March 2022).
  12. Rafael Advanced Defense Systems Ltd. Protector USV. Available online: https://https://www.rafael.co.il/worlds/naval/usvs/ (accessed on 2 March 2022).
  13. Available online: https://www.l3harris.com/all-capabilities/c-target-9-asv (accessed on 2 March 2022).
  14. Available online: https://www.l3harris.com/all-capabilities/c-target-6-asv (accessed on 2 March 2022).
  15. Kalinowski, A.; Małecki, J. Polish USV ’EDREDON’ and non-European USV: A comparative sketch. J. Mar. Eng. Technol. 2017, 16, 416–419. [Google Scholar] [CrossRef]
  16. Kitowski, Z.; Soliński, R. Application of Domestic Unmanned Surface Vessels in the Area of Internal Security and Maritime Economy—Capacities and Directions for Development. Sci. J. Pol. Nav. Acad. 2016, 206, 67–83. [Google Scholar] [CrossRef]
  17. Available online: https://www.l3harris.com/all-capabilities/c-target-7-asv (accessed on 2 March 2022).
  18. Available online: https://www.unmannedsystemstechnology.com/company/autonomous-surface-vehicles-ltd/ (accessed on 2 March 2022).
  19. Kongsberg Maritime Ltd. Sounder USV. Available online: https://www.kongsberg.com/maritime/products/marine-robotics/uncrewed-surface-vehicle-sounder/ (accessed on 18 May 2022).
  20. Zubowicz, T.; Arminski, K.; Witkowska, A.; Smierzchalski, R. Marine autonomous surface ship-control system configuration. IFAC-PapersOnLine 2019, 52, 409–415. [Google Scholar] [CrossRef]
  21. Tweedale, J.W. Using Multi-agent Systems to Pursue Autonomy with Automated Components. Procedia Comput. Sci. 2013, 22, 1369–1378. [Google Scholar] [CrossRef][Green Version]
  22. Xue, K.; Wu, T. Distributed Consensus of USVs under Heterogeneous UAV-USV Multi-Agent Systems Cooperative Control Scheme. J. Mar. Sci. Eng. 2021, 9, 1314. [Google Scholar] [CrossRef]
  23. Wang, L.; Yue, W.; Zhang, R. Consensus for Multiple Unmanned Surface Vehicle (Musv) Systems with Markov Switching Topologies. Pol. Marit. Res. 2019, 26, 145–152. [Google Scholar] [CrossRef]
  24. Han, W.; Zhang, B.; Wang, Q.; Luo, J.; Ran, W.; Xu, Y. A Multi-Agent Based Intelligent Training System for Unmanned Surface Vehicles. Appl. Sci. 2019, 9, 1089. [Google Scholar] [CrossRef]
  25. Zak, A. Control of Unmanned Underwater Vehicle as a Member of Vehicles Team Performing a Given Task. Trans. Marit. Sci. 2019, 8, 18–25. [Google Scholar] [CrossRef]
  26. Huang, S.; Zhang, H.; Huang, Z. Multi-UAV Collision Avoidance using Multi-Agent Reinforcement Learning with Counterfactual Credit Assignment. arXiv 2022, arXiv:2204.08594. [Google Scholar]
  27. Visintainer, F.; Altomare, L.; Toffetti, A.; Kovacs, A.; Amditis, A. Towards Manoeuver Negotiation: AutoNet2030 Project from a Car Maker Perspective. Transp. Res. Procedia 2016, 14, 2237–2244. [Google Scholar] [CrossRef][Green Version]
  28. Hu, Q.; Yang, C.; Chen, H.; Xiao, B. Planned Route Based Negotiation for Collision Avoidance Between Vessels. TransNav Int. J. Mar. Navig. Saf. Sea Transp. 2008, 2, 363–368. [Google Scholar]
  29. Hornauer, S.; Hahn, A. Towards Marine Collision Avoidance Based on Automatic Route Exchange. IFAC Proc. Vol. 2013, 46, 103–107. [Google Scholar] [CrossRef]
  30. Szłapczyńska, J. Data Acquisition in a Manoeuver Auto-negotiation System. TransNav Int. J. Mar. Navig. Saf. Sea Transp. 2015, 9, 343–348. [Google Scholar]
  31. Weiss, G. Multiagent Systems. A Modern Approach to Distributed Artificial Intelligence; The MIT Press: Cambridge, MA, USA, 1999. [Google Scholar]
  32. Zak, A. Controlling a team of unmanned underwater vehicles performing water region search tasks. Pol. Marit. Res. 2013, 20, 82–89. [Google Scholar] [CrossRef][Green Version]
  33. Lisowski, J. Comparison of dynamic games in application to safe ship control. Pol. Marit. Res. 2014, 21, 3–12. [Google Scholar] [CrossRef]
  34. Lisowski, J. Game Control Methods Comparison when Avoiding Collisions with Multiple Objects Using Radar Remote Sensing. Remote Sens. 2020, 12, 1573. [Google Scholar] [CrossRef]
  35. Lisowski, J.; Mohamed-Seghir, M. Comparison of computational intelligence methods based on fuzzy sets and game theory in the synthesis of safe ship control based on information from a radar ARPA system. Remote Sens. 2019, 11, 82. [Google Scholar] [CrossRef]
  36. Müller, J.P. The agent architecture interrap. In The Design of Intelligent Agents. Lecture Notes in Computer Science; Springer: Berlin/Heidelberg, Germany, 1996; Volume 1177, pp. 45–123. [Google Scholar]
  37. Tweedale, J.; Ichalkaranje, N.; Sioutis, C.; Jarvis, B.; Consoli, A.; Phillips-Wren, G. Innovations in multi-agent systems. J. Netw. Comput. Appl. 2007, 30, 1089–1115. [Google Scholar] [CrossRef]
  38. Tweedale, J.W. Enhancing the Degree of Autonomy by Creating Automated Components within a Multi-Agent System Framework. In Knowledge-Based Information Systems in Practice. Smart Innovation, Systems and Technologies; Weedale, J., Jain, L., Watada, J., Howlett, R., Eds.; Springer: Cham, Switzerland, 2015; Volume 30, pp. 251–276. [Google Scholar]
  39. Ferguson, I. Towards an architecture for adaptive, rational, mobile agents. In Decentralized AI 3—Proceedings of the Third European Workshop on Modelling Autonomous Agents in a Multi-Agent World (MAAMAW 1991); Werner, E., Demazeau, Y., Eds.; Elsevier Science Publishers: Amsterdam, The Netherlands, 1991; Volume 1177, pp. 249–262. [Google Scholar]
  40. Lazarowska, A. Verification of Ship’s Trajectory Planning Algorithms Using Real Navigational Data. TransNav Int. J. Mar. Navig. Saf. Sea Transp. 2019, 13, 559–564. [Google Scholar] [CrossRef]
  41. Lazarowska, A. A new deterministic approach in a decision support system for ship’s trajectory planning. Expert Syst. Appl. 2017, 71, 469–478. [Google Scholar] [CrossRef]
  42. Lazarowska, A. Safe Trajectory Planning for Maritime Surface Ships, 1st ed.; Springer Nature Switzerland AG: Cham, Switzerland, 2022. [Google Scholar]
  43. Śmierzchalski, R. Ships’ domains as collision risk at sea in the evolutionary method of trajectory planning. In Information Processing and Security Systems; Saeed, K., Pejaś, J., Eds.; Springer: Boston, MA, USA, 2005; pp. 411–422. [Google Scholar]
  44. Tam, C.; Bucknall, R. Cooperative path planning algorithm for marine surface vessels. Ocean Eng. 2013, 57, 25–33. [Google Scholar] [CrossRef]
  45. Szlapczynski, R.; Szlapczynska, J. On evolutionary computing in multi-ship trajectory planning. Appl. Intell. 2012, 37, 155–174. [Google Scholar] [CrossRef]
  46. Tam, C.; Bucknall, R. Path-planning algorithm for ships in close-range encounters. J. Mar. Sci. Technol. 2010, 15, 395–407. [Google Scholar] [CrossRef]
Figure 1. A timeline of recent projects on autonomous ships.
Figure 1. A timeline of recent projects on autonomous ships.
Electronics 11 02853 g001
Figure 2. Autonomous Navigation System for USVs.
Figure 2. Autonomous Navigation System for USVs.
Electronics 11 02853 g002
Figure 3. Agent architecture and control flow.
Figure 3. Agent architecture and control flow.
Electronics 11 02853 g003
Figure 4. Parameters defining a navigational situation at sea.
Figure 4. Parameters defining a navigational situation at sea.
Electronics 11 02853 g004
Figure 5. A flowchart of the Trajectory Base Algorithm.
Figure 5. A flowchart of the Trajectory Base Algorithm.
Electronics 11 02853 g005
Figure 6. Solution of test case 1.
Figure 6. Solution of test case 1.
Electronics 11 02853 g006
Figure 7. Solution of test case 2.
Figure 7. Solution of test case 2.
Electronics 11 02853 g007
Figure 8. Solution of test case 3.
Figure 8. Solution of test case 3.
Electronics 11 02853 g008
Figure 9. Solution of test case 4.
Figure 9. Solution of test case 4.
Electronics 11 02853 g009
Table 1. Research projects on autonomous ships.
Table 1. Research projects on autonomous ships.
ProjectType of VesselYearsAimType of Experiments/Analysis
MUNIN [2]dry bulk carrier, 75.000 DWT, speed: 16 kn2012–2015deep-sea voyage autonomous navigationfeasibility study/theoretical analysis
ReVolt [3]60 m, 1300 DWT, battery powered2013short-sea voyageship concept
AAWA [4]not specified2015–2018remotely-controlled shiptheoretical analysis for a proof of concept demonstrator
Autosea [5]autonomous passenger ferries2015–2019methods for guidance and navigationfull-scale experiments
Autoferry [6]5 m, electric passenger ferry milliAmpère2016–2019urban water transportfull-scale prototype
Yara Birkeland [7]79.5 m, fully electric container feeder, 120 TEU2017–2022short-sea voyagemodel testing/vessel building and operation planned
SVAN [8]53.8 m, ferry Finferries Falco2018short-sea voyagefully autonomous ferry demonstration
MAS [9]5 m trimaran Mayflower 4002016–2022oceanographic surveys and researchAtlantic Crossing planned for 2022
Table 3. Degrees of ship autonomy according to IMO.
Table 3. Degrees of ship autonomy according to IMO.
Degree of AutonomyDescription
OneShip with automated processes and decision support
TwoRemotely controlled ship with seafarers on board
ThreeRemotely controlled ship without seafarers on board
FourFully autonomous ship
Table 4. ANSs in research projects on autonomous ships.
Table 4. ANSs in research projects on autonomous ships.
ProjectModule for Collision AvoidanceModule for Data Perception and Data FusionSensorsAutonomous Navigation SystemAlgorithmsOther Systems
MUNIN [2]Collision Avoidance (CA) moduleAdvanced Sensor Module (ASM)marine radar, AIS receiver, daylight and infrared cameras, nautical dataDeep Sea Navigation System, track pilot and rudder and engine control: path following, weather routing, collision avoidancesafe weather routing: A-star algorithm, collision avoidance algorithm: formalized description of COLREGsAutonomous Engine and Monitoring Control system, Shore Control Centre
AAWA [4]Collision Avoidance (CA) moduleSituation Awareness (SA) system (sensor fusion)visual and IR cameras, short range and long range radars, lidar, GPS, inertial sensors, electronic navigational chartsRoute planning module, SA module, CA module, Ship state definition moduleVelocity Obstacles (VO) methodDynamic positioning system, Propulsion control system, Remote operator
Autosea [5]Collision Avoidance (CA) moduleSensor Fusion (SF) moduleAIS, radar, camera, chartsCA module (collision detection, avoidance, guidance), SF module (target tracking)Model Predictive Control (MPC)other systems not considered
Table 5. Multi-agent systems for ships and unmanned vehicles.
Table 5. Multi-agent systems for ships and unmanned vehicles.
AuthorsYearControl ObjectPurposeType of TaskMethodOptimizationRemarks
Huang et al. [26]2022UAVcollision avoidance in UAV swarmscooperationmulti-agent reinforcement learningsafety, energy consumption, response timedifferent control object
Xue and Wu [22]2021USVs + UAVformation controlcooperationleader-following consensusAPF path planning + sliding mode controldifferent task
Han et al. [24]2019USVtraining a team of USVscooperation within the team, competition with other teamsgenetic-based fuzzy rule training algorithmoptimizing agents’ coordination decisionsdifferent task
Wang et al. [23]2019USVformation controlcooperationleader-following consensussampled-data consensus protocoldifferent task
Żak [25]2019UUVsearching water region by a team of UUVscooperationUUV operation algorithmminimize the total timedifferent task
Visintainer et al. [27]2016carmaneuver negotiationcooperationalgorithms for automated lane change, distance keepingno optimizationconcept stage
Szlapczynska [30]2015shipmaneuver auto-negotiation, collision avoidancecooperationevolutionary sets of safe trajectoriesthe best set of reciprocal trajectoriesdata acquisition
Hornauer and Hahn [29]2013shipmaneuver auto-negotiation, collision avoidancecooperationevolutionary sets of safe trajectoriesthe best set of reciprocal trajectoriesconcept stage
Hu et al. [28]2008shipmaneuver auto-negotiation, collision avoidancecooperationgeometrical relationshipsdetails not giventwo ships encounter, might not be COLREGs compliant
Table 6. Input data of test case 1—head-on.
Table 6. Input data of test case 1—head-on.
USVCourseSpeedBearingDistance
No.[°][kn][°][nm]
0010--
11801404
Table 7. Input data of test case 2.
Table 7. Input data of test case 2.
USVCourseSpeedBearingDistance
No.[°][kn][°][nm]
0010--
127016453
2180904
Table 8. Input data of test case 3.
Table 8. Input data of test case 3.
USVCourseSpeedBearingDistance
No.[°][kn][°][nm]
0014--
127010454
290103154
Table 9. Input data of test case 4.
Table 9. Input data of test case 4.
USVCourseSpeedBearingDistance
No.[°][kn][°][nm]
0014--
12708456
21801208
39083156
Table 10. Output data of test case 1.
Table 10. Output data of test case 1.
USVCoursePath LengthRun Time
No.[°][nm][s]
027, 3529.310.21
1198, 1719.250.12
Table 11. Output data of test case 2.
Table 11. Output data of test case 2.
USVCoursePath LengthRun Time
No.[°][nm][s]
018, 3519.250.16
1315, 270, 2629.490.39
2198, 1719.250.14
Table 12. Output data of test case 3.
Table 12. Output data of test case 3.
USVCoursePath LengthRun Time
No.[°][nm][s]
045, 0, 3519.50.47
1281, 2569.220.12
2104, 799.220.11
Table 13. Output data of test case 4.
Table 13. Output data of test case 4.
USVCoursePath LengthRun Time
No.[°][nm][s]
027, 0, 3339.940.7
1284, 2599.220.09
2214, 180, 1589.990.8
3104, 799.220.09
Table 14. Comparison of collision avoidance algorithms applicable in maneuver auto-negotiation systems—part 1.
Table 14. Comparison of collision avoidance algorithms applicable in maneuver auto-negotiation systems—part 1.
AuthorsYearMethodTypeStatic ObstaclesDynamic ObstaclesCOLREGs
Tam and Bucknall [44]2013Cooperative Path Planning (CPP)deterministicstatic point-based obstructions (buoys)simple and complex encountersdetermined priority based on COLREGs
Szapczynski and Szlapczynska [45]2012Evolutionary Sets of Safe Ship Trajectories (ESoSST)non-deterministicshorelines, shallowssimple and complex encountersCOLREGs-violation penalties
Tam and Bucknall [46]2010evolutionary algorithmnon-deterministicship with 0 speedsimple and complex encountersCOLREGs-influenced area (CA)
Hu et al. [28]2008Collision-Avoidance Negotiation FramewOrk (CANFO)deterministicnot consideredtwo ship encountersmight not be COLREGs compliant
This approach2022Trajectory Base Algorithm (TBA)deterministicshorelines, shallows, point-basedsimple and complex encountersCOLREGs enforced by ship domain shape and size
Table 15. Comparison of collision avoidance algorithms applicable in maneuver auto-negotiation systems—part 2.
Table 15. Comparison of collision avoidance algorithms applicable in maneuver auto-negotiation systems—part 2.
AuthorsYearOptimization CriteriaRun TimeRepeatabilityPerspective
Tam and Bucknall [44]2013course change of 30 degrees7 s for complex test casesyesconsistency from all ships’ perspectives
Szapczynski and Szlapczynska [45]2012min. way losses of trajectories in a set;maximum 1 minno—small differences possibleleader ship perspective
Tam and Bucknall [46]2010path length, avg. speed, travelling time, engine adjustment;200–800 snoconsistency from all ships’ perspectives
Hu et al. [28]2008details not givennot givenyesboth ships’ perspectives
This approach2022minimal path lengthless than 1 syesleader ship/all ships perspectives
Publisher’s Note: MDPI stays neutral with regard to jurisdictional claims in published maps and institutional affiliations.

Share and Cite

MDPI and ACS Style

Lazarowska, A.; Żak, A. A Concept of Autonomous Multi-Agent Navigation System for Unmanned Surface Vessels. Electronics 2022, 11, 2853. https://doi.org/10.3390/electronics11182853

AMA Style

Lazarowska A, Żak A. A Concept of Autonomous Multi-Agent Navigation System for Unmanned Surface Vessels. Electronics. 2022; 11(18):2853. https://doi.org/10.3390/electronics11182853

Chicago/Turabian Style

Lazarowska, Agnieszka, and Andrzej Żak. 2022. "A Concept of Autonomous Multi-Agent Navigation System for Unmanned Surface Vessels" Electronics 11, no. 18: 2853. https://doi.org/10.3390/electronics11182853

APA Style

Lazarowska, A., & Żak, A. (2022). A Concept of Autonomous Multi-Agent Navigation System for Unmanned Surface Vessels. Electronics, 11(18), 2853. https://doi.org/10.3390/electronics11182853

Note that from the first issue of 2016, this journal uses article numbers instead of page numbers. See further details here.

Article Metrics

Back to TopTop