Steel Surface Doped with Nb via Modulated Electron-Beam Irradiation: Structure and Properties
Abstract
1. Introduction
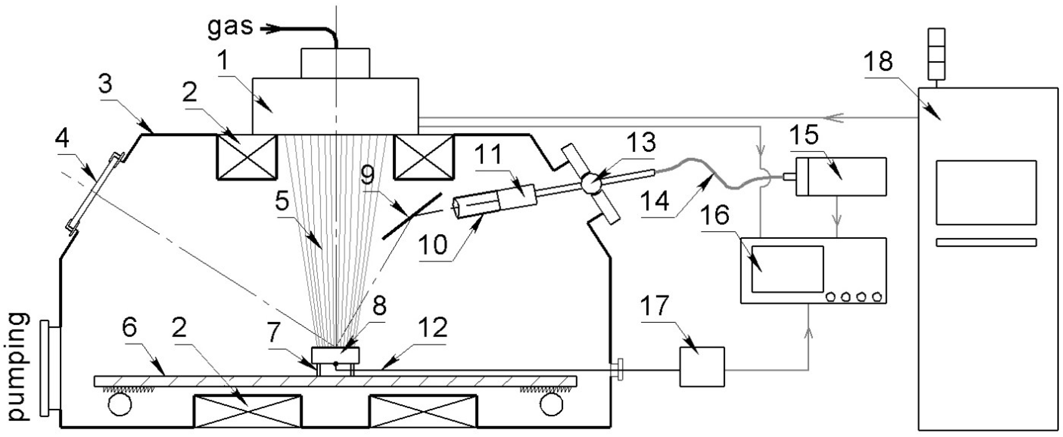
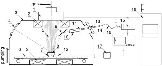
2. Test Material and Treatment Methods
3. Analysis of Strength, Tribological Properties, and Structure
4. Conclusions
Author Contributions
Funding
Institutional Review Board Statement
Informed Consent Statement
Data Availability Statement
Conflicts of Interest
References
- Beddoes, J. Introduction to Stainless Steels, 3rd ed.; ASM International: Novelty, OH, USA, 1999; p. 315. [Google Scholar]
- Hosford, W.F. Iron and Steel; Cambridge University Press: New York, NY, USA, 2012; p. 298. [Google Scholar]
- McGuire, M.F. Stainless Steels for Design Engineers; ASM International: Novelty, OH, USA, 2008; p. 304. [Google Scholar]
- Baddoo, N.R. Stainless steel in construction: A review of research, applications, challenges and opportunities. J. Constr. Steel Res. 2008, 64, 1199–1206. [Google Scholar] [CrossRef]
- Akhmadeev, Y.H.; Ivanov, Y.F.; Krysina, O.V.; Lopatin, I.V.; Petrikova, E.A.; Rygina, M.E. Electron–ion–plasma modification of carbon steel. High Temp. Mater. Process. 2021, 25, 47–55. [Google Scholar] [CrossRef]
- Pogrebnjak, A.D.; Lisovenko, M.A.; Buranich, V.V.; Turlybekuly, A. Protective coatings with nanoscale multilayer architecture: Current state and main trends. Phys.-Uspekhi 2021, 64, 253–279. [Google Scholar] [CrossRef]
- Budilov, V.V.; Mukhin, V.S.; Yagafarov, I.I. An experimental study of the effect of vacuum ion-plasma coating deposition on the GTE part cylindrical surface accuracy. Russ. Aeronaut. 2015, 58, 116–119. [Google Scholar] [CrossRef]
- Kravchenko, V.N.; Novikov, E.S.; Voropayev, A.I.; Petrov, L.M.; Ivanchuck, S.B. The application of strengthening vacuum ion-plasma treating for the surface layer of constructional metal materials in mechanical engineering and the features of its formation. J. Phys. Conf. Ser. 2019, 1281, 012040. [Google Scholar] [CrossRef]
- Boxman, R.L.; Zhitomirsky, V.N. Vacuum arc deposition devices. Rev. Sci. Instrum. 2006, 77, 021101. [Google Scholar] [CrossRef]
- Ivanov, Y.F.; Kolubaeva, Y.A.; Teresov, A.D.; Koval, N.N.; Lu, F.; Liu, G.; Gao, Y.; Zhang, X.; Tang, Z.; Wang, Q. Electron beam nanostructurization of titanium alloys surface. In Proceedings of the 9th International Conference Modification of Materials with Particle Beams and Plasma Flows, Tomsk, Russia, 21–26 September 2008; pp. 143–146. [Google Scholar]
- Morozov, Y.D.; Stepashin, A.M.; Aleksandrov, S.V. Effects of manganese and niobium and rolling conditions on the properties of low-alloy steel. Metallurgist 2002, 5, 45–47. (In Russian) [Google Scholar]
- Odesskii, P.D.; Smirnov, L.A. Vanadium and niobium in microalloyed steel for metal structures. Steel Transl. 2005, 35, 63–73. [Google Scholar]
- Fernandez, A.I.; Uranga, P.; Lopez, B.; Rodrigues-Ibabe, J.M. Dynamic recrystallization behavior covering a wide austenite grain size range in Nb and Nb–Ti microalloyed steels. Mater. Sci. Eng. 2003, 361, 367–376. [Google Scholar] [CrossRef]
- Inoue, K.; Ishikawa, N.; Ohnuma, I.; Ohtani, H.; Ishida, K. Calculation of phase equilibria between austenite and (Nb, Ti, V) (C, N) in microalloyed steels. ISIJ Int. 2001, 41, 175–182. [Google Scholar] [CrossRef]
- De Ardo, J. Fundamental metallurgy of niobium in steel. In Proceedings of the International Symposium Niobium 2001, Orlando, FL, USA, 2–5 December 2001; pp. 571–586. [Google Scholar]
- Karjalainen, L.P.; Peura, P.; Porter, D.A. Effects of strain rate changes and strain path on flow stress and recrystallisation kinetics in a Nb bearing microalloyed steels. In Thermomechanical Processings of Steels, Proceedings of the Church Hous Conference, London, UK, 24–26 May 2000; IoM Communications Ltd.: London, UK, 2000; Volume 1, pp. 309–321. [Google Scholar]
- Khlusova, E.I.; Sych, O.V.; Orlov, V.V. Cold-resistant steels: Structure, properties, and technologies. Phys. Met. Metallogr. 2021, 122, 579–613. [Google Scholar] [CrossRef]
- Posti, A.I. Effect of micro alloying of steel with niobium on the mechanical properties of heat-strengthened rebar. Litiyoi Metall. Foundry Prod. Metall. 2021, 1, 73–77. (In Russian) [Google Scholar] [CrossRef]
- Zhou, Z.; Zhang, Z.; Shan, Q.; Li, Z.; Jiang, Y.; Ge, R. Influence of Heat-Treatment on Enhancement of Yield Strength and Hardness by Ti-V-Nb Alloying in High-Manganese Austenitic Steel. Metals 2019, 9, 299. [Google Scholar] [CrossRef]
- You, K.; Liu, X.; Chen, K.; Wang, W.; He, Z. Microstructure of plasma Nb-alloyed layer on 40Cr13 stainless steel. Cailiao Kexue Yu Gongyi/Mater. Sci. Technol. 2015, 23, 68–74. [Google Scholar]
- Liu, A.M.; Feng, Y.; Zhao, Y.; Ma, M.T.; Lu, H.Z. Effect of niobium and vanadium micro-alloying on microstructure and property of 22MnB5 hot press forming steel. Mat. Mech. Eng. 2019, 43, 34–37. [Google Scholar]
- Liu, S.; Ai, S.; Long, M.; Feng, Y.; Zhao, J.; Zhao, Y.; Gao, X.; Chen, D.; Ma, M. Evolution of Microstructures and Mechanical Properties of Nb-V Alloyed Ultra-High Strength Hot Stamping Steel in Austenitizing Process. Materials 2022, 15, 8197. [Google Scholar] [CrossRef]
- Cherenda, N.N.; Rogovaya, I.S.; Shymanski, V.I.; Uglov, V.V.; Saladukhin, I.A.; Astashynski, V.M.; Kuzmitski, A.M.; Ivanov, Y.F.; Petrikova, E.A. Elemental and phase compositions and mechanical properties of titanium surface layer alloyed by Zr, Nb, and Al under the action of compression plasma flows. High Temp. Mater. Process. 2022, 26, 1–9. [Google Scholar] [CrossRef]
- Goncharenko, I.M.; Grigoriev, S.V.; Lopatin, I.V.; Koval, N.N.; Schanin, P.M.; Tukhfatullin, A.A.; Ivanov, Y.F.; Strumilova, N.V. Surface modification of steels by complex diffusion saturation in low pressure arc discharge. Surf. Coat. Technol. 2003, 169–170, 419–423. [Google Scholar] [CrossRef]
- Shymanski, V.I.; Esipenko, D.V.; Uglov, V.V.; Koval, N.N.; Ivanov, Y.F.; Teresov, A.D. Oxidation behavior of TiCr and TiMo alloys formed by low-energy pulsed electron beam impact. Surf. Coat. Technol. 2022, 434, 128227. [Google Scholar] [CrossRef]
- Ivanov, Y.F.; Shugurov, V.V.; Petrikova, E.A.; Teresov, A.D.; Krysina, O.V.; Tolkachev, O.S. Borating of Steel Initiated by a Pulsed Electron Beam. AIP Conf. Proc. 2022, 2509, 020090. [Google Scholar]
- Gromov, V.E.; Ivanov, Y.F.; Vorobiev, S.V.; Konovalov, S.V. Fatigue of Steels Modified by High Intensity Electron Beams; Cambridge International Science Publishing Ltd.: London, UK, 2015; 272 p. [Google Scholar]
- Shugurov, V.V.; Koval, N.N.; Krysina, O.V.; Prokopenko, N.A. QUINTA equipment for ion-plasma modification of materials and products surface and vacuum arc plasma-assisted deposition of coatings. J. Phys. Conf. Ser. 2019, 1393, 012131–012141. [Google Scholar] [CrossRef]
- Koval, N.N.; Grigoryev, S.V.; Devyatkov, V.N.; Teresov, A.D.; Schanin, P.M. Effect of Intensified Emission during the Generation of a Submillisecond Low-Energy Electron Beam in a Plasma-Cathode Diode. IEEE Trans. Plasma Sci. 2009, 37, 1890–1896. [Google Scholar] [CrossRef]
- Vorobyov, M.S.; Koval, N.N.; Moskvin, P.V.; Teresov, A.D.; Doroshkevich, S.Y.; Yakovlev, V.V.; Shin, V.I. Electron beam generation with variable current amplitude during its pulse in a source with a grid plasma cathode. J. Phys. Conf. Ser. 2019, 1393, 012064. [Google Scholar] [CrossRef]
- Vorobyov, M.S.; Moskvin, P.V.; Shin, V.I.; Koval, N.N.; Ashurova, K.T.; Doroshkevich, S.Y.; Devyatkov, V.N.; Torba, M.S.; Levanisov, V.A. Dynamic Power Control of a Submillisecond Pulsed Megawatt Electron Beam in a Source with a Plasma Cathode. Tech. Phys. Lett. 2021, 47, 528–531. [Google Scholar] [CrossRef]
- Vorobyov, M.S.; Koval, T.V.; Shin, V.I.; Moskvin, P.V.; Tran, M.K.A.; Koval, N.N.; Ashurova, K.; Doroshkevich, S.Y.; Torba, M.S. Controlling the Specimen Surface Temperature during Irradiation with a Submillisecond Electron Beam Produced by a Plasma-Cathode Electron Source. IEEE Trans. Plasma Sci. 2021, 49, 2550–2553. [Google Scholar] [CrossRef]
- Comsol, A.B. Comsol Multiphysics; Heat Transfer Module User’s Guide, Version 5; Comsol AB: Stockholm, Sweden, 2018. [Google Scholar]
- Babichev, A.P.; Babushkina, N.A.; Bratkovskii, A.M.; Grigor’eva, I.S.; Melikhova, E.Z. Physical Values: Handbook; Energoatomizdat: Moscow, Russia, 1991. [Google Scholar]
- Ivanov, Y.F.; Gromov, V.E.; Zagulyaev, D.V.; Konovalov, S.V.; Rubannikova, Y.A. Improvement of Functional Properties of Alloys by Electron Beam Treatment. Steel Transl. 2022, 52, 71–75. [Google Scholar] [CrossRef]


















| t, µs | Fe, mass % | a(Fe), Å | D, nm | Δd/d, 10−3 | Nb, wt.% | a(Nb), Å | D, nm | Δd/d, 10−3 |
|---|---|---|---|---|---|---|---|---|
| 0 | 5.6 | 2.8763 | 16.7 | 0.002 | 94.4 | 3.3731 | 17.4 | 8.045 |
| 50 | 79.7 | 2.8475 | 15.6 | 1.626 | 20.3 | 3.2700 | 17.9 | 6.485 |
| 100 | 94.3 | 2.8491 | 15.4 | 1.403 | 5.7 | 3.2799 | 97.2 | 5.436 |
| 300 | 96.8 | 2.8527 | 15.2 | 1.508 | 3.2 | 3.2799 | 23.4 | 1.742 |
| 500 | 95.8 | 2.8668 | 16.0 | 1.14 | 4.2 | 3.2932 | 23.6 | 6.048 |
Disclaimer/Publisher’s Note: The statements, opinions and data contained in all publications are solely those of the individual author(s) and contributor(s) and not of MDPI and/or the editor(s). MDPI and/or the editor(s) disclaim responsibility for any injury to people or property resulting from any ideas, methods, instructions or products referred to in the content. |
© 2023 by the authors. Licensee MDPI, Basel, Switzerland. This article is an open access article distributed under the terms and conditions of the Creative Commons Attribution (CC BY) license (https://creativecommons.org/licenses/by/4.0/).
Share and Cite
Vorobyov, M.S.; Petrikova, E.A.; Shin, V.I.; Moskvin, P.V.; Ivanov, Y.F.; Koval, N.N.; Koval, T.V.; Prokopenko, N.A.; Kartavtsov, R.A.; Shpanov, D.A. Steel Surface Doped with Nb via Modulated Electron-Beam Irradiation: Structure and Properties. Coatings 2023, 13, 1131. https://doi.org/10.3390/coatings13061131
Vorobyov MS, Petrikova EA, Shin VI, Moskvin PV, Ivanov YF, Koval NN, Koval TV, Prokopenko NA, Kartavtsov RA, Shpanov DA. Steel Surface Doped with Nb via Modulated Electron-Beam Irradiation: Structure and Properties. Coatings. 2023; 13(6):1131. https://doi.org/10.3390/coatings13061131
Chicago/Turabian StyleVorobyov, Maxim Sergeevich, Elizaveta Alekseevna Petrikova, Vladislav Igorevich Shin, Pavel Vladimirovich Moskvin, Yurii Fedorovich Ivanov, Nikolay Nikolaevich Koval, Tamara Vasil`evna Koval, Nikita Andreevich Prokopenko, Ruslan Aleksandrovich Kartavtsov, and Dmitry Alekseevich Shpanov. 2023. "Steel Surface Doped with Nb via Modulated Electron-Beam Irradiation: Structure and Properties" Coatings 13, no. 6: 1131. https://doi.org/10.3390/coatings13061131
APA StyleVorobyov, M. S., Petrikova, E. A., Shin, V. I., Moskvin, P. V., Ivanov, Y. F., Koval, N. N., Koval, T. V., Prokopenko, N. A., Kartavtsov, R. A., & Shpanov, D. A. (2023). Steel Surface Doped with Nb via Modulated Electron-Beam Irradiation: Structure and Properties. Coatings, 13(6), 1131. https://doi.org/10.3390/coatings13061131

