Methods for Fitting the Limit State Function of the Residual Strength of Damaged Ships
Abstract
1. Introduction
2. Fitting Methods for the Limit State Function
2.1. The Least-Squares Method
2.2. The Moving Least-Squares Method
2.3. The Radial Basis Function Neural Network Method
2.4. The Weighted Piecewise Fitting Method
3. Calculation and Analysis of Typical Fitting Sample Distributions
3.1. Typical Fitting Sample Distribution
3.2. Fitting and Analysis of the Typical Distribution
4. Calculation and Fitting for the Sample of the Damaged Ships
4.1. The Improved Smith Method
- (1)
- The cross section of concern is divided into different types of stiffened plate units, plating units, and hard-corner units;
- (2)
- For a given curvature, the stress–strain relationships for all types of units are defined as shown in Figure 6. Then, the strain of the i-th unit is
- (3)
- The axial force P should satisfy
- (4)
- The position of point G is shown in Figure 7 and can be obtained by
- (5)
- The flexural stiffness should satisfy the function
- (6)
- The increments of the next curvature and/or bending moment can be calculated by
- (7)
- Increase the curvature, calculate the increment in strain and stress according to the stress–strain curve, and then the cumulative results of bending moment, strain, and stress of each unit can be obtained;
- (8)
- The position of the neutral axis can be calculated with the stress and strain
- (9)
- When the ultimate strength is reached, the calculation is stopped.
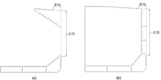
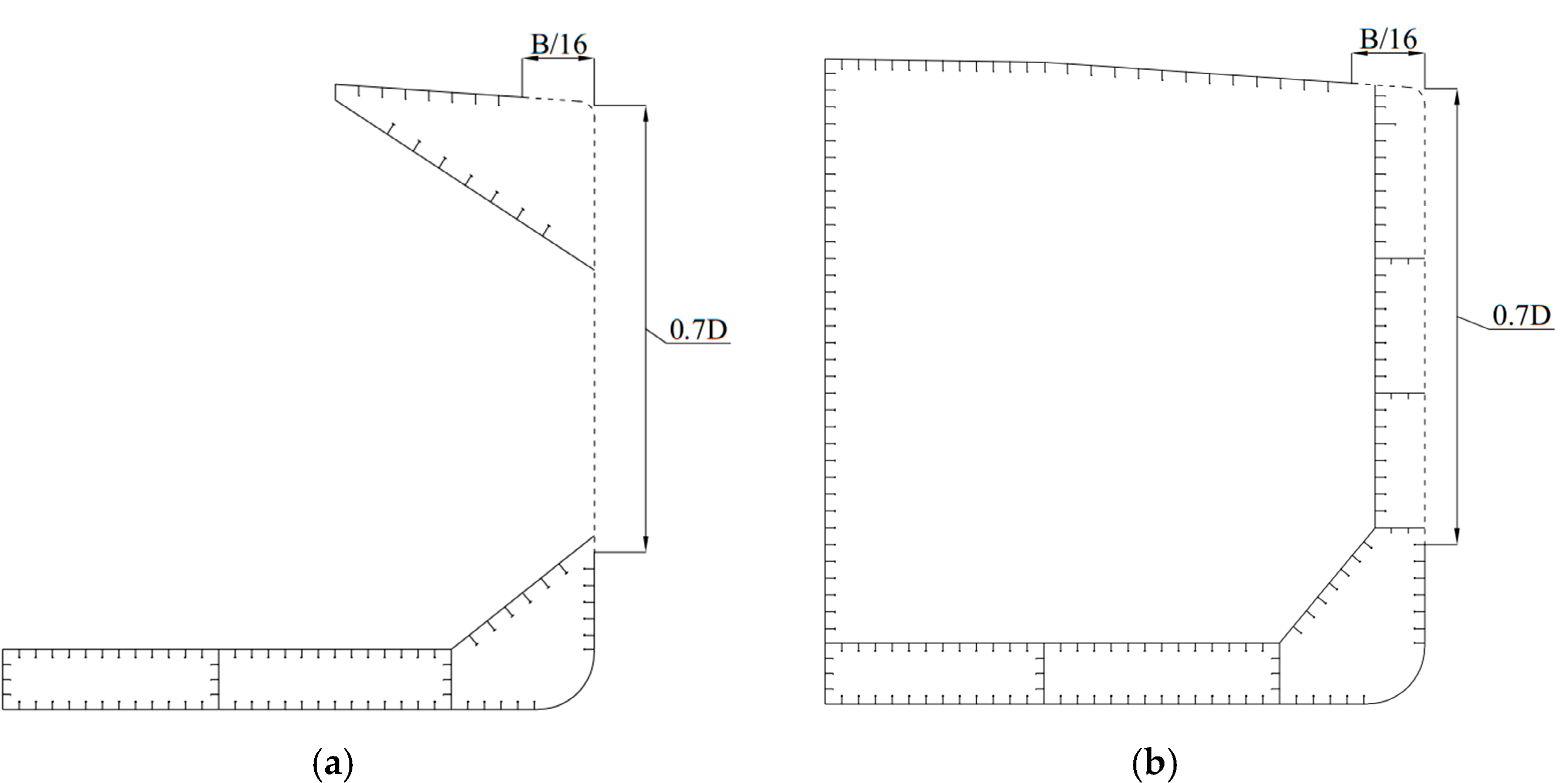
4.2. Distribution of the Sample of Damaged Ships
4.3. Residual Strength Fitting Results for the Damaged Ships
5. Conclusions
- (1)
- The distribution of the sample influences the fitting accuracy. When the sample curves have multiple inflection points in a single quadrant and the curves do not pass the points (1,0), (0,1), (−1,0), and (0,−1), the difference between the fitting curves and the sample curves is large.
- (2)
- The least-squares method can fit the curves with different fitting functions and all the functions are explicit, but the fitting accuracies of the quadratic function, the cubic function, and the nonlinear function are not satisfactory. The fitting curves of the linear functions are not continuous, and the nonlinear functions are not smooth. The fitting results also show that the increase in the sample and the order of the function has little contribution to the fitting accuracy.
- (3)
- Application of MLS, RBFNN, and WP are more complex than the least-squares method, but the fitting accuracy is much better. All the fitting curves are continuous and smooth in the four quadrants, and they are able to improve the assessment accuracy of the residual strength under pure or combined bending moments. It can also be found that the increment of the sample has little contribution to the fitting accuracy.
- (4)
- The implicit fitting function can be obtained with MLS and RBFNN, and a series of explicit fitting functions can be obtained with WP.
Author Contributions
Funding
Institutional Review Board Statement
Informed Consent Statement
Data Availability Statement
Acknowledgments
Conflicts of Interest
References
- European Maritime Safety Agency (EMSA). Annual Overview of Marine Casualties and Incidents 2019; EMSA: Lisbon, Portugal, 2019. [Google Scholar]
- Chan, H.S.; Incecik, A.; Atlar, M. Structural Integrity of a Damaged Ro-Ro Vessel. In Proceedings of the Second International Conference on Collision and Grounding of Ships, Copenhagen, Denmark, 1–3 July 2001; Technical University of Denmark: Lyngby, Denmark, 2001; pp. 253–258. [Google Scholar]
- International Association of Classification Societies (IACS). Harmonized Common Structural Rules for Oil Tankers and Bulk Carriers; IACS: London, UK, 2014. [Google Scholar]
- Vu, V.T.; Yang, P.; Doan, V.T. Effect of uncertain factors on the hull girder ultimate vertical bending moment of bulk carriers. Ocean Eng. 2018, 148, 161–168. [Google Scholar]
- Vu, V.T.; Yang, P. Effect of corrosion on the ship hull of a double hull very large crude oil carrier. J. Mar. Sci. Appl. 2017, 16, 334–343. [Google Scholar]
- Vu, V.T.; Dong, D.D. Hull girder ultimate strength assessment considering local corrosion. J. Mar. Sci. Appl. 2020, 19, 693–704. [Google Scholar] [CrossRef]
- Gordo, J.M.; Teixeira, A.P.; Guedes Soares, C. Ultimate strength of ship structures. Mar. Technol. Eng. 2011, 2, 889–900. [Google Scholar]
- Estefen, S.F.; Chujutalli, J.H.; Guedes Soares, C. Influence of geometric imperfections on the ultimate strength of the double bottom of a Suezmax tanker. Eng. Struct. 2016, 127, 287–303. [Google Scholar] [CrossRef]
- Yao, T.; Nikolov, P.I. Progressive Collapse Analysis of a Ship’s Hull under Longitudinal Bending (2nd Report). J. Soc. Nav. Archit. Jpn. 1992, 172, 437–446. [Google Scholar] [CrossRef]
- Parunov, J.; Rudan, S.; Gledić, I.; Bužančić Primorac, B. Finite Element Study of Residual Longitudinal Strength of a Double Hull Oil Tanker with Simplified Collision Damage and Subjected to Bi-axial Bending. Ships Offshore Struct. 2018, 13, 25–36. [Google Scholar] [CrossRef]
- Paik, J.K.; Kim, B.J.; Seo, J.K. Methods for Ultimate Limit State Assessment of Ships and Ship-shaped Offshore Structures: Part I Unstiffened Plates. Ocean Eng. 2008, 35, 261–270. [Google Scholar] [CrossRef]
- Paik, J.K.; Kim, B.J.; Seo, J.K. Methods for Ultimate Limit State Assessment of Ships and Ship-shaped Offshore Structures: Part II Stiffened Panels. Ocean Eng. 2008, 35, 271–280. [Google Scholar] [CrossRef]
- Benson, S.; Abubakar, A.; Dow, R.S. A Comparison of Computational Methods to Predict the Progressive Collapse Behaviour of a Damaged Box Girder. Eng. Struct. 2013, 48, 266–280. [Google Scholar] [CrossRef]
- Kim, D.K.; Kim, S.J.; Kim, H.B.; Zhang, X.M.; Li, C.G.; Paik, J.K. Longitudinal Strength Performance of Bulk Carriers with Various Corrosion Additions. Ships Offshore Struct. 2015, 10, 59–78. [Google Scholar] [CrossRef]
- Ogawa, H.; Takami, T.; Tatsumi, A.; Tanaka, Y.; Hirakawa, S.; Fujikubo, M. Buckling/Longitudinal Strength Evaluation For Continuous Stiffened Panel under Combined Shear and Thrust. In Proceedings of the ASME 35th International Conference on Ocean, Offshore and Arctic Engineering (OMAE), Busan, Korea, 19–24 June 2016. [Google Scholar]
- Syrigou, M.S.; Dow, R.S. Strength of Steel and Aluminium Alloy Ship Plating under Combined Shear and Compression/Tension. Eng. Struct. 2018, 166, 128–141. [Google Scholar] [CrossRef]
- Fujikubo, M.; Zubair Muis Alie, M.; Takemura, K.; Iijima, K.; Oka, S. Residual Hull Girder Strength of Asymmetrically Damaged Ships. J. Jpn. Soc. Nav. Archit. Ocean. Eng. 2012, 16, 131–140. [Google Scholar] [CrossRef][Green Version]
- Joonmo, C.; Nam, J.M.; Ha, T.B. Assessment of Residual Ultimate Strength of an Asymmetrically Damaged Tanker Considering Rotational and Translational Shifts of Neutral Axis Plane. Mar. Struct. 2012, 25, 71–84. [Google Scholar]
- Gordo, J.M.; Guedes Soares, C. Collapse of Ship Hulls under Combined Vertical and Horizontal Bending Moments. In Proceedings of the 6th International Symposium on Practical Design of Ships and Mobile Units (PRADS’95), Seoul, Korea, 17–22 September 1995. [Google Scholar]
- Gordo, J.M.; Guedes Soares, C. Interaction Equation for the Collapse of Tankers and Containerships under Combined Bending Moments. J. Ship Res. 1997, 41, 230–240. [Google Scholar] [CrossRef]
- Mansour, A.E.; Lin, Y.H.; Paik, J.K. Ultimate Strength of Ships under Combined Vertical and Horizontal Moments. J. Ship Ocean. Technol. 1998, 2, 31–41. [Google Scholar]
- Luís, R.M.; Hussein, A.W.; Guedes Soares, C. On the Effect of Damage to the Ultimate Longitudinal Strength of Double Hull Tankers. In Proceedings of the 10th International Symposium on Practical Design of Ships and Other Floating Structures (PRADS’07), Houston, TX, USA, 30 September–5 October 2007. [Google Scholar]
- Khan, I.A.; Das, P.K. Random Design Variables and Sensitivity Factors Applicable to Ship Structures Considering Combined Bending Moments. Proc. Inst. Mech. Eng. Part M J. Eng. Marit. Environ. 2008, 222, 133–143. [Google Scholar] [CrossRef]
- Shahid, M. Development of Structural Reliability Techniques and Their Application to Marine Structural Components and Systems. Ph.D. Thesis, Universities of Glasgow and Strathclyde, Glasgow, UK, 2008. [Google Scholar]
- Zhu, Z.; Ren, H.; Li, C.; Zhou, X. Ultimate Limit State Function and Its Fitting Method of Damaged Ship under Combined Loads. J. Mar. Sci. Eng. 2020, 8, 117. [Google Scholar] [CrossRef]
- Lee, D.H.; Paik, J.K. Ultimate Strength Characteristics of As-built Ultra-Large Containership Hull Structures under Combined Vertical Bending and Torsion. Ships Offshore Struct. 2020, 15, 143–160. [Google Scholar] [CrossRef]
- Kim, K.; Yoo, C.H. Ultimate Strengths of Steel Rectangular Box Beams Subjected to Combined Action of Bending and Torsion. Eng. Struct. 2008, 30, 1677–1687. [Google Scholar] [CrossRef]
- Shi, G.J.L.; Wang, D.Y. Residual Ultimate Strength of Open Box Girders with Cracked Damage. Ocean Eng. 2012, 43, 90–101. [Google Scholar] [CrossRef]
- Hu, K.; Yang, P.; Xia, T.; Peng, Z. Residual Ultimate Strength of Large Opening Box Girder with Crack Damage under Torsion and Bending Loads. Ocean Eng. 2018, 162, 274–289. [Google Scholar] [CrossRef]
- Li, J.; Zhou, C.Y.; Cui, P.; He, X.H. Plastic limit loads for pipe bends under combined bending and torsion moment. Int. J. Mech. Sci. 2015, 92, 133–145. [Google Scholar] [CrossRef]














| Project | Case | LS-Q | LS-C | LS-N | MLS | RBFNN | WP |
|---|---|---|---|---|---|---|---|
| maximum error | Case 1 | 0.1427 | 0.0930 | <1 × 10−4 | <1 × 10−4 | <1 × 10−4 | 0 |
| Case 2 | 0.0996 | 0.0823 | <1 × 10−4 | <1 × 10−4 | <1 × 10−4 | 0.0081 | |
| MSE | Case 1 | 0.0043 | 0.0019 | <1 × 10−8 | <1 × 10−8 | <1 × 10−8 | 0 |
| Case 2 | 0.0041 | 0.0024 | <1 × 10−8 | <1 × 10−8 | <1 × 10−8 | 1.09 × 10−5 |
| Project | Case | LS-Q | LS-C | LS-N | MLS | RBFNN | WP |
|---|---|---|---|---|---|---|---|
| maximum error | Case 1 | 0.1142 | 0.0744 | 0.2000 | 0.0008 | <1 × 10−4 | 0 |
| Case 2 | 0.0796 | 0.0658 | 0.1582 | 0.0108 | <1 × 10−4 | 0.0073 | |
| MSE | Case 1 | 0.0028 | 0.0012 | 0.0105 | 2.80 × 10−7 | <1 × 10−8 | 0 |
| Case 2 | 0.0026 | 0.0016 | 0.0134 | 1.20 × 10−5 | <1 × 10−8 | 7.71 × 10−6 |
| Project | Case | LS-Q | LS-C | LS-N | MLS | RBFNN | WP |
|---|---|---|---|---|---|---|---|
| maximum error | Case 1 | 0.1427 | 0.0930 | 0.3566 | 0.0024 | <1 × 10−4 | 01 |
| Case 2 | 0.0996 | 0.0823 | 0.2511 | 0.0097 | 0.0003 | 0.00181 | |
| MSE | Case 1 | 0.0043 | 0.0019 | 0.0197 | 1.23 × 10−6 | <1 × 10−8 | 0 |
| Case 2 | 0.0041 | 0.0024 | 0.0161 | 1.34 × 10−5 | <1 × 10−8 | 1.02 × 10−5 |
| Project | Case | LS-Q | LS-C | LS-N | MLS | RBFNN | WP |
|---|---|---|---|---|---|---|---|
| maximum error | Case 1 | 0.2071 | 0.1732 | 0.1891 | 0.0016 | <1 × 10−4 | 0 |
| Case 2 | 0.1389 | 0.1386 | 0.1330 | 0.0593 | 0.0611 | 0.0334 | |
| MSE | Case 1 | 0.0046 | 0.0028 | 0.0076 | 6.84 × 10−7 | <1 × 10−8 | 0 |
| Case 2 | 0.0040 | 0.0029 | 0.0063 | 0.0002 | 0.0003 | 3.78 × 10−5 |
| Ship Parameter | DB | DT |
|---|---|---|
| L (mm) | 217,000 | 219,000 |
| B (mm) | 32,236 | 32,240 |
| D (mm) | 18,300 | 19,900 |
| Project | Case | LS-Q | LS-C | LS-N | MLS | RBFNN | WP |
|---|---|---|---|---|---|---|---|
| maximum error | Case 1 | 0.3121 | 0.2944 | 0.4264 | 0.0129 | 0.0087 | 0.0000 |
| Case 2 | 0.3267 | 0.3640 | 0.2209 | 0.0471 | 0.0650 | 0.0404 | |
| MSE | Case 1 | 0.0046 | 0.0043 | 0.0138 | 8.53 × 10−6 | 8.21 × 10−6 | 0.0000 |
| Case 2 | 0.0054 | 0.0075 | 0.0072 | 0.0001 | 0.0005 | 0.0001 |
| Project | Case | LS-Q | LS-C | LS-N | MLS | RBFNN | WP |
|---|---|---|---|---|---|---|---|
| maximum error | Case 1 | 0.1326 | 0.0740 | 0.4658 | 0.0024 | 0.0008 | 0.0000 |
| Case 2 | 0.1069 | 0.2451 | 0.4682 | 0.0700 | 0.0378 | 0.0750 | |
| MSE | Case 1 | 0.0026 | 0.0008 | 0.0419 | 1.30 × 10−6 | 1.66 × 10−7 | 0.0000 |
| Case 2 | 0.0035 | 0.0047 | 0.0576 | 0.0008 | 0.0001 | 0.0003 |
Publisher’s Note: MDPI stays neutral with regard to jurisdictional claims in published maps and institutional affiliations. |
© 2022 by the authors. Licensee MDPI, Basel, Switzerland. This article is an open access article distributed under the terms and conditions of the Creative Commons Attribution (CC BY) license (https://creativecommons.org/licenses/by/4.0/).
Share and Cite
Zhu, Z.; Ren, H.; Wang, X.; Zhao, N.; Li, C. Methods for Fitting the Limit State Function of the Residual Strength of Damaged Ships. J. Mar. Sci. Eng. 2022, 10, 102. https://doi.org/10.3390/jmse10010102
Zhu Z, Ren H, Wang X, Zhao N, Li C. Methods for Fitting the Limit State Function of the Residual Strength of Damaged Ships. Journal of Marine Science and Engineering. 2022; 10(1):102. https://doi.org/10.3390/jmse10010102
Chicago/Turabian StyleZhu, Zhiyao, Huilong Ren, Xiuhuan Wang, Nan Zhao, and Chenfeng Li. 2022. "Methods for Fitting the Limit State Function of the Residual Strength of Damaged Ships" Journal of Marine Science and Engineering 10, no. 1: 102. https://doi.org/10.3390/jmse10010102
APA StyleZhu, Z., Ren, H., Wang, X., Zhao, N., & Li, C. (2022). Methods for Fitting the Limit State Function of the Residual Strength of Damaged Ships. Journal of Marine Science and Engineering, 10(1), 102. https://doi.org/10.3390/jmse10010102

