Design and Experiment of Comb-Type Header for Plot Breeding Wheat Harvester Based on EDEM
Abstract
1. Introduction
2. Materials and Methods
2.1. Structure and Working Principle of Comb-Type Wheat Harvester
2.2. Key Component Design
2.2.1. Combing Drum Design
2.2.2. Screw Conveyor Design
2.2.3. Nose Design
2.3. Analysis of the Interaction Between Wheat Plants and the Comb-Type Header
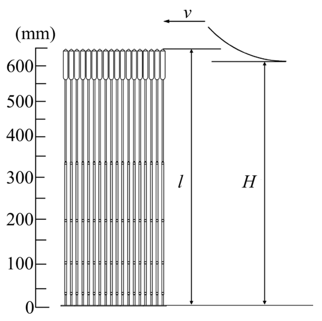
2.3.1. Analysis of Wheat Plant Posture Under the Action of Nose
2.3.2. Analysis of the Interaction Speed Between Combing Teeth and Wheat Plants
2.3.3. Simulation Test of Wheat Plants Under the Action of the Nose
- (1)
- Discrete element mechanical model
- (2)
- Discrete element modeling of wheat plant
- (3)
- Model parameter calibration
- (4)
- Establishment of simulation model
- (5)
- Simulation parameter settings
2.3.4. Verification Test of High-Speed Camera Bench
2.4. Combing Harvest Test
2.4.1. Simulated Test of Combing Harvest
2.4.2. Field Test of Combing Harvest
- (1)
- Test conditions
- (2)
- Test methods
3. Results and Discussion
3.1. Analysis of Plant Model Calibration Results
- (1)
- Grain stacking angle
- (2)
- Three-point bending
3.2. Analysis of Wheat Plant Posture
3.3. Analysis of Combing Harvest Test Results
3.3.1. Analysis of Comb-Type Header Working Process
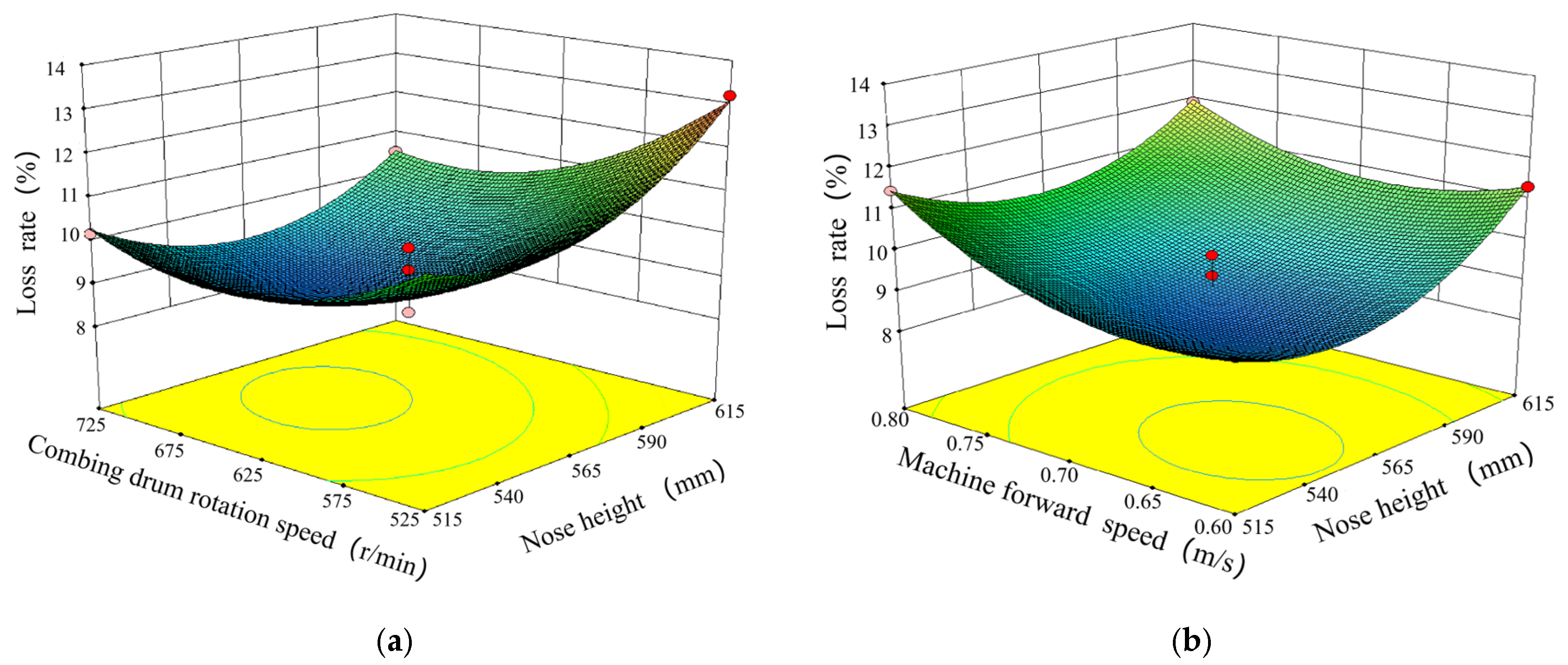
3.3.2. Optimization of Working Parameters for Comb-Type Header
3.3.3. Results of Field Verification Test for Combing Harvest
4. Conclusions
- (1)
- To address the harvesting demands for plot breeding, a comb-type header was designed based on the 4L-1.0 small crawler-type wheat harvester. The key components of the comb-type header were designed based on the loss suppression mechanism of the wheat-harvesting process, with the multi-stage combing tines and scraper conveyor being developed accordingly. The postural changes of wheat plants under the action of the nose were analyzed via a theoretical analysis, a discrete element simulation, and high-speed photography bench tests. The optimal combing timing was determined as the stage where plants start to rebound to their maximum reverse bending state.
- (2)
- Discrete element simulation tests were conducted to evaluate the performance of the comb-type header, and the distribution of combed materials was analyzed. The Box–Behnken response surface method was used to optimize and analyze the test data. The optimal working parameters of the comb-type header were determined as follows: a nose height of 554 mm, a combing drum rotation speed of 667 r/min, a machine forward speed of 0.65 m/s, and a predicted loss rate of 8.59%. To verify the operational performance of the comb-type header, field tests of the wheat-harvesting prototype were conducted. The results showed that, under the optimal working parameters, the header loss rate was 7.24%, no wheat ears escaped combing, and no seed retention occurred in the header, which met the requirements for plot wheat-breeding harvesting.
- (3)
- This study involved limitations, such as simplified simulation models, a single applicable object, and the lack of a real-time regulation mechanism. In the future, the simulation model can be refined to improve simulation accuracy, and research on an intelligent combing harvester adaptable to multi-crop harvesting and equipped with real-time regulation functions can be carried out.
Author Contributions
Funding
Institutional Review Board Statement
Data Availability Statement
Acknowledgments
Conflicts of Interest
References
- Shang, S.; Yin, Y.; Guo, P.; Sun, Q. Current situation and development trend of mechanization of field experiments. Trans. Chin. Soc. Agric. Eng. 2010, 26, 5–8. [Google Scholar]
- Zhu, M.; Chen, H.; Li, Y. Investigation and development analysis of seed industry mechanization in China. Trans. Chin. Soc. Agric. Eng. 2015, 31, 1–7. [Google Scholar] [CrossRef]
- Klinner, W.E.; Neale, M.A.; Arnold, R.E.; Geikie, A.A.; Hobson, R.N. A new concept in combine harvester headers. J. Agric. Eng. Res. 1987, 38, 37–45. [Google Scholar] [CrossRef]
- Tado, C.J.M.; Wacker, P.; Kutzbach, H.D.; Suministrado, D.C. Development of stripper harvesters: A review. Biosyst. Eng. 1998, 71, 103–112. [Google Scholar] [CrossRef]
- Tian, Y.; Leis, K.; Zeng, Z. Retrofitting and Testing of a Pull-Type Small-Grain Combine Harvester. Agronomy 2023, 13, 1057. [Google Scholar] [CrossRef]
- Wang, J.; Xu, C.; Guo, F.; Wang, Q.; Tang, H. Stripping mechanism and Gaussian distribution model of a concave bionic comb for stripping prior to cutting. Sci. Total Environ. 2023, 872, 162216. [Google Scholar] [CrossRef] [PubMed]
- Tang, H.; Xu, C.; Zhao, J.; Wang, J. Stripping mechanism and loss characteristics of a stripping-prior-to-cutting header for rice harvesting based on CFD-DEM simulations and bench experiments. Biosyst. Eng. 2023, 229, 116–136. [Google Scholar] [CrossRef]
- Tang, H.; Xu, C.; Zhao, J.; Wang, J. Formation and steady state characteristics of flow field effect in the header of a stripping prior to cutting combine harvester with CFD. Comput. Electron. Agric. 2023, 211, 107959. [Google Scholar] [CrossRef]
- Pan, C.; Zhang, Q.; You, Y.; Sun, L.; Hu, J.; Wang, D. Design and experiment of flow-enhanced mechanical combining harvester for small-seeded alfalfa. Trans. Chin. Soc. Agric. Mach. 2025, 56, 342–356. [Google Scholar] [CrossRef]
- Lin, J.; Yang, M.; Zhang, X.; Liu, P.; Li, S.; Peng, J. Evaluation of wheat and corn harvester selection in hilly and mountainous area. Trans. Chin. Soc. Agric. Mach. 2022, 53, 150–157. [Google Scholar] [CrossRef]
- Wang, J.; Wang, D.; Shang, S.; Wang, Y.; Kuai, J. Development and experiment on 4 LZZ-1.0 type plot grain combine. Trans. Chin. Soc. Agric. Eng. 2016, 32, 19–25. [Google Scholar] [CrossRef]
- Dai, F.; Zhao, W.; Han, Z.; Li, X.; Gao, A.; Liu, X. Improvement and experiment on 4GX-100 type wheat harvester for breeding plots. Trans. Chin. Soc. Agric. Mach. 2016, 47, 196–202. [Google Scholar]
- Li, Y.; Yi, Y.; Du, S.; Ding, Q.; Ding, W. Design and experiment on air blowing header of plot combine harvester for grain. Trans. Chin. Soc. Agric. Mach. 2017, 48, 79–87. [Google Scholar] [CrossRef]
- Bhanage, G.B.; Shahare, P.U.; Aware, V.V.; Dhandeand, K.G.; Deshmukh, P.S. Development of stripper harvester for paddy. J. Appl. Nat. Sci. 2017, 9, 1943–1948. [Google Scholar] [CrossRef]
- Zhang, Q.; Zhang, X.; Wu, Z.; Wang, C.; Zhang, X.; Su, M. Study on spiral conveying performance of side shearer based on EDEM. Coal Sci. Technol. 2020, 48, 151–157. [Google Scholar] [CrossRef]
- Schramm, M.; Tekeste, M.Z.; Plouffe, C.; Harby, D. Estimating bond damping and bond young’s modulus for a flexible wheat straw discrete element method model. Biosyst. Eng. 2019, 186, 349–355. [Google Scholar] [CrossRef]
- Sun, K.; Yu, J.; Zhao, J.; Liang, L.; Wang, Y.; Yu, Y. A DEM-based general modeling method and experimental verification for wheat plants in the mature period. Comput. Electron. Agric. 2023, 214, 108283. [Google Scholar] [CrossRef]
- Chen, Z.; Wassgren, C.; Veikle, E.; Ambrose, K. Determination of material and interaction properties of maize and wheat kernels for DEM simulation. Biosyst. Eng. 2020, 195, 208–226. [Google Scholar] [CrossRef]
- Fan, J.; Wang, H.; Sun, K.; Zhang, L.; Wang, L.; Zhao, J.; Yu, J. Experimental verification and simulation analysis of a multi-sphere modelling approach for wheat seed particles based on the discrete element method. Biosyst. Eng. 2024, 245, 135–151. [Google Scholar] [CrossRef]
- Wang, W.; Liu, W.; Yuan, L.; Qu, Z.; He, X.; Lv, Y. Simulation and experiment of single longitudinal axial material movement and establishment of wheat plants model. Trans. Chin. Soc. Agric. Mach. 2020, 51, 170–180. [Google Scholar] [CrossRef]
- Liu, F.; Zhang, J.; Li, B.; Chen, J. Calibration of parameters of wheat required in discrete element method simulation based on repose angle of particle heap. Trans. Chin. Soc. Agric. Eng. 2016, 32, 247–253. [Google Scholar] [CrossRef]
- Liu, F.; Zhang, J.; Chen, J. Modeling of flexible wheat straw by discrete element method and its parameter calibration. Int. J. Agric. Biol. Eng. 2018, 11, 42–46. [Google Scholar] [CrossRef]

























| Material | m3 | Poisson Ratio | Modulus of Elasticity/MPa |
|---|---|---|---|
| Steel Plate | 103 | 0.30 | 105 |
| Grain | 103 | 0.38 | 103 |
| Stem | 215 | 0.40 | 102 |
| Material | Normal Stiffness Coefficient/N/m3 | Tangential Stiffness Coefficient/N/m3 | Critical Normal Stress/Pa | Critical Tangential Stress/Pa |
|---|---|---|---|---|
| Grain–Rachis | 1010 | 1010 | 106 | 106 |
| Rachis–Rachis | 1011 | 1010 | 106 | 107 |
| Rachis–Stem | 1011 | 1010 | 106 | 107 |
| Stem–Stem | 1011 | 1010 | 106 | 107 |
| Parameter | Coefficient of Restitution | Static Friction Coefficient | Coefficient of Rolling Friction |
|---|---|---|---|
| Grain–Grain | 0.46 | 0.41 | 0.020 |
| Grain–Steel Plate | 0.48 | 0.34 | 0.012 |
| Grain–Stem | 0.26 | 0.33 | 0.013 |
| Stem–Steel Plate | 0.24 | 0.32 | 0.010 |
| Stem–Stem | 0.39 | 0.24 | 0.012 |
| Level | Nose Height A/(mm) | Combing Drum Rotation Speed B/(r/min) | Machine Forward Speed C/(m/s) |
|---|---|---|---|
| −1 | 515 | 525 | 0.60 |
| 0 | 565 | 625 | 0.70 |
| 1 | 615 | 725 | 0.80 |
| Order | Test Factors | Loss Rate R/% | ||
|---|---|---|---|---|
| A | B | C | ||
| 1 | 515 | 525 | 0.70 | 11.06 |
| 2 | 615 | 525 | 0.70 | 13.19 |
| 3 | 515 | 725 | 0.70 | 10.18 |
| 4 | 615 | 725 | 0.70 | 10.52 |
| 5 | 515 | 625 | 0.60 | 9.61 |
| 6 | 615 | 625 | 0.60 | 11.33 |
| 7 | 515 | 625 | 0.80 | 11.47 |
| 8 | 615 | 625 | 0.80 | 11.91 |
| 9 | 565 | 525 | 0.60 | 11.28 |
| 10 | 565 | 725 | 0.60 | 9.15 |
| 11 | 565 | 525 | 0.80 | 12.06 |
| 12 | 565 | 725 | 0.80 | 11.13 |
| 13 | 565 | 625 | 0.70 | 8.96 |
| 14 | 565 | 625 | 0.70 | 8.23 |
| 15 | 565 | 625 | 0.70 | 9.25 |
| 16 | 565 | 625 | 0.70 | 9.77 |
| 17 | 565 | 625 | 0.70 | 8.73 |
| Source | Sum of Squares | Degree of Freedom | Mean Square | F-Value | p-Value |
|---|---|---|---|---|---|
| Model | 28.67 | 9 | 3.19 | 16.20 | 0.0007 |
| A | 2.68 | 1 | 2.68 | 13.62 | 0.0077 |
| B | 5.46 | 1 | 5.46 | 27.77 | 0.0012 |
| C | 3.38 | 1 | 3.38 | 17.18 | 0.0043 |
| AB | 0.80 | 1 | 0.80 | 4.07 | 0.0834 |
| AC | 0.41 | 1 | 0.41 | 2.08 | 0.1922 |
| BC | 0.36 | 1 | 0.36 | 1.83 | 0.2182 |
| A2 | 6.19 | 1 | 6.19 | 31.46 | 0.0008 |
| B2 | 4.53 | 1 | 4.53 | 23.03 | 0.0020 |
| C2 | 3.26 | 1 | 3.26 | 16.57 | 0.0047 |
| Residual | 1.38 | 7 | 0.20 | - | - |
| Lack of Fit | 0.05 | 3 | 0.02 | 0.06 | 0.9806 |
| Pure Error | 1.32 | 4 | 0.33 | - | - |
| Cor Total | 30.05 | 16 | - | - | - |
Disclaimer/Publisher’s Note: The statements, opinions and data contained in all publications are solely those of the individual author(s) and contributor(s) and not of MDPI and/or the editor(s). MDPI and/or the editor(s) disclaim responsibility for any injury to people or property resulting from any ideas, methods, instructions or products referred to in the content. |
© 2026 by the authors. Licensee MDPI, Basel, Switzerland. This article is an open access article distributed under the terms and conditions of the Creative Commons Attribution (CC BY) license.
Share and Cite
Chen, X.; Wu, S.; Bao, P.; Qiao, X.; Zhu, C.; Wang, W. Design and Experiment of Comb-Type Header for Plot Breeding Wheat Harvester Based on EDEM. Agriculture 2026, 16, 347. https://doi.org/10.3390/agriculture16030347
Chen X, Wu S, Bao P, Qiao X, Zhu C, Wang W. Design and Experiment of Comb-Type Header for Plot Breeding Wheat Harvester Based on EDEM. Agriculture. 2026; 16(3):347. https://doi.org/10.3390/agriculture16030347
Chicago/Turabian StyleChen, Xu, Shujiang Wu, Pengxiang Bao, Xindan Qiao, Chenhui Zhu, and Wanzhang Wang. 2026. "Design and Experiment of Comb-Type Header for Plot Breeding Wheat Harvester Based on EDEM" Agriculture 16, no. 3: 347. https://doi.org/10.3390/agriculture16030347
APA StyleChen, X., Wu, S., Bao, P., Qiao, X., Zhu, C., & Wang, W. (2026). Design and Experiment of Comb-Type Header for Plot Breeding Wheat Harvester Based on EDEM. Agriculture, 16(3), 347. https://doi.org/10.3390/agriculture16030347
