Featured Application
The presented results can be used in devices for measuring the thickness of a non-conductive coating on non-magnetic electrically conductive base metals and non-metals.
Abstract
The known amplitude-sensitive eddy-current method for measuring the thickness of non-conductive coatings on conductive non-magnetic base metals does not satisfy the accuracy requirements. A primary consideration is the significant influence of a change in the specific electrical conductivity of the base metals on results of measurements. In this study, we developed a technique for measuring the thickness of non-conductive coatings on non-magnetic conductive base metals by using the eddy-current amplitude-phase method and implemented algorithms to process obtained information. Our method considered the influence of the specific electrical conductivity of the base metals by forming a two-dimensional graduation characteristic of the thickness gauge by using several base metals with different specific electrical conductivity. The algorithm for point-in-polygon determination was applied, which allowed us to measure the thickness of the coatings and the specific electrical conductivity of the base metals as independent values. The equipment necessary to construct the two-dimensional graduation characteristic and the algorithm for calculation of the thickness are described in detail.
1. Introduction
1.1. Amplitude-Sensitive Eddy-Current Method for Measuring the Thickness of Coating
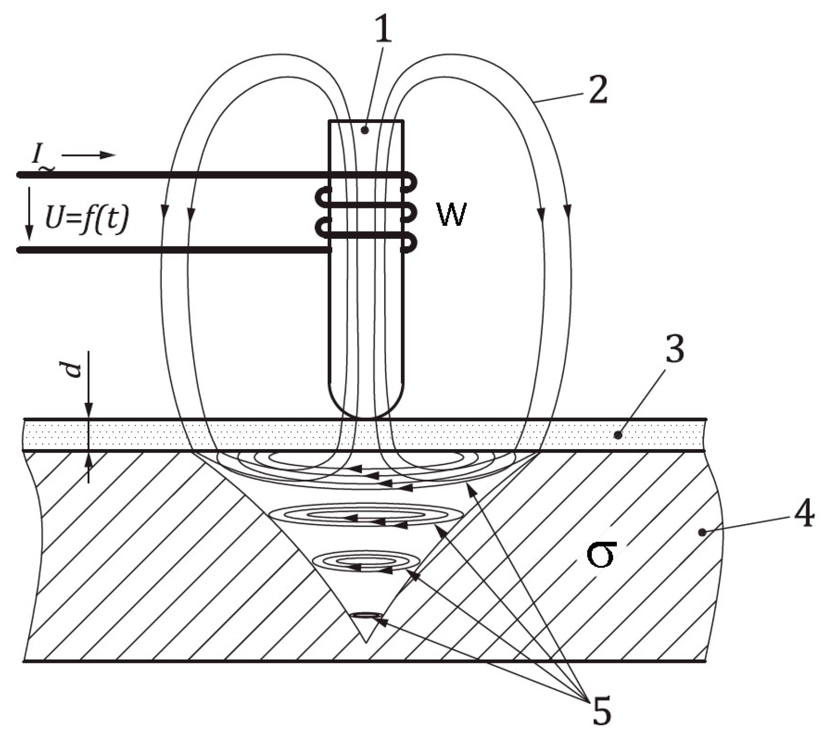
To measure the thickness d of a non-conductive coating on non-magnetic electrically conductive base metals, the amplitude-sensitive eddy-current method of non-destructive testing is provided [1,2]. The operation principle of eddy-current devices is based on the fact that a high-frequency electromagnetic field generated by an eddy-current probe (ECP) produces eddy currents in a conductive base metal beneath the coating on which the ECP is placed (Figure 1). The density of eddy currents depends on the distance between the excitation coil and the surface of the conductive base metal. These eddy currents cause a change in the electromagnetic field surrounding the coil of the ECP and affect the impedance of the coil.
Figure 1.
Amplitude-sensitive eddy-current method of measurement of the thickness of coating. 1—probe core with coil W, 2—high frequency magnetic field, 3—non-conductive coating, 4—non-magnetic electrically conductive base metals, 5—induced eddy current, I—exciting current, U—signal of eddy-current converter.
The change in the impedance permits obtaining a set of calibration values by using reference standards for thickness of coating, and then, to calculate the thickness of a coating on an electrically conductive base metal.
In most practical applications, the single ECP excitation coil is a part of a self-oscillating circuit, as shown in Figure 2.
Figure 2.
Structure of eddy-current probe with self-oscillating circuit.
The output signal of the self-oscillating circuit is the resonance frequency f, determined by the formulas:
ECP of this type is called parametric, the parameter determining the output signal being the inductance L of the ECP coil, depending on the thickness of a coating d. The ohmic resistance r of the ECP coil does not affect the output signal of the self-oscillating circuit directly. The value f is a measure of d, and it is converted to d by means of a graduation curve.
1.2. Stray Parameters When Measuring d by Using the Amplitude-Sensitive Eddy-Current Method
Stray parameters affecting the value of measurement uncertainty can be divided into the following groups:
- -
- Geometric: curvature and roughness of a base metal and coating surfaces; the tilt of ECP; contamination of the coating and ECP surfaces resulting in a gap between the ECP and the test object; edge effect.
- -
- Technological: the pressure of ECP on the coating; intermediate coatings; the influence of temperature and external electromagnetic fields.
- -
- Electromagnetic: the specific electrical conductivity σ of the base metal.
Practice shows that the value of σ and its changing along the surface of the base metal and/or from one object to another make the greatest contribution to the measurement uncertainty [3].
To study the influence of the test and stray parameters, one should use the analysis of the ECP parameters on the complex plane.
The coil impedance of a parametric ECP is a complex value determined by the formula:
where r is ohmic resistance and Xl is inductive resistance.
Figure 3 (on the left) shows the dependence of the coil impedance of the parametric ECP on d on the complex plane, Figure 3 (on the right) shows the local hodograph diagrams of the coil impedance of the parametric ECP when changing d from 0 to ∞ at σ = 5 MS/m, 17 MS/m and 58 MS/m and σ from 0 to 58 MS/m.
Figure 3.
Dependence of the coil impedance of the parametric ECP on the thickness of coating and specific electrical conductivity.
On placing an ECP on an uncoated base metal (d = 0) with nominal value σ = 17 MS/m, the impedance on the complex plane corresponds to the point d = 0, σ = 17 MS/m. With an increase in d, the hodograph diagram of the impedance change describes line 1. When an ECP is placed on an uncoated base metal (d = 0) with a different specific electrical conductivity; for example, σ = 58 MS/m or 5 MS/m, the impedance on the complex plane corresponds to the point d = 0, σ = 58 MS/m or d = 0, σ = 5 MS/m. As d increases, the hodograph diagram of impedance change is line 2 or 3. In this case, the dependence f on d at σ = 5 MS/m, σ = 17 MS/m and at σ = 58 MS/m is described by the curves shown in Figure 4a, and the dependence the deviation of d on σ on a logarithmic scale is shown in Figure 4b.
Figure 4.
(a) Dependence f on d at σ = 5 MS/m, σ = 17 MS/m and at σ = 58 MS/m, (b), dependence the deviation of d on σ.
When measuring d on base metals with different values of σ, a multiplicative change in f occurs, which can be compensated by adjusting (calibrating) the ECP on an uncoated base metal or a coated base metal with a known thickness d. Such a compensation will be observed in a small range of d near the calibration point. However, sometimes, we cannot perform a compensation; for example, in the following cases:
- -
- The thickness is measured on a fully painted product, and removing the coating from a part of the surface (for ECP calibration) is not possible;
- -
- σ changes considerably on the surface of base metal;
- -
- The test object has different temperatures on the surface. In this case, a deviation of σ is observed.
In these cases, it is necessary to provide the suppression the influence of σ by implementing the adaptive structure of the measuring probe, which has functional redundancy [4,5].
In indirect measurement methods using the ECP graduation curve, the interpolation error of the graduation curve is an additional source of measurement uncertainty. The curve is constructed for a limited number of graduation points, but at the same time, it should cover the entire measurement range, for the interpolation of the curve power or logarithmic functions are usually applied. Large distances between graduation and interpolation points may result in significant deviations of obtained values from the real transmission characteristic of the measuring probe. This is due to the uncertainty of the points of graduation curve and the choice of interpolating functions.
1.3. A Review of the Methods for a Suppression of the Influence of σ Deviation
In the patent [6], the problem of reducing the influence of σ is solved by turning the hodographs of signals on the complex plane. This method allows the suppressing the influence of σ for the base metal, but it does not take into account a change in the sensitivity of the ECP to the thickness of the coating when σ of the base metal changes. In general, the proposed method is effective for insignificant changes in σ when different objects are made of metal of the same brand.
The paper [7] describes the algorithm for measuring the thickness of an electrically conductive plate, which is not sensitive to σ. This algorithm assumes the use of a sweep-frequency eddy current testing. It may be applied to measure the thickness of the coating on an electrically conductive base. At the same time, the variable-frequency method necessitates equipping the thickness gauge with a complex electronic circuit, which is acceptable for stationary devices and unacceptable for portable ones.
In the paper [8], the authors proposed the algorithm for measuring the thickness of an electrically conductive film. It was not sensitive to the gap between the VTP and the film. This algorithm also assumed the application of a sweep-frequency eddy current testing. Along with it, a simplified variant based on a small set of excitation frequencies was also considered. In this case, the selection of suitable pre-calculated sets of film thicknesses and gap parameters satisfying the measured signals of the ECP at several frequencies was carried out.
In periodicals, besides those mentioned, a large number of articles describing the technology of measuring the thickness of the coating by the multi-frequency method, variable frequency method and pulse method were published. Unfortunately, all these methods are not applicable for implementation in portable devices. The works concerning ECP with two or more measuring coils (for example: [9]) are also of little use for implementation in miniature ECP.
One of obvious solutions of the problem discussed is to develop a method using a single fixed excitation frequency for an absolute transformer compensated ECP.
2. Materials and Methods
2.1. Description of an Amplitude-Phase Probe
It should be noted that the solving the discussed problem by implementing a self-oscillating ECP is practically impossible because the output signal f is one-parameter, but it is influenced by both d and σ, and their influences cannot be separated.
We propose to use a three-coil transformer compensated amplitude-phase eddy-current probe (AP ECP), the block diagram of which is shown in Figure 5 [10].
Figure 5.
Block diagram of three-coil transformer compensated amplitude-phase eddy-current probe. Here, We—excitation coil, Wc—compensating coil, Wm—measuring coil, AE—excitation signal amplifier, AM—added voltage amplifier.
Using the built-in DAC, the microcontroller synthesizes a harmonic excitation signal of a given frequency. The excitation signal amplifier (AE) is the source of the required excitation voltage. The excitation voltage applied to the excitation coil (We) creates a magnetic field that interacts with the base metal of the test object. The resulting magnetic field, derived from the interaction of the magnetic field of the excitation coil and the eddy currents field in the base metal of the test object, is picked by the measuring coil (Wm). The compensating coil (Wc) senses the magnetic field We but does not pick the magnetic field of the eddy currents. Wm and Wc are connected in-series in opposite directions, which results in compensating the constant component of the Wm signal. The signal of the measuring coil output corresponds to the added voltage of the AP ECP. This voltage is applied to the added voltage amplifier (AM), and then, the signal arrives to the ADC. The ADC signal is transmitted through the communication unit for further processing. The output signal of the AP ECP is a complex value containing two independent signal parameters (Re; Im)—the real and imaginary components of the added voltage of the AP ECP [11].
2.2. Description of the Finite Element Model of AP ECP
To calculate and optimize the parameters of AP ECP and obtain model signals for debugging the mathematical processing algorithms, a finite element model of the primary measuring probe was developed.
To study the influence of test and stray parameters on the signal of a transformer-type AP ECP, the analysis of the AP ECP added voltage on the complex plane should be performed. Despite a number of obvious differences, the hodograph diagrams of transformer AP ECP signals were similar to the diagrams of the parametric ECP ones.
The graphical representation of the finite element model of AP ECP coils placed over a base metal is shown in Figure 6a and the hodograph diagrams of the signals are shown in Figure 6b.
Figure 6.
(a) The representation of the finite element model of AP ECP coils over a base metal, (b) hodograph diagrams of the signals of the AP ECP finite element model. 1—measuring coil, 2—compensating coil, 3—excitation coil, 4—base metal.
2.3. Overview of Two-Parameter Measurement Methods
Among the methods for multidimensional analysis of ECP signals, one should mention the method of principal components [12]. Its application shows good results if the influences of both parameters are unidirectional when switching to an alternative coordinate system. The joint application of the amplitude-sensitive and phase-sensitive eddy-current methods was described in [13,14]. It allows correcting the results of measurement of the parameter obtained by the amplitude-sensitive method according to the results of measuring the second parameter obtained by the phase-sensitive method. It is assumed that a change in the parameter measured by the amplitude-sensitive method does not affect the results of measurements for the second parameter. Obviously, the achieved measurement accuracy does not meet the modern requirements of consumers of the equipment being developed. Methods of two-parameter measurements in eddy-current testing using excitation of eddy currents at different frequencies [15] cannot be applied for miniature ECPs and for small-sized test objects.
2.4. Description of the Proposed Graduation Technique
In existing devices, each point of the graduation curve corresponds to one or more values of the thickness of coating on the base metal.
The proposed technique involves a two-dimensional graduation characteristic. Instead of graduating the AP ECP on a single base metal with σ corresponding to a certain measurement average [16], it is necessary to graduate the AP ECP on a set of reference conductive non-magnetic base metals, for which values of σ are different and cover the entire range of actual σ values. The graduation characteristic is similar to hodograph diagrams in Figure 6b.
A two-dimensional graduation characteristic involving several base metals complicates the graduation procedure considerably. To eliminate this problem, we propose to use a simulating system for the thickness of a non-conductive coating (CTSS). It consists of a precision linear actuator, a servo drive, a basic supporting structure and software providing an automated ECP graduation procedure (Figure 7).
Figure 7.
Non-conductive coating thickness simulating system. 1—precision linear actuator, 2—servo drive, 3—basic supporting structure, 4—reference base metal, 5—ECP.
During the automated graduation process, CTSS software generates a graduation curve containing a large number of graduation points. This number is comparable to the resolution of the thickness gauge implemented by AP EC. It enables one to omit inappropriate interpolating functions. Reducing the complexity of construction of the curve for one base metal allows graduating the AP ECP on several reference base metals with known σ without any significant complication in the graduation procedure.
2.5. Description of the Proposed Measurement Technique
The test parameter is d, while σ is the stray parameter. The value σ is not displayed on the indicator of the thickness gauge, as it is not relevant for the user.
The graduation characteristic is represented as a fan-shaped grid on the plane. The grid thickens in d direction and thinning out in σ direction. In these conditions, the algorithm for processing the measurement information has only one task—to determine the section of this grid that corresponds to the point of the signal obtained during the measurement. Obviously, for the effective operation of the proposed technique in conditions of a large set of graduation points (approximately several thousands) and relatively low-performance of single-core ARM architecture of microcontrollers, it is necessary to optimize the computational algorithm.
The proposed two-dimensional algorithm to calculate σ and d is based on the checking whether a point lies in a polygon [17] (pp. 142–146).
2.5.1. General Description of Two-Dimensional Algorithm for the Calculation σ and d
A generalized graphical interpretation of the two-dimensional algorithm for calculation of σ and d is shown in Figure 8. In Figure 8, for brevity, we denote graduation table as GT; graphical interpretation of the graduation characteristic in the form of hodograph diagrams of the signals of AP ECP finite element model is shown in Figure 6b.
Figure 8.
Two-dimensional algorithm of the calculation σ and d.
The lines of the graduation characteristic obtained on different reference base metals are presented as lines d(σ). These lines converge fanwise at a single point—an air point with coordinates (ReAir; ImAir). For clarity, the points with the same d value on different lines of the graduation characteristic are connected by lines which are denoted as σ(d). During a measurement process, the signal which has coordinates (Re; Im) is calculated. In the figure, it is denoted as the point “(Re; Im)”.
The task of the algorithm for calculation σ and d is to determine whether the signal belongs to one of the sections bounded by four lines of the grid and to calculate its value relative to these boundaries.
Due to the large number of sections of the graduation characteristic, the calculation is carried out by using the “half section” method [18].
An example of the graduation characteristic of AP ECP in tabular form is presented in Table 1.
Table 1.
Graduation characteristic of AP ECP in tabular form.
2.5.2. “Signal-in-Section” Check
The graduation table is divided in half and the belonging of the signal to a section of the upper or lower half of the graduation table is determined.
Only 3 rows from the table are selected: d = d0, d = drow/2 and d = drow.
The belonging the signal to the sections separated by the polyline σ(drow/2) is determined by condition 2:
where d—selected line number of the graduation table (d = 0 or row/2), σ—column number of the graduation table (σ = 1…column).
- If the condition is met for d = 0, then the signal belongs to the upper half of the table. In this case, for the next iteration, points from the upper half of the table (d = 0, d = row/4 and d = row/2) are selected;
- If the condition is met for d = row/2, then the signal belongs to the lower half of the table. In this case, for the next iteration, points from the lower half of the table (d = 0, d = row3/4 and d = row) are selected;
- If the condition is not met neither for d = 0, nor for d = row/2, then either the signal belongs to one of the extrapolated sections, or the signal is in one of the dead zones of the algorithm. In this case, the signal is checked for belonging to one of the extrapolated sections of the table;
- If the condition is met for none of the interpolated sections of the graduation characteristic, then the signal belongs to one of “dead zones” of the algorithm; in this case, the signal is checked for belonging to “dead zones”;
- If the condition is met for none of “dead zones” of the algorithm, then the signal is an error and is not subject to further processing.
The signal can belong only to one section of the table; when determining the section, it is necessary to proceed to the next iteration.
In the next iteration, the involving half of the graduation table is divided in half, the belonging the signal to one of the sections of a quarter of the table is checked by analogy with previous iteration. It should be marked that the case when the signal does not belong to any quarter of the graduation table cannot occur. The result of this calculation in the described branch of the two-dimensional graduation algorithm is the determination of the number of the row and column of the graduation table to which the signal (d; σ) belongs. In this case, we can perform an additional optimization of the algorithm, namely not check the columns σ which differ significantly from the value determined at the previous stages.
The thickness of coating is determined by the line of the graduation characteristic. In this case, the number of lines of the graduation characteristic can be several times fewer than the number of possible values of d in the measurement range of the thickness gauge. To ensure the specified resolution of the thickness gauge measurement, it is necessary to use the accumulation and averaging of the results of calculation of d.
2.5.3. Extrapolation of the Graduation Characteristic and “Dead Zones” of the Algorithm
A two-dimensional graduation characteristic is a field bound by values of d from 0 to ∞ and σ from σmin to σmax. It should be taken into consideration that in practice measurements outside the specified boundaries are not excluded:
- Example 1. The measure σmax is taken for copper, σ ≈ 58 MS/m. If we measure d on a copper base at low temperature of the test object, the value of σ may exceed the σmax.
- Example 2. As was mentioned before, in practice, the curvature of the surface of the test object is a non-excluded stray parameter. When graduating, we use only measures for flat surfaces. If measurements are taken on an object with a concave surface, the d readings decrease. With a small d value, the readings may be negative.
However, such situations should not cause failures in the operation of the algorithm for mathematical processing of AP ECP signals. For this purpose, the graduation characteristic is extrapolated in the directions σ > σmax, σ < σmin and d < 0 by using empirically selected polynomial extrapolation functions.
Descriptions of methods for extrapolating the graduation characteristic and mathematical processing of the signal belonging to the “dead zone” of the algorithm are beyond the scope of this article.
3. Results
Tests of the described algorithm were carried out by using the finite element model described above. The tests had two stages:
At the first stage, the graduation of the ECP model was carried out. To carry it out, we used a base metal model with values of σ corresponding to the real base metal measures used for the graduation of ECP: 0.63, 0.94, 2.12, 3.77, 5.33, 9.81, 14.4, 16.9, 26.3, 35.0, 40.5, 50.6, 58.8 MS/m. The values of σ for the graduation base metals were selected so that they had an approximately monotonous arrangement on a logarithmic scale. The values of d were set in a vicinity of the test values. Due to the fact that, in general, the algorithm has a high accuracy of calculation, the graduation of the model was carried out with a resolution of 0.1 microns, which is significantly higher than necessary for practical applications. The data obtained during the calibration of the ECP model were loaded into the program implementing the algorithm described above.
At the second stage, the ECP model was tested. For this, we used a base metal model with a value of σ that changes uniformly on a logarithmic scale with a small step. The following test values d were set: 0, 10, 100, 1000 microns. The test results in the form of a dependence of the deviation of the calculated value of d on the value of σ on a logarithmic scale are shown in Figure 9.
Figure 9.
Dependence of the deviation of the measured value d on the value σ.
From the data shown in Figure 9, it can be seen that the deviation of d value was expected to be minimal in a vicinity of the graduation points. The largest deviation d was observed at σ ≈ 1.4 MS/m. This value corresponds to a group of low-alloyed titanium alloys. Despite the fact that the practical significance of measuring the thickness of the coating on such base metals is not obvious, including an additional graduation base metal with σ ≈ 1.4 MS/m in the table significantly improved the quality of the graduation characteristics for this type of ECP. The test results of the proposed method in comparison with the amplitude-sensitive eddy-current method showed a decrease in the deviation d under the influence of the change σ by about two orders of magnitude, which was obvious when comparing the data given in Figure 4b and Figure 9.
The tests carried out showed the expected component of the measurement uncertainty conditioned by the operation of the algorithm for calculating d and the correctness of the selection of the values of the graduation base metals.
The study of the influence of a measuring device, actions of the operator and external factors on the measurement uncertainty are beyond the scope of this article.
4. Discussion
The proposed algorithm, in addition to the tasks of measuring the thickness of a non-conductive coating on a non-magnetic conductive base metal, can be used in the following tasks:
- Measurement of the thickness of a non-conductive coating on a magnetic and non-magnetic conductive base metal and non-metal base;
- Simultaneous measurement of the thickness of layers of a non-conductive coating with a sublayer of a conductive non-magnetic coating on a conductive magnetic base metal, for example, a paint coating applied to a steel base with a zinc underlayer;
- Measurement of the thickness of non-magnetic conductive sheet with suppression of its specific electrical conductivity;
- Measurement of the specific electrical conductivity of the base metal with suppression of the influence of the lift-off or the thickness of the paint coating in a wide range of the base metal specific electrical conductivity values.
Author Contributions
Conceptualization, P.S.; methodology, M.S.; software, M.S.; validation, I.S. and N.A.; formal analysis, N.A.; investigation, P.S.; resources, M.S.; data curation, P.S.; writing—original draft preparation, P.S.; writing—review and editing, N.A.; visualization, P.S.; supervision, I.S.; project administration, I.S.; funding acquisition, M.S. All authors have read and agreed to the published version of the manuscript.
Funding
This research received no external funding.
Institutional Review Board Statement
Not applicable.
Informed Consent Statement
Not applicable.
Data Availability Statement
Data sharing not applicable.
Conflicts of Interest
The authors declare no conflict of interest.
References
- ISO 2360:2017; Non-Conductive Coatings on Non-Magnetic Electrically Conductive Base Metals—Measurement of Coating Thickness—Amplitude-Sensitive Eddy-Current Method. ISO: Geneva, Switzerland, 2017.
- GOST R ISO 2360-2021; Non-Conductive Coatings on Non-Magnetic Electrically Conductive Base Metals. Measurement of Coating Thickness. Amplitude-Sensitive Eddy-Current Method. Russian Technical Standard: Moscow, Russia, 2021.
- Syasko, V.A. Measuring the thicknesses of nonferromagnetic metal coatings on nonferrous metal products using the eddy-current frequency method. Russ. J. Nondestruct. Test. 2010, 46, 898–905. [Google Scholar] [CrossRef]
- GOST R 8.673-2009; State System for Ensuring the Uniformity of Measurements. Intelligent Sensors and Intelligent Measuring Systems. Basic Terms and Definitions. Federal Agency for Technical Regulation and Metrology: Moscow, Russian, 2009.
- GOST R 8.734-2011; State System for Ensuring the Uniformity of Measurements. Intelligent Sensors and Intelligent Measuring Systems. Methods of Metrological Self-Checking. Federal Agency for Technical Regulation and Metrology: Moscow, Russian, 2011.
- Tian, Y.; Rebinsky, D.A.; Kinney, C.A.; Luick, K. Eddy Current Based Method for Coating Thickness Measurement. U.S. Patent 9,377,287 B2, 28 January 2016. [Google Scholar]
- Cheng, W. Thickness Measurement of Metal Plates Using Swept-Frequency Eddy Current Testing and Impedance Normalization. IEEE Sens. J. 2017, 17, 4558–4569. [Google Scholar] [CrossRef]
- Yin, W.; Peyton, A.; Dickinson, S. Simultaneous Measurement of Distance and Thickness of a Thin Metal Plate With an Electromagnetic Sensor Using a Simplified Model. IEEE Trans. Instrum. Meas. 2004, 53, 1335–1338. [Google Scholar] [CrossRef]
- Meng, X.; Lu, M.; Yin, W.; Bennecer, A.; Kirk, K.J. Evaluation of Coating Thickness Using Lift-Off Insensitivity of Eddy Current Sensor. Sensors 2021, 21, 419. [Google Scholar] [CrossRef] [PubMed]
- Syasko, V. Optimization of structure and operation algorithms for electromagnetic plated coatings thickness meters with the use of digital technologies. In Proceedings of the BINDT/45th Annual British Conference on Non-Destructive Testing 2006, Shanghai, China, 25–28 October 2008. [Google Scholar]
- Potapov, A.I.; Syasko, V.A. Non-Destructive Methods and Means of Thickness Control of Coatings and Products/SCIENTIFIC, Methodological and Reference Manual; Humanistic Studies: Saint Petersburg, Russia, 2009; pp. 203–213. [Google Scholar]
- Egorov, A.V.; Polyakov, V.V. Eddy Current Testing of Metallic Materials Using Projection Methods. Russ. J. Nondestruct. Test. 2018, 54, 377–384. [Google Scholar] [CrossRef]
- Nerush, M.N. Eddy current method of measuring the thickness of an electrically conductive plate and the thickness of a non-conductive coating. In Proceedings of the Collection of Scientific Papers of the II International Conference of Schoolchildren, Students, Post-Graduates, Young Scientists “Resource-Efficient Systems in Management and Control: A look into the Future”, Tomsk, Russia, 18–19 September 2013; pp. 164–168. [Google Scholar]
- Gromyka, D.S.; Gogolinskiy, K.V. Method of State and Residual Resource Assessment of Excavator Bucket Tooth Caps. Russ. J. Nondestruct. Test. 2022, 58, 381–390. [Google Scholar] [CrossRef]
- Goldstein, A.E.; Belyankov, V.Y. An eddy-current gauge for measuring the wall thickness of light-alloy drill pipes. Russ. J. Nondestruct. Test. 2017, 53, 588–595. [Google Scholar] [CrossRef]
- Syasko, V.; Polacek, A. Electromagnetic thickness measurement of coatings. Situation and prospects. In Proceedings of the 11 European Conference on Non-Destructive Testing (ECNDT 2014), Prague, Czech Republic, 6–11 October 2014. [Google Scholar]
- Laszlo, M. Computational Geometry and Computer Graphics in C++ BINOM; Prentice Hall: Moscow, Russia, 1997; p. 304. [Google Scholar]
- Litovka, Y.V. Obtaining Optimal Design Solutions and Their Analysis Using Mathematical Models; Tambov State Technical University: Tambov, Russia, 2012; p. 161. [Google Scholar]
Disclaimer/Publisher’s Note: The statements, opinions and data contained in all publications are solely those of the individual author(s) and contributor(s) and not of MDPI and/or the editor(s). MDPI and/or the editor(s) disclaim responsibility for any injury to people or property resulting from any ideas, methods, instructions or products referred to in the content. |
© 2023 by the authors. Licensee MDPI, Basel, Switzerland. This article is an open access article distributed under the terms and conditions of the Creative Commons Attribution (CC BY) license (https://creativecommons.org/licenses/by/4.0/).








