Abstract
Damage to fixed offshore platforms can affect their structural integrity in addition to environmental conditions. Inspections are important because they aim to detect and control defects or damage to make repairs and carry out maintenance, if necessary, to reduce the possibility of failure. This study aims to determine the factors that affect inspections of fixed offshore platforms in Indonesia. To determine these factors, questionnaires were distributed to experts, including senior practitioners and Ph.D. academics, involved in offshore platforms. For data processing, we first used descriptive statistics based on the mean and SD to indicate the ranking of a factor’s importance. Secondly, we performed factor analyses to summarize the information contained in multiple factors. The two methods are carried out to complement each other in determining the factors formed from the respondents’ assessments. This study finds three factors in inspections of fixed offshore platforms based on the percentage variance: the first factor is environmental conditions, the second is structural design, and the third is anomalies and defects. By knowing these factors, such comprehension can be used as a consideration in conducting inspections. Each factor must be identified because each factor can affect inspections of fixed offshore platforms.
1. Introduction
Fixed offshore structures are commonly used for various purposes in offshore industries, especially oil exploration [1,2]. Since the first commercial production in 1971 of offshore areas, until now, Indonesia has had 613 units of fixed offshore platforms: 54.65% of these are more than 20 years old and 24.63% are 16–20 years old [3]. With the increasing age of a fixed offshore platform its structure’s condition will experience physical degradation and some damage. One of the processes that cause a building to become obsolete, fail to meet some performance requirements, and ultimately cause the building or its elements to reach the end of their lives, is called physical deterioration [4]. For a fixed offshore platform to continue its service or extend its operation, the condition of the integrity of current fixed offshore platform constructions needs to be inspected, such that if there is damage to constructions then repairs can be made immediately. This need for inspections also applies to relatively recently installed fixed offshore platforms.
Damage to fixed offshore platform constructions affects the environmental conditions around constructions. An instance of fatal damage can result in oil spilling into the sea. Oil spills into the sea are one of the unintentional events that cause severe environmental damage [5]. The case of an oil spill in Indonesia in April 2021 on the north coast of Karawang resulted in the contamination of five land areas and two water areas [6]. This pollution causes the destruction of mangrove forests, fishponds, and salt ponds belonging to coastal residents, in addition to polluting the surrounding coastal area. In addition to losses to the environment, there is also a production loss of around 6000 BPD (barrels per day), which is equivalent to USD 480,000, assuming a world oil price of USD 80.
Seeing that the impact caused by damage to fixed offshore platform constructions is so large, appropriate steps are needed to inspect fixed offshore platforms. Initially, the Indonesian government determined that, in 1977, the underwater inspection method was time based, but over time a new methodology emerged from the American Petroleum Institute, namely risk-based underwater inspection [7]. However, this method also has the disadvantage that it cannot be used for platforms in remote locations or different regions. This is because the failure parameters of these platforms cannot be compared. A new method then appeared, called risk-reliability-based underwater inspection [8].
Nevertheless, the inspections implemented in Indonesia are still different; therefore, further research is needed on the issue of fixed offshore platform inspections in Indonesia. This study aims to determine the factors that affect the inspections of and dominant factors in fixed offshore platform inspections in Indonesia. It is important to conduct inspection at the operational and maintenance stages. At the operational stage, monitoring, inspections, and repairs are carried out [9]. Inspections are carried out with the aim of knowing or detecting [10], as well as controlling [11], defects and damage [12] in order to carry out repairs and maintenance if necessary [10]. The project cycle comprises seven phases: conceptual planning, design, construction preparation, construction, commissioning, operation and maintenance, and decommissioning [9]. The maintenance and operational costs of a building during its life cycle are much greater than its original cost, the capital cost of construction [13]. This is supported by a study by Huang et al. [14] in 2021 regarding life cycle cost, which states that maintenance costs are much higher than initialization, installation, and demolition.
The novelty and significance of this research consists of several new determination factors of fixed offshore platform inspections in Indonesia, namely the type of fixed offshore platform, structural configuration, the number of instances of damage, the number of instances of corrosion, the number of modifications, marine growth, the magnitude of scour on the seabed, ocean waves and currents, weather and climate, and the depth of the seawater. These factors have been added and grouped from previous studies. In research by the authors of [7] there are several factors that influence inspections of fixed offshore platforms, such as the year of manufacture, type of platform, and structural configuration. Meanwhile, research by the authors of [15,16] states that the amount of damage, corrosion, sea growth, and scour can affect the inspection of offshore mounted platforms. Then, in another study, waves, currents [16], weather, climate, and sea water depth [17] also affect the inspection of fixed offshore platforms. With the differences in these factors, further research is needed on the factors that influence the determination of inspections of fixed offshore platforms in Indonesia.
2. Conceptual Background
2.1. Inspections
In the construction phase, inspections are one of the important processes that ensure that work and workers comply with predetermined codes, standards, and development progress [18]. Meanwhile, at the operational stage, inspections are a way or strategy to reduce the risk of failure, where failure occurs due to damage [19]. In addition, another study stated that inspections were carried out to collect information about the conditions of structural components during their operational periods. This needs to be carefully considered and planned to optimize structural life cycle costs. Apart from the economic consequences associated with structural failure, social and environmental aspects can also be considered in the context of making decisions regarding inspections [20].
2.2. Fixed Offshore Platforms
Fixed offshore platforms are one of the most used types of offshore platforms; about 95% of the world’s offshore platforms use a fixed platform [21]. There has been a significant increase in offshore structures, mainly in the renewable energy field [1]. These fixed platforms consist of a topside, jacket, and pile [22]. The topside is the part that is above the water surface and is the main facility on offshore platforms; this part determines the function of a platform. Topside constructions consist of several groups of types of constructions where the number, completeness, and facilities available on a topside depend on the main function of the platform [22]. Each fixed offshore platform has different functions, including extraction, drilling for exploration, the processing of crude oil and natural gas, and storage [23]. A platform is supported by a steel truss consisting of support plates or a deck truss structure supported by welded tubes stacked on the seabed. A steel frame is called a jacket, which is used underwater at depths of 500 m or less [21]. Fixed offshore platforms are designed where there are several optimizations, including size and shape, strength, stiffness, ultimate strength, and natural frequency [24]. Fixed offshore platforms are also designed considering the load of ocean waves, wind, and seismic vibrations. In addition, they also take into account the weight of the power plant, the top of the crane, and possible vibrations caused by ships or ice [25].
2.3. Fixed Offshore Platform Inspections
Along the service period of a fixed offshore structure, there exists a possibility of joint failure through fatigue crack propagation despite the presence of various enhancements—such as a thicker can, weld profiling, or other post-weld improvements [26]. In 1991, to assess the severity and recommendations for corrective actions on fixed offshore platforms using the PLAIM (platform lifetime assessment through analysis, inspection, and maintenance), results were obtained regarding the breakdown of structural defects, ranging from severity scores to a series of recommendations for corrective actions using informal and qualitative knowledge as well as expert systems [27]. In addition, research was conducted on developing and applying inspection techniques for fixed and floating platforms and oil rigs. The comparative and sensitivity studies that have been performed show several important trends in their results that can provide valuable information for decision making related to testing planning. This procedure can also explore and compare different testing planning strategies, such as testing methods and acceptance criteria [28].
Optimizing inspection and maintenance intervals can minimize inspection, repair, and downtime costs. Cost optimization applies to fixed offshore platforms. Estimating the optimal time intervals for the inspection and maintenance of structures should consider changes in structure capacity, needs over time, and the damage situation of fixed offshore platforms [10]. The mechanization of inspection plans is essential for creating a consistent quality inspection program. Today’s inspection operations face the challenge of maintaining consistent quality from one inspection program to another due to the variability in planning processes between different inspection planning engineers. The proposed inspection planning mechanism based on fuzzy logic helps to minimize variability and improve the quality of inspection programs [29].
Risk-based inspection (RBI) is based on quantifying the risks associated with the failure of an element or system, considering the likelihood and consequences of failure from both a maintenance and safety perspective. The impact of structural impairment can be quantified using mathematical concepts, such as the value of information (VoI) and expert judgment [30]. This method is also used in other studies [22,23,24,25]. The risk-based underwater inspection (RBUI) method is known in Indonesia, but this method cannot be used for platforms distributed over different distances or areas because the failure parameters of these platforms are not comparable [7]. In addition, the RBUI method does not consider environmental characteristics in its risk assessment. There is a new method, namely risk-reliability-based underwater inspection (RReBUI), which quantitatively assesses platform reliability based on structural and environmental characteristics. The concept of reliability has been proposed in many studies as an approach to maintenance planning, and maintenance should be considered when a structure reaches defined limit conditions [30]. However, the application of RReBUI for fixed offshore platforms has never been developed in Indonesia [8]. Semiquantitative or quantitative approaches are also used in risk assessment. Semiquantitative methods are used to provide a local risk assessment of the structural components of platforms whenever possible and required. Quantitative methods incorporate probabilistic fatigue methods to establish inspection plans for selected pipe joints undergoing fatigue and failure that significantly impact entire platform structures [16]. Zou in 2021 [31], stated that a value of information (VoI)-based approach and Bayesian decision optimization can quantify the added value of future inspections and provide optimal or strategic decisions by directing alternative modeling decisions and evaluating expected results, rather than by using strategies that are predetermined. This is carried out with a comparison of VoI, life cycle cost (LCC), and a reliability-based optimization approach [31]. A Bayesian network method is also used in other studies [11,32,33]. Thus, despite their costly nature, fixed offshore platform underwater inspections may be conducted to prevent fatigue-related failure. Traditionally, underwater inspection activities utilize rope access; however, this conventional method introduced safety risks for inspectors, and the industry is shifting toward the use of unmanned subsea ROVs (remotely operated vehicles) to perform interventions [34]. Unmanned and/or autonomous vehicles may be used to inspect the underwater conditions of fixed offshore structures, thus allowing authors to assess structural integrity, entanglements, marine growth intensity, and other factors influencing the hydrodynamic load [35].
Previous Research on Fixed Offshore Platform Inspections
Previous research on inspections of fixed offshore platforms is presented in Table 1.
Table 1.
Previous research.
3. Method
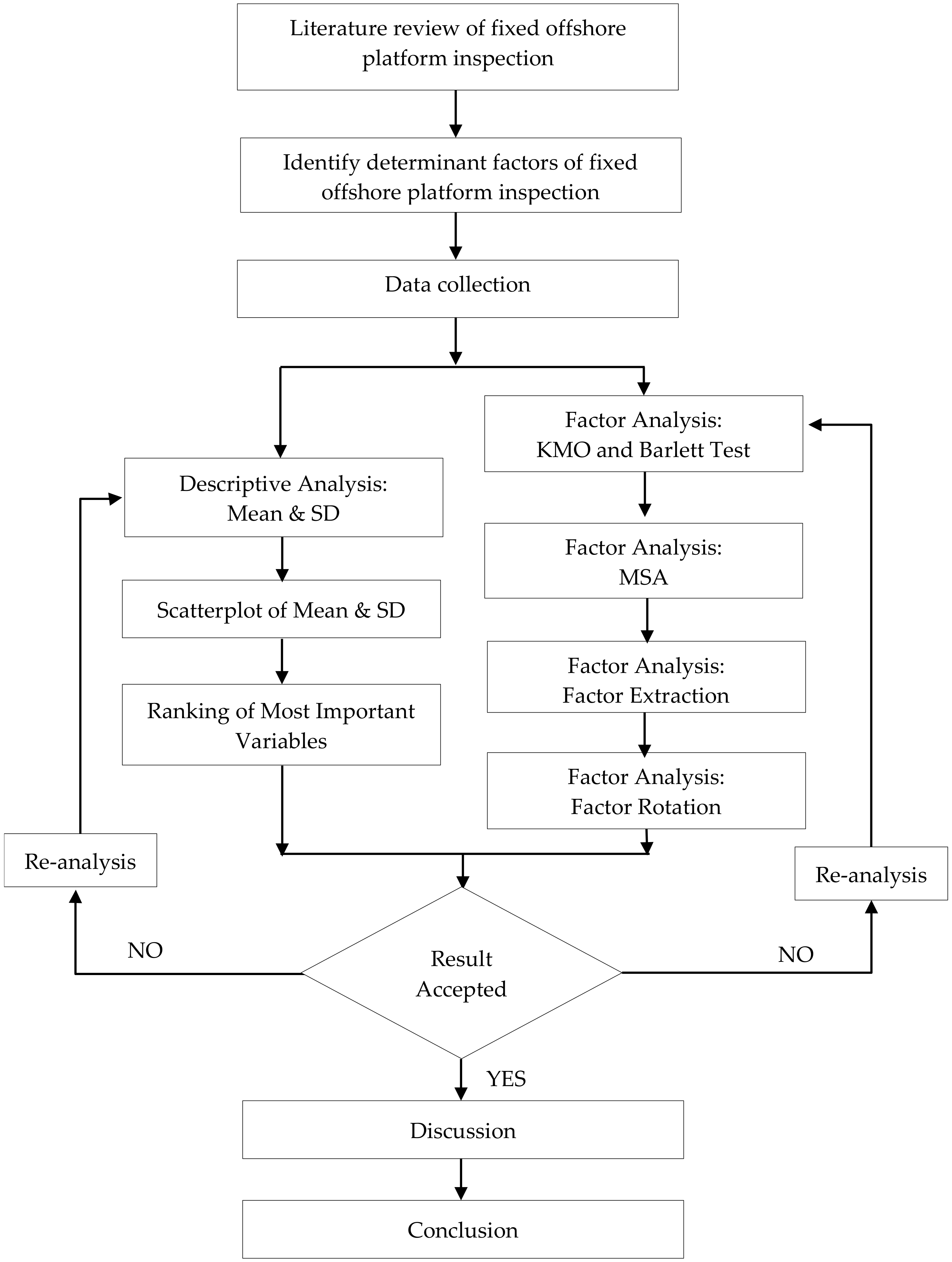
In this chapter, two main objectives will be discussed: first, how data is collected; second, what approach is used to analyze the data. The progress of the research can be seen in Figure 1: In the early stages of the research, a literature review of fixed offshore platform inspections was carried out based on previous studies. The determinant factors of fixed offshore platform inspections were then identified based on the aforementioned literature review. After this, data collection was carried out using a questionnaire supplied to several experts, including senior practitioners and Ph.D. academics from companies involved in fixed offshore platforms, with the aim of receiving valid results from practitioners who have a lot of experience in the field as well as academics who have strong theoretical knowledge. With a combination of both, the resulting data aimed to be accurate and accountable.
Figure 1.
Flow chart of research methods.
The next step was to conduct two analyses, namely a descriptive analysis and a factor analysis. After the two analyses were carried out, they were followed by a synthesis of the two analyses, and a discussion was had regarding the results of the analyses based on previous research. Finally, a conclusion was drawn regarding the research, the adjustment between the results obtained, and the benefits of its application in the offshore designed platform industry in Indonesia.
3.1. Data Collection
Collecting data using a questionnaire, we aimed to obtain results in the form of a probability assessment with questionnaire data in which there are factors that affect inspections of fixed offshore platforms in Indonesia. Several experts, including senior practitioners and Ph.D. academics from companies involved in fixed offshore platforms, were involved. It aimed to obtain valid results from practitioners with a lot of experience in the field, as well as academics with strong theoretical knowledge. With a combination of both, the resulting data aimed to be accurate and accountable.
In this study, an assessment by an expert is considered to be more accurate because it relates to the sufficient experience of each expert, according to research [37,38]. There are two types of expert research: mathematical and behavioral. A mathematical approach limits direct interaction between experts when they make decisions. A behavior-based approach achieves a certain level of consensus among experts; they can interact and confirm judgments based on the opinions of other experts. However, this approach often leads to undesirable trends [39]. In short, the mathematical approach is considered more reliable, more reproducible, and fairer than the behavioral approach to gathering experts’ opinion [39].
3.2. Data Analysis
After the data from questionnaires were obtained, processing was carried out, namely a descriptive analysis to describe or show the rankings of factors, starting from the most important to the least important (assessed based on respondents’ perceptions) based on the mean value of respondents’ perceptions of each factor and the value of the standard deviation [40], as well as a factor analysis to determine factors in inspections of fixed offshore platforms. The reason for using these two methods is to obtain a summary of the data studied, including the most important factors and new factors that are formed based on correlations between variables. By showing the rankings of these factors, important factors can be prioritized because they are more influential in the examination. On the other hand, factors that are considered unimportant can be ignored. A descriptive analysis is also applied to research [41,42].
The two methods were carried out to complement each other in determining the factors formed from the respondents’ assessments. This method was used because it is considered adequate, complete, and accurate [43] to rank the importance of each factor, and it can classify factors based on correlations between them. This method is also used in other research [44].
4. Results
4.1. Profiles of Respondents
The data collected are from 38 respondents who answered the questionnaire, but only 30 answered questionnaires were available, which were verified based on the respondents’ answers as per the requirements. Thirty respondents provided information about their job titles and work experience. Table 2 summarizes the backgrounds of the respondents.
Table 2.
Backgrounds of the respondents.
From the data above, it can be seen that most of the respondents were managers, amounting to 93.33% of them. In second position were lecturers, at 6.67% of the total. Respondents with 15 to 19 years of work experience made up 63.33% of the total, those with 20 to 25 years of work experience made up 33.33% of the total, and those with 25 years or more of work made up 3.33% of the total. This can be interpreted as believing the relevance of respondents’ work experience to be accurate and reliable.
4.2. Result of Data Distribution
Table 3 shows the data distribution using the mean and standard deviation (SD), and the most influential factors in the survey of fixed offshore platforms in this study were identified based on the scores selected by the respondents. Each respondent is free to choose a score of one–five based on their knowledge and experience to assess the suitability of the influence of each variable on the determination of the inspection of offshore fixed platforms. To obtain the mean value, the value given by the respondents to each variable was divided by the number of respondents, while the standard deviation was obtained from the distribution of values in each of these variables.
Table 3.
Distribution data of variables.
From the mean and SD obtained, the analysis showed a mean of >3. This means that the factors presented influenced inspections of fixed offshore platforms, but the importance of each factor was assessed differently for each respondent based on SD values. The meaning of variable mean in Table 3 is the average variable the score from one–five based on the respondent. The mean value of >3 was due to the questions on the questionnaire that have been chosen as being the most appropriate to the factors that affect inspections of fixed offshore platforms. To assess the ranking of the most influential variables, mapping was used in the graph: the x-axis is the mean, and the y-axis is the standard deviation. There are four quadrants formed, as shown in Figure 2.
Figure 2.
Scatter plot analysis of factors in inspections of fixed offshore platforms.
The most influential factor in inspections of fixed offshore platforms in this study was determined based on the score chosen by the respondents, as shown in Figure 2. Table 4 shows the ranking of each variable based on the quadrant.
Table 4.
Most important variables.
From the mean and SD obtained, the analysis shows that the factors presented influenced inspections of fixed offshore platforms, but the importance of each factor was assessed differently for each respondent based on SD values. Based on a scatter plot analysis, it was found that X4, X5, X3, X2, and X11 were in quadrant I, which indicates that these variables are dominant because they have high mean values but low SD values. This shows that almost all of the respondents agreed with the variables, while only some disagreed. X11 was in quadrant II, with a high mean and standard deviation, indicating that although not all of the respondents agreed with this variable, more respondents agreed than disagreed. Furthermore, X7, X8, X10, and X9 in quadrant III, with a low mean and high standard deviation, showed that respondents tended to disagree, but that some still agreed. X6 and X12 were in quadrant IV, showing that they were not very important because they had low mean values but high SD values, which means that all of the respondents did not agree with these variables.
To facilitate the evaluation based on the order of the most influential variables, mapping was carried out in a diagram. Based on Figure 2, each research variable was divided into four quadrants based on the mean and standard deviation.
4.3. Factor Analysis Result
4.3.1. Kaiser–Meyer–Olkin (KMO) and Barlett Tests
The KMO test explains how well the partial correlations are related to the original correlations. For KMO values < 0.5, the results indicate a small KMO value, indicating that other variables cannot explain the correlations between pairs of variables [44]. The KMO index ranges from 0 to 1, and a value of 0.50 is declared suitable for factor analyses [45]. In order to determine that the correlation matrix is similar to the identity matrix, the correlation coefficient must be close to zero and signed at the 0.05 level, and Bartlett’s test was used [44]. From the data processing performed, the KMO and Bartlett test values were approximately 0.623 with a significance of 0.000. In this study, the KMO and Bartlett tests passed based on the minimum score.
4.3.2. Measured Sampling Adequacy (MSA)
MSA values are used to indicate sample adequacy. MSA uses the default value > 0.5 [46]. Values below 0.5 are generally declared unacceptable, and the variable should be reduced [44]. In this study, the anti-image correlation test MSA score included two variables (X1 and X9) with values less than 0.5. This will remove the variable and run a new analysis. The elimination of variables with values below 0.5 also occurred in this study [47]. Table 5 shows the analysis results using all variables meeting the minimum criterion of >0.5. The MSA value can be seen on the diagonal with the lowest value range on variable X5 with a value of 0.532 to the largest value on variable X7 with a value of 0.791. With values above 0.5, it can be stated that each of these variables has a sufficient number of samples and can be used. For negative values in Table 5, these indicate that the variable cannot be predicted properly.
Table 5.
Anti-image matrices.
4.3.3. Factor Extraction
The principal component analysis (PCA) method is the extraction method used in this study, based on [45]. The main purpose of using PCA is to simplify the components of significant variables to a minimum number [44]. The proportion of variance described by each extracted factor is called the standard variable. Values range from 0.0 to 1.0. The closer the value is to 1.0, the greater the percentage that explains the variable’s variance [46]. The total extracted common values for variables above 0.5 are shown in Table 6. The top four variables have the greatest communality value in the X11 variable, namely weather and climate, with a value of 0.805; this shows that the X11 variable is quite large in explaining the variance in the variables. On the other hand, X12, namely the depth of the seawater, has the lowest communality value in the top four variables, with a value of 0.514; this indicates that X12 is not very significant in explaining the variance in the variables. However, a value above 0.5 is considered sufficient for use. If a value is less than 0.5, then the variable must be removed. In the next four variables X6 had the highest communality value and X2 had the lowest. In the last two variables X4 had a value of 0.828 and X5 had a value of 0.781.
Table 6.
Factor analysis result.
In addition, the eigenvalues of >1 of the three form factors, as well as the extraction factor, explained 71.97% of the variance. This means that a form factor can represent any initial factor.
4.3.4. Factor Rotation
This study uses rotation to maximize the extracted factor’s loading and minimize other factors [45]. In this study, varimax orthogonal rotation was used as in [44]. The relationships between variables and factors are called the factor loading [44]. The values of all factors in this study are >0.5. This analysis formed factors based on the correlation value from the largest to the smallest.
The first formed factor consists of X8, X10, X11, and X12, labeled as environmental conditions, with a percentage variance value of 40.522%; the second formed factor consists of X2, X3, X6, and X7, labeled as structural design, with a percentage variance value of 18.194%. Additionally, last but not least, the third formed factor consists of X4 and X5, labeled as anomalies and defects, with a percentage variance of 13.259%.
5. Discussion
Compared to onshore structures, offshore structures are built by considering the more complex environmental loads in which they are located, such as wind, currents, waves, water level changes, sea ice, seabed erosion (scour), and earthquakes [48]. Therefore, the factor consists of X8, X10, X11, and X12, labeled as environmental conditions.
In the research [24], the optimization of size and shape is considered when designing structures. This is adjusted to the type of platform based on its function [23]. Nichols et al. stated that modification is a change, such as a design code, reinforcement, or change in damage, which is different from the initial design [47]. Marine growth is considered to influence the nature of structures and the wave loads acting on them. It also adds mass to the support, such that it does not conform to the design [49]. Some of the considerations above mean that the factor consisting of X2, X3, X6, and X7, is labeled as structural design.
During inspections, there shall be a system for the management of detected anomalies and defects. Any degradation in structural integrity, such as damage in service, corrosion, or cracking, must be identified during inspections [50]. Therefore, the factor consisting of X4 and X5 is labeled as anomalies and defects.
5.1. Environmental Conditions
The environment where an offshore platform is located is important because each sea has a different character. A fixed offshore platform is exposed to various types of loads in the marine environment. One of them is environmental loads. Environmental loads are those caused by environmental phenomena [51]. A harsh environment is that with load conditions such as wind, waves, currents, water depth, and scour. Wind-induced wave loads are considered to be the most dominant loads; therefore, an estimated structural response is required using structural reliability assessments to know the integrity of platform structures [52]. Based on the API standard, the design wave considers a return period of 25 years, 50 years, or 100 years for extreme conditions, which refers to a structural response [52]. This matter is used for the structural evaluation of fixed offshore platforms. As a result of ever-changing environmental conditions, the most pressing problems facing structures are joint fatigue failures, wasted operations, and staff complaints, thus exposing them to excessive vibrations and disrupting the platform operating process [53]. Several physical aspects cause the aging of fixed offshore platforms. One of them is research-based environmental conditions [29].
Environmental condition factors are applied to one of the fixed offshore platforms as case studies, which have data such as a wind speed of 42.19 ft/s, a maximum wave height of 14.83 ft, and a maximum depth of 104.53 ft, which are declared to have a medium risk and to be inspected at intervals of 7 years. This determination is based on an assessment of environmental condition factors.
5.2. Structural Design
Structural design factors consist of the type of fixed offshore platform, structural configurations, the number of modifications, and marine growth. There are several types of fixed offshore platforms, such as wells, processes, and services. Fixed offshore platforms are generally designed and constructed for oil and gas production processes [23]. The size, type, and composition of mantle elements significantly affect hydrodynamic forces. Many styles have been proposed, such as Z brackets, X brackets, K brackets, diamond brackets, split brackets, and mixed brackets [24]. Platform changes fixed offshore are equally important. After years of use, a structural integrity check is required to see if the jacket construction is suitable. Maintenance, repair, and retrofitting are ongoing and sustainable processes throughout the lives of fixed offshore platforms [54]. If it is judged that structures do not meet the needs or even do not fulfill them at all, it is necessary to strengthen, repair, or modify them. Fixed offshore platforms are old and their operating lives have been extended, so there are several changes, such as design codes, increased metocean loading, and additional facilities on the upper side [47]. Marine growths are soft and hard particles on the surfaces of structures submerged in seawater. Their growth on the surfaces of structures can increase their diameter and affect the roughness of submerged structures. In addition, marine growth can also increase the unit mass of structural components. This is considered in the design of fixed offshore platforms through appropriate enhancements in the diameter and mass of submerged members [51].
In the second case study of one of the fixed offshore platforms in Indonesia, Platform Y, which is a service type platform that has four legs and a K-bracing type covered with marine growth of 50.80 mm, the interval for underwater inspections is determined to be 6 years. This was determined because, based on the above factors, the fixed offshore platform was considered to have a medium to high risk.
5.3. Anomalies and Defects
The actual conditions of platforms fixed at sea significantly affect the inspections that are to be carried out. The worse fixed offshore platforms are, the more rigorously they will be inspected. Their actual conditions can be seen from previous inspections, defects (corrosion), and damaged elements [16]. Fixed offshore platforms are inevitably exposed to interactive and aggressive environmental conditions for long periods, such as salt spray, temperature, precipitation, tides, and severe corrosion due to chemical and electrochemical reactions [55]. The structural corrosion of fixed offshore platforms significantly impacts the ultimate fatigue strength of the underlying structure [56]. Increased cracking, corrosion, and damage reduce the ultimate strength, leading to the risk of the collapse and failure of all offshore fixed platforms, leading to loss of life, property, and pollution [57].
The third case study, Platform Z in Indonesia, has safe structural conditions and no physical damage, but there is some corrosion on the bracing and a decrease in cathodic protection up to 10%. With such anomalous conditions and defects, the platform is considered to have a medium risk and is set to carry out underwater inspections at intervals of 7 years.
6. Conclusions
From the mean and SD obtained, the analysis shows that the factors presented influence inspections of fixed offshore platforms, but the importance of each factor is assessed differently for each respondent based on SD values. Based on a scatterplot analysis, it was found that X4, X5, X3, X2, and X11 are in the first quadrant, which indicates that these variables are dominant because they have a high mean value but a low SD value. This study found three crucial factors when inspecting fixed offshore platforms. The first factor is environmental conditions, which consist of the degree of scouring on the seabed, ocean waves and currents, weather, and ocean depth seawater. The second factor is structural design, consisting of fixed offshore platform type, structural configurations, number of modifications, and high ocean growth. The third factor is anomalies and defects, consisting of the amount of damage and corrosion. This includes structural integrity degradation, such as service damage, corrosion, and cracking. It will affect inspections.
By knowing these factors, they can be used in considerations when planning future inspections of fixed offshore platforms. The owners of fixed offshore platforms can ensure these factors so that each platform will have a different inspection strategy. If many factors are found on fixed offshore platforms, the inspections carried out on them will be more stringent. With the results obtained, namely the first factor, environmental conditions, a company owning an offshore rig must pay attention to the environmental conditions in which the rig is located when determining inspections. The second factor is structural design; this needs to be considered based on the previous discussion, such that it must receive attention when deciding on inspections. Additionally, the last factor is regarding anomalies and defects; these factors must be strongly considered when determining inspections, because these factors are related to structural integrity degradation, such as damage and corrosion.
This study focused on the operational and maintenance phases. Some variables may not have been explored in this study, and further research should be conducted on the effect of inspections on the sustainability of fixed offshore platforms.
Author Contributions
Writing—original draft, R.B.S.; writing—review and editing, C.U. and S.; supervision, C.U. and S. All authors have read and agreed to the published version of the manuscript.
Funding
This research was funded by the “Penelitian PMDSU Kemendikbudristek 2022” research grants.
Institutional Review Board Statement
Not applicable.
Informed Consent Statement
Not applicable.
Data Availability Statement
Not applicable.
Acknowledgments
The authors appreciate the recognition and awards in the form of research grants and fellowships from “Penelitian PMDSU Kemendikbudristek 2022”, contract-based number 1470/PKS/ITS/2022.
Conflicts of Interest
The authors declare no conflict of interest.
References
- Sarker, S.; Kim, D.; Azad, M.S.; Sinsabvarodom, C.; Guk, S. Influence of Optimal Intensity Measures Selection in Engineering Demand Parameter of Fixed Jacket Offshore Platform. Appl. Sci. 2021, 11, 10745. [Google Scholar] [CrossRef]
- Khalili, H.; Oterkus, S.; Barltrop, N.; Bharadwaj, U. Updating the Distributions of Uncertain Parameters Involved in Fatigue Analysis. J. Mar. Sci. Eng. 2020, 8, 778. [Google Scholar] [CrossRef]
- SKK Migas. SKK Migas Annual Report 2019: Expanding Investment towards the 1 Million BOPD Oil Production; Humas SKK Migas: Jakarta, Indonesia, 2019. [Google Scholar]
- Pereira, C.; Silva, A.; Ferreira, C.; de Brito, J.; Flores-Colen, I.; Silvestre, J.D. Uncertainty in Building Inspection and Diagnosis: A Probabilistic Model Quantification. Infrastructures 2021, 6, 124. [Google Scholar] [CrossRef]
- Bonvicini, S.; Bernardini, G.; Scarponi, G.E.; Cassina, L.; Collina, A.; Cozzani, V. A Methodology for Response Gap Analysis in Offshore Oil Spill Emergency Management. Mar. Pollut. Bull. 2022, 174, 113272. [Google Scholar] [CrossRef] [PubMed]
- Directorate General of Marine Space. Karawang Regengy Waters Affected by Oil Spill. Available online: https://kkp.go.id/djprl/p4k (accessed on 1 February 2022).
- Tawekal, J.R.; Tawekal, R.L. Risk Reliability-Based Underwater Inspection Method for Jacket Platforms in Indonesia. Int. J. Struct. Integr. 2018, 9, 603–615. [Google Scholar] [CrossRef]
- Tawekal, R.L.; Purnawarman, F.D.; Muliati, Y. Development of Risk-Reliability Based Underwater Inspection for Fixed Offshore Platforms in Indonesia. MATEC Web Conf. 2018, 147, 05002. [Google Scholar] [CrossRef][Green Version]
- Hatoum, M.B.; Piskernik, M.; Nassereddine, H. A Holistic Framework for the Implementation of Big Data throughout a Construction Project Lifecycle. In Proceedings of the 37th International Symposium on Automation and Robotics in Construction, ISARC 2020: From Demonstration to Practical Use-To New Stage of Construction Robot, Kitakyushu, Japan, 27–28 October 2020; pp. 1299–1306. [Google Scholar]
- Tolentino, D.; Ruiz, S.E. Influence of Structural Deterioration over Time on the Optimal Time Interval for Inspection and Maintenance of Structures. Eng. Struct. 2014, 61, 22–30. [Google Scholar] [CrossRef]
- Luque, J.; Straub, D. Risk-Based Optimal Inspection Strategies for Structural Systems Using Dynamic Bayesian Networks. Struct. Saf. 2019, 76, 68–80. [Google Scholar] [CrossRef]
- Gholami, H.; Asgarian, B.; Asil Gharebaghi, S. Practical Approach for Reliability-Based Inspection Planning of Jacket Platforms Using Bayesian Networks. ASCE-ASME J. Risk Uncertain. Eng. Syst. Part A Civ. Eng. 2020, 6, 04020029. [Google Scholar] [CrossRef]
- Edirisinghe, R.; London, K.A.; Kalutara, P.; Aranda-Mena, G. Building Information Modelling for Facility Management: Are We There Yet? Eng. Constr. Archit. Manag. 2017, 24, 1119–1154. [Google Scholar] [CrossRef]
- Huang, Z.; Tan, C.L.; Lu, Y.; Wong, N.H. Holistic Analysis and Prediction of Life Cycle Cost for Vertical Greenery Systems in Singapore. Build. Environ. 2021, 196, 107735. [Google Scholar] [CrossRef]
- El-Reedy, M.A. Risk-Based Inspection Technique. In Offshore Structures; Elsevier: Amsterdam, The Netherlands, 2020; pp. 543–607. [Google Scholar]
- Guédé, F. Risk-Based Structural Integrity Management for Offshore Jacket Platforms. Mar. Struct. 2019, 63, 444–461. [Google Scholar] [CrossRef]
- Markeset, T.; Moreno-Trejo, J.; Kumar, R. Maintenance of Subsea Petroleum Production Systems: A Case Study. J. Qual. Maint. Eng. 2013, 19, 128–143. [Google Scholar] [CrossRef]
- Lu, W.; Wu, L.; Xu, J.; Lou, J. Construction E-Inspection 2.0 in the COVID-19 Pandemic Era: A Blockchain-Based Technical Solution. J. Manag. Eng. 2022, 38, 04022032. [Google Scholar] [CrossRef]
- Guo, C.; Liang, Z. A Predictive Markov Decision Process for Optimizing Inspection and Maintenance Strategies of Partially Observable Multi-State Systems. Reliab. Eng. Syst. Saf. 2022, 226, 108683. [Google Scholar] [CrossRef]
- Morato, P.G.; Papakonstantinou, K.G.; Andriotis, C.P.; Nielsen, J.S.; Rigo, P. Optimal Inspection and Maintenance Planning for Deteriorating Structural Components through Dynamic Bayesian Networks and Markov Decision Processes. Struct. Saf. 2022, 94, 102140. [Google Scholar] [CrossRef]
- Feng, F. Design and Analysis of Tall and Complex Structures; Elsevier: Amsterdam, The Netherlands, 2018; ISBN 9780081010181. [Google Scholar]
- Chakrabarti, S.K. Hydrodynamics of Offshore Structures; WIT Press: Southampton, UK, 1987. [Google Scholar]
- Amiri, N.; Shaterabadi, M.; Kashyzadeh, K.R.; Chizari, M. A Comprehensive Review on Design, Monitoring, and Failure in Fixed Offshore Platforms. J. Mar. Sci. Eng. 2021, 9, 1349. [Google Scholar] [CrossRef]
- Tian, X.; Sun, X.; Liu, G.; Deng, W.; Wang, H.; Li, Z.; Li, D. Optimization Design of the Jacket Support Structure for Offshore Wind Turbine Using Topology Optimization Method. Ocean Eng. 2022, 243, 110084. [Google Scholar] [CrossRef]
- Konstandakopoulou, F.; Konstantinidou, M.; Pnevmatikos, N.; Hatzigeorgiou, G.D. Safety and Performance of Offshore Platforms Subjected to Repeated Earthquakes. Infrastructures 2020, 5, 38. [Google Scholar] [CrossRef]
- Yasseri, S.F.; Bahai, H.; Mahani, R.B. Inspection Planning of Offshore Steel Jacket Structures for Fatigue Damage. Int. J. Offshore Polar Eng. 2017, 27, 252–259. [Google Scholar] [CrossRef]
- Ahmad, K.; Langdon, A.; Frieze, P.A. An Expert System for Offshore Structure Inspection and Maintenance. NDT E Int. 1992, 25, 40. [Google Scholar] [CrossRef]
- Onoufriou, T. Reliability Based Inspection Planning of Offshore Structures. Mar. Struct. 1999, 12, 521–539. [Google Scholar] [CrossRef]
- Ratnayake, R.M.C. Mechanization of Static Mechanical Systems Inspection Planning Process the State of the Art. J. Qual. Maint. Eng. 2015, 21, 227–248. [Google Scholar] [CrossRef]
- Abdallah, A.M.; Atadero, R.A.; Ozbek, M.E. A Comprehensive Uncertainty-Based Framework for Inspection Planning of Highway Bridges. Infrastructures 2021, 6, 27. [Google Scholar] [CrossRef]
- Zou, G.; Faber, M.H.; González, A.; Banisoleiman, K. Fatigue Inspection and Maintenance Optimization: A Comparison of Information Value, Life Cycle Cost and Reliability Based Approaches. Ocean Eng. 2021, 220, 108286. [Google Scholar] [CrossRef]
- Weber, P.; Medina-Oliva, G.; Simon, C.; Iung, B. Overview on Bayesian Networks Applications for Dependability, Risk Analysis and Maintenance Areas. Eng. Appl. Artif. Intell. 2012, 25, 671–682. [Google Scholar] [CrossRef]
- Schoefs, F.; Tran, T.-B. Reliability Updating of Offshore Structures Subjected to Marine Growth. Energies 2022, 15, 414. [Google Scholar] [CrossRef]
- Fahrni, L.; Thies, P.R.; Johanning, L.; Cowles, J. Scope and Feasibility of Autonomous Robotic Subsea Intervention Systems for Offshore Inspection, Maintenance and Repair; CRC Press: Boca Raton, FL, USA, 2018. [Google Scholar]
- McLean, D.L.; Taylor, M.D.; Giraldo Ospina, A.; Partridge, J.C. An Assessment of Fish and Marine Growth Associated with an Oil and Gas Platform Jacket Using an Augmented Remotely Operated Vehicle. Cont. Shelf Res. 2019, 179, 66–84. [Google Scholar] [CrossRef]
- Mojtahedi, A.; Hokmabady, H.; Yaghubzadeh, A.; Mohammadyzadeh, S. An Improved Model Reduction-Modal Based Method for Model Updating and Health Monitoring of an Offshore Jacket-Type Platform. Ocean Eng. 2020, 209, 107495. [Google Scholar] [CrossRef]
- Rongen, G.; Morales-Nápoles, O.; Kok, M. Expert Judgment-Based Reliability Analysis of the Dutch Flood Defense System. Reliab. Eng. Syst. Saf. 2022, 224, 108535. [Google Scholar] [CrossRef]
- Leontaris, G.; Morales-Nápoles, O.; Dewan, A.; Wolfert, A.R.M. Decision Support for Offshore Asset Construction Using Expert Judgments for Supply Disruptions Risk. Autom. Constr. 2019, 107, 102903. [Google Scholar] [CrossRef]
- Ioannou, I.; Aspinall, W.; Rush, D.; Bisby, L.; Rossetto, T. Expert Judgment-Based Fragility Assessment of Reinforced Concrete Buildings Exposed to Fire. Reliab. Eng. Syst. Saf. 2017, 167, 105–127. [Google Scholar] [CrossRef]
- Lee, J. Statistics, Descriptive. In International Encyclopedia of Human Geography; Elsevier: Amsterdam, The Netherlands, 2020; pp. 13–20. [Google Scholar]
- Zafri, N.M.; Rony, A.I.; Adri, N. Analysis of Pedestrian Crossing Speed and Waiting Time at Intersections in Dhaka. Infrastructures 2019, 4, 39. [Google Scholar] [CrossRef]
- Al-Rousan, T.M.; Umar, A.A.; Al-Omari, A.A. Characteristics of Crashes Caused by Distracted Driving on Rural and Suburban Roadways in Jordan. Infrastructures 2021, 6, 107. [Google Scholar] [CrossRef]
- Risimati, B.; Gumbo, T. Exploring the Applicability of Location-Based Services to Delineate the State Public Transport Routes Integratedness within the City of Johannesburg. Infrastructures 2018, 3, 28. [Google Scholar] [CrossRef]
- Astarini, S.D.; Utomo, C. Performance-Based Building Design of High-Rise Residential Buildings in Indonesia. Sustainability 2020, 12, 7103. [Google Scholar] [CrossRef]
- Wen, C.-H.; Lin, W.-W. Customer Segmentation of Freight Forwarders and Impacts on the Competitive Positioning of Ocean Carriers in the Taiwan–Southern China Trade Lane. Marit. Policy Manag. 2016, 43, 420–435. [Google Scholar] [CrossRef]
- Mvududu, N.H.; Sink, C.A. Factor Analysis in Counseling Research and Practice. Couns. Outcome Res. Eval. 2013, 4, 75–98. [Google Scholar] [CrossRef]
- Nichols, N.W.; Khan, R.; Ng, S.M.; Lee, L.A. A Strengthening, Modification & Repair (SMR) Decisionmaking Toolkit for Structural Integrity Management (SIM) of Ageing Offshore Structures. In Proceedings of the SPE/IATMI Asia Pacific Oil & Gas Conference and Exhibition, Nusa Dua, Indonesia, 20–22 October 2015; pp. 1–11. [Google Scholar] [CrossRef]
- Zhao, S.X.; Bi, C.W.; Sun, Z.Z. Engineering Analysis of the Dynamic Characteristics of an Electrical Jacket Platform of an Offshore Wind Farm under Seismic Loads. Appl. Ocean Res. 2021, 112, 102692. [Google Scholar] [CrossRef]
- Arcigni, F.; Abhinav, K.A.; Collu, M.; Venturini, M. Analysis of Tripod Supported Offshore Wind Turbines under Conditions of Marine Growth. Ocean Eng. 2021, 220, 108441. [Google Scholar] [CrossRef]
- Nichols, N.W.; Khan, R. Structural Integrity Management System (SIMS) Implementation within PETRONAS’ Operations. J. Mar. Eng. Technol. 2015, 14, 61–69. [Google Scholar] [CrossRef]
- Chandrasekaran, S. Dynamic Analysis and Design of Offshore Structures; Springer: New Delhi, India, 2015; Volume 5, ISBN 9788132222774. [Google Scholar]
- Syed Ahmad, S.Z.A.; Abu Husain, M.K.; Mohd Zaki, N.I.; Mukhlas, N.A.; Mat Soom, E.; Azman, N.U.; Najafian, G. Offshore Structural Reliability Assessment by Probabilistic Procedures—A Review. J. Mar. Sci. Eng. 2021, 9, 998. [Google Scholar] [CrossRef]
- Ghadimi, B.; Taghikhany, T. Dynamic Response Assessment of an Offshore Jacket Platform with Semi-Active Fuzzy-Based Controller: A Case Study. Ocean Eng. 2021, 238, 109747. [Google Scholar] [CrossRef]
- Mazaheri, P.; Asgarian, B.; Gholami, H. Assessment of Strengthening, Modification, and Repair Techniques for Aging Fixed Offshore Steel Platforms. Appl. Ocean Res. 2021, 110, 102612. [Google Scholar] [CrossRef]
- Yang, Y.; Xu, T.; Guo, J.; He, Z.; Ma, H. Strength Reserve Assessment on Pitting-Corroded Jacket Offshore Platforms Based on the Modified Generalized Constitutive Model. Thin-Walled Struct. 2021, 169, 108494. [Google Scholar] [CrossRef]
- Li, Y.; Zhang, Y.; Wang, W.; Li, X.; Wang, B. Influence of Corrosion Damage on Fatigue Limit Capacities of Offshore Wind Turbine Substructure. J. Mar. Sci. Eng. 2022, 10, 1011. [Google Scholar] [CrossRef]
- Ji, C.Y.; Xue, H.Z.; Shi, X.H.; Gaidai, O. Experimental and Numerical Study on Collapse of Aged Jacket Platforms Caused by Corrosion or Fatigue Cracking. Eng. Struct. 2016, 112, 14–22. [Google Scholar] [CrossRef]
Disclaimer/Publisher’s Note: The statements, opinions and data contained in all publications are solely those of the individual author(s) and contributor(s) and not of MDPI and/or the editor(s). MDPI and/or the editor(s) disclaim responsibility for any injury to people or property resulting from any ideas, methods, instructions or products referred to in the content. |
© 2023 by the authors. Licensee MDPI, Basel, Switzerland. This article is an open access article distributed under the terms and conditions of the Creative Commons Attribution (CC BY) license (https://creativecommons.org/licenses/by/4.0/).

