Study on Stress–Strain Relationship of Coir Fiber-Reinforced Red Clay Based on Duncan–Chang Model
Abstract
1. Introduction
2. Materials and Methods
2.1. Test Materials
2.2. Test Methods
2.3. Sample Preparation
3. Experimental Results and Analyses
3.1. Stress–Strain Relationship
- (1)
- Under different confining pressures and different fiber contents, the stress–strain relationship curves of plain soil and coir fiber-reinforced soil have similar trends, both of which are hyperbolic. With the increase in axial strain, the rate of increase in deviatoric stress decreases gradually, and the final deviatoric stress tends to a stable value. The stress–strain curve shows a typical strain-hardening type.
- (2)
- Compared with plain soil, the peak deviatoric stress of five coir fiber-reinforced soil samples with different levels of fiber content increased substantially, indicating that the addition of coir fiber can affect the strength and deformation resistance of soil.
- (3)
- Under low confining pressure (100 kPa, 200 kPa), the peak deviatoric stress of reinforced soil with different levels of coir fiber content shows little difference, indicating that the deviatoric stress is less affected by confining pressure under low confining pressure. Under high confining pressure (300 kPa, 400 kPa), the peak deviatoric stress of coir fiber-reinforced soil increases first and then decreases with the increase in fiber content, that is, there is an optimal coir fiber content. When the fiber content is 0.3%, the peak deviatoric stress reaches the maximum, and the reinforcement effect is the best. When the fiber content is too much, the fiber in the soil will be gathered together, such that the degree of occlusion and friction between the soil and the fiber becomes low, and it is easy to form penetrating cracks in the sample, which destroys the integrity of the soil due to the existence of potential failure surfaces.
- (4)
- When the axial strain of the soil is small (ε1 < 1%), the stress and strain curves of the plain soil and the coir fiber-reinforced soil are basically equivalent, indicating that the coir fiber cannot play a good role under a small strain. This is mainly because when the soil deformation is small, the external force is also small, the occlusal friction between the soil and the fiber is weak, the cohesion of the soil itself is not much enhanced, and the degree of fiber bending in the soil is not enough, and the spatial constraint effect on the soil is weak, so the reinforcement effect is not obvious. With the increase in axial strain ε1, the deviatoric stress of coir fiber-reinforced soil increases rapidly, and the greater the confining pressure, the greater the increase in the deviatoric stress, indicating that in the case of a certain small strain, coir fiber can play an early role in inhibiting the deformation of the soil, and the reinforcement effect of fiber soil is obviously reflected. When the axial strain reaches a certain value (ε1 > 4%), under the same fiber content, the greater the confining pressure, the greater the corresponding deviatoric stress. This is because there are more voids in the soil. The larger the confining pressure, the faster the void closure, the stronger the lateral restraint force, and the greater the deviatoric stress. From Figure 6, it can be seen that the pore pressure of the coir fiber-reinforced red clay sample increases to varying degrees compared with the plain soil. According to the effective stress principle of Terzaghi, σ = σ′ + u, it can be known through calculation that although the pore water pressure u is increasing, the total stress is increasing faster, thus the effective stress σ′ is still increasing from the overall point of view, and, therefore, the deformation of the specimen is constrained.
- (5)
- Under the same fiber content, the deviatoric stress of soil increases obviously with the increase in confining pressure. Taking fiber content of 0.3% as an example, the deviatoric stress of soil under confining pressure of 100 kPa, 200 kPa, 300 kPa, and 400 kPa is 115 kPa, 234 kPa, 345 kPa, and 457 kPa, respectively. The deviatoric stress of 400 kPa is 297.39% higher than that of 100 kPa, which indicates that increasing confining pressure can improve the failure strength of the soil.
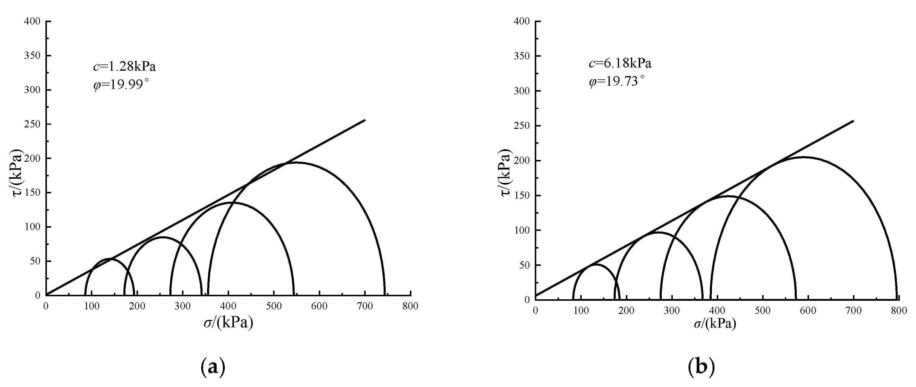
3.2. Shear Strength Parameters
3.3. Failure Characteristics of Coir Fiber-Reinforced Soil
4. Duncan–Chang Model and Parameter Analysis of Coir Fiber-Reinforced Red Clay
4.1. Establishment of the Model
4.2. Parameter Analysis
5. Discussion
6. Conclusions
- (1)
- The strength characteristics of red clay can be effectively improved by adding coir fiber to the soil. Under the optimal fiber content, the failure strength of the sample is nearly three times that of plain soil.
- (2)
- When the axial strain is small, the stress–strain relationship curves of the plain soil and the coir fiber-reinforced red clay are consistent, indicating that the reinforcement effect is not obvious at this time. With the increase in axial strain, the occlusal friction between the soil and the fiber and the tensile resistance of the fiber gradually play a role, which improves the shear strength of the soil and increases the deviatoric stress of different samples.
- (3)
- Compared with plain soil, the cohesion of red clay mixed with fiber increases by 4.9~9.13 kPa, and reaches the maximum when the fiber content is 0.3%, while the internal friction angle of red clay mixed with fiber is not much different from that of plain soil.
- (4)
- Under the same fiber content, the parameters a and b gradually decrease with the increase in confining pressure, and the initial deformation modulus Ei and ultimate deviator stress of the sample increase with the increase in confining pressure. Additionally, the initial tangent modulus Ei increases first and then decreases with the continuous increase in fiber content. The rule of change is in line with the test situation and has guiding significance.
Author Contributions
Funding
Institutional Review Board Statement
Informed Consent Statement
Data Availability Statement
Acknowledgments
Conflicts of Interest
References
- Li, C.; Papel, T. Analyzing the role of environmental technologies and environmental policy stringency on green growth in China. Environ. Sci. Pollut. Res. 2022, 29, 55630–55638. [Google Scholar] [CrossRef]
- Liu, X.; Nie, W. Study on the coupling coordination mechanism of green technology innovation, environmental regulation, and green finance. Environ. Sci. Pollut. Res. 2022, 29, 71796–71809. [Google Scholar] [CrossRef] [PubMed]
- Yuan, Z.G.; Zhao, J.T.; Li, S.Q.; Jiang, Z.; Huang, F. A Unified Solution for Surrounding Rock of Roadway Considering Seepage, Dilatancy, Strain-Softening and Intermediate Principal Stress. Sustainability 2022, 14, 8099. [Google Scholar] [CrossRef]
- Fan, H.D.; Lu, Y.F.; Hu, Y.L.; Fang, J.; Lv, C.; Xu, C.; Feng, X.; Liu, Y. A Landslide Susceptibility Evaluation of Highway Disasters Based on the Frequency Ratio Coupling Model. Sustainability 2022, 14, 7740. [Google Scholar] [CrossRef]
- Zheng, C.S.; Jiang, B.Y.; Xue, S.; Chen, Z.; Li, H. Coalbed methane emissions and drainage methods in underground mining for mining safety and environmental benefits: A review. Process Saf. Environ. Prot. 2019, 127, 103–124. [Google Scholar] [CrossRef]
- Liu, Y.; He, B.C.; Xie, J.; Lu, Y.; Zhang, L. Compatibility of geosynthetic clay liners at different temperatures. J. Environ. Prot. Ecol. 2021, 22, 2295–2306. [Google Scholar]
- Zhu, C.G.; Long, S.C.; Zhang, J.X.; Wu, W.; Zhang, L. Time Series Multi-Sensors of Interferometry Synthetic Aperture Radar for Monitoring Ground Deformation. Front. Environ. Sci. 2022, 10, 929958. [Google Scholar] [CrossRef]
- Huang, Z.A.; Huang, Y.; Yang, Z.J.; Zhang, J.; Zhang, Y.; Gao, Y.; Shao, Z. Study on the physicochemical characteristics and dust suppression performance of new type chemical dust suppressant for copper mine pavement. Environ. Sci. Pollut. Res. 2021, 28, 59640–59651. [Google Scholar] [CrossRef]
- Zhang, Y.; Ren, B.Z.; Hursthouse, A.S.; Deng, R.; Hou, B. An Improved SWAT for Predicting Manganese Pollution Load at the Soil-Water Interface in a Manganese Mine Area. Pol. J. Environ. Stud. 2018, 27, 2357–2365. [Google Scholar] [CrossRef]
- Zhao, Y.L.; Tang, J.Z.; Chen, Y.; Zhang, L.; Wang, W.; Wan, W.; Liao, J. Hydromechanical coupling tests for mechanical and permeability characteristics of fractured limestone in complete stress-strain process. Environ. Earth Sci. 2017, 76, 24. [Google Scholar] [CrossRef]
- Yu, W.J.; Li, K.; Liu, Z.; An, B.; Wang, P.; Wu, H. Mechanical characteristics and deformation control of surrounding rock in weakly cemented siltstone. Environ. Earth Sci. 2021, 80, 337. [Google Scholar] [CrossRef]
- Zhao, Y.L.; Luo, S.L.; Wang, Y.X.; Zhang, L.; Wan, W. Numerical Analysis of Karst Water Inrush and a Criterion for Establishing the Width of Water-resistant Rock Pillars. Mine Water Environ. 2017, 36, 508–519. [Google Scholar] [CrossRef]
- Chen, C.H.; Peng, Z.S.; Gu, J.Y.; Peng, Y.; Huang, X.; Wu, L. Exploring Environmentally Friendly Biopolymer Material Effect on Soil Tensile and Compressive Behavior. Int. J. Environ. Res. Public Health 2020, 17, 9032. [Google Scholar] [CrossRef] [PubMed]
- Luo, X.; Ren, B.Z.; Hursthouse, A.S.; Thacker, J.R.M.; Wang, Z. Soil from an Abandoned Manganese Mining Area (Hunan, China): Significance of Health Risk from Potentially Toxic Element Pollution and Its Spatial Context. Int. J. Environ. Res. Public Health 2020, 17, 6554. [Google Scholar] [CrossRef] [PubMed]
- Liu, S.K.; Nie, Y.X.; Hu, W.; Ashiru, M.; Li, Z.; Zuo, J. The Influence of Mixing Degree between Coarse and Fine Particles on the Strength of Offshore and Coast Foundations. Sustainability 2022, 14, 9177. [Google Scholar] [CrossRef]
- Wang, P.; Zhang, J.; Chen, Z.; Yang, X. Improvement of different biopolymers on electroosmotic consolidation of soil. International J. Environ. Sci. Technol. 2022. [Google Scholar] [CrossRef]
- Pacheco-Torgal, F.; Ivanov, V.; Karak, N.; Jonkers, H. Biopolymers and Biotech Admixtures for Eco-Efficient Construction Materials; Woodhead Publishing: Cambridge, UK, 2016. [Google Scholar]
- Chang, I.; Prasidhi, A.K.; Im, J.; Shin, H.-D.; Cho, G.-C. Soil treatment using microbial biopolymers for anti-desertification purposes. Geoderma 2015, 253, 39–47. [Google Scholar] [CrossRef]
- Prabakar, J.; Sridhar, R.S. Effect of random inclusion of sisal fibre on strength behaviour of soil. Constr. Build. Mater. 2002, 16, 123–131. [Google Scholar] [CrossRef]
- Liu, J.L.; Hou, T.S.; Luo, Y.S.; Cui, Y.-X. Experimental Study on Unconsolidated Undrained Shear Strength Characteristics of Synthetic Cotton Fiber Reinforced Soil. Geotech. Geol. Eng. 2020, 38, 1773–1783. [Google Scholar] [CrossRef]
- Sridhar, R. A Review on performance of coir fiber reinforced sand. Int. J. Eng. Technol. 2017, 9, 249–256. [Google Scholar] [CrossRef]
- Suhendra, M.; Yunita, H.; Saleh, S.M. Coconut fiber strength test as a potential to prevent landslides on badlands. IOP Conf. Ser. Mater. Sci. Eng. 2020, 933, 012038. [Google Scholar] [CrossRef]
- Evangeline, S.Y.; Sayida, M.K.; Girish, M.S. Long-Term Performance of Rural Roads Reinforced with Coir Geotextile—A Field Study. J. Nat. Fibers 2019, 18, 1419–1436. [Google Scholar] [CrossRef]
- Rajeswari, J.S.; Sarkar, R.; Roy, N.; Bharti, S. D Bearing capacity of circular footing supported on coir fiber-reinforced soil. Int. J. Geotech. Eng. 2019, 13, 218–226. [Google Scholar] [CrossRef]
- Goud, G.N.; Hyma, A.; Chandra, V.S.; Rani, R.S. Expansive soil stabilization with coir waste and lime for flexible pavement subgrade. IOP Conf. Ser. Mater. Sci. Eng. 2018, 330, 012130. [Google Scholar] [CrossRef]
- Jiang, X.L.; Qian, Y.H.; Yang, H.; Xiao, Z.; Fan, W.; Zhu, Y.; Liu, W.; Guo, J. Model Test Studies on Slope Supported by Bamboo Anchor and Timber Frame Beam. Geotech. Geol. Eng. 2022, 40, 4327–4344. [Google Scholar] [CrossRef]
- Zhu, Y.; Yang, H.; Liu, Y.; Jiang, X.; Deng, R.; Huang, L.; Yin, P.; Lai, G. Numerical Simulation of the Combined Slope Protection Effect of Living Stump and Bamboo Anchor. Geotech. Geol. Eng. 2022, 40, 635–645. [Google Scholar] [CrossRef]
- Jishnu, V.P.; Sankar, N.; Chandrakaran, S. Strength behaviour of cohesionless soil reinforced with coconut leaf let as a natural material. Mater. Today Proc. 2020, 31, S340–S347. [Google Scholar] [CrossRef]
- Huang, G. Tensile behaviours of the coir fiber and related composites after NaOH treatment. Mater. Des. 2009, 30, 3931–3934. [Google Scholar] [CrossRef]
- Anggraini, V.; Asadi, A.; Farzadnia, N.; Jahangirian, H.; Huat, B.B.K. Reinforcement Benefits of Nanomodified Coir Fiber in Lime-Treated Marine Clay. J. Mater. Civ. Eng. 2016, 28, 06016005. [Google Scholar] [CrossRef]
- Qin, W.S.; Li, G.F.; Hu, W.; Li, B.J.; Zou, G.H. Triaxial test study of coir fiber soil. Sci. Technol. Eng. 2017, 17, 272–276. [Google Scholar]
- Sivakumar Babu, G.L.; Vasudevan, A.K.; Sayida, M.K. Use of Coir Fibers for Improving the Engineering Properties of Expansive Soils. J. Nat. Fibers 2008, 5, 61–75. [Google Scholar] [CrossRef]
- Dasaka, S.M.; Sumesh, K.S. Effect of Coir Fiber on the Stress–Strain Behavior of a Reconstituted Fine-Grained Soil. J. Nat. Fibers 2011, 8, 189–204. [Google Scholar] [CrossRef]
- Widianti, A.; Diana, W.; Alghifari, M.R. Shear Strength and Elastic Modulus Behavior of Coconut Fiber-Reinforced Expansive Soil. IOP Conf. Ser. Mater. Sci. Eng. 2021, 1144, 012043. [Google Scholar] [CrossRef]
- Kar, R.; Pradhan, P. Strength and compressibility characteristics of randomly distributed fiber-reinforced soil. Int. J. Geotech. Eng. 2011, 5, 235–243. [Google Scholar] [CrossRef]
- Maliakal, T.; Thiyyakkandi, S. Influence of Randomly Distributed Coir Fibers on Shear Strength of Clay. Geotech. Geol. Eng. 2013, 31, 425–433. [Google Scholar] [CrossRef]
- Diambra, A.; Russell, A.R.; Ibraim, E.; Muir Wood, D. Determination of fibre orientation distribution in reinforced sands. Géotechnique 2007, 57, 623–628. [Google Scholar] [CrossRef]
- Lirer, S.; Flora, A.; Consoli, N.C. Experimental Evidences of the Effect of Fibres in Reinforcing a Sandy Gravel. Geotech. Geol. Eng. 2012, 30, 75–83. [Google Scholar] [CrossRef]
- Deng, L.F.; Ruan, B. Triaxial compression test of polypropylene fiber cement silty clay. J. Railw. Sci. Eng. 2019, 16, 1201–1206. [Google Scholar] [CrossRef]
- Chu, F.; Luo, J.B.; Yang, W.P.; Shao, S.; Yu, Y.; Xu, C. Strength and Deformation Characteristics of Fiber Reinforced Longdong Loess and Experimental Study of Modified Duncan-Chang Model. In Proceedings of the 7th International Conference on Environmental Science and Civil Engineering (ESCE 2021), Nanchang, China, 9 January 2021; pp. 1104–1121. [Google Scholar] [CrossRef]
- Zhao, Y.Y.; Ling, X.Z.; Gong, W.G.; Li, P.; Li, G.; Wang, L. Mechanical Properties of Fiber-Reinforced Soil under Triaxial Compression and Parameter Determination Based on the Duncan-Chang Model. Appl. Sci. 2020, 10, 9043. [Google Scholar] [CrossRef]
- Hu, Y.Y.; Yu, Q.Z.; Zhang, C.J.; Qian, J.L.; Xie, J.Q. Duncan-Chang model of fiber reinforced silt solidified soil. J. Zhejiang Univ. Eng. 2017, 51, 1500–1508. [Google Scholar]
- Zhang, Y.; He, G.H.; Yu, P.L. Strength Characteristics and Duncan-Chang Model Parameters of Expansive Soil Improved by Fiber Coal Gangue. Sci. Technol. Eng. 2022, 22, 9260–9267. [Google Scholar]
- Li, G.X. Advanced Soil Mechanics, 2nd ed.; Tsinghua University Press: Beijing, China, 2016; pp. 62–64. [Google Scholar]













| Specific Gravity | Maximum Dry Density /(g·cm−3) | Optimum Moisture Content /% | Liquid Limit ωL/% | Plastic Limit ωP/% | Plasticity Index IP | 
|---|---|---|---|---|---|
| 2.74 | 1.70 | 20.0% | 49.0 | 22.7 | 26.3 | 
| Fiber Content/% | c/kPa | φ/(°) | 
|---|---|---|
| 0 | 1.28 | 19.99 | 
| 0.2 | 6.18 | 19.73 | 
| 0.25 | 8.95 | 19.28 | 
| 0.3 | 10.41 | 20.94 | 
| 0.35 | 7.60 | 20.49 | 
| 0.4 | 6.68 | 20.36 | 
| Fiber Content (%) | Confining Pressure (kPa) | Parameter a | Parameter b | Ei (×103 kPa) | Rf | |
|---|---|---|---|---|---|---|
| 0 | 100 | 0.00471 | 0.00930 | 212.31 | 107.53 | 0.9951 | 
| 200 | 0.00386 | 0.00577 | 259.07 | 173.31 | 0.9809 | |
| 300 | 0.00315 | 0.00365 | 317.46 | 273.97 | 0.9892 | |
| 400 | 0.00223 | 0.00252 | 448.43 | 396.83 | 0.9777 | |
| 0.2 | 100 | 0.00418 | 0.00850 | 239.23 | 117.61 | 0.8673 | 
| 200 | 0.00207 | 0.00513 | 483.09 | 194.93 | 0.9952 | |
| 300 | 0.00160 | 0.00333 | 625.00 | 300.30 | 0.9923 | |
| 400 | 0.00127 | 0.00238 | 787.40 | 420.17 | 0.9758 | |
| 0.25 | 100 | 0.00385 | 0.00906 | 259.74 | 110.38 | 0.9966 | 
| 200 | 0.00177 | 0.00527 | 564.97 | 189.75 | 0.9960 | |
| 300 | 0.00149 | 0.00318 | 671.14 | 314.47 | 0.9762 | |
| 400 | 0.00113 | 0.00240 | 884.96 | 416.67 | 0.9648 | |
| 0.3 | 100 | 0.00330 | 0.00851 | 303.03 | 117.51 | 0.9786 | 
| 200 | 0.00202 | 0.00422 | 495.05 | 236.97 | 0.9875 | |
| 300 | 0.00139 | 0.00278 | 719.42 | 359.71 | 0.9591 | |
| 400 | 0.00087 | 0.00205 | 1149.43 | 487.80 | 0.9635 | |
| 0.35 | 100 | 0.00453 | 0.00862 | 220.75 | 115.98 | 0.9743 | 
| 200 | 0.00279 | 0.00505 | 358.43 | 198.02 | 0.9948 | |
| 300 | 0.00187 | 0.00296 | 534.76 | 337.84 | 0.9502 | |
| 400 | 0.00138 | 0.00223 | 724.64 | 448.43 | 0.9634 | |
| 0.4 | 100 | 0.00460 | 0.00826 | 217.39 | 121.05 | 0.9665 | 
| 200 | 0.00355 | 0.00482 | 281.69 | 207.47 | 0.9736 | |
| 300 | 0.00298 | 0.00297 | 335.57 | 336.70 | 0.9474 | |
| 400 | 0.00201 | 0.00227 | 497.51 | 440.53 | 0.9670 | 
| Disclaimer/Publisher’s Note: The statements, opinions and data contained in all publications are solely those of the individual author(s) and contributor(s) and not of MDPI and/or the editor(s). MDPI and/or the editor(s) disclaim responsibility for any injury to people or property resulting from any ideas, methods, instructions or products referred to in the content. | 
© 2022 by the authors. Licensee MDPI, Basel, Switzerland. This article is an open access article distributed under the terms and conditions of the Creative Commons Attribution (CC BY) license (https://creativecommons.org/licenses/by/4.0/).
Share and Cite
Jiang, X.; Guo, J.; Yang, H.; Bao, S.; Wen, C.; Chen, J. Study on Stress–Strain Relationship of Coir Fiber-Reinforced Red Clay Based on Duncan–Chang Model. Appl. Sci. 2023, 13, 556. https://doi.org/10.3390/app13010556
Jiang X, Guo J, Yang H, Bao S, Wen C, Chen J. Study on Stress–Strain Relationship of Coir Fiber-Reinforced Red Clay Based on Duncan–Chang Model. Applied Sciences. 2023; 13(1):556. https://doi.org/10.3390/app13010556
Chicago/Turabian StyleJiang, Xueliang, Jiahui Guo, Hui Yang, Shufeng Bao, Changping Wen, and Jiayu Chen. 2023. "Study on Stress–Strain Relationship of Coir Fiber-Reinforced Red Clay Based on Duncan–Chang Model" Applied Sciences 13, no. 1: 556. https://doi.org/10.3390/app13010556
APA StyleJiang, X., Guo, J., Yang, H., Bao, S., Wen, C., & Chen, J. (2023). Study on Stress–Strain Relationship of Coir Fiber-Reinforced Red Clay Based on Duncan–Chang Model. Applied Sciences, 13(1), 556. https://doi.org/10.3390/app13010556
 
        


 
       