Effect of High Temperatures on Mechanical and Shielding Properties of Lead–Zinc Tailings Concrete for Radiation Protection
Abstract
1. Introduction
2. Raw Materials and Test Methods
2.1. Raw Materials
- (1)
- Cement: The experiments employed ordinary Portland P.O 42.5 cement, which was procured from Hunan Province in China. The chemical constituents of the utilized cement are delineated in Table 1. The cement possesses a density of 3100 kg/m³ and a fineness value of 370 m²/kg. For the relevant regulations, we referred to Common Portland Cement (GB 175-2007) [45].
- (2)
- Aggregates: The test methods employed in this study adhere to the standards outlined in Sand for Construction (GB/T 14684-2022) [46] and Pebble and Crushed Stone for Construction (GB/T 14685-2022) [47]. The lead–zinc tailings sand (LZT) and magnetite aggregates were sourced from a tailings dam located in Shuikou Mountain, Hunan Province, China, and Henan Province, China, respectively. To prepare the LZT, which was initially stored in a wet state, it was dried in an oven at 105 °C for 24 h and subsequently sieved. The magnetite coarse and sand aggregates underwent washing and were then naturally dried in an open outdoor area for one week. These aggregates were then sieved using standard square-hole sieves, with needle-like and flaky stones being removed. Magnetite coarse aggregates with a maximum particle size of 20 mm were prepared and proportioned according to standardized mass ratios. Magnetite fine aggregates were obtained by sieving magnetite sand with a particle size range of 0–5 mm. The principal chemical composition and fundamental properties of the aggregates are detailed in Table 1 and Table 2, respectively. The grading curves for both coarse and fine aggregates are depicted in Figure 1.
- (3)
- Water: Tap water was supplied within the laboratory premises.
2.2. Mix Proportion and Specimen Arrangement
2.3. Test Methods
2.3.1. Work Performance Test
2.3.2. High-Temperature Heating Test
2.3.3. Mechanical Test
2.3.4. Ultrasonic Nondestructive Testing
2.3.5. γ-ray Shielding Test
3. Results and Discussion
3.1. Properties of Radiation Shielding Concrete with Different LZT Ratios at Room Temperature
3.1.1. Workability
3.1.2. Compressive Strength
3.1.3. Splitting Tensile Strength
3.1.4. Ultrasonic Pulse Velocity
3.1.5. γ-ray Shielding Performance Results and Analysis
3.2. Properties of Lead–Zinc Tailings Radiation Shielding Concrete (LZTRSC) Exposed to Elevated Temperatures
3.2.1. Failure Characteristics
3.2.2. Mass Loss
3.2.3. Compressive Strength
3.2.4. Splitting Tensile Strength
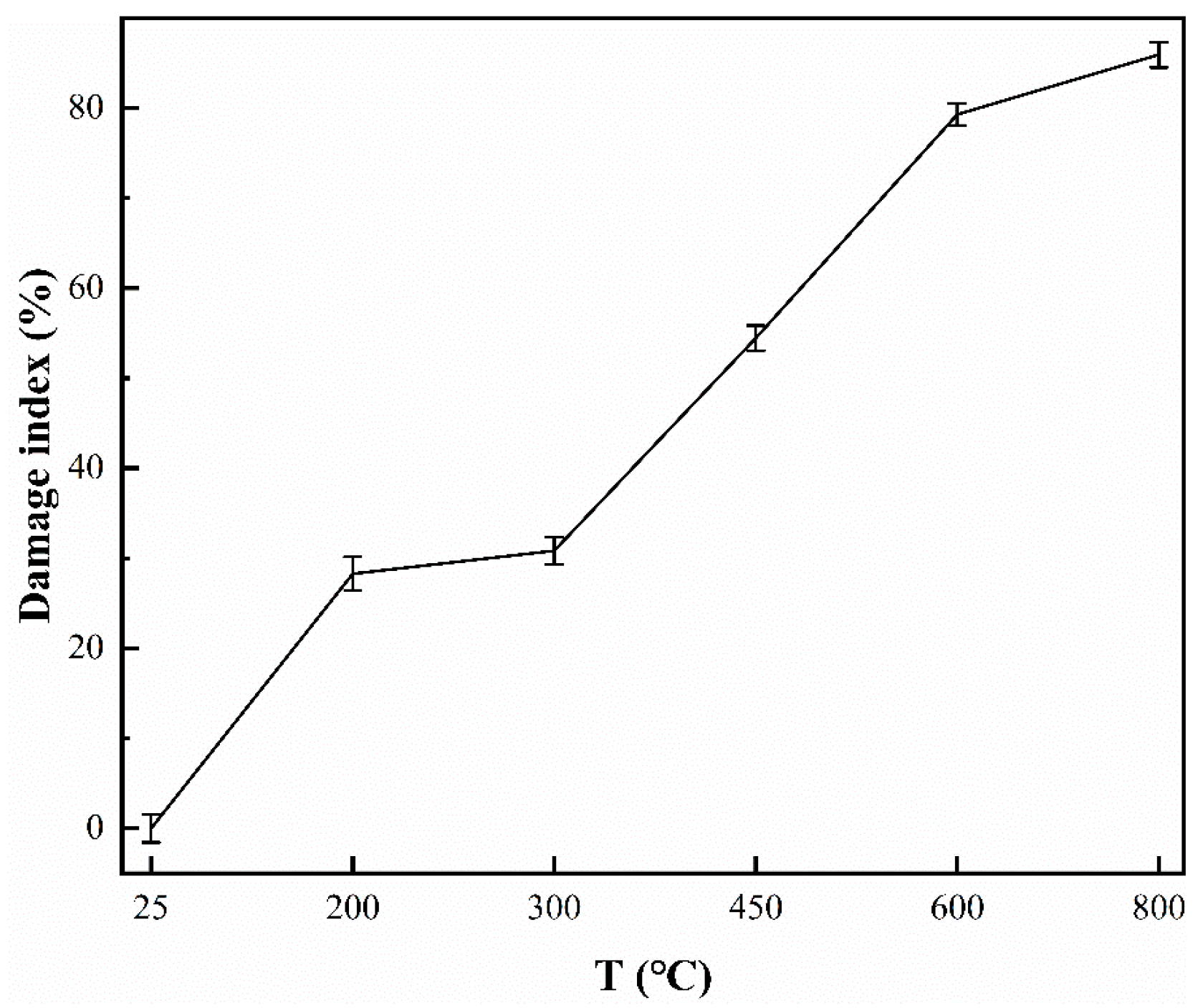
3.3. Ultrasonic Nondestructive Testing Results and Analysis
3.4. Relationship between Relative Compressive Strength as Well as Relative Splitting Strength and Relative Wave Velocity
- where fc,T and fc,25 represent the compressive strength of LZTRSC subjected to different temperatures; ft,T and ft,25 represent the splitting strength of LZTRSC subjected to different temperatures; VT and V25 represent the wave velocity of LZTRSC specimens subjected to different temperatures.
3.5. Shielding Performance Results and Analysis
- where μ25 and μT represent the linear attenuation coefficient at room temperature and at different temperatures, respectively.
4. Conclusions
- (1)
- According to the above study, lead–zinc tailings sand can be used as a suitable and sustainable substitute for fine aggregates in radiation shielding concrete, and can achieve good mechanical properties and γ-ray shielding performance at room temperature. In practical engineering applications, it is important to select an appropriate shielding layer thickness based on the temperature environment of the concrete. If a reasonable large-scale utilization of lead–zinc tailings sand can be achieved, it can bring considerable economic and environmental benefits.
- (2)
- By incorporating a dosage of 30% of the lead–zinc tailings sand, the workability and splitting tensile strength of the radiation shielding concrete can be improved. Moreover, this dosage can also achieve a high compressive strength and good gamma ray shielding performance, reaching up to 95.84% of the strength and 96.60% of the linear attenuation coefficient of the control group (0% dosage), respectively.
- (3)
- After exposure to elevated temperatures, the apparent degradation of the lead–zinc tailings radiation shielding concrete is mainly manifested by the generation, expansion and extension of cracks, with localized bursting occurring at 800 °C. The compressive strength shows an initial increase before 300 °C, followed by a linear decrease. Similarly, the splitting tensile strength exhibits a slight increase before 200 °C, but starts to decline beyond that temperature.
- (4)
- After exposure to elevated temperatures, the relative wave velocity shows a strong correlation (R2 > 0.95) with both the compressive strength and splitting tensile strength, indicating that ultrasonic nondestructive testing is a suitable method for evaluating the extent of the damage to the mechanical properties of the lead–zinc tailings radiation shielding concrete.
- (5)
- After exposure to elevated temperatures, the mass loss rate, damage index and relative linear attenuation coefficient of the lead–zinc tailings radiation shielding concrete are closely related (R2 > 0.95), which can be used to evaluate the remaining γ-ray shielding efficiency of the concrete. Between these factors, the mass loss rate exhibits a stronger correlation with the relative linear attenuation coefficient compared to the damage index.
Author Contributions
Funding
Data Availability Statement
Conflicts of Interest
References
- Ha, M.; Yoo, K.-Y.; Cho, S.-H. Glycophorin A mutant frequency in radiation workers at the nuclear power plants and a hospital. Mutat. Res./Fundam. Mol. Mech. Mutagen. 2002, 501, 45–56. [Google Scholar] [CrossRef] [PubMed]
- Başyigit, C.; Akkurt, I.; Kilincarslan, S.; Beycioglu, A. Prediction of compressive strength of heavyweight concrete by ANN and FL models. Neural Comput. Appl. 2010, 19, 507–513. [Google Scholar] [CrossRef]
- Han, B.; Zhang, L.; Ou, J. (Eds.) Radiation Shielding Concrete. In Smart and Multifunctional Concrete toward Sustainable Infrastructures; Springer: Singapore, 2017; pp. 329–337. [Google Scholar]
- Chauhan, R.K.; Mudgal, M.; Verma, S.; Amritphale, S.S.; Das, S.; Shrivastva, A. Development and Design Mix of Radiation Shielding Concrete for Gamma-ray Shielding. J. Inorg. Organomet. Polym. Mater. 2017, 27, 871–882. [Google Scholar] [CrossRef]
- Abdullah, M.A.H.; Rashid, R.S.M.; Amran, M.; Hejazii, F.; Azreen, N.M.; Fediuk, R.; Voo, Y.L.; Vatin, N.I.; Idris, M.I. Recent Trends in Advanced Radiation Shielding Concrete for Construction of Facilities: Materials and Properties. Polymers 2022, 14, 2830. [Google Scholar] [CrossRef] [PubMed]
- Kanagaraj, B.; Anand, N.; Andrushia, A.D.; Naser, M.Z. Recent developments of radiation shielding concrete in nuclear and radioactive waste storage facilities—A state of the art review. Constr. Build. Mater. 2023, 404, 133260. [Google Scholar] [CrossRef]
- Binici, H.; Aksogan, O.; Sevinc, A.H.; Cinpolat, E. Mechanical and radioactivity shielding performances of mortars made with cement, sand and egg shells. Constr. Build. Mater. 2015, 93, 1145–1150. [Google Scholar] [CrossRef]
- Sevinç, A.H.; Durgun, M.Y. A novel epoxy-based composite with eggshell, PVC sawdust, wood sawdust and vermiculite: An investigation on radiation absorption and various engineering properties. Constr. Build. Mater. 2021, 300, 123985. [Google Scholar] [CrossRef]
- Mahmoud, K.A.; Sayyed, M.I.; Almuqrin, A.H.; Elhelaly, M.A.; Alhindawy, I.G. Synthesis of glass powders for radiation shielding applications based on zirconium minerals’ leach liquor. Radiat. Phys. Chem. 2023, 207, 110867. [Google Scholar] [CrossRef]
- Alwaeli, M.; Nadziakiewicz, J. Recycling of scale and steel chips waste as a partial replacement of sand in concrete. Constr. Build. Mater. 2011, 28, 157–163. [Google Scholar] [CrossRef]
- Alwaeli, M. The implementation of scale and steel chips waste as a replacement for raw sand in concrete manufacturing. J. Clean. Prod. 2016, 137, 1038–1044. [Google Scholar] [CrossRef]
- Beaucour, A.-L.; Pliya, P.; Faleschini, F.; Njinwoua, R.; Pellegrino, C.; Noumowé, A. Influence of elevated temperature on properties of radiation shielding concrete with electric arc furnace slag as coarse aggregate. Constr. Build. Mater. 2020, 256, 119385. [Google Scholar] [CrossRef]
- Alwaeli, M. Investigation of gamma radiation shielding and compressive strength properties of concrete containing scale and granulated lead-zinc slag wastes. J. Clean. Prod. 2017, 166, 157–162. [Google Scholar] [CrossRef]
- Binici, H.; Aksogan, O.; Sevinc, A.H.; Kucukonder, A. Mechanical and radioactivity shielding performances of mortars made with colemanite, barite, ground basaltic pumice and ground blast furnace slag. Constr. Build. Mater. 2014, 50, 177–183. [Google Scholar] [CrossRef]
- Attia, M.M.; Abdelsalam, A.B.; Mohamed, A.; Saad, A.I.; Farouk, A.M. Metal-Nails Waste and Steel Slag Aggregate as Alternative and Eco-Friendly Radiation Shielding Composites. Buildings 2022, 12, 1120. [Google Scholar] [CrossRef]
- Cano, N. Evaluation of the extractive gold process: Open-pit mining through exergy analysis. J. Sustain. Min. 2020, 19, 3. [Google Scholar] [CrossRef]
- Lyu, Z.; Chai, J.; Xu, Z.; Qin, Y.; Cao, J. A Comprehensive Review on Reasons for Tailings Dam Failures Based on Case History. Adv. Civ. Eng. 2019, 2019, 4159306. [Google Scholar] [CrossRef]
- Hamilton, A.K.; Laval, B.E.; Petticrew, E.L.; Albers, S.J.; Allchin, M.I.; Baldwin, S.A.; Carmack, E.C.; Déry, S.J.; French, T.D.; Granger, B.; et al. Seasonal Turbidity Linked to Physical Dynamics in a Deep Lake Following the Catastrophic 2014 Mount Polley Mine Tailings Spill. Water Resour. Res. 2020, 56, e2019WR025790. [Google Scholar] [CrossRef]
- Davies, M. Tailings Impoundment Failures: Are Geotechnical Engineers Listening? Waste Geotech. 2002, 20, 31–36. [Google Scholar]
- Vrhovnik, P.; Dolenec, T.; Serafimovski, T.; Dolenec, M.; Rogan Šmuc, N. The occurrence of heavy metals and metalloids in surficial lake sediments before and after a tailings dam failure. Pol. J. Environ. Stud. 2013, 22, 1525–1538. [Google Scholar]
- Felizardo, J.P.; Muniz, M.C.; Vezzone, M.; Cardoso, R.P.; Wasserman, J.; Padilla, R.; Migliori, A.; Anjos, R.M. Sources of sedimentary organic matter and assessment of heavy-metal levels in estuarine sediments after Fundão dam breach. Estuar. Coast. Shelf Sci. 2021, 261, 107507. [Google Scholar] [CrossRef]
- Lv, X.D.; Liu, Z.A.; Zhu, Z.G.; Li, B.X. Study of the progress of tailings comprehensive utilization of raw materials in cement and concrete. Mater. Rep. 2018, 32, 452–456. (In Chinese) [Google Scholar]
- Hu, G.; Zhang, C.; Qian, C.; Wen, J. Recent research progress of compressive utilization of molybdenum tailings resources. Mater. Rep. 2019, 33 (Suppl. S2), 233–238. (In Chinese) [Google Scholar]
- Lu, C.; Chen, H.Y.; Fu, L.J.; Tian, G.; Zhang, H.; Liang, J.; Yang, H. Research progress on the preparation of new building materials using iron tailings. Mater. Rep. 2021, 35, 5011–5026. (In Chinese) [Google Scholar]
- Zhang, Y.; Li, Z.; Gu, X.; Nehdi, M.L.; Marani, A.; Zhang, L. Utilization of iron ore tailings with high volume in green concrete. J. Build. Eng. 2023, 72, 106585. [Google Scholar] [CrossRef]
- Yanjie, T.; Liang, Z.; Bo, L.; Wei, C. Controlling the soundness of Portland cement clinker synthesized with solid wastes based on phase transition of MgNiO2. Cem. Concr. Res. 2022, 157, 106832. [Google Scholar]
- Saedi, A.; Jamshidi-Zanjani, A.; Darban, A.K. A review on different methods of activating tailings to improve their cementitious property as cemented paste and reusability. J. Environ. Manag. 2020, 270, 110881. [Google Scholar] [CrossRef] [PubMed]
- Yao, G.; Liu, Q.; Wang, J.; Wu, P.; Lyu, X. Effect of mechanical grinding on pozzolanic activity and hydration properties of siliceous gold ore tailings. J. Clean. Prod. 2019, 217, 12–21. [Google Scholar] [CrossRef]
- Saedi, A.; Jamshidi-Zanjani, A.; Mohseni, M.; Khodadadi Darban, A.; Nejati, H. Mechanical activation of lead–zinc mine tailings as a substitution for cement in concrete construction. Constr. Build. Mater. 2023, 364, 129973. [Google Scholar] [CrossRef]
- Çullu, M.; Ertaş, H. Determination of the effect of lead mine waste aggregate on some concrete properties and radiation shielding. Constr. Build. Mater. 2016, 125, 625–631. [Google Scholar] [CrossRef]
- Gallala, W.; Hayouni, Y.; Gaied, M.E.; Fusco, M.; Alsaied, J.; Bailey, K.; Bourham, M. Mechanical and radiation shielding properties of mortars with additive fine aggregate mine waste. Ann. Nucl. Energy 2017, 101, 600–606. [Google Scholar] [CrossRef]
- Çullu, M.; Bakırhan, E. Investigation of radiation absorption coefficients of lead-zinc mine waste rock mixed heavy concrete at 662–1460 keV energy range. Constr. Build. Mater. 2018, 173, 17–27. [Google Scholar] [CrossRef]
- Chen, Z.; Xiao, L.; Tao, Q.; Xie, L. Research on the effect of lead-zinc tailings sand on the shielding performance of concrete to gamma ray. Ind. Constr. 2019, 49, 133–137. (In Chinese) [Google Scholar] [CrossRef]
- Chen, Z.; Cai, S.; Tao, Q.; Zhang, Z. Compressive strength and shielding performance of lead-zinc tailing concrete. Concrete 2021, 2, 68–71+76. (In Chinese) [Google Scholar]
- Cherdron, W. The interaction of burning sodium with concrete. In Proceedings of the European Nuclear Conf. (ENC ’90), Lyon, France, 23–28 September 1990. [Google Scholar]
- Sakr, K.; El-Hakim, E. Effect of high temperature or fire on heavy weight concrete properties. Cem. Concr. Res. 2005, 35, 590–596. [Google Scholar] [CrossRef]
- Lincheng, L.; Zhenfu, C.; Qiuwang, T.; Liping, X.; Dan, J.; Zhujing, L.; Du, D. Effects of high temperatures on the splitting tensile strength and gamma ray shielding performance of radiation shielding concrete. Constr. Build. Mater. 2022, 343, 127953. [Google Scholar]
- Lv, Y.; Qin, Y.; Wang, J.; Li, G.; Zhang, P.; Liao, D.; Xi, Z.; Yang, L. Effect of incorporating hematite on the properties of ultra-high performance concrete including nuclear radiation resistance. Constr. Build. Mater. 2022, 327, 126950. [Google Scholar] [CrossRef]
- Lee, C.-M.; Lee, Y.H.; Lee, K.J. Cracking effect on gamma-ray shielding performance in concrete structure. Prog. Nucl. Energy 2007, 49, 303–312. [Google Scholar] [CrossRef]
- Gencel, O. Effect of elevated temperatures on mechanical properties of high-strength concrete containing varying proportions of hematite. Fire Mater. 2012, 36, 217–230. [Google Scholar] [CrossRef]
- Rashid, R.S.M.; Salem, S.M.; Azreen, N.M.; Voo, Y.L.; Haniza, M.; Shukri, A.A.; Yahya, M.-S. Effect of elevated temperature to radiation shielding of ultra-high performance concrete with silica sand or magnetite. Constr. Build. Mater. 2020, 262, 120567. [Google Scholar] [CrossRef]
- Oto, B.; Yıldız, N.; Korkut, T.; Kavaz, E. Neutron shielding qualities and gamma ray buildup factors of concretes containing limonite ore. Nucl. Eng. Des. 2015, 293, 166–175. [Google Scholar] [CrossRef]
- El-Samrah, M.G.; Abdel-Rahman, M.A.E.; El Shazly, R.M. Effect of heating on physical, mechanical, and nuclear radiation shielding properties of modified concrete mixes. Radiat. Phys. Chem. 2018, 153, 104–110. [Google Scholar] [CrossRef]
- Masoud, M.A.; Kansouh, W.A.; Shahien, M.G.; Sakr, K.; Rashad, A.M.; Zayed, A.M. An experimental investigation on the effects of barite/hematite on the radiation shielding properties of serpentine concretes. Prog. Nucl. Energy 2020, 120, 103220. [Google Scholar] [CrossRef]
- GB 175-2007; Common Portland Cement. Standardization Administration: Beijing, China, 2007.
- GB/T 14684-2022; Sand for Construction. Standardization Administration: Beijing, China, 2022.
- GB/T 14685-2022; Pebble and Crushed Stone for Construction. Standardization Administration: Beijing, China, 2022.
- GB/T 34008-2017; Radiation Shielding Concrete. Standardization Administration: Beijing, China, 2017.
- GB/T 50081-2019; Standard for Test Method of Concrete Physical and Mechanical Properties. Ministry of Housing and Urban-Rural Development of the People’s Republic of China: Beijing, China, 2019.
- CECS21:2000; Technical Specification for Inspection of Concrete Defects by Ultrasonic Method. China Association for Engineering Construction Standardization: Beijing, China, 2000.
- Ouda, A.S. Development of high-performance heavy density concrete using different aggregates for gamma-ray shielding. Prog. Nucl. Energy 2015, 79, 48–55. [Google Scholar] [CrossRef]
- Wang, J.; Liu, C. Introduction to Nuclear Technology and Radiation Protection; China University of Petroleum Press: Beijing, China, 2012; ISBN 9787563638093. (In Chinese) [Google Scholar]
- Zhao, Z.; Chen, W.; Li, Q.; Yuan, S.; Peng, R. Effect of Fine Tailings on Strength Properties and Microstructure of Tailings Backfill. J. Wuhan Univ. Technol. 2018, 40, 16–21. (In Chinese) [Google Scholar]
- Alieh, S.; Ahmad, J.-Z.; Khodadadi, D.A.; Mehdi, M.; Hamidreza, N. Utilization of lead–zinc mine tailings as cement substitutes in concrete construction: Effect of sulfide content. J. Build. Eng. 2022, 57, 104865. [Google Scholar]
- Li, M.; Qian, C.; Wang, H.; You, Y.; Sun, W. Mechanical properties of high-strength concrete after fire. J. Chin. Ceram. Soc. 2003, 31, 1116–1120. (In Chinese) [Google Scholar] [CrossRef]
- Wang, L.; Zhang, Q.; Yi, J.; Zhang, J. Effects of coral aggregate properties on the ultrasonic pulse velocity of concrete. J. Build. Eng. 2023, 80, 107935. [Google Scholar] [CrossRef]
- Dias, A.R.d.O.; Amancio, F.A.; Rafael, M.F.d.C.; Cabral, A.E.B. Study of propagation of ultrasonic pulses in concrete exposed at high temperatures. Procedia Struct. Integr. 2018, 11, 84–90. [Google Scholar] [CrossRef]
- Hwang, E.; Kim, G.; Choe, G.; Yoon, M.; Gucunski, N.; Nam, J. Evaluation of concrete degradation depending on heating conditions by ultrasonic pulse velocity. Constr. Build. Mater. 2018, 171, 511–520. [Google Scholar] [CrossRef]
- Candelaria, M.D.E.; Kee, S.-H. Evaluation of thermal damages of concrete subjected to high temperatures using recurrent neural networks for ultrasonic pulse waves. Constr. Build. Mater. 2023, 407, 133416. [Google Scholar] [CrossRef]
- Wu, C. The Study on Strong Radiation Shielding Concrete Test of Nuclear Engineering. Ph.D. Thesis, Central South University, Changsha, China, 2008. (In Chinese). [Google Scholar]
- Fillmore, D.L. Literature Review of the Effects of Radiation and Temperature on the Aging of Concrete; Idaho National Lab. (INL): Idaho Falls, ID, USA, 2004.
- Memon, S.A.; Shah, S.F.A.; Khushnood, R.A.; Baloch, W.L. Durability of sustainable concrete subjected to elevated temperature—A review. Constr. Build. Mater. 2019, 199, 435–455. [Google Scholar] [CrossRef]
- Lu, T.; Zhao, G.; Lin, Z.S.; Yue, Q. Microscopic Analysis of Long Standing Concrete after High Temperature. J. Build. Mater. 2003, 6, 135–141. (In Chinese) [Google Scholar]
- Arioz, O. Effects of elevated temperatures on properties of concrete. Fire Saf. J. 2007, 42, 516–522. [Google Scholar] [CrossRef]
- Liu, X.; Yuan, Y.; Ye, G.; Schutter, G.D. Study on Pore Structure Evolution of High Performance Concrete with Elevated Temperatures. J. Tongji Univ. Nat. Sci. 2008, 36, 1473–1478. (In Chinese) [Google Scholar]
- Sanaz, R.; Hamzeh, H. The Effects of Supplementary Cementitious Materials (SCMs) on the Residual Mechanical Properties of Concrete after Exposure to High Temperatures—Review. Buildings 2022, 13, 103. [Google Scholar] [CrossRef]
- Zhu, Q.; Yuan, Y.; Chen, J.-h.; Fan, L.; Yang, H. Research on the high-temperature resistance of recycled aggregate concrete with iron tailing sand. Constr. Build. Mater. 2022, 327, 126889. [Google Scholar] [CrossRef]
- Kim, G.-Y.; Kim, Y.-S.; Lee, T.-G. Mechanical properties of high-strength concrete subjected to high temperature by stressed test. Trans. Nonferrous Met. Soc. China 2009, 19 (Suppl. S1), 128–133. [Google Scholar] [CrossRef]
- Min, H.C.; Ing, D.S.; Choo, C.S.; Xiaofeng, L. The effect of particle sizes of steel slag as cement replacement in high strength concrete under elevated temperatures. Constr. Build. Mater. 2024, 411, 134531. [Google Scholar]
- Venkata, S.K.N.; Satyanarayana, S.V. Effect of elevated temperatures on the flexural strength of crushed rock dust concrete. Mater. Today Proc. 2021, 42 Pt 2, 1176–1183. [Google Scholar]
- Kara, U.; Issa, S.A.M.; Yorgun, N.Y.; Kilicoglu, O.; Rashad, M.; Abuzaid, M.M.; Kavaz, E.; Tekin, H.O. Optical, structural and gamma ray shielding properties of dolomite doped lithium borate glasses for radiation shielding applications. J. Non-Cryst. Solids 2020, 539, 120049. [Google Scholar] [CrossRef]
- Zhu, H.Y.; Sun, W.; Jiang, J.Y. Damage Evolution of Sacrificial Concrete Subjected to Elevated Temperatures. J. Chin. Ceram. Soc. 2016, 44, 211–217. (In Chinese) [Google Scholar] [CrossRef]
























| Composition | Na2O | MgO | Al2O3 | SiO2 | SO3 | CaO | MnO | Fe3O4 | Fe2O3 | ZnO | PbO | LOI |
|---|---|---|---|---|---|---|---|---|---|---|---|---|
| Cement | 0.18 | 2.78 | 5.24 | 17.88 | 0.95 | 68.38 | - | - | 2.33 | - | - | 2.25 |
| LZT | 0.19 | 1.47 | 6.83 | 76.91 | 5.45 | 2.88 | 0.17 | - | 4.02 | 0.26 | 0.19 | 1.64 |
| Magnetite | 0.46 | 2.43 | 3.24 | 7.90 | 0.72 | 2.68 | 0.23 | 80.52 | - | 0.05 | 0.04 | 1.73 |
| Aggregate Type | Particle Size (mm) | Apparent Density (kg/m3) | Crush Index (%) | Water Absorption (%) | Water Content (%) |
|---|---|---|---|---|---|
| LZT | 0–0.6 | 2620.00 | - | 6.10 | 10.80 |
| Magnetite | 0–5 | 4620.00 | - | 0.70 | 0.20 |
| 5–20 | 4440.00 | 7.10 | 0.20 | 0.10 |
| LZT Ratio (%) | Water–Binder Ratio | Mix Proportion (kg/m3) | ||||
|---|---|---|---|---|---|---|
| Cement | LZT | Magnetite Sand | Magnetite Coarse | Water | ||
| 0 | 0.54 | 398 | 0 | 1077.8 | 1835.2 | 215 |
| 10 | 100.1 | 901.3 | ||||
| 20 | 187 | 748.1 | ||||
| 30 | 263.1 | 613.9 | ||||
| 40 | 330.3 | 495.4 | ||||
| 50 | 390 | 390 | ||||
| 60 | 443.6 | 295.7 | ||||
| LZT Ratio (%) | Cohesion | Bleeding | Slump Values (mm) | Slump Class |
|---|---|---|---|---|
| 0 | Poor | None of them have obvious water bleeding phenomena | 2 | S1 |
| 10 | Slightly poor | 15 | ||
| 20 | Plain | 17 | ||
| 30 | Good | 20 | ||
| 40 | Good | 16 | ||
| 50 | Good | 8 | ||
| 60 | Good | 7 |
| LZT Ratio (%) | μ (cm−1) | μm (cm2/g) | Mfp (cm) | HVL (cm) | TVL (cm) | Relative Coefficient (%) |
|---|---|---|---|---|---|---|
| 0 | 0.265 | 0.075 | 3.767 ± 0.002 | 2.611 ± 0.001 | 8.673 ± 0.004 | 100 |
| 10 | 0.264 | 0.075 | 3.784 ± 0.002 | 2.623 ± 0.001 | 8.714 ± 0.004 | 99.594 |
| 20 | 0.264 | 0.076 | 3.793 ± 0.005 | 2.629 ± 0.004 | 8.734 ± 0.013 | 99.465 |
| 30 | 0.261 ± 0.001 | 0.077 | 3.825 ± 0.008 | 2.651 ± 0.005 | 8.808 ± 0.018 | 98.440 |
| 40 | 0.260 | 0.078 | 3.842 ± 0.006 | 2.663 ± 0.004 | 8.848 ± 0.015 | 97.982 |
| 50 | 0.259 | 0.078 | 3.865 ± 0.001 | 2.679 ± 0.001 | 8.899 ± 0.003 | 97.514 |
| 60 | 0.256 | 0.078 | 3.910 ± 0.003 | 2.710 ± 0.002 | 9.003 ± 0.007 | 96.405 |
| T ( °C) | M (g) | ρ (kg/m3) | V (km/s) |
|---|---|---|---|
| 25 | 3366.25 ± 3.41 | 3337.13 ± 7.53 | 5.150 ± 0.02 |
| 200 | 3235.38 ± 3.31 | 3232.63 ± 9.54 | 4.361 ± 0.04 |
| 300 | 3231.67 ± 3.62 | 3221.60 ± 6.27 | 4.283 ± 0.03 |
| 450 | 3195.40 ± 5.95 | 3223.46 ± 9.90 | 3.475 ± 0.04 |
| 600 | 3174.84 ± 5.73 | 3190.74 ± 24.23 | 2.343 ± 0.06 |
| 800 | 3135.44 ± 8.31 | 3138.29 ± 18.98 | 1.932 ± 0.09 |
| Reference | Specimen ID | Fine Aggregates | Coarse Aggregates | T (°C) | ft,T | Relative ft,T (%) |
|---|---|---|---|---|---|---|
| [37] | Magnetite concrete (MC) | Magnetite | Magnetite | 25 | 2.60 ± 0.08 | 100.00 |
| 300 | 2.39 ± 0.07 | 91.92 | ||||
| 450 | 2.16 ± 0.08 | 83.08 | ||||
| 600 | 1.37 ± 0.06 | 52.69 | ||||
| 800 | 1.00 ± 0.05 | 38.46 | ||||
| Current research | LZTRSC | 70% Magnetite and 30% LZT | Magnetite | 25 | 2.76 ± 0.06 | 100.00 |
| 300 | 2.81 ± 0.09 | 101.81 | ||||
| 450 | 2.50 ± 0.07 | 90.58 | ||||
| 600 | 1.68 ± 0.12 | 60.87 | ||||
| 800 | 0.85 ± 0.11 | 30.80 |
| T (°C) | μ (cm−1) | μm (cm2/g) | Mfp (cm) | HVL (cm) | TVL (cm) | Relative Coefficient (%) | |
|---|---|---|---|---|---|---|---|
| Current Research | [37] | ||||||
| 25 | 0.264 ± 0.001 | 0.079 | 3.793 ± 0.009 | 2.629 ± 0.006 | 8.734 ± 0.020 | 100.000 | 100.000 |
| 200 | 0.259 ± 0.001 | 0.080 | 3.867 ± 0.011 | 2.680 ± 0.008 | 8.904 ± 0.026 | 97.996 | - |
| 300 | 0.255 | 0.079 | 3.929 ± 0.008 | 2.724 ± 0.005 | 9.047 ± 0.018 | 96.481 | 96.665 |
| 450 | 0.251 ± 0.001 | 0.078 | 3.977 ± 0.012 | 2.757 ± 0.008 | 9.158 ± 0.028 | 95.245 | 93.360 |
| 600 | 0.246 ± 0.002 | 0.077 | 4.070 ± 0.031 | 2.821 ± 0.021 | 9.372 ± 0.071 | 93.194 | 91.997 |
| 800 | 0.239 ± 0.001 | 0.076 | 4.193 ± 0.025 | 2.906 ± 0.018 | 9.654 ± 0.058 | 90.448 | 89.558 |
Disclaimer/Publisher’s Note: The statements, opinions and data contained in all publications are solely those of the individual author(s) and contributor(s) and not of MDPI and/or the editor(s). MDPI and/or the editor(s) disclaim responsibility for any injury to people or property resulting from any ideas, methods, instructions or products referred to in the content. |
© 2024 by the authors. Licensee MDPI, Basel, Switzerland. This article is an open access article distributed under the terms and conditions of the Creative Commons Attribution (CC BY) license (https://creativecommons.org/licenses/by/4.0/).
Share and Cite
Wang, M.; Chen, Z.; Tao, Q.; Yang, Y.; Xie, L.; Wu, D.; Jin, D.; Luo, L. Effect of High Temperatures on Mechanical and Shielding Properties of Lead–Zinc Tailings Concrete for Radiation Protection. Buildings 2024, 14, 1104. https://doi.org/10.3390/buildings14041104
Wang M, Chen Z, Tao Q, Yang Y, Xie L, Wu D, Jin D, Luo L. Effect of High Temperatures on Mechanical and Shielding Properties of Lead–Zinc Tailings Concrete for Radiation Protection. Buildings. 2024; 14(4):1104. https://doi.org/10.3390/buildings14041104
Chicago/Turabian StyleWang, Minghui, Zhenfu Chen, Qiuwang Tao, Yan’e Yang, Liping Xie, Dan Wu, Dan Jin, and Lincheng Luo. 2024. "Effect of High Temperatures on Mechanical and Shielding Properties of Lead–Zinc Tailings Concrete for Radiation Protection" Buildings 14, no. 4: 1104. https://doi.org/10.3390/buildings14041104
APA StyleWang, M., Chen, Z., Tao, Q., Yang, Y., Xie, L., Wu, D., Jin, D., & Luo, L. (2024). Effect of High Temperatures on Mechanical and Shielding Properties of Lead–Zinc Tailings Concrete for Radiation Protection. Buildings, 14(4), 1104. https://doi.org/10.3390/buildings14041104

