Abstract
The search for global CO2 net zero requires adapting transport vehicles to an electrification system for electric vehicles. In addition, the consumption of electric devices, and consequently batteries, has risen over the years. In order to achieve a circular economy, the spent batteries must be recycled. In this review, the recent literature about Lithium-ion Battery (LIB) recycling was thoroughly examined to propose a decentralized line where different types of LIBs can be pretreated. Different treatment possibilities and segments to include in a common line were identified and discussed. Crushing, density separation, drying, second crushing step, heating with CaO, vibro-sieving, washing and flotation-based separation were distinguished as the best segments to include in the mentioned order. As the conclusion, a new design that can be incorporated in an industrial pretreatment line before metallurgical steps is proposed for recycling of LIBs.
1. Background
Humans’ dependence on energy will never cease but will continue to grow along with population growth, technological advances, and societal needs. As an example, it is predicted that the world energy requirement will be increased by 50% by 2050, which will be responsible for 911 trillion BTU [1]. To supply the demand, dependencies on different energy sources are to be expected. However, it is a fact that conventional energy sources such as fossil fuels carry a huge environmental burden. In fact, CO2 emission along with limited availability makes fossil fuel unreliable and disputed as an energy source. Accordingly, many developed economies have made it a top priority to switch to reliable and renewable energy sources which cause less or no environmental deterioration. For instance, the European Union (EU) has imposed a number of rules that instruct its member countries to increase the EU’s renewable energy share up to 32% by 2030 [2].
Nevertheless, many international and local communities have made sustainable energy plans and policies a number one priority. In addition, several energy companies’ statistical analyses elaborated that due to the continued growth of renewable energy productions, the global energy usage growth was limited to 1.3% in 2019, which is a considerable drop when compared to the growth rate of 2.8% in 2018 [3].
Nonrenewable energy sources such as fossil fuels (stored chemical energy) have their own advantages over the renewable energy sources. One such advantage is the ease of storage which also made it popular as the main energy source of transportation mediums. Renewable energies, on the other hand, are not readily available like fossil fuel; they need to be harvested (transformed from other energy sources) using different methods and this makes renewable energy subject to fluctuations when supplying energy. In addition, fluctuations in energy supply highlight the importance of surplus energy storage to keep a smooth supply. Li-ion battery (LIB) is one of the best and prominent technologies available for the purpose of energy storage. LIBs are well renowned for their enhanced energy density, ability to undergo many recharging and discharging cycles, ability to provide high voltage, least charge lost and least self-discharge. Moreover, LIBs can be considered a good transitioning technology, as they intensify the energy efficiency of the systems. Due to all the reasons listed, LIBs are currently used in a range of applications from domestic electrical items to hybrid and pure electric vehicles (EV), and many industrial applications [4,5,6,7]. Among the many applications of LIBs, researchers expect that LIB applications in EV will rise significantly during the near future [8]. The power output of total used LIBs will rise from around 400 GWh to 1300 GWh within 5 years starting from 2035 in the transport sector only [9,10]. Such achievements will contribute to lower CO2 emissions drastically, hence supporting the achievement of the targets of the Paris climate goals.
Though LIBs aid the creation of a green energy supply, manufacturing of LIBs will elevate environmental impacts in resource extraction as it requires importation of many critical raw materials (CRM) to Europe, such as lithium (Li), cobalt (Co) and graphite [11]. Co, for instance, is considered critical in the EU and in the USA, and a strategic raw material in Brazil since most of its global production is from one country—Democratic Republic of Congo [12,13,14,15].
Moreover, LIBs require other types of metallic and non-metallic resources like Al, Cu, plastic, electrolytic salts and other organic binder making chemicals. As reported by Trading Economics, the price of Co has increased by 0.71% since the beginning of 2022 and the price was recorded as USD 71,000 per metric ton as of 2022 February. The commercial value of Co is rising as a function of its limited availability and significance in applications. Currently, 25 million tons of terrestrial Co resources are available in several countries and DR Congo is responsible for around 70% of total production, followed by Russia [14]. China is identified as the largest consumer of Co so far, and from its total consumption, 80% is used for LIB productions [15]. Co is identified as an element that has many other applications as well [14,16,17].
In contrast, the largest productive Li reserve worldwide was analyzed to be around 18 million metric tons by 2020 [18]. On the other hand, Li is identified as a tactical element important in many industrial and commercial applications, such as stoneware and glass manufacturing, metallurgy, medical uses and polymer manufacturing. Li production has experienced a more than 100% increase from 2016 to 2019 due to its high demand for LIB manufacturing. However, this rise includes a slight decrease from 2018 because of the subsidy policy introduced during this period as EVs required a considerable amount of high-quality Li production [15,19,20].
Though available Li resources are sufficient for LIB manufacturing for several years, alternatives must be taken into consideration in the long term. Sodium ion batteries are one such alternative [21]. As per the current research studies, these batteries cannot meet market demands due to their low electrochemical properties in comparison to LIBs [22,23]. Accordingly, it is not yet likely that further research and development on these alternatives will lower the demand for high grade Li minerals in near future. In contrast, Nassar et al., in 2020, concluded that graphite is one of the elements with highest supply risk to the USA based on disruption potential, trade exposure and economic vulnerability [24]. Further, graphite is a critical material and industries such as rechargeable battery and body armor are highly vulnerable because of this [25]. Currently, Turkey has the largest graphite reserves at around 90 million metric tons, followed by China and Brazil, with 73 and 70 million metric tons, respectively. In 2020 alone, worldwide graphite production was 1.1 million metric tons, including the largest share from China (650,000 metric tons), followed by Brazil (95,000 metric tons). Moreover, graphite’s market value is expected to increase further from USD 18 billion in 2018 to higher than USD 27 billion by 2025 due to its vast applications and identical properties [26]. It is a clear fact that the demand for these materials will not cease but will rather increase. Rising demand will further make the material supply more critical for industries which rely on high-grade pure material, such as the LIB industry.
In addition to extraction of resources, End of Life (EoL) disposal of LIBs will also add more toxic substances to the environment along with huge amounts of waste in resource elements if not managed properly. It has been identified that electrolyte content in LIB can react with water and air to create secondary pollutants. Li, being a highly reactive element upon contact with natural substances, can cause explosive reactions releasing many harmful substances such as phosphorus, nitrogen-rich contaminants, halogenic gasses, or heavy metal leachate to the environment. Organic solvents can provide a medium for other chemical reactions to take place such as disintegration reactions, ignitions or decaying. These reactions can form many organic compounds with carbonyl bonds. It is a known fact that these substances can dissolve in natural waters easily and create serious issues for human sanitation. So, improper disposal of LIB electrolytes can create both environmental and human sanitation problems [27].
In addition, landfilling of used LIBs can remove useful resource elements from the loop. This resource elimination must be refilled along with extra resource capacities for the rising demand using new virgin materials from primary resources. Extraction of new virgin materials creates huge energy requirements and a huge environmental burden on both sides (extraction of resources and disposal of LIBs). Hence, high priority must be given to innovative research on recycling of LIBs and recovered metals [10].
Another point to be concerned about is the rising market of EVs. It is expected that the global EV market will rise four-fold from its 2021 status by 2026 (Figure 1) [28]. In addition, major countries including EU, China and USA who have EV initiatives, noted a rapid increase in new EV registrations as a result of their policy implementations [29]. Further increase is to be expected with new procedures taken by several countries. For instance, the USA has implemented the EV30@30 campaign through its Clean Energy Ministry to increase EV usage by 30% by the end of this decade. Many other nations such as Canada, China, India, France, Finland, and Mexico are also supporting this initiative [30]. As another example, the Chinese government’s “13th five-year plan (2016–2020)” can be considered. It has proposed to enhance and increase EV and LIB power usage. Accordingly, by the end of 2020, it was reported that the total number of EVs hit five million, and new registrations in 2020 hit 1.25 million [31]. There is no doubt that these demands will increase further in the future and the growing EV market will contribute to an increase in LIB battery production as well. If proper recycling and material recovery methods from spent LIBs are not implemented, higher extraction of metals is expected in future to supply the demand.
Figure 1.
Size of the global market for EVs in 2020 and 2026 (in billions USD) Data source: [28].
Larcher and Tarascon reported that it is possible to recover 1 ton of Li through 28 tons of used LIBs. Extraction of the same amount of virgin Li would require 250 tons of ore materials or 750 tons of brine material with approximately 2–7% weight ratio of Li [32]. So, it is evident that recovering minerals through recycling is worth more than adding enormous pressure to the natural ore supply, because processing a smaller amount of mineral-rich waste electrical and electronic equipment (WEEE) would be easier than extracting virgin minerals from a large amount of ore materials. Further, it can lessen the environmental impacts through avoided virgin products. Moreover, it can also reduce the pressure on natural ore materials as most of the recovered resources would still be in use. It is estimated that, by the end of 2030, WEEE generation will total 74.7 million tons/year which includes a significant weight share of waste LIBs from different sources (EVs, laptops, mobile phones, etc.) [33]. Therefore, it is worth noting that there is a huge unexploited research gap to be addressed in the near future to turn this waste into resources in an efficient and economically feasible manner [34].
Many directives from different nations have come into play to make the battery recycling process more stringent and sustainable. In the EU’s Circular Economy action plan in 2020 [12], directives on battery and accumulators [13], and a policy on battery passport [35] play an important role in establishing guidelines for LIB recycling. In contrast, support from the USA for such initiatives seem to be lower. The Battery act in 1996 and Universal Waste Rule under Resource conservation and Recovery Act in 1995 are the only directives that provides guidelines to the whole USA in battery recycling and disposal [36,37]. However, some states have adopted their own policies on battery recycling, newly, based on the mentioned acts. Accordingly, 25 states impose laws on banning landfilling and open burning of lead-acid batteries (LAB). Nevertheless, the Rechargeable battery act launched by the state of California in 2006 is another decree that deals with handling and recycling of batteries [38,39,40,41,42]. China, on the other hand, implemented measures in 2016 (law on pollution prevention techniques of waste batteries) and in 2018 (transitional measures) providing a broad spectrum of guidelines for the handling and recycling of rechargeable batteries [43].
2. Novelty and Scope of the Study
Current literature reviews in the field denote methods such as hydrometallurgy, pyrometallurgy (or both), and other mechanical methods as possible for material recovery from battery parts [44,45,46,47,48,49]. Moreover, in recent studies, investigators clarified that most established industrial lines need further insights to make them sustainable [50]. All the existing reviews and studies emphasize the importance of focusing on each of the life cycle segments from cradle to grave, and possibly, value chains. As an example, Mossali et al. (2020) concluded that product design plays a huge role when it comes to recycling. This point deals with designing an LIB with easy dismantling abilities, hence the importance of considering the design phase [51]. Nevertheless, Doose et al. (2021) have shown how changing cell chemistries affect recycling efficiency through different approaches [45].
Due to these facts, most of the recycling routes are planned to focus on a single type of cathode material [52,53]. Moreover, the complexity of collecting, sorting and separating for particular battery types, limits recycling of the same [44]. In spite of that, if the recycling route for LIBs is decentralized, the pretreatment can be done in one single type of plant and can recover widely available metal types easily. Therefore, the materials in electrodes can be recovered at later stages in different plants where they can focus on one precious material available in it. This can enhance the efficiency of the process and decrease CO2 emissions in transportation and the energy intensity of the processes, improving the total sustainability. In addition, this will address the research gap of the lack of automated, total recycling lines for LIBs [54].
Decentralized recycling of LIBs can aid in planning a fully automated pretreatment plant to recover widely available metals in casings and current collectors. Since the electrode materials can be forwarded sorted or unsorted to secondary recycling units, where they can focus on one specific element recovery, the total recycling route for LIBs can also be achieved through this. The total recycling line for LIBs, hence, will be segmented and decentralized accordingly.
Existing review articles ignore the most commonly available metals such as Cu and Al which are easy to recover. Further, these articles have given less priority to the pretreatment process. In particular, a well-defined sustainable pretreatment process is not yet described to be used industrially. Focusing on these research gaps and highlighting the importance of decentralizing the recycling of LIBs, this review article examines the recent research studies, lab experiments and pilot projects carried out to recover materials from LIBs to evaluate the different pretreatment strategies used. In addition, the conclusions of the article will suggest potential environmentally friendly and cost-efficient technologies that can be utilized for a universal automated pretreatment line for LIBs. The novelty of the article can also be seen in the methods of discussing existing technologies, using illustrated summaries at the end of each section, and prioritizing pretreatment strategies to develop segments to include in a universal pretreatment line for waste LIBs of EVs. The work will be useful for industries involved in metal recovery to start new lines to recover higher amounts of widely available metals from LIBs, and battery recycling companies to develop secondary treatment lines only for electrode materials. Moreover, policy makers and environmentalists can also use this resource to suggest methods to reduce energy consumption for recovery steps using decentralized plants. Finally, researchers on the topic will be able identify existing research gaps that need further evaluation in the topic area.
3. LIB Classification, Collection, and Sorting
3.1. Battery Characterization
As one of the major determinants of the recycling steps, understanding the chemistry of the battery is vital. In any LIB battery, it is possible to identify cells, modules, and packs as the main parts of it. Further, each cell contains a cathode, anode, organic electrolyte and a separator covered by a housing (or case). The separator is wetted by electrolyte salts. The cells are connected in series or in parallel to make up the module according to the usage of the battery. A combination of two arrays may be also possible for some batteries. A module will be contained in a house made from an insulating material for battery safety. A pack of batteries can contain several modules interconnected [55]. It seems that the size, shape and content of the battery are highly dependent on the application of the battery. However, categorizing the LIBs based on their cathode material is more useful to make a good judgment.
Lithium cobalt oxide (LiCoO2) (LCO) cathode batteries can be identified as the first LIBs that use a liquid electrolyte [44,56,57]. However, applications of LCO batteries are limited to small electronic devices such as mobile phones or laptops. While LiCoO2 acts as the cathode material in LCO batteries, graphite acts as the anode material with a conductive polymer as the electrolyte [56,57]. Though graphite as the anode material has not changed much in the past years since its first introduction, cathode material has undergone various changes. LCO cathode material is easy to produce and has a stable discharging which makes it a favorable material for the cathode. However, having high Li and Co proportions make it undesirable due to extensive environmental burden, less economic viability and human health concern occurring during the extraction period of Li and Co. In addition, the performance of the battery is average compared to the other available LIB battery types. This makes it urgent to further modify the cathode materials in future LIBs [56,58].
Accordingly, it is possible to identify LIBs with lower Co content with enhanced performance. Lithium manganese oxide (LiMn2O4) (LMO) cathode is a material used as an LIB cathode with no Co involved. It is also the reason for the low cost of the same. LMO batteries have better performance than LCO batteries. For example, LMO has a higher charge rate and higher voltage than LCO batteries which makes it applicable in portable devices other than smaller electronic equipment. LMO batteries are also seen combined with other battery types to use for EVs [59]. However, as some authors elaborate, LMO has a short lifetime along with a medium energy density, which makes it unfavorable in some ways [27]. Due to these factors, LMO batteries have a low market share.
Lithium iron phosphate (LiFePO4) (LFP) is another alternative that uses no Co in its cathode material. Further, the structure of the LFP cathode gives it an additional stability which enhances its total lifetime. Low environmental degradation caused during the extraction period is another plus point for these cathode materials. However, low energy density and relatively low potential make it undesirable in many high-end applications like EVs. However, the demand for LFP batteries has risen due to its low cost and extended lifetime involved [56,58].
Commonly, LCO, LMO and LFP cathode battery types are involved with low to medium energy densities in relation to the other battery types found in the market. In contrast, lithium nickel cobalt manganese oxide (LiNixCoyMnzO2) (NCM) cathode materials and lithium nickel cobalt aluminum oxide (LiNixCoyAlzO2) (NCA) have been identified for their high specific capacities and high energy densities due to the availability of Ni in the structure [60,61]. Since both NCM and NCA types use Co, they are implicated in relatively high environmental degradation and human safety issues. However, a lower Co ratio makes the impacts relatively lower than LCO battery types. It seems that high energy density is the main source that made these batteries the dominant battery types in the market. Nevertheless, the same criterion made them applicable in EVs. One notable difference among these two battery types is the expected life span. According to current studies, NCM batteries have a higher lifetime than NCA batteries, which makes NCM batteries have a higher market share than NCA batteries [27].
Doose et al. (2021) suggests that the trend of LIBs goes towards NCM cathode types due to low Co content. NCM 811 has a molar ratio of Ni:Co:Mn as 8:1:1, which makes it better in environmental performance due to less Co content, whereas NCM 622 has a molar ratio of 6:2:2 and NMC 111 has the ratio of 1:1:1 [45]. However, some authors show that higher content of Ni reduces the performance of the battery drastically in many aspects. For instance, reduced lifetime, reduced heat resistance and a few other technical problems (voltage decay, low initial coulombic efficiency, capacity loss, termination of transitional metals) can be listed [57,62,63]. So, NCM 622 can be identified as a relatively better performer in both environmental and technical aspects. A comprehensive summary of cathode types is discussed in Table 1. It shows the chemical formula, possible voltage ranges, energy densities and applications.
Table 1.
Comprehensive summary of different LIB battery types based on cathode material. Data source: [64,65].
However, more materials are being investigated to be used as cathode materials of LIBs. LiMnO2 is one material which has the structure of LCO cell types (layered oxide). Other than that, LiMnPO4 or metal sulfides and cathode materials made from sulfur-carbon composites are also under investigation and have the potential of entering the market in near future [65,66].
Graphite or composite carbon being the anode material of the LIBs has not significantly changed over the past years. However, there are other materials used in the anode other than the graphite or composite carbon, which will be discussed soon under this section. Graphite or carbon-based composite in the anode material is very popular due to the properties of these materials and structures. Mainly, their safety for humans when not contaminated, structural and chemical stability under different temperatures, and economical quality are some reasons for their repeated application as the anode material. Other than that, low working potential and high theoretical capacities (~0.15 V vs. Li+/Li and 372 mAh·g−1, respectively) of these materials are also reasons to become popular for this aspect [66,67,68].
In contrast, the lithium titanium oxide (LTO) battery type uses LTO as the anode material instead of carbon [69,70]. The use of LTO has some advantages over graphite, such as generating a higher power with a low energy loss and durability [69,70,71]. However, high cost in manufacturing of such batteries make it unfavorable for commercial use. Other than these, new materials for anode materials are being investigated. Among them, graphene, silicon composite or silicon-based nanomaterials, and Li metal are available. These new research studies will address the problems involved with current anode materials such as heat generation in LMO and LFP cathodes or rupture generation occurring due to repeated charge cycles [72]. Titanium niobium oxide (TNO) has been studied for application as anode material [71]. For instance, TNO/NMC batteries have up to 14,000 cycles at 80% capacity retention, which is considered as another option with LTO/NMC batteries [72].
Other than the cathode and anode materials, in a spent LIB battery, some hazardous wastes can also be found. This can be easily understood by understanding the cross-sectional structure of a spent LIB. Figure 2 shows the structure of the spent LIB.
Figure 2.
Schematic model of the spent LIB, developed based on: [70,71,72].
For instance, graphite is attached to the Cu current collector through polyvinylidene fluoride (PVDF) layer in LIB. Additionally, between the surface of the graphite and the electrolyte, the solid electrolyte interface (SEI) is being built through a reaction between the graphite surface and the Li from electrolyte during the recharge and discharge cycles. Usually, electrolyte is made up of Li salts such as LiPF6 or LiClO4 dissolved in organic solvents. As an organic solvent, ethylene or ethylene carbonate is used [72,73]. Authors suggest that, at the EoL of the LIB, the spent anode material can contain residuals from all these electrolytes and binders, as well as Cu foil with a higher degree of degradation to the anode material [74,75,76].
According to the chemistry of the battery, improper disposal of these materials can have a significant impact on the environment and human health. Of course, the soil and natural water body contamination are the first step of a series of chemical reactions that are waiting to follow. In particular, metallic Li can have explosive reactions with natural waters. Other metals included can affect the biodiversity of the contaminated sites. Moreover, organic materials, electrolyte, and waste graphite, upon disposal into the environment, can have a series of reactions and can lead to the release of toxic substances into the environment according to the following reaction series.
LiPF6 → PF5 + LiF
LiPF6 + H2O → 2HF + OPF3 + LiF
(C2H5O)2CO + H2O → CO2 + 2C2H5OH
(CH3O)2CO + H2O → CO2 + 2CH3OH
Importantly, these substances are highly water soluble and can cause health impact on humans and on other living beings as well. Due to these factors, proper disposal, or more importantly, material recovery from spent LIBs is necessary to implement circular economy concepts in battery manufacturing. However, designing a common recycling process for all the LIBs seems to be an impossible task given the varieties of battery chemistries. Nevertheless, current research studies suggest common frameworks that can be used as prototypes when designing an LIB recycling process. Based on this, current battery recycling companies have adopted their recycling facilities considering only one battery chemistry type. This is mainly since mixing different chemistries for recycling can imply a negative effect on the outcome. However, separate recycling is costly and reduces the overall recycling rate.
3.2. Material Collection
An efficient waste collection system is always the key for a successful recycling route. Accordingly, establishing an effective and efficient collection system for spent LIBs will aid in maximizing the recycling capacity and economic benefits. Further, decisions on environmental and economic aspects can be easily taken upon knowing the collection capacities.
Availability of a range of LIB products in the market is one major problem for collection. Nevertheless, LIBs have a variety of applications, due to their design, size, content, shapes, and capacities which are also changing. These factors make waste collection more difficult and complex for LIBs [77,78,79]. It is possible to distinguish three market segments for LIBs, such as small-scale electrical equipment (SSEE) (household scale), stationary energy storages (SES) and EVs. SSEE markets and SES markets are well established, and as discussed previously, an increase can be expected in EV markets, and hence an increase in spent EV LIBs. Given the differences in the three market types, the types of LIBs in a market segment are significantly different from others. As a matter of fact, different collection routes need to be established for each of these market types. SSEE, or simply, household electrical equipment batteries can be collected at locations established by the manufacturers or at retailers/supermarkets. However, large-scale LIBs (SES and EVs) need the attention of expert/trained personnel for dissembling from the equipment prior to collection [80,81].
The availability of the LIBs for collection at the end of their lifetime is vital. As per the literature, the largest proportion are available in domestic-scale equipment (SSEE). Usually, LIBs from SSEE last for 3–10 years before coming to the waste stream [81]. However, this is far more than the usual lifetime of the equipment. Most domestic scale electric equipment passes a hibernation period (inactive stage) after its service period before being added to the waste stream, extending their true lifetime. The lifetime of the EVs depends on many factors such as the annual mileage, charging frequency and condition, and the type of battery; manufacturers usually expect the battery to last for 8–10 years. In running distance, this is around 160,000 km for most of the EV types (Toyota, Nissan, BMW, etc.) [82,83]. Further, Yang et al. (2018) have predicted that EV lifetime can be varied in the range of 5–13 years in different USA cities, considering average driving conditions using predictive tools. Additionally, this can be elevated by another 10–12 years by giving them a second lifetime in SES applications (also depending on the application) [82].
According to these long-life EV batteries and the infancy stage of the EV sector, near-term priority is worth giving to mature, small-scale electric equipment batteries. However, designing recycling processes, collection mechanisms and applications for the upcoming huge waste stream of EV batteries is also important to manage these hazardous wastes from now on [84,85]. Presently, only a small fraction of electronic waste is being collected and recycled properly. Hence, a larger amount is being neglected and ends up in landfills, adding more toxic substances to natural soils and waters [86]. In 2020, Europe collected and recycled the highest fraction of e-waste (42.5%). In contrast, Asia has the second-highest waste recycling with 11.4%. America and Oceania stayed at 9.4% and 8.8%, respectively. The least recycling is recorded in Africa, which is 0.9%. So, as an average, only 17.4% of total e-waste is subjected to collection and recycling on the global scale [86]. Moreover, the generation is the highest in Asia, responsible for 24.9 Mt followed by 12 Mt from Europe and 7.7 Mt from North America [86]. For this reason, it is a clear fact that the waste generation to waste collection rate is not balanced, which leads to a lot of e-waste ending up in landfills. Due to this, it is vital to plan effective collection routes for such waste streams and use the available resources for this cause. Moreover, designing, installing and establishing structures to recycle EV batteries and SES batteries is also important at early stages to face the rapidly growing markets of the same.
As a solution for this problem of collection, proper labeling can be identified. Providing information about the battery content, applications, or secondary applications on a label or in a source that can be easily accessible will be useful. Training personnel at dismantling facilities to identify batteries using the labels or the brand can also be an alternative.
3.3. Material Sorting
Sorting of spent LIBs to forward them to pretreatment is as complex as collection due to large mix of materials (different NMC-cathode batteries, LCO, NCA, LFP…). However, sorting is mandatory for LIBs before undertaking any further steps due to the same factor. According to the majority of authors, the most suitable sorting method for spent LIBs is categorizing them according to the battery chemistry [87,88]. Differentiated sorting of LIBs at the household level is a bit ambiguous and it is difficult to achieve a high collection rate. It would also require an additional workload from the consumer end which is highly unlikely to be obtained in this case. Alternatively, sorting of spent batteries can be done at the recycling facilities in the reverse logistic process. Yet, this would increase the transportation costs for sorted batteries as most battery recycling facilities are not designed to receive all types of waste batteries. As an answer for this, establishment of consolidated treatment facilities with different recycling routes for a range of battery types can be put forward. The cost for such plants would be high and not economically feasible to achieve through the private sector. In contrast, scattered or partitioned recycling facilities are ideal to overcome the complexity of the material mix. For instance, separated pretreatment plants can handle the preliminary steps of the recycling routes for all types of batteries. Sorting of the batteries, separating of the casing, discharging the batteries and separation of battery modules can be some of the steps involved in a pretreatment facility. Afterwards, sorted and partially treated battery types can be forwarded to other facilities for further treatment and recycling. This can reduce the high cost involved in a single treatment plant and can enhance the total efficiency of the recycling process [84,87].
While sorting is an essential part of the pretreatment process, identifying the battery chemistry can only be done through a laboratory analysis. So, appropriate labeling for the battery from the manufacturer can be useful in sorting. The labeling can contain the essential details of the battery such as battery chemistry, date of manufacture, name and location of the manufacturer and application area of the battery, for instance. Through these details, the sorting process can be performed effectively, safely and reliably. Moreover, it can save resources involved in laboratory analysis [84].
Current battery labeling practices in the EU and in the USA only instruct how to handle and dispose batteries. For example, it provides instructions to not dispose of the spent battery with household waste. Moreover, availability of metals such as Hg, Cd and Pb will also be noted in the labeling [89].
A new set of labeling requirements was published by the EU commission in 2020 with repealing directive 2006/66/EC and amending Regulation (EU) No 2019/1020, also known as the EU battery passport and electronic information exchange system. Though the directive came into effect in January 2022, a set of deadlines have been implemented for adaptation of different objectives. Accordingly, by 1st of January 2026, all the batteries that enter the EU market will register in an online electronic exchange system where the public can access and refer to all the information about the battery. Moreover, there will be engraved or printed a QR code which will indicate information about battery lifetime, charge capacity and presence of hazardous metals. The QR code will be linked with the battery passport where online traceability and management of the battery can be implemented. Through the identifier, the online digital file of the battery will be frequently updated by the economic operators of the battery throughout its lifetime. In addition, it will include information about the status of the battery, repairs or repurposing done. Moreover, the QR code labeling will also be linked with carbon footprint declaration of the battery entering into force on 1 July 2024 and carbon footprint performance, starting from no later than 1 January 2026 for industrial or EV batteries with a capacity above 2 kWh. In addition, effective from 1 January 2027, the percentage of availability of recovered Li, Co, Pb and Ni in the battery with the set guidelines must also be provided along with other active minerals in the battery [35,90].
Compared to the EU, the USA has no dedicated rules applied to labeling of LIBs for the purpose of sorting. Instead, rules and regulations for normal battery labeling will take effect on LIBs as well. Accordingly, batteries must contain information about the battery type (Ni-Cd or Pb-acid) which will be helpful in disposing and recycling. Further, recycling symbols must be shown on the battery. However, specifically LIBs in the USA should contain an additional label for transportation safety purposes. This label will be useful in obtaining certificates for safety tests and provide information on packaging and transport volume limitations [36,37].
China, on the other hand, has imposed labeling guidelines for LIBs with the Interim Provisions on the Traceability Management of Power Battery Recovery and Utilization of New Energy Vehicles in 2018. According to this measure, a platform should be maintained to trace the entire lifecycle stages of the LIBs that enter the market. The platform will provide information about production, use, disposal, recycling or repurposing of the LIB in question [43,91]. This interim measure will act like the battery passport decree in the EU.
In summary, an effective collection of spent LIBs is mandatory for better recycling outcomes. Optimum use of resources and new technologies for collection of EOL LIBs is ideal to match the rising demand of EV market. At the same time, decentralized pretreatment plants for waste LIBs could be beneficial in enhancing sorting, discharging and dismantling. Therefore, sorted, pretreated LIBs or battery parts can be forwarded to dedicated recycling and recovery facilities. Policies play a vital role as a motivation factor for recycling of LIBs. Proper establishment of policies can considerably increase the efficiency of the recycling and recovering capacities.
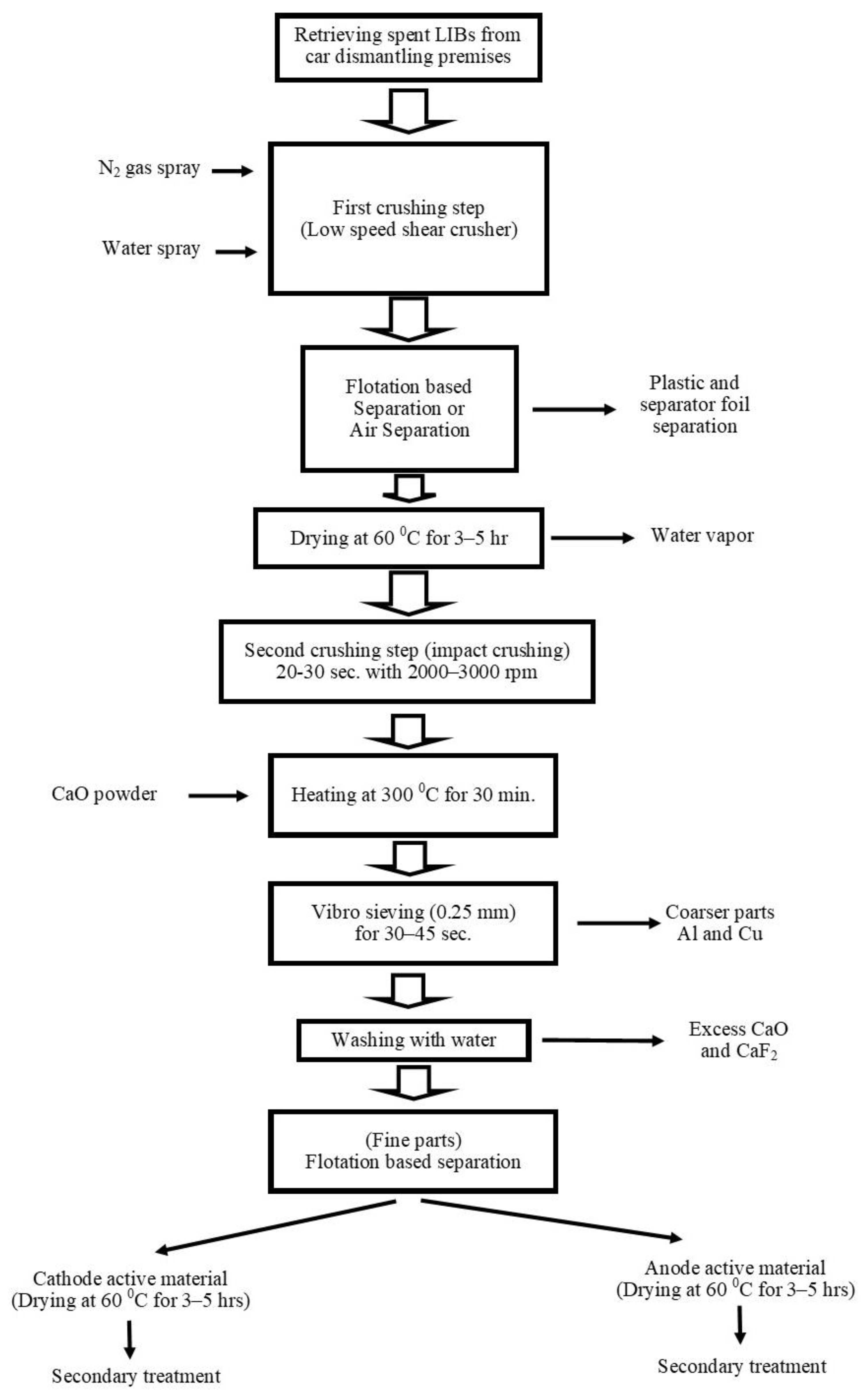
4. Pretreatment
LIBs have a complex structure and chemistry to facilitate Li ions to move from anode to cathode and from cathode to anode in its discharging and charging cycles, respectively [92]. Pretreatment is responsible for dismantling this complex structure so that recovery steps will be easy to apply. Hence, discharging and case removal must be taken care of as the preliminary steps. Then, safe dismantling of the modules to active materials, elimination of organic adhesive and removing the impurities must be applied to facilitate the recovery later.
4.1. Discharging and Dismantling
Spent LIBs for recycling can have a minor amount of charge left. This can cause sparks during the dismantling process and can ignite because of short circuiting as well as free radical oxidation [92,93,94]. Furthermore, in manual dissembling of the battery, which can take place in laboratory studies, explosions can take place as the free Li can oxidize by the atmospheric air [95,96,97]. Accordingly, the remaining charge must be drained before the battery moves into any other recycling steps. This can be done mainly in three methods, electrolytic discharge (using a salt solution), ohmic discharge (using an external circuit) and cryogenic discharge (using liquid nitrogen or in vacuum atmosphere).
Firstly, in laboratory experiments, electrolytic discharge is common, and the use of different salts can be seen with a variety of pros and cons [98]. One study has incorporated different salts of sodium (Na+), potassium (K+) and ammonium (NH4+) cations to evaluate methodological feasibility and the quality of the outcome in discharging LIBs. The study shows that using halide salts (Cl−, Br− and I−) for discharge can cause severe damage and corrosion and can permeate water into the battery, which can lead to safety issues. However, according to the same study, the use of alkali metal salts (PO4−3, CO3−2 or SO4−2) does not cause corrosion and is safe for industrial use [98]. In contrast, in another study, it was concluded that Na2SO4 cannot provide significant discharge (26.1% in 20 h) for LIB while NaCl gives the best discharge capacity (100% in 24 h) with the shortest time span [99]. Nevertheless, using salt solutions for discharging is much more appropriate for lower voltage batteries according to Li et al. (2016) [100]. Further, discharging the batteries with salt solutions can cause contamination with internal battery material and make it complicated for further recoveries, or at least reduce recoverable material content or the value of it.
Secondly, the use of ohmic discharge is also a popular method in laboratory scale. Nan et al. (2005) used ohmic discharge to drain a spent LIB. The study incorporated a stainless-steel container with a mechanical stirrer along with water and electrolytic iron powder inside. The spent battery was immersed in water and stirred for 30 min to achieve a full discharge [101]. The same method was adapted by Gratz et al. (2014) to achieve a comparably similar discharge rate [102]. Thirdly, in some studies, cryogenic discharge has been used to drain the remaining charge of the LIB. The studies used liquid nitrogen or a vacuum atmosphere to carry out the process. However, this method is unpopular due to unsafe work conditions and high costs involved in establishing as well as maintaining very low temperatures compared to conventional discharge methods [97,103,104].
Due to difficulty in applying salt base discharge industrially, uncertainty (no optimization) involved in ohmic discharge and high cost in cryogenic discharge, mostly industrial-scale recycling follows shredding of the spent battery under a protected environment. This can reduce the cost of the recycling process as well as the complexity of the process. For an instant, Retrieve Technologies (Toxco) undertook the dismantling of the battery along with a water spray or nitrogen gas spray (or both) [105]. Another possibility is using CO2 atmosphere for shredding, which can be seen in Batrec Stores [106]. Using an inert gas (argon or nitrogen) atmosphere is also possible for shredding to prevent oxidizing of Li while shredding [107]. In addition, methods like Umicore’s UHT furnace do not need discharge of the battery as they skip dangerous steps such as shredding [108]. These technologies are discussed broadly under the dismantling section.
In a practical approach, as aqueous salt affects the quality and the quantity of the recoveries, less corrosive or non-corrosive salt would be ideal for discharging the LIB as well as receiving stable products. In contrast, using corrosive salts can even lead to the production of HF after the contamination of trace amounts of water with electrolyte material [100,102]. In addition, discharge of LIB using ohmic discharging needs further optimization to determine its discharging rates and economic performances. As shown by previous studies, excess discharging of the battery can adversely affect the material recovery from spent LIBs [103,109]. In addition, applying ohmic discharging in industrial levels can cause extra economic difficulties such as investments and maintenance issues. However, as the bright side of the ohmic discharge, it will be a benefit if one can utilize the electricity discharged from the battery in another application (energy recovery). Lastly, cryogenic discharge has limited application in the field and needs a higher capital to apply industrially. A summary of discussed discharged methods along with their pros and cons is shown in Table 2.
Table 2.
A summary of discharging methods for LIBs.
Most of the laboratory-scale studies use manual dismantling using screwdrivers, pliers, bolt cutters, saws and pneumatic torque wrenches with sufficient protective measures [99]. However, not many publications can be found about the manual methods adopted [113,114]. Manual dismantling can cause several safety issues and environmental impacts. Some studies reveal that releasing of volatile organic compounds is possible throughout the dismantling process [100]. Dimethyl carbonate and tert-amylbenzene have been identified as two major gasses that emit from dismantled batteries. Manual dismantling can be done under a fume hood or using a ventilating pump to reduce the environmental impact. However, it still poses a threat to human safety. To overcome these issues, semi-automated dismantling methods can also be seen. These studies have used manual methods to remove the housing prior to the discharge and mechanical methods to dismantle the battery cells [114]. In fact, industrial-scale applications cannot use manual methods for many reasons such as inefficiency, safety issues, intense use of human labor and existence of different battery designs. So, mechanical methods are much preferable over the manual methods.
4.2. Mechanical Treatment
Mechanical treatment involves different aspects in LIB pretreatment. The method acts as a dismantling method, surface modification method, separation method or a combination of two or all those mentioned.
Li et al. (2019) proposed an automated comminution mechanism for pouch type LIBs which is known as Z-folded electrode separator (Figure 3a). The method proposed does not use destructive forces; instead, it uses a specialized tool set to unwind the z-folded separators and feed it. The tools will then scrape off the electrode materials on both sides of the separator [115]. However, most of the mechanical dismantling uses heavy destructive forces such as crushing or grinding to dismantle the battery as briefly discussed under discharge. This dismantling is often useful for further treatment processes such as hydrometallurgical extractions. For instance, the BATENUS process which is identified as the first hydrometallurgy process to be used in a large-scale battery recycling facility, uses shredding of a mixture of batteries in a gas-tight unit [116].
Pinegar et al. (2019) reported that the Recupyl process for waste battery treatment uses crushing of waste batteries in two steps. In the first step, the process used a low-speed rotary mill, and in the second step it used a high-speed impact mill to crush the materials [117]. The Li-Cycle process, which came into action in 2021, also uses a two-step process to recover valuable metals from LIBs [118]. The process uses a “spoke shred” to crush the waste batteries without discharging and obtain the black mass. Then, the recovered black mass will be refined using the step called “hub refine” (hydrometallurgical method). Another experimental recycling process for treatment of a mixture of Ni metal hydride, Li-ion and primary Li containing batteries adopted a two-blade rotor crusher and hammer crushing for crushing purposes. In this process, the two-blade rotor crusher was fed firstly without a sieve and the hammer mill crusher was fed secondly, using a 5 mm sieve. In comparison, the same study used only two-blade rotor crushers for double crushing of the same material. The study concluded that the highest amount of electrode powder was received when using two-blade rotor crushers followed by the hammer mill crusher [119].
Zhang et al. (2013) compared performance of wet crushing (Figure 3b) and dry crushing (Figure 3c) using an LCO cathode LIB. In wet crushing, a blade crusher was used while introducing water into the crushing area. The watery medium carried the crushed particles through the sieve as a slurry. In contrast, the dry crushing used two stages, firstly with a shear crusher and secondly with an impact crusher. Products from the wet crushing appear to be finer due to the friction caused by rubbing of broken pieces while moving in a slurry. Further, finer particles are hard to recover and might be lost with the flow. However, dry crushing resulted in releasing electrode material from Cu and Al foils without crushing the current collectors into finer particles [120]. The same authors also used this dry crushing method to characterize the spent LIB active materials and to introduce effective mechanical methods in recycling spent batteries [121]. It was identified that shear crushing is responsible for breaking the metal cover of the module and impact crushing is responsible for selective crushing of electrode materials after sieving out Cu and Al parts.
A planetary ball mill is another dismantling technique that was used by several scientists to enhance the leaching efficiency in hydrometallurgical recycling routes [122,123,124]. Guan et al. (2017) proposed a novel mechanochemical process to enhance the leaching efficiency of Co using a ball mill. To understand the mechanochemical process clearly and due to the interference that could occur from other impurities, first they used pure LCO powder for the extraction of Li and Co. The use of planetary ball mill is responsible for making the powdered form of the cathode material (LCO) with the help of Fe powder, while HNO3 was used for the dissolution process. It was established that mass of Fe available, rotational speed and milling time promoted the recovery of Co, and reduction of particle size, increase in surface area and changes in crystal structure promoted the recovery of Li [125].
Figure 3.
Summary of dismantling methods (a) Schematic Z-folded electrode separator [115], (b) Sketch of wet impact crusher [120], (c) Sketch of the dry impact crusher [121], (d) Process steps of the investigated recycling process with varied 2nd crushing [94].
Figure 3.
Summary of dismantling methods (a) Schematic Z-folded electrode separator [115], (b) Sketch of wet impact crusher [120], (c) Sketch of the dry impact crusher [121], (d) Process steps of the investigated recycling process with varied 2nd crushing [94].

Some studies were undertaken to study how mechanical dismantling and sorting can be affected on a mixture of four different LIB types. LCO, LFP, LMO and NMC battery types were used in studies with a commercial granulator for shredding (7.5 mm pieces) and a sieve set for sieving. The authors claim that the pretreatment process proposed is not energy-intensive and needs low capital to establish [126,127]. Barik et al. (2017) designed a single-shaft shredder with a shear-type cutting to reduce the size of dismantled pieces below 10 mm. The authors in this study focused mainly on wet crushing of Co and Mn-containing cathode LIBs at 30 °C. Then, the crushed materials follow flotation and sieving stages. Water in the process acts as a scouring agent as well as a cooling agent. Flotation separates the plastics from the remaining materials and the sieving separates the Cu and Al current collectors from the electrode materials [128].
Diekmann et al. (2017) studied how the second crushing step (Figure 3d) affects the yield of black mass (graphite electrode material) in the LithoRec process. The LithoRec process was designed to reduce the environmental impact of the battery recycling process while achieving high efficiency in material recovery from NMC type batteries in EVs and hybrid vehicles [129]. The LithoRec process uses a six-disk-rotor in a converted mill to crush the incoming material. In Diekmann et al.’s (2017) study, a second mild-crushing step was added using a cutting mill with a 10 mm screen. It was established that old batteries tend to emit higher gas mass (electrolyte solvents and CO2) than recently disposed batteries during the first crushing step. Additionally, employing the second crushing step increased the yield of the black mass by 15% without adding any impurities from current collectors [94,129].
Grinding flotation is another method proposed by authors for dismantling and separation of LIBs. He et al. (2017) used this method to sort LCO cathode material and anode material from a mixture. Authors separated the ground electrode mixture by flotation assisted by Fenton reaction (Figure 4a). The result suggests that optimum conditions for successful separation are Fe2+/H2O2 ratio at 1:120, and the liquid to solid ratio at 75:1. Investigation concluded that modification of electrode material by Fenton reagent helped it to regain the original wettability of LCO cathode material and graphite [130]. Yu et al. (2018) also used a grinding flotation method to separate LCO-type cathode material and graphite of LIB (Figure 4b). An impact crusher was used to lower the particle size of the cathode and anode materials down to 0.075 mm. The obtained electrode mixture was then ground using a hand Groover for a range of times for optimizing. The result of the study suggests that 5 min of grinding can produce a higher grade, concentrated LCO (sinks) and graphite (floats) separation with yields of 97.13% and 73.56%, respectively. Further analysis on morphology, elemental chemical states and elemental distribution suggests that grinding eliminates the lamellar structure of graphite enhancing its hydrophobic surface and friction removes organic coating of LCO, enhancing its hydrophilic structure. This makes a significant difference in the surface wettability, leading to the separation of electrode materials [131].
Cryogenic grinding of dismantled LIB was also studied to recover cathode active material (Figure 4d). The study was carried out with analysis and revealed that yield strength, tensile strength and impact strength of current collector significantly increased at low temperatures. The study also identified that the glass transition temperature of the PVDF binder is at around 235 K. Due to these properties, at very low temperatures, the current collector strengthens up and the organic binder fails, giving a chance for the selective grinding of cathode material and peeling off electrode materials. The study concluded that peeling efficiency of the electrode material can be enhanced by 62.26% with 5 min low temperature pretreatment and 30 s cryogenic grinding [132]. In extension, suggestions were given to integrate cryogenic grinding with flotation to separate cathode and anode material by Liu et al. (2020) [133].
Wuschke et al. (2019) studied the safety issues in mechanical crushing of LIBs. Further, correlation between the material composition of the battery and the specific energy needed for dismantling the battery was also investigated during the study. Low speed axial-gap rotary shear was used as the primary crusher to crush the LIB cells (coarser parts) and radial-gap rotary shear was used as the secondary crusher to crush the resulting parts (finer parts) for the experiment. Outlet grid size in the secondary crusher and the residence time of the materials in the crushing chamber were used as variables to adjust the mechanical energy. An infrared camera was used to detect the thermal energy released during and after the crushing of LIB in the chamber with thermographic imaging (Figure 4c). The batteries used in the experiment had a defined state of charge (SoC). The investigation reported that the SoC has a linear correlation with temperature difference as per the results; a 75 °C temperature difference was recorded with 10% SoC and 27 °C was recorded with 2% SoC. Hence, a higher residual charge can increase the risk of explosions or ignitions and create safety issues. Moreover, the study also evaluated the specific energy requirement for crushing the battery cells and their parts based on the composition of it. The results suggest that the least energy was consumed for crushing the electrode materials of anodes and cathodes and highest energy was used to crush down the elastic–plastic housing of the battery and the viscous–plastic separator foils. The study concludes that separation of housing materials prior to the crushing can lower the energy usage for crushing [134].
Widijatmoko et al. (2020) integrated “attrition scrubbing” (AS) to liberate the cathode active material from LCO type LIBs. Attrition scrubbing is a method designed to promote collisions and shearing action between particles to increase the friction on the surface and make fine particles. For the investigation, a 1000 rpm constant speed AS was used, and silica sand was incorporated as the abrasive material. The study compared cathode material liberated from the single stage crushing using a cutting mill to a multistage cathode material liberation using AS after the cutting mill. The study concludes that employing AS in cathode active material liberation can increase the yield significantly compared to the poor liberation of the same when used only in the cutting mill. The results show 80 wt% LCO particles liberation in the size fraction of <38 mm with 7.0 wt% of Al and 6.1 wt% of Cu [135].
Wet agitation of composite cathode material that was liberated from Al current collector was investigated. The study was carried out to assess the possibility of de-agglomeration of cathode electrode material from the composite. The wet agitation was done in a blender that produces industrial scale shear force. The cathode material was successfully de-agglomerated due to the loosening of PVDF binders from the cathode composites (Figure 4e) [136].
Figure 4.
Summary of dismantling methods (a) Schematic diagram for graphite and LCO separation by Fenton reagent-assisted flotation [130], (b) Flow chart of grinding flotation to recycle LiCoO2 and graphite [131], (c) Usage of infrared camera to detect the thermal energy released during and after the crushing of LIB in the chamber with thermographic imaging [134], (d) Flow chart of cryogenic grinding and recovery of cathode action material [132], (e) de-agglomeration of cathode composites using wet agitation [136].
Figure 4.
Summary of dismantling methods (a) Schematic diagram for graphite and LCO separation by Fenton reagent-assisted flotation [130], (b) Flow chart of grinding flotation to recycle LiCoO2 and graphite [131], (c) Usage of infrared camera to detect the thermal energy released during and after the crushing of LIB in the chamber with thermographic imaging [134], (d) Flow chart of cryogenic grinding and recovery of cathode action material [132], (e) de-agglomeration of cathode composites using wet agitation [136].

4.3. Sieving
Sieving has been used as a method for classification after a comminution or mechanical dismantling step since the first use of battery recycling. In LIB recycling, sieving is an important industrial step. In one of the studies undertaken by Shin et al. (2005), it was found that crushed particles from LCO LIB type can be classified into two groups using 106, 200 and 850 μm, with the finer fraction received from 850 μm being LCO particles and graphite, and the coarse fraction being plastic wrappers, metal casing materials, Al and Cu current collector materials and separators [137]. In another study, LCO-based LIB was ground to powder and sieved using 2, 1, 0.5, 0.2, 0.25 and 0.125 mm vibration-aided sieve set. The finer fraction resulting from the 1 mm sieve accumulated higher fractions of cathode metals and the coarse fraction mainly accumulated Al and Cu current collectors with 67% and 79% percentages, respectively. Cathode metals contained in the finer fraction showed to be Li with 82%, Co with 81%, Mn with 88% and 62% of Ni [138]. Guimarães et al. (2022) have concentrated the NMC cathode after knife milling and sieving due to the removal of case and plastic separator. Despite the material losses (less than 2%), the concentration of valuable metals increased lower than 2 mm [93].
Li et al. in 2009 carried out an investigation to study the effect of the screen size of the sieve on the resulting recoveries from LCO-type LIBs. The study concluded that a 12 mm screen size would be much more appropriate than 2, 4 or 8 mm sieve sizes for the classification of the pulverized material from LCO. The results showed that 28.5% of Co could be found in the d < 12 mm with fewer impurities than the other sieve sizes [139]. Alternatively, particle size distribution in two different crushing methods (dry and wet) was studied using 2 and 0.25 mm opening sizes. The study used LCO-type LIBs, and the result suggested that d > 2 mm of wet crushing was given a 27.57% mass ratio, whereas dry crushing was given only 21.28%. However, 2 mm > d > 0.25 mm of wet crushing gave a lower fraction of materials (16.21%) compared to dry crushing (30.46%). The finest fraction of wet crushing was at 56.22%, whereas dry crushing had given about 48.26%. Accordingly, wet crushing has given a higher amount of finer and coarse particles and dry crushing contains normally distributed particle size arrangement [120]. Due to this reason, the authors studied dry crushing particle arrangement in a later study again using 2, 1, 0.5, 0.25, 0.1, 0.075 and 0.045 mm sieve sizes making eight distinctive groups. The study concluded that 0.25 mm gives 94.14% Al and Cu material in the coarse fraction, and the finer fraction gives a higher concentration of Co and graphite with 94.39% [121]. The same group experimented with how impact crushes affect the particle size distribution in LCO-type LIBs in a similar way using 1.4, 0.71, 0.5 and 0.2 mm aperture sizes. The findings suggested that electrode material mainly concentrated below 0.2 mm and a higher concentration of Al and Cu collector materials can be found above 1.4 mm aperture size [140].
Zhang et al. (2018) carried out sieving tests for LIB materials after pyrolyzing them up to different temperatures to study particle size distribution of the same. The tests were carried out for LCO-type batteries accompanied with a grinding step after pyrolyzing. A 2 mm sieve was able to keep a higher fraction of large metal casing pieces and pieces of separators on it while 0.25 mm sieve retained a higher fraction of Cu and Al particles from the current collectors with a fiber-like shape deformation. Below 0.2 mm fraction, scientists found the highest amount of electrode materials. Further, 500 °C was identified as the optimum pyrolyzing temperature, as they gathered the highest amount of cathode electrode materials below 0.2 mm aperture. Concluding the study, the investigators showed that pyrolyzing aided the classification step by preventing electrode materials from making agglomerates and making it easier for particles to free from PVDF binders. A similar study that was carried out in 2021 using the same cathode type with less fraction of Ni and Mn confirmed that the highest liberation and accumulation of electrode materials can be achieved at 500 °C under a 0.2 mm sieve size [141,142].
Viececli et al. (2018) optimized the particle size for hydrometallurgical extraction of precious metals in electrode material. A grab shredder with a 6 mm bottom discharge sieve was used to shred the components. The d > 6 mm parts were mainly composed of plastic separator parts, Fe materials, and minor amounts of Al and Cu particles. Al and Cu materials in the coarse fraction were separated from the rest using magnetic and density base separation while the d < 6 mm part was introduced to another cutting mill with an aperture size of 2 mm discharge. The rest of the Al and Cu materials were separated as the coarse fraction and the minor fraction went for hydrometallurgical extraction. Three distinctive groups were identified: the coarse part where d > 6 mm, with 65% of Fe as it is harder to crush down; fraction 2 mm < d < 6 mm, mostly with Al and Cu materials (70%) from the anode and cathode and 22–28% of electrode materials; the finest fraction was d < 2 mm with an average of 70% electrode materials [143]. In a similar study, the leaching efficiency of Li and Co was studied under five distinctive particle size groups. The study incorporated 2 mm > d > 1 mm, 1 mm > d > 0.5 mm, 0.5 mm > d > 0.25 mm, 0.25 mm > d > 0.125 mm and d < 0.125 size fractions, where LIB materials underwent two step crushing, magnetic separation and vibro-sifting. The coarser fraction where d > 2 mm was not used for leaching as it mainly contained Al and Cu foil particles [144].
A novel approach was proposed by Yu et al. (2020) to separate impurities such as Al and Cu from the electrode materials. Traditional methods include fine sieving of crushed materials or alkali leaching of the same, whereas the new method replaces these with a combination of sieving and reducing. Precisely, the method involved mild sieving of materials using a 4 mm opening size followed by alkali reducing of the material using Al and Cu as reductants. The authors further mentioned that a mild strainer (4 mm) resulted in 6.30 wt% of Cu and 9.98 wt% of Al in the corresponding finer fraction where a higher fraction of electrode materials lies below the 0.5 mm strainer [145].
A wet agitation process was applied for recycling of used LIBs. Investigators used a blender to wet agitate the LIB cathode material, hence performing the liberation of cathode active elements. Agitated material was then subjected to wet screening using 105, 74 and 37 μm aperture sizes. Particle liberation from the Al current collector was then assessed by froth flotation as the method provides a better judgment on the surface hydrophobicity. Above 85% recovery rate of cathode active materials was achieved with below 0.3% impurities while using repeated agitation [136].
Widijatmoko et al. (2020) carried out a series of experiments to study the material recovery efficiency of LCO-type LIBs. In one of the investigations, the effect of adding an additional attrition scrubbing step after the cutting mill to recover Al, Cu and Co was studied. The experiment also incorporated wet sieving of comminution particles under 212 and 38 μm screen sizes. Moreover, the investigators screened coarser particles (d > 212 μm) using dry sieving under 4750, 2360 and 850 μm again. Finally, the yield of three metal types was analyzed in each group received. Results suggested that Al and Cu distribution was not much affected by the additional attrition scrubbing step. However, the yield of Co was significantly enhanced from 11.4 wt% to 80 wt% in the finest fraction (d < 38 μm) with a lower concentration of Al and Cu (7.0 wt% and 6.1 wt%, respectively) [146]. The same group of scientists studied how dry milling aids the release of electrode materials from the current collectors using the same type of LIBs. In addition, the group made a comparison between old and new batteries to assess how the aging of LIBs affected the efficiency of the release of electrode materials. The study was able to identify four different categories based on how the electrode materials attached to the current collectors (Figure 5e Cat. 1 or 2) or released from the current collectors but attached to PVDF binders making agglomerates (Figure 5e Cat. 3 or 4). The four categories and the results are provided in the summary at the end of this section. However, the results are similar to most of the other studies that are listed above, providing more efficient liberation of electrode materials from the fine particles (d < 38 μm) in old LIBs. In contrast, new LIBs show much resistance to liberating electrode materials and are highly attached to current collectors and accumulated in coarser parts (Figure 5e Cat. 1 and 2) [135].
Figure 5.
Summary of dismantling methods (a). The effect of the sieve size on (a(i)) Co and (a(ii)) the impurity content in the underflow products [139], (b). The particle size distribution of the crushed products at different pyrolysis temperatures: (b(i)) cathode and (b(ii)) anode [141], (c). Cumulative recovery of undersized particle of different elements [143], (d). Percentage recovery of different elements based on particle sizes: (d(i)) after crushing and (d(ii)) after an additional attrition scrubbing [146], (e). Characterization of liberated particles based on their sizes and age of the LIBs [135].
4.4. Dissolution
Dissolution can be used to dissolve or decompose PVDF binder that still exists in electrode materials after freeing from the current collectors. The summary of dissolution results reported in the literature is presented in Table 3. One solvent that is used widely in the literature for the dissolution process is N-methylpyrrolidone (NMP), which has solvent ability up to 200 g·kg−1 and has a boiling point of 200 °C. Contestabile et al. (2001) used NMP to extract electrode materials (LCO and graphite) from the current collectors by dissolution for 1 h at 100 °C. The result suggested that Cu and Al were recovered without any contaminants under said conditions by filtration of NMP solution [72]. Liu et al. (2006) experimented on N,N-dimethylacetamide (DMAC) to extract electrode materials from current collectors of LCO-type LIBs. DMAC has a solubility around 100 g·kg−1, a boiling point of 165 °C and is less expensive than NMC. The authors concluded that LCO electrode material can be separated from Al while keeping the solid to liquid ratio between 1:4 and 1:5 [147]. N,N-Dimethylformamide (DMF) is another solvent that has a comparably low boiling point (153 °C) and it can be completely evaporated by heating it up to 120 °C for 12 h. As a result, Song et al. tried to extract cathode active materials from NMC and LCO-type LIBs using a combination of DMF and ethanol and heating it up to 70 °C [148,149,150].
In some of the literature, NMP and a range of other solvents have been used to extract cathode active materials from cathode current collectors utilizing ultrasonication [151,152,153]. Conclusions are made for the dissolution rate in different solvents. NMP showed a 99% dissolution rate while other solvents (water, acetone, dichloromethane, and carbon tetrachloride) achieved lower than 18%. Further, increasing the time of ultrasonication and temperature does not affect the dissolution rate of these solvents [151]. It is worth noting that using NMP accompanied by ultrasonication for a short time is more environmentally beneficial than the method proposed by Contestabile et al. in 2001. However, the authors recommended an additional stage of calcination at 750 °C for complete removal of PVDF binder from Al foil. He et al. (2015) studied solvents such as DMAC, DMF and N, N-dimethyl sulfoxide (DMSO) and ethanol accompanied with mild ultrasonication for the dissolution of PVDF from cathode material. The liberation efficiency (E) of cathode active material was evaluated against ultrasonication time, temperature, and power. The results showed that with 1:10 solid to liquid ratio and 60 °C, along with 30 min reaction time, the liberation efficiency was less than 10% when ultrasonication was not used. In spite of this, the liberation efficiency increased by approximately six times when ultrasonication was used with the same conditions. Further, peel-off efficiency increased according to the order of ethanol < DMSO < DMF < DMAC < NMP. The highest liberation efficiency of 99% was achieved by NMP when optimized conditions (70 °C, 240 W and 90 min) were used. The authors elaborated that the highest liberation was caused by rapid dissolution of PVDF aided by ultrasonication [152].
Nayaka et al. (2018), performed an experiment with a mixture of mild organic acids (citric acid, tartaric, and ascorbic acid) to recover LCO cathode powders. The study reported that 100% of Li and 90% of Co were dissolved with a 6 h reaction time at 80 °C. The experiment also showed that Co (II) can be recovered as Co (II)-Oxalate with selective recovery [153].
He et al. (2020) suggested a method for selective liberation of LFP cathode active material from a combination of LMO, LCO, LiNixCoyAlzO2 (NCA) and NMC LIB cathode types. The methodology uses a method which involved reaction of the mixture with sulfide. Since sulfide reacts with Fe in LFP cathode active material, the crystal structure of the same will be pulverized, making it liberate from the rest. Liberated material can be categorized using a sieving step. Moreover, the article explains that the remaining PVDF binder from the Al foil will be destroyed by the micro-explosions forced from hydrogen available in water. It is mentioned that the liberation efficiency of LFP cathode active material was 100%, while others showed only 0.08% [154].
AlCl3-NaCl molten salt was used to peel off cathode active materials from Al foil by a group of investigators. The PVDF binder can be decomposed by AlCl3-NaCl molten salt when changing its phase from solid to liquid at around 153 °C. The phase change absorbs heat from the system heavily and that melts down the PVDF binder. The result shows that maximum liberation efficiency was achieved at 160 °C with 1:10 g·mL−1 solid to liquid ratio and 20 min [155]. Zhang et al. (2014) used a strong carboxylic acid (trifluoroacetic acid (TFA)) with a relatively low boiling point (71.8 °C) to decompose polytetrafluoroethylene (PTFE) binders in NMC type LIBs. The best peeling-off efficiency was recorded with 1:8 g·mL−1 solid to liquid ratio prepared using 15 vol% TFA solution. Further, the mixture was agitated for 180 min at 40 °C to obtain the optimum efficiency [121,155]. He et al. (2019) proposed a method to extract cathode active material from LFP and NMC type LIBs in the form of flakes without using acid or alkali solutions. The team was able to manufacture a special solution based on Na salts named Aquas Exfoliating and Extraction Solution (AEES) which can liberate both cathode and anode active materials with 100% efficiency. Al and Cu recovery efficiency were at 95.6% and 99%, respectively. The solution was able to weaken the mechanical interlocking force and coulomb force between the active materials and the foil for effective liberation [156]. Several results reported in the literature have demonstrated theoretically and experimentally that by removing around a 63.2 nm layer of Al foil from the cathode current collector, it is possible to weaken the forces that keep electrode materials together. So, electrode materials may be recovered with 100% efficiency and Al foil with 99% efficiency. A group of scientists used an alkaline solution to dissolve Al in LCO-type LIBs [101,102,157].
Table 3.
Summary of dissolution methods.
Table 3.
Summary of dissolution methods.
| Solvent Type | Condition | Results | Remarks | Ref. | ||
|---|---|---|---|---|---|---|
| NMP | 1 h reaction at 100 °C | 100% recovery of Al and Cu | LCO-type LIBs, economically inefficient | [73] | ||
| DMAC | 1:4 to 1:5 S:L ratio | Less recovery than NMP at optimum conditions | LCO-type LIBs, cheap and convenient | [147] | ||
| DMF + Ethanol | dissolution at 70 °C | Less recovery compared to NMP | NMC and LCO-type LIBs, cheap and convenient | [146] | ||
| NMP Water Acetone Dichloromethane Carbon tetrachloride | 3 min. ultrasonication at room temperature | 99% recovery for cathode material | NMC-type LIBs | [151] | ||
![]() | less than 18% recovery | |||||
| DMAC DMF DMSO Ethanol NMP | dissolving with mild sonication 1:10 S:L ratio at 60 °C for 30 min. | Increased by 6 times when sonication was used than when it was not used according to: ethanol < DMSO < DMF < DMAC | Common LIB types | [152] | ||
| NMP | 90 min. reaction time at 70 °C with 240 W sonication | 99% recovery of cathode materials | Common LIB types | [152] | ||
| Sulfide Dissolved in water | at room temperature | 100% selective liberation of LFP cathode materials | Beneficial when extracting LFP active materials from combination of LIBs available | [154] | ||
| AlCl3-NaCl molten salts | 20 min. reaction time at 160 °C with 1:10 S:L ratio | 99.8 wt% liberation efficiency | Inexpensive and convenient method | [155] | ||
| 15 vol% TFA | 180 min. optimal agitation at 40 °C with 1:8 S:L ratio | High-quality material recovery | NMC-type LIBs with PTFE binders | [121,122,123,124,125,126,127,128,129,130,131,132,133,134,135,136,137,138,139,140,141,142,143,144,145,146,147,148,149,150,151,152,153,154,155] | ||
| AEES | Na-based salt at room temperature | Active material 100% Cu 99% Al 95.6% | For LFP and NMC-type LIBs | [156] | ||
| Alkaline solution (NaOH) | removing of 63.2 nm layer from Al foil | Cathode active material 100% Al 99% | LCO-type LIBs | [101,102,157] | ||
4.5. Thermal Pretreatment
Organic binders and electrode materials were often separated from the Al or Cu current collectors using heat treatment. Fouad et al. (2007) investigated the possibility of making γ-LiAlO2 nanocrystals by heat treatment of LIB current collectors. According to the authors, the availability of nanocrystallite γ-LiAlO2 along with Co3O2 and CoO on the surface of Al foil was observed through XRD and SEM analysis when heated to 800–900 °C for 2 h. However, the liberation efficiency of active material was not evaluated herein [158]. A comparative study conducted by Sun and Qui (2011) confirmed 100% liberation efficiency of LCO cathode material when the uncrushed LIB material was heated in a vacuum oven. Optimum experiment values were given as 600 °C temperature, with 30 min vacuum evaporation and 1 kPa gas pressure. Furthermore, the authors showed that when the temperature rises from 500 °C, the peeling-off efficiency increases. However, temperatures above 600 °C are not suitable for pyrolyzing experiments as Al foil becomes shredded into powders and this makes it harder to recover the active materials [159]. The peeling efficiency obtained by Sun and Qui (2011) was confirmed by Lu et al. (2013) in a similar study. They were able to resynthesize LCO-type electrode material by heating the discharged batteries up to 600 °C for 3 h in vacuum conditions.
In a closed loop recycling study, Kim and Shin (2013) reported the chemical performances of the recovered materials from LFP batteries with different pyrolyzing temperatures. The study incorporated three different temperatures such as 400, 500 and 600 °C for comparison under a nitrogen atmosphere. The results show that the resynthesized materials have good cycling performance and capacity. Moreover, the cathode material treated at 500 °C showed a higher capacity than the rest. Authors confirmed that all the three temperatures were able to decompose the binders (containing sodium carboxymethyl cellulose and butadiene—CMC/SBR) fully, hence maximum recovery of cathode active materials [160]. In a similar investigation, a range of temperatures was used to liberate active materials by decomposing PVDF binders in scrapped LFP-type LIBs. The conclusions show that maximum recovery was achieved at 600 °C pyrolyzing for 1 h. Investigators confirmed complete decomposition of binders and conversion of Fe+2 to Fe+3 [161]. Sintering and solvent extraction methods were accompanied to recover electrode materials from NMC-type LIBs. The recovered materials were used to regenerate the cathode and their performances were investigated. In sintering, the cathode was scraped into 4 cm2 pieces and heated for 2 h at different temperatures and was then treated with a fast stirring mixture and sieved with 400 mm aperture size. The results suggested that maximum liberation of active materials was recorded at 450 °C. However, solvent extraction was preferred to the sintering method as the sintering process added impurities (LiF) to the recovered materials [148]. Yang et al. (2016) studied a two-step process to recover materials from spent NMC-type cathode materials. The two steps involved heat treatment followed by an acid leaching. As done by Song et al. (2013), authors cut the cathode active materials into 4 cm2 pieces and heated the material under a nitrogen atmosphere. Thermogravimetric spectroscopy was analyzed to determine the thermal behavior of the materials. Results suggested that PVDF decomposition occurred around 475 to 500 °C. Furthermore, investigators showed that high leaching efficiency of Ni (98%), Mn (84%) and Co (99%) was achieved after the heat treatment as the elements are partially reduced [162].
In situ recovery of Li2CO3 was studied incorporating three types of LIBs (LMO, LCO and NMC) by a group of scientists under vacuum conditions. A recovery rate of 81.9% was observed with the optimum conditions: 973 K roasting for 30 min with solid to liquid ratio of 25 g·L−1. The purity of Li2CO3 recovered was at high level (99.7%) [163]. The same group of authors carried out another experiment to study in situ treatment of bulk LMO type batteries to recover precious materials. Firstly, electrode materials (cathode and anode active materials with binders) were mechanically separated from the bulk LIBs. Secondly, roasting treatment was carried out without the availability of oxygen. The authors identified that in situ conversion of MnO and Li2CO3 from electrode materials was possible at 1073 K roasting for 45 min under oxygen free atmosphere. Furthermore, it was identified that binder decomposition occurred at 573 K and conversion of electrode materials occurred at 1073 K [164].
The effect of pyrolysis temperature on ultrasonic-assisted flotation for the separation of electrode materials was studied by Zhang et al. (2018). The study was carried out on LCO-type batteries to recover graphite and LiCoO2. Results showed that 500 °C pyrolysis for 30 min with N2 atmosphere effectively decomposes the organic binders and higher liberation. Further, ultrasonication cleans the impurities attached to the electrode materials, hence increasing flotation. It was concluded that the new method can increase the separation of LiCoO2 from around 75% up to more than 96% with a high purity (93.89%) [165].
The effect of mechanical crushing and pyrolysis for flotation separation of graphite and cathode active materials of LCO batteries was studied by the same group of scientists. The authors mentioned that poor flotation of electrode materials was caused by the binders and electrolyte materials, and that at 150 °C all the electrolyte evaporates, and 15 min of pyrolyzing at 550 °C can effectively decompose the organic binders without causing any changes to the mineral structure of LiCoO2. Hence, through the process over 83.75% recovery with about 94.72% purity of the materials can be achieved. The purity of the material can be further enhanced (up to 98%) by two-stage pyrolyzing [166].
Wang et al. (2018) studied how the roasting temperature and roasting time affect the surface wettability of the electrode materials to recover through flotation treatment. Flotation of the electrode materials may be limited because of the organic layers around the crushed materials. The results showed that organic binders started to decompose into CO2 starting from 355 °C and continued to give the highest decomposition rate at 490 °C. Further analysis concluded that the organic outer layer can be mostly decomposed at 450 °C roasting for 15 min without burning the graphite available. The authors confirmed that the original wettability of the materials was gained at this optimized value, giving the highest recovery through flotation. It is worth noting that the particle size was controlled at <0.25 mm throughout the whole process [167].
Microwave-assisted pyrolysis was studied to recover Ni, Co and Al from NCM-type LIBs as a comparison to conventional pyrolyzing at 600 °C. The authors established that microwave-assisted heating is 20 times faster than the conventional pyrolyzing methods. Moreover, the new method adds an extra degradation step to the traditional method which results in H2 and CO. This step is aided by steam and dry reforming reactions assisted by the availability of Ni and Al. Further, high heating rates also contribute to this reaction. However, high heating can adversely affect the process as Al foil can melt by giving sparks, making it difficult to recover the intended materials. The study concluded that 360 °C is the optimum temperature for microwave-assisted pyrolysis, considering the evolving of toxic gasses, Al mass loss, heavy and light molecule production and active mass ratio yield [168].
Wang et al. (2019) achieved a much lower temperature to decompose PVDF binders assisted by CaO. The thermal decomposition of PVDF with and without CaO was studied using thermogravimetric analysis. It was found that organic binder decomposed around 400–500 °C when CaO was not used. However, PVDF could decompose at 300 °C when heated with CaO. The authors optimized the ratio of cathode materials to CaO amount to be 1:8, the optimum temperature to be 300 °C and the reaction time to be 10 min. With the optimized values, authors reached 97.1 wt% of cathode material recovery. Further, the investigators elaborated that the method proposed was beneficial economically and environmentally [169]. A similar process was examined by Zhong et al. in 2022. This group of scientists used DMF to heat with Al foil that contained cathode active materials. The authors established that the use of DMF decreased the pyrolysis temperature from 550 °C to 450 °C, with an increase in active material yield from 61.53% to 98.93% with 2 h reaction time. According to the authors, higher recovery resulted from the microbubbles generated by DMF and enhanced decomposing of PVDF due to DMF availability [170].
Pyrolysis followed by a physical separation was used to recover materials from LFP-type batteries. The method also recovered 99.91% of organic electrolyte with low-temperature evaporation. The authors tried to recover materials from pyrolytic slag using physical methods such as color sorting, flotation and high-pressure water cleaning. The highest peeling-off efficiency was recorded at 550 °C pyrolyzing for 2 h under N2 atmosphere. The pyrolytic products received from the optimum conditions were found to contain aromatic long chain alkenes and light alcohols while the gaseous part contained light alkenes. The results showed that the investigators were able to recover 99.34% of Al, 96.25% of Cu and 49.67% cathode active materials through the proposed method [171]. Lombardo et al. (2020) tried to incinerate NMC-type LIBs under oxygenated conditions to decompose organic binders and electrolytes to recover precious materials. The authors tried to vary the heating temperature from 400–700 °C with different time intervals (30 min–90 min). Scientists were able to identify that 600 °C incineration for 90 min with air flow conditions can decompose the organic materials effectively resulting in gasses and organic oil by-products [172]. Figure 6 shows the summary of thermogravimetric studies undertaken.
Figure 6.
(a) TG-DSC analysis of LMO-type cathode material under N2 flow [164]; (b) TG-DTG curve of LFP-type LIBs under air flow (b(i)) LCO with PVDF (b(ii)) graphite with SBR (iii) graphite with PVDF [166]; (c) TG-DSC curves of NCM type batteries under O2 atmosphere (c(i)) Cathode electrode without CaO (c(ii)) Cathode electrode with CaO [169]; (d) TG-DSC curves of LFP type cathode materials under N2 atmosphere [171].
5. Discussions and Conclusions
LIBs are one of the best technologies for energy storage and for providing a smooth voltage, which also makes it widely available in EVs as their energy storage device. The continuous growth of the EV industry with upcoming stringent environmental policies will continue to grow the demand for LIBs in the long term [28,29,30,31]. Manufacturing of LIBs requires huge amounts of virgin materials to be extracted from natural ores, which puts enormous stress on the environment directly and indirectly. Moreover, disposing of waste LIBs is also equally challenging as well. Further, improper disposal of LIBs will waste already extracted materials as it contains a lot of precious metals and non-metals. This is not only a waste of resources but also a threat to human sanitation and to ecological systems. So, there is no doubt that priorities must be given to extracting resource materials from spent LIBs.
LIBs can vary largely in their cathode electrode metal content, and slightly in anode electrode content. This imposes the biggest challenge in recycling LIBs in one single line [77,78,79]. However, their current collectors, casing materials and binding materials are mostly the same in different LIBs. This makes it possible to recover these common materials in one single pretreatment line. Pretreatment involves separating electrode materials from the rest of the battery components so the secondary treatment can recover the precious materials available in the electrodes.
Collection of LIBs is also challenging because most LIBs pass a hibernation period after their service as discussed under collection. This happens mostly with domestic electronic equipment. However, EV batteries are mostly given a second life after first use. Collection is further limited due to collection and sorting parameters such as type of battery, cathode material and manufacturer. Collection and sorting can be increased using proper labeling or using the QR code labeling proposed by the EU commission [91]. This will inform the collectors or handlers how to correctly sort the waste LIBs; however, it still depends on consumers’ willingness to do so for most household equipment. For EVs, on the other hand, this method can elevate the collection and sorting efficiency, so high-quality secondary raw materials can be recovered in future. Though, since this decree comes into existence from 2026, these batteries will be added to the waste lines until 2046. Meanwhile, large amounts of waste batteries are expected to pile up soon after 2030 according to the discussed literature. Despite that, a decentralized pretreatment plan is a better alternative to overcome collection and sorting challenges. Since the sorting is not required for the common pretreatment line proposed, waste EV LIBs can be easily collected at car dismantling premises. This will ease the recycling process and a higher recycling rate can also be expected. However, this will be a trade-off between the quality of the recovered materials and the quantity of recovered materials.
A recent literature study conducted by Kim et al. [173] has given recommendations on the pretreatment steps to be involved in a pretreatment line. The article suggests that giving solutions for manual dismantling techniques is a must and that so far, it has not been addressed properly. Moreover, the article shows the importance of involving several mechanical dismantling steps in the line. Further, it suggests using dissolution or thermal treatments to decompose PVDF binders effectively. When designing the pretreatment line in this study, the recommendations of Kim et al. (2022) were also taken into consideration.
Discharging of EOL LIBs prior to dismantling is a widely accepted route [92]. However, most industrial lines skip this step and use direct shredding or crushing [105,106,107,108,173]. Salt-base discharging is not possible to use in large industrial lines as it produces huge amounts of wastewater with toxic substances in it which make it difficult to dispose of after. Recovering energy from the batteries prior to dismantling is beneficial, but industrially, it is still difficult to apply. So, the most appropriate step would be to dismantle the LIBs without a discharging step under a safe environment. In this article, according to the literature review, we propose dismantling the spent battery in the presence of water spray and N2 gas spray in the dismantling chamber which will be economical and easy to handle as per the current studies. Rate of N2 and water spray should be decided upon the load of the line.
In a common pretreatment line, a specialized unwinding and scraping-off tools as Li et al. (2019) suggested cannot be used, as this addresses only one type of LIB. However, two-step mechanical dismantling would be more ideal than using only one dismantling step as experimented by Diekmann et al., 2017, and suggested by Kim et al., 2022 [94,129,135,173]. The first dismantling can use a low-speed shear crusher or a granulator as a cheap and efficient dismantling step [126,129]. The first step crushing needs to dismantle the particles to be less than 10 mm in size according to the references used [126,127]. The very next step after the first crusher should be removing the plastic housing parts and separator foils. A flotation-based separation can be used to remove these light denser parts easily from the metal fraction. Given the efficiency and the ease of the method, flotation-based separation would be ideal although it produces a quantity of wastewater. However, since the water amount can be used for a longer period, the process would still be economical and environmentally friendly. An alternative method to separate the plastic fractions and separator foils is sieving or air separation [93], as these materials would not become fine particles during the first crush. Flotation separation efficiency for plastics is higher than the sieving as per the current literature [128]. The main reason for this is that plastic materials can be sieved using above 6 mm aperture size and the optimum particle size for first step crushing is below 10 mm [143]. Despite this, air separation can still replace the density separation with a closer efficiency.
The wet materials can be dried for several hours (3–5 h) with a slightly high temperature (around 60 °C) to reduce the moisture content before the next crushing step. However, using an air separator instead of a density separator can cut off the energy requirement for the drying step. The object of the second crushing step is to retrieve current collectors (Cu and Al) from electrode materials. Impact crushing, planetary ball milling and rotary shearing are the best options for secondary grinding as per the analyzed literature [129,130,131,134,135]. The output particle size of the secondary crushing needs to be much finer than the first crushing step, approximately, below 2 mm according to the current literature examined [120,121,139]. Planetary ball milling is not very ideal in this case; it results in much finer particles as it uses Fe powder. In addition, this will add impurities for the next steps [122,124]. However, impact crushing seems to be a good candidate for this stage as suggested by many investigators through their studies [134]. The crushing time can be set to 20–30 s with 2000–3000 rpm [121]. Further, dry crushing is preferred over wet crushing given the disadvantages of wet crushing steps discussed by the previous literature [120]. Grinding is also a better alternative that can be accommodated in this step. However, the resulting material from grinding can be much finer, hence, the expected particle range would be different and this can make complications in the next steps (separation) [130,131]. Accommodating another crushing step can result in materials that still contain electrode materials attached to current collectors through binders as per the latest studies [135]. Hence, removal of the same is important before the separation of current collectors from the electrode materials. Separation of said material after decomposing of binders will elevate the amount of electrode materials and the quality of the Al and Cu recovered at the next step.
For PVDF decomposition, two methods are at our disposal, mainly, dissolution or heat treatment. Dissolution process either becomes expensive when NMP is used or results in poor dissolution if other materials (DMAC, DMF etc.) are used [73,147,149,150,151,152]. Heating also makes the process a bit expensive and can cause deterioration of Al if higher temperatures are used [159]. Due to these reasons, utilization of higher temperature or dissolution are not ideal though Kim et al. 2022 considered them to be the best options. However, lower temperature cannot cause the decomposition of PVDF binders as the organic binders are thermally stable up to 450–500 °C [159,164]. So, the best option would be to use CaO to heat with the ground materials as suggested by Wang et al. (2019). Accordingly, the next step would be to heat the ground material with CaO under atmospheric air flow up to 300 °C for 30 min as per the optimized values by the same author. This step will further reduce the toxic emissions to the environment along with requiring less energy use. This will ensure the decomposition of available organic binders before going to the next stage. This step can be considered as an optional step if poor quality material separation is preferred. Then, simply sieved metallic parts can be refined using a flotation-based trial. However, this would produce low-quality output material and high-energy intensive steps may have to be employed in secondary treatments. Furthermore, resulting Cu and Al may contain higher fraction of PVDF binders and can emit toxic gases (e.g., HF) when purifying further.
Heated material can be sieved to separate the current collectors from the rest of the electrode materials. The highest separation efficiency for Al and Cu can be achieved using a 0.25 mm size aperture size with slightly inclined surface that is set for 30–45 s retention time of sieving [121,141,142]. Further, this sieving step can accommodate vibration-supported sieving to maximize the electrode material separation efficiency. Recovered Al and Cu can be forwarded to corresponding treatment plants to make metal ingots as EoW. Electrode materials need to be forwarded to a washing step to remove the remaining CaO and CaF2 from the previous steps [169]. Electrode materials received from this process can be separated as the cathode active material and anode active material using a flotation chamber. Since the surface of the recovered material is mostly enhanced during the previous steps, flotation should be able to be carried out only with bubbles or with small quantities of modifiers and frothers [131]. Since the grinding can enhance the hydrophobic nature of graphite in electrode materials and decomposition of organic layers enhances the hydrophilic nature of cathode active materials, the flotation would give better efficiency in separating the electrode materials [131]. Finally, the recovered material can be dried at 60 °C for several hours (3–5 h) and can be sent to secondary treatment facilities to recover precious metals available in it. As per the reviewed past works, the outcome will recover above 98% of electrode materials and current collector materials. The summary of the proposed method is given in Figure 7.
Figure 7.
Proposed pretreatment line for LIBs.
Author Contributions
Conceptualization, methodology, analysis, writing—original draft preparation D.S.P.; Writing—review and editing, funding acquisition, A.B.B.J.; supervision, project administration, funding acquisition, M.V., J.A.S.T. and D.C.R.E. All authors have read and agreed to the published version of the manuscript.
Funding
University of Brescia was partly received funding for this project from Italian Ministry of Foreign Affairs and International Cooperation: Protocol number: MAE00569962022-04-06 (This research was Funded in part by a grant from the Italian Ministry of Foreign Affairs and International Cooperation); University of Sao Paulo was funded financially by Fundação de Amparo à Pesquisa do Estado de São Paulo and Capes (grants: 2012/51871-9, 2019/11866-5, 2020/00493-0, 2021/14842-0, São Paulo Research Foundation). This project was developed with the support of SemeAd (FEAUSP), FIA Fundaçao Instituto de Administração and Cactvs Instituto de Pagamento S.A. through the granting of assistance to a research project Bolsa SemeAd PQ Jr (Public Notice 2021.01).
Institutional Review Board Statement
Not Applicable.
Informed Consent Statement
Not Applicable.
Data Availability Statement
Not applicable.
Conflicts of Interest
The authors declare no conflict of interest. The funders had no role in the design of the study; in the collection, analyses, or interpretation of data; in the writing of the manuscript; or in the decision to publish the results.
References
- IEA. World Energy Outlook 2020. Available online: https://www.iea.org/reports/world-energy-outlook-2020 (accessed on 3 January 2023).
- European Commision. Directive (eu) 2018/2001 of the European Parliament and of the Council. 2018. Available online: https://eur-lex.europa.eu/legal-content/EN/TXT/?uri=uriserv:OJ.L_.2018.328.01.0082.01.ENG (accessed on 3 January 2023).
- BP. BP Statistical Review of World Energy 2020. Available online: https://www.bp.com/en/global/corporate/news-and-insights/press-releases/bp-statistical-review-of-world-energy-2020-published.html (accessed on 3 January 2023).
- Schmuch, R.; Wagner, R.; Hörpel, G.; Placke, T.; Winter, M. Performance and Cost of Materials for Lithium-Based Rechargeable Automotive Batteries. Nat. Energy 2018, 3, 267. [Google Scholar] [CrossRef]
- Placke, T.; Kloepsch, R.; Dühnen, S.; Winter, M. Lithium Ion, Lithium Metal, and Alternative Rechargeable Battery Technologies: The Odyssey for High Energy Density. J. Solid State Electrochem. 2017, 21, 1939–1964. [Google Scholar] [CrossRef]
- Armand, M.; Axmann, P.; Bresser, D.; Copley, M.; Edström, K.; Ekberg, C.; Guyomard, D.; Lestriez, B.; Novák, P.; Petranikova, M.; et al. Lithium-Ion Batteries—Current State of the Art and Anticipated Developments. J. Power Sources 2020, 479, 228708. [Google Scholar] [CrossRef]
- Qiao, H.; Wei, Q. 10-Functional Nanofibers in Lithium-Ion Batteries. In Functional Nanofibers and Their Applications; Wei, Q., Ed.; Woodhead Publishing: Sawston, UK, 2012; pp. 197–208. ISBN 9780857090690. [Google Scholar]
- Baars, J.; Domenech, T.; Bleischwitz, R.; Melin, H.E.; Heidrich, O. Circular Economy Strategies for Electric Vehicle Batteries Reduce Reliance on Raw Materials. Nat. Sustain. 2020, 4, 71–79. [Google Scholar] [CrossRef]
- IEA. The Role of Critical Minerals in Clean Energy Transitions. 2021. Available online: https://www.iea.org/reports/the-role-of-critical-minerals-in-clean-energy-transitions (accessed on 5 January 2023).
- Castelvecchi, D. Electric Cars: The Battery Challenge. Nature 2021, 596, 336–339. [Google Scholar] [CrossRef]
- European Commission. Critical Raw Materials Resilience: Charting a Path towards Greater Security and Sustainability. 2020. Available online: https://eur-lex.europa.eu/legal-content/EN/TXT/?uri=CELEX:52020DC0474 (accessed on 5 January 2023).
- European Commision. New Circular Economy Action Plan for a Cleaner and More Competitive Europe. 2020. Available online: https://eur-lex.europa.eu/legal-content/EN/TXT/?qid=1583933814386&uri=COM:2020:98:FIN (accessed on 5 January 2023).
- European Parliament. Council of the European Union Directive 2006/66/EC of the European Parliament and of the Council of 6 September 2006 on Batteries and Accumulators and Waste Batteries and Accumulators and Repealing Directive 91/157/ EEC 2006. 2006. Available online: https://eur-lex.europa.eu/legal-content/EN/ALL/?uri=CELEX%3A32006L0066 (accessed on 6 January 2023).
- Trading Economics. Cobalt. 2023. Available online: https://tradingeconomics.com/commodity/cobalt (accessed on 6 January 2023).
- U.S. Geological Survey. Mineral Commodity Summaries 2020. Available online: https://pubs.usgs.gov/periodicals/mcs2020/mcs2020.pdf (accessed on 6 January 2023).
- Jiang, Y.; Deng, Y.-P.; Fu, J.; Lee, D.U.; Liang, R.; Cano, Z.P.; Liu, Y.; Bai, Z.; Hwang, S.; Yang, L.; et al. Interpenetrating Triphase Cobalt-Based Nanocomposites as Efficient Bifunctional Oxygen Electrocatalysts for Long-Lasting Rechargeable Zn-Air Batteries. Adv. Energy Mater. 2018, 8, 1702900. [Google Scholar] [CrossRef]
- Korstanje, T.J.; van der Vlugt, J.I.; Elsevier, C.J.; de Bruin, B. Hydrogenation of Carboxylic Acids with a Homogeneous Cobalt Catalyst. Science 2015, 350, 298–302. [Google Scholar] [CrossRef]
- Statista, Countries with the Largest Lithium Reserves Worldwide. 2021. Available online: https://www.statista.com/statistics/268790/countries-with-the-largest-lithium-reserves-worldwide/ (accessed on 7 January 2022).
- Thomas, C.L. Mineral Commodity Summaries 2018, U.S. Geological Survey Mineral Commodity Summaries 2019. Miner. Commod. Summ. 2019, 20–200. [Google Scholar] [CrossRef]
- U.S. Geological Survey. Mineral Commodity Summaries 2023. Available online: https://doi.org/10.3133/mcs2023 (accessed on 6 January 2023).
- Pan, H.; Hu, Y.-S.; Chen, L. Room-Temperature Stationary Sodium-Ion Batteries for Large-Scale Electric Energy Storage. Energy Environ. Sci. 2013, 6, 2338–2360. [Google Scholar] [CrossRef]
- Hou, W.; Guo, X.; Shen, X.; Amine, K.; Yu, H.; Lu, J. Solid Electrolytes and Interfaces in All-Solid-State Sodium Batteries: Progress and Perspective. Nano Energy 2018, 52, 279–291. [Google Scholar] [CrossRef]
- Saeki, S.; Lee, J.; Zhang, Q.; Saito, F. Co-Grinding LiCoO2 with PVC and Water Leaching of Metal Chlorides Formed in Ground Product. Int. J. Miner. Process. 2004, 74, S373–S378. [Google Scholar] [CrossRef]
- Nassar, N.T.; Brainard, J.; Gulley, A.; Manley, R.; Matos, G.; Lederer, G.; Bird, L.R.; Pineault, D.; Alonso, E.; Gambogi, J.; et al. Evaluating the Mineral Commodity Supply Risk of the U.S. Manufacturing Sector. Sci Adv. 2020, 6, eaay8647. [Google Scholar] [CrossRef] [PubMed]
- U.S. Geological Survey. Mineral Commodity Summaries 2022. Available online: https://pubs.usgs.gov/periodicals/mcs2022/mcs2022.pdf (accessed on 6 January 2023).
- Statista. Reserves of Graphite Worldwide in 2021, by Country. 2021. Available online: https://www.statista.com/statistics/267367/reserves-of-graphite-by-country/#:~:text=In%202020%2C%20the%20total%20worldwide,650%2C000%20metric%20tons%20of%20graphite (accessed on 6 January 2023).
- Jin, S.; Mu, D.; Lu, Z.; Li, R.; Liu, Z.; Wang, Y.; Tian, S.; Dai, C. A Comprehensive Review on the Recycling of Spent Lithium-Ion Batteries: Urgent Status and Technology Advances. J. Clean. Prod. 2022, 340, 130535. [Google Scholar] [CrossRef]
- Statista. Worldwide Revenue from Electric Vehicles since 2010. 2023. Available online: https://www.statista.com/statistics/271537/worldwide-revenue-from-electric-vehicles-since-2010/ (accessed on 6 January 2023).
- IEA. Global EV Outlook 2019. License: CC BY 4.0. Available online: https://www.iea.org/reports/global-ev-outlook-2019 (accessed on 6 January 2023).
- IEA. New CEM Campaign Aims for Goal of 30% New Electric Vehicle Sales by 2030. 2017. Available online: https://www.iea.org/news/new-cem-campaign-aims-for-goal-of-30-new-electric-vehicle-sales-by-2030 (accessed on 6 January 2023).
- Koleski, K. The 13th Five-Year Plan (2016–2020), U.S.-China Economic and Security Review Commission. 2017. Available online: https://www.uscc.gov/sites/default/files/Research/The%2013th%20Five-Year%20Plan_Final_2.14.17_Updated%20(002).pdf (accessed on 6 January 2023).
- Larcher, D.; Tarascon, J.-M. Towards Greener and More Sustainable Batteries for Electrical Energy Storage. Nat. Chem. 2014, 7, 19–29. [Google Scholar] [CrossRef]
- Forti, V.; Baldé, C.P.; Kuehr, R.; Bel, G.; The Global E-Waste. Monitor 2020-Quantities, Flows, and the Circular Economy Potential. 2020. Available online: https://ewastemonitor.info/wp-content/uploads/2020/11/GEM_2020_def_july1_low.pdf (accessed on 6 January 2023).
- Fahimi, A.; Ducoli, S.; Federici, S.; Ye, G.; Mousa, E.; Frontera, P.; Bontempi, E. Evaluation of the Sustainability of Technologies to Recycle Spent Lithium-Ion Batteries, Based on Embodied Energy and Carbon Footprint. J. Clean. Prod. 2022, 338, 130493. [Google Scholar] [CrossRef]
- European Commission. Regulation of the European Parliament and the Council Concerning Batteries and Waste Batteries, Repealing Directive 2006/66/EC and Amending Regulation (EU) No2019/1020. 2020. Available online: https://eur-lex.europa.eu/legal-content/EN/TXT/?uri=CELEX:52020PC0798 (accessed on 6 January 2023).
- The Federal Universal Waste Regulations, in Title 40 of the Code of Federal Regulations (CFR) in Part 273 1995. Available online: https://www.ecfr.gov/current/title-40/part-261/subpart-D (accessed on 6 January 2023).
- Bureau of National Affairs (Arlington, V.). Environment Reporter: Cases; Bureau of National Affairs: Virginia, NV, USA, 1996. [Google Scholar]
- Wu, J.; Zheng, M.; Liu, T.; Wang, Y.; Liu, Y.; Nai, J.; Zhang, L.; Zhang, S.; Tao, X. Direct recovery: A sustainable recycling technology for spent lithium-ion battery. Energy Storage Mater. 2023, 54, 120–134. [Google Scholar] [CrossRef]
- State of California, California Rechargeable Battery Recycling Act of 2006. 2005. Available online: https://dtsc.ca.gov/fs-ab1125/ (accessed on 6 January 2023).
- State of Puerto Rico. Puerto Rico Electronics Recycling and Disposal Promotion Act. 2012. Available online: https://casetext.com/statute/laws-of-puerto-rico/title-twelve-conservation/subtitle-8-environment-ii/chapter-507-puerto-rico-electronics-recycling-and-disposal-promotion-act (accessed on 6 January 2023).
- New York State. Laws of New York Chapter 562-2010. Available online: https://www.call2recycle.org/wp-content/uploads/Chaptered-New-York-State-Law.pdf (accessed on 6 January 2023).
- State of Minnesota. 2022 Minnesota Statutes. 2022. Available online: https://www.revisor.mn.gov/statutes/cite/325E.125 (accessed on 7 July 2022).
- Sun, S.; Jin, C.; He, W.; Li, G.; Zhu, H.; Huang, J. Management Status of Waste Lithium-Ion Batteries in China and a Complete Closed-Circuit Recycling Process. Sci. Total Environ. 2021, 776, 145913. [Google Scholar] [CrossRef]
- Brückner, L.; Frank, J.; Elwert, T. Industrial Recycling of Lithium-Ion Batteries—A Critical Review of Metallurgical Process Routes. Metals 2020, 10, 1107. [Google Scholar] [CrossRef]
- Doose, S.; Mayer, J.K.; Michalowski, P.; Kwade, A. Challenges in Ecofriendly Battery Recycling and Closed Material Cycles: A Perspective on Future Lithium Battery Generations. Metals 2021, 11, 291. [Google Scholar] [CrossRef]
- He, K.; Zhang, Z.-Y.; Zhang, F.-S. Synthesis of Graphene and Recovery of Lithium from Lithiated Graphite of Spent Li-Ion Battery. Waste Manag. 2021, 124, 283–292. [Google Scholar] [CrossRef]
- Liu, C.; Lin, J.; Cao, H.; Zhang, Y.; Sun, Z. Recycling of Spent Lithium-Ion Batteries in View of Lithium Recovery: A Critical Review. J. Clean. Prod. 2019, 228, 801–813. [Google Scholar] [CrossRef]
- Lv, W.; Wang, Z.; Cao, H.; Sun, Y.; Zhang, Y.; Sun, Z. A Critical Review and Analysis on the Recycling of Spent Lithium-Ion Batteries. ACS Sustain. Chem. Eng. 2018, 6, 1504–1521. [Google Scholar] [CrossRef]
- Velázquez-Martínez, O.; Valio, J.; Santasalo-Aarnio, A.; Reuter, M.; Serna-Guerrero, R. A Critical Review of Lithium-Ion Battery Recycling Processes from a Circular Economy Perspective. Batteries 2019, 5, 68. [Google Scholar] [CrossRef]
- Windisch-Kern, S.; Gerold, E.; Nigl, T.; Jandric, A.; Altendorfer, M.; Rutrecht, B.; Scherhaufer, S.; Raupenstrauch, H.; Pomberger, R.; Antrekowitsch, H.; et al. Recycling Chains for Lithium-Ion Batteries: A Critical Examination of Current Challenges, Opportunities and Process Dependencies. Waste Manag. 2022, 138, 125–139. [Google Scholar] [CrossRef]
- Winslow, K.M.; Laux, S.J.; Townsend, T.G. A Review on the Growing Concern and Potential Management Strategies of Waste Lithium-Ion Batteries. Resour. Conserv. Recycl. 2018, 129, 263–277. [Google Scholar] [CrossRef]
- Ali, H.; Khan, H.A.; Pecht, M. Preprocessing of Spent Lithium-Ion Batteries for Recycling: Need, Methods, and Trends. Renew. Sustain. Energy Rev. 2022, 168, 112809. [Google Scholar] [CrossRef]
- Botelho Junior, A.B.; Stopic, S.; Friedrich, B.; Tenório, J.A.S.; Espinosa, D.C.R. Cobalt Recovery from Li-Ion Battery Recycling: A Critical Review. Metals 2021, 11, 1999. [Google Scholar] [CrossRef]
- Mossali, E.; Picone, N.; Gentilini, L.; Rodrìguez, O.; Pérez, J.M.; Colledani, M. Lithium-Ion Batteries towards Circular Economy: A Literature Review of Opportunities and Issues of Recycling Treatments. J. Environ. Manag. 2020, 264, 110500. [Google Scholar] [CrossRef]
- Yun, L.; Linh, D.; Shui, L.; Peng, X.; Garg, A.; Le, M.L.P.; Asghari, S.; Sandoval, J. Metallurgical and Mechanical Methods for Recycling of Lithium-Ion Battery Pack for Electric Vehicles. Resour. Conserv. Recycl. 2018, 136, 198–208. [Google Scholar] [CrossRef]
- Warner, J. 7-Lithium-Ion Battery Packs for EVs. In Lithium-Ion Batteries; Pistoia, G., Ed.; Elsevier: Amsterdam, The Netherlands, 2014; pp. 127–150. ISBN 9780444595133. [Google Scholar]
- El Mofid, W.; Ivanov, S.; Konkin, A.; Bund, A. A High-Performance Layered Transition Metal Oxide Cathode Material Obtained by Simultaneous Aluminum and Iron Cationic Substitution. J. Power Sources 2014, 268, 414–422. [Google Scholar] [CrossRef]
- Zhao, S.; Guo, Z.; Yan, K.; Wan, S.; He, F.; Sun, B.; Wang, G. Towards High-Energy-Density Lithium-Ion Batteries: Strategies for Developing High-Capacity Lithium-Rich Cathode Materials. Energy Storage Mater. 2021, 34, 716–734. [Google Scholar] [CrossRef]
- Bharathraj, S.; Adiga, S.P.; Mayya, K.S.; Song, T.; Kim, J.; Sung, Y. Degradation-Guided Optimization of Charging Protocol for Cycle Life Enhancement of Li-Ion Batteries with Lithium Manganese Oxide-Based Cathodes. J. Power Sources 2020, 474, 228659. [Google Scholar] [CrossRef]
- Chen, Y.; Wang, G.X.; Konstantinov, K.; Liu, H.K.; Dou, S.X. Synthesis and Characterization of LiCoxMnyNi1−x−yO2 as a Cathode Material for Secondary Lithium Batteries. J. Power Sources 2003, 119–121, 184–188. [Google Scholar] [CrossRef]
- Li, Y.-C.; Xiang, W.; Wu, Z.-G.; Xu, C.-L.; Xu, Y.-D.; Xiao, Y.; Yang, Z.-G.; Wu, C.-J.; Lv, G.-P.; Guo, X.-D. Construction of Homogeneously Al3+ Doped Ni Rich Ni-Co-Mn Cathode with High Stable Cycling Performance and Storage Stability via Scalable Continuous Precipitation. Electrochim. Acta 2018, 291, 84–94. [Google Scholar] [CrossRef]
- Wang, Z.; Liu, E.; He, C.; Shi, C.; Li, J.; Zhao, N. Effect of Amorphous FePO4 Coating on Structure and Electrochemical Performance of Li1.2Ni0.13Co0.13Mn0.54O2 as Cathode Material for Li-Ion Batteries. J. Power Sources 2013, 236, 25–32. [Google Scholar] [CrossRef]
- Xiang, W.; Zhu, C.-Q.; Zhang, J.; Shi, H.; Liang, Y.-T.; Yu, M.-H.; Zhu, X.-M.; He, F.-R.; Lv, G.-P.; Guo, X.-D. Synergistic Coupling Effect of Sodium and Fluorine Co-Substitution on Enhancing Rate Capability and Cycling Performance of Ni-Rich Cathode for Lithium Ion Battery. J. Alloys Compd. 2019, 786, 56–64. [Google Scholar] [CrossRef]
- Mekonnen, Y.; Sundararajan, A.; Sarwat, A.I. A Review of Cathode and Anode Materials for Lithium-Ion Batteries. In SoutheastCon 2016; IEEE: Norfolk, VA, USA, 2016. [Google Scholar]
- Daniel, C.; Mohanty, D.; Li, J.; Wood, D.L. Cathode Materials Review. AIP Conf. Proc. 2014, 1597, 26–43. [Google Scholar] [CrossRef]
- Wild, M.; O’Neill, L.; Zhang, T.; Purkayastha, R.; Minton, G.; Marinescu, M.; Offer, G.J. Lithium Sulfur Batteries, a Mechanistic Review. Energy Environ. Sci. 2015, 8, 3477–3494. [Google Scholar] [CrossRef]
- Lahiri, I.; Choi, W. Carbon Nanostructures in Lithium Ion Batteries: Past, Present, and Future. Crit. Rev. Solid State Mater. Sci. 2013, 38, 128–166. [Google Scholar] [CrossRef]
- Winter, M.; Besenhard, J.O.; Spahr, M.E.; Novák, P. Insertion Electrode Materials for Rechargeable Lithium Batteries. Adv. Mater. 1998, 10, 725–763. [Google Scholar] [CrossRef]
- Nitta, N.; Wu, F.; Lee, J.T.; Yushin, G. Li-Ion Battery Materials: Present and Future. Mater. Today 2015, 18, 252–264. [Google Scholar] [CrossRef]
- Nemeth, T.; Schröer, P.; Kuipers, M.; Sauer, D.U. Lithium Titanate Oxide Battery Cells for High-Power Automotive Applications—Electro-Thermal Properties, Aging Behavior and Cost Considerations. J. Energy Storage 2020, 31, 101656. [Google Scholar] [CrossRef]
- Meng, X. Recent Progress of Graphene as Cathode Materials in Lithium Ion Batteries. IOP Conf. Ser.: Earth Environ. Sci. 2019, 300, 042039. [Google Scholar] [CrossRef]
- Martins, L.S.; Guimarães, L.F.; Botelho Junior, A.B.; Tenório, J.A.S.; Espinosa, D.C.R. Electric Car Battery: An Overview on Global Demand, Recycling and Future Approaches towards Sustainability. J. Environ. Manag. 2021, 295, 113091. [Google Scholar] [CrossRef] [PubMed]
- Contestabile, M.; Panero, S.; Scrosati, B. A Laboratory-Scale Lithium-Ion Battery Recycling Process. J. Power Sources 2001, 92, 65–69. [Google Scholar] [CrossRef]
- Xu, J.; Thomas, H.R.; Francis, R.W.; Lum, K.R.; Wang, J.; Liang, B. A Review of Processes and Technologies for the Recycling of Lithium-Ion Secondary Batteries. J. Power Sources 2008, 177, 512–527. [Google Scholar] [CrossRef]
- Yu, J.; Lin, M.; Tan, Q.; Li, J. High-Value Utilization of Graphite Electrodes in Spent Lithium-Ion Batteries: From 3D Waste Graphite to 2D Graphene Oxide. J. Hazard. Mater. 2021, 401, 123715. [Google Scholar] [CrossRef]
- Rothermel, S.; Evertz, M.; Kasnatscheew, J.; Qi, X.; Grützke, M.; Winter, M.; Nowak, S. Graphite Recycling from Spent Lithium-Ion Batteries. ChemSusChem 2016, 9, 3473–3484. [Google Scholar] [CrossRef]
- Badawy, S.M. Synthesis of High-Quality Graphene Oxide from Spent Mobile Phone Batteries. Environ. Prog. Sustain. Energy 2016, 35, 1485–1491. [Google Scholar] [CrossRef]
- Blomgren, G.E. The Development and Future of Lithium Ion Batteries. J. Electrochem. Soc. 2016, 164, A5019. [Google Scholar] [CrossRef]
- Sun, X.; Hao, H.; Zhao, F.; Liu, Z. Tracing Global Lithium Flow: A Trade-Linked Material Flow Analysis. Resour. Conserv. Recycl. 2017, 124, 50–61. [Google Scholar] [CrossRef]
- Zubi, G.; Dufo-López, R.; Carvalho, M.; Pasaoglu, G. The Lithium-Ion Battery: State of the Art and Future Perspectives. Renew. Sustain. Energy Rev. 2018, 89, 292–308. [Google Scholar] [CrossRef]
- Rallo, H.; Benveniste, G.; Gestoso, I.; Amante, B. Economic Analysis of the Disassembling Activities to the Reuse of Electric Vehicles Li-Ion Batteries. Resour. Conserv. Recycl. 2020, 159, 104785. [Google Scholar] [CrossRef]
- Glöser-Chahoud, S.; Pfaff, M.; Walz, R.; Schultmann, F. Simulating the Service Lifetimes and Storage Phases of Consumer Electronics in Europe with a Cascade Stock and Flow Model. J. Clean. Prod. 2019, 213, 1313–1321. [Google Scholar] [CrossRef]
- Yang, F.; Xie, Y.; Deng, Y.; Yuan, C. Predictive Modeling of Battery Degradation and Greenhouse Gas Emissions from U.S. State-Level Electric Vehicle Operation. Nat. Commun. 2018, 9, 2429. [Google Scholar] [CrossRef] [PubMed]
- Casals, L.C.; Amante García, B.; Canal, C. Second Life Batteries Lifespan: Rest of UsefuLife and Environmental Analysis. J. Environ. Manag. 2019, 232, 354–363. [Google Scholar] [CrossRef]
- Gaines, L.; Richa, K.; Spangenberger, J. Key Issues for Li-Ion Battery Recycling. MRS Energy Sustain. 2018, 5, E14. [Google Scholar] [CrossRef]
- IEA. Global EV Outlook 2020. Available online: https://www.iea.org/reports/global-ev-outlook-2020 (accessed on 3 June 2022).
- Forti, V.; Balde, C.P.; Kuehr, R.; Bel, G. The Global E-Waste Monitor 2020: Quantities, Flows and the Circular Economy Potential; United Nations University: Bonn, Germany; United Nations Institute for Training and Research: Geneva, Switzerland; International Telecommunication Union: Geneva, Switzerland; International Solid Waste Association: Rotterdam, The Netherlands, 2020; ISBN 9789280891140. [Google Scholar]
- Wang, X.; Gaustad, G.; Babbitt, C.W.; Richa, K. Economies of Scale for Future Lithium-Ion Battery Recycling Infrastructure. Resour. Conserv. Recycl. 2014, 83, 53–62. [Google Scholar] [CrossRef]
- Chen, M.; Ma, X.; Chen, B.; Arsenault, R.; Karlson, P.; Simon, N.; Wang, Y. Recycling End-of-Life Electric Vehicle Lithium-Ion Batteries. Joule 2019, 3, 2622–2646. [Google Scholar] [CrossRef]
- European Parliament. Directive 2008/98/ec of the European Parliament and of the Council EUR-Lex. 2008. Available online: https://eur-lex.europa.eu/legal-content/EN/TXT/?uri=CELEX%3A32008L0098 (accessed on 3 June 2022).
- Li, W.; Yang, M.; Long, R.; Mamaril, K.; Chi, Y. Treatment of Electric Vehicle Battery Waste in China: A Review of Existing Policies. J. Environ. Eng. Landsc. Manag. 2021, 29, 111–122. [Google Scholar] [CrossRef]
- Alper, J. Batteries. The Battery: Not yet a Terminal Case. Science 2002, 296, 1224–1226. [Google Scholar] [CrossRef] [PubMed]
- Guimarães, L.F.; Botelho Junior, A.B.; Espinosa, D.C.R. Sulfuric Acid Leaching of Metals from Waste Li-Ion Batteries without Using Reducing Agent. Miner. Eng. 2022, 183, 107597. [Google Scholar] [CrossRef]
- Harper, G.; Sommerville, R.; Kendrick, E.; Driscoll, L.; Slater, P.; Stolkin, R.; Walton, A.; Christensen, P.; Heidrich, O.; Lambert, S.; et al. Recycling Lithium-Ion Batteries from Electric Vehicles. Nature 2019, 575, 75–86. [Google Scholar] [CrossRef] [PubMed]
- Diekmann, J.; Hanisch, C.; Froböse, L.; Schälicke, G.; Loellhoeffel, T.; Fölster, A.-S.; Kwade, A. Ecological Recycling of Lithium-Ion Batteries from Electric Vehicles with Focus on Mechanical Processes. J. Electrochem. Soc. 2016, 164, A6184. [Google Scholar] [CrossRef]
- Lee, C.K.; Rhee, K.-I. Preparation of LiCoO2 from Spent Lithium-Ion Batteries. J. Power Sources 2002, 109, 17–21. [Google Scholar] [CrossRef]
- Jafari, M.; Torabian, M.M.; Bazargan, A. A Facile Chemical-Free Cathode Powder Separation Method for Lithium Ion Battery Resource Recovery. J. Energy Storage 2020, 31, 101564. [Google Scholar] [CrossRef]
- Ojanen, S.; Lundström, M.; Santasalo-Aarnio, A.; Serna-Guerrero, R. Challenging the Concept of Electrochemical Discharge Using Salt Solutions for Lithium-Ion Batteries Recycling. Waste Manag. 2018, 76, 242–249. [Google Scholar] [CrossRef]
- Castro, F.D.; Mehner, E.; Cutaia, L.; Vaccari, M. Life Cycle Assessment of an Innovative Lithium-Ion Battery Recycling Route: A Feasibility Study. J. Clean. Prod. 2022, 368, 133130. [Google Scholar] [CrossRef]
- Li, J.; Wang, G.; Xu, Z. Generation and Detection of Metal Ions and Volatile Organic Compounds (VOCs) Emissions from the Pretreatment Processes for Recycling Spent Lithium-Ion Batteries. Waste Manag. 2016, 52, 221–227. [Google Scholar] [CrossRef]
- Nan, J.; Han, D.; Zuo, X. Recovery of Metal Values from Spent Lithium-Ion Batteries with Chemical Deposition and Solvent Extraction. J. Power Sources 2005, 152, 278–284. [Google Scholar] [CrossRef]
- Gratz, E.; Sa, Q.; Apelian, D.; Wang, Y. A Closed Loop Process for Recycling Spent Lithium Ion Batteries. J. Power Sources 2014, 262, 255–262. [Google Scholar] [CrossRef]
- Grandjean, T.R.B.; Groenewald, J.; Marco, J. The Experimental Evaluation of Lithium Ion Batteries after Flash Cryogenic Freezing. J. Energy Storage 2019, 21, 202–215. [Google Scholar] [CrossRef]
- Torabian, M.M.; Jafari, M.; Bazargan, A. Discharge of Lithium-Ion Batteries in Salt Solutions for Safer Storage, Transport, and Resource Recovery. Waste Manag. Res. 2022, 40, 402–409. [Google Scholar] [CrossRef] [PubMed]
- Smith, N.W.; Swoffer, S. Process for Recovering and Regenerating Lithium Cathode Material from Lithium-Ion Batteries. U.S. Patent No.: US 8882007B1, 11 November 2014. [Google Scholar]
- Batrec, A.G. Batrec.ch. 2021. Available online: https://batrec.ch/en/battery-recycling/ (accessed on 3 January 2023).
- Tedjar, F.; Foudraz, J.-C. Method for the Mixed Recycling of Lithium-Based Anode Batteries and Cells. U.S. Patent 10/593,332, 27 August 2007. [Google Scholar]
- Cheret, D.; Santen, S. Battery Recycling. U.S. Patent 7,169,206 B2, 30 January 2007. [Google Scholar]
- Guo, R.; Lu, L.; Ouyang, M.; Feng, X. Mechanism of the Entire Overdischarg Process and Overdischarge-Induced Internal Short Circuit in Lithium-Ion Batteries. Sci. Rep. 2016, 6, 30248. [Google Scholar] [CrossRef]
- Nie, H.; Xu, L.; Song, D.; Song, J.; Shi, X.; Wang, X.; Zhang, L.; Yuan, Z. LiCoO2: Recycling from Spent Batteries and Regeneration with Solid State Synthesis. Green Chem. 2015, 17, 1276–1280. [Google Scholar] [CrossRef]
- Song, X.; Dai, S.; Xu, Y.; Xie, Y. Experimental Study on the Discharge of the Waste Lithium Ion Battery. Appl. Chem. Ind. 2015, 4, 594–597. [Google Scholar]
- Yao, L.P.; Zeng, Q.; Qi, T.; Li, J. An Environmentally Friendly Discharge Technology to Pretreat Spent Lithium-Ion Batteries. J. Clean. Prod. 2020, 245, 118820. [Google Scholar] [CrossRef]
- Li, H.; Dai, J.; Wang, A.; Zhao, S.; Ye, H.; Zhang, J. Recycling and Treatment of Waste Batteries. IOP Conf. Ser. Mater. Sci. Eng. 2019, 612, 052020. [Google Scholar] [CrossRef]
- Zhang, X.; Li, L.; Fan, E.; Xue, Q.; Bian, Y.; Wu, F.; Chen, R. Toward Sustainable and Systematic Recycling of Spent Rechargeable Batteries. Chem. Soc. Rev. 2018, 47, 7239–7302. [Google Scholar] [CrossRef]
- Li, L.; Zheng, P.; Yang, T.; Sturges, R.; Ellis, M.W.; Li, Z. Disassembly Automation for Recycling End-of-Life Lithium-Ion Pouch Cells. JOM-J. Miner. Met. Mater. Soc. 2019, 71, 4457–4464. [Google Scholar] [CrossRef]
- Fröhlich, S.; Sewing, D. The BATENUS Process for Recycling Mixed Battery Waste. J. Power Sources 1995, 57, 27–30. [Google Scholar] [CrossRef]
- Pinegar, H.; Smith, Y.R. Recycling of End-of-Life Lithium Ion Batteries, Part I: Commercial Processes. J. Sustain. Met. 2019, 5, 402–416. [Google Scholar] [CrossRef]
- Rosova, K. Li-Cycle: Sustainable Lithium-Ion Battery Recycling Technology. 2022. Available online: https://www.innovationnewsnetwork.com/li-cycle-sustainable-lithium-ion-battery-recycling-technology/21097/ (accessed on 6 January 2023).
- Granata, G.; Pagnanelli, F.; Moscardini, E.; Takacova, Z.; Havlik, T.; Toro, L. Simultaneous Recycling of Nickel Metal Hydride, Lithium Ion and Primary Lithium Batteries: Accomplishment of European Guidelines by Optimizing Mechanical Pre-Treatment and Solvent Extraction Operations. J. Power Sources 2012, 212, 205–211. [Google Scholar] [CrossRef]
- Zhang, T.; He, Y.; Ge, L.; Fu, R.; Zhang, X.; Huang, Y. Characteristics of Wet and Dry Crushing Methods in the Recycling Process of Spent Lithium-Ion Batteries. J. Power Sources 2013, 240, 766–771. [Google Scholar] [CrossRef]
- Zhang, T.; He, Y.; Wang, F.; Ge, L.; Zhu, X.; Li, H. Chemical and Process Mineralogical Characterizations of Spent Lithium-Ion Batteries: An Approach by Multi-Analytical Techniques. Waste Manag. 2014, 34, 1051–1058. [Google Scholar] [CrossRef] [PubMed]
- Li, L.; Ge, J.; Chen, R.; Wu, F.; Chen, S.; Zhang, X. Environmental Friendly Leaching Reagent for Cobalt and Lithium Recovery from Spent Lithium-Ion Batteries. Waste Manag. 2010, 30, 2615–2621. [Google Scholar] [CrossRef] [PubMed]
- Li, L.; Ge, J.; Wu, F.; Chen, R.; Chen, S.; Wu, B. Recovery of Cobalt and Lithium from Spent Lithium Ion Batteries Using Organic Citric Acid as Leachant. J. Hazard. Mater. 2010, 176, 288–293. [Google Scholar] [CrossRef]
- Li, L.; Dunn, J.B.; Zhang, X.X.; Gaines, L.; Chen, R.J.; Wu, F.; Amine, K. Recovery of Metals from Spent Lithium-Ion Batteries with Organic Acids as Leaching Reagents and Environmental Assessment. J. Power Sources 2013, 233, 180–189. [Google Scholar] [CrossRef]
- Guan, J.; Li, Y.; Guo, Y.; Su, R.; Gao, G.; Song, H.; Yuan, H.; Liang, B.; Guo, Z. Mechanochemical Process Enhanced Cobalt and Lithium Recycling from Wasted Lithium-Ion Batteries. ACS Sustain. Chem. Eng. 2017, 5, 1026–1032. [Google Scholar] [CrossRef]
- Pagnanelli, F.; Moscardini, E.; Altimari, P.; Abo Atia, T.; Toro, L. Cobalt Products from Real Waste Fractions of End of Life Lithium Ion Batteries. Waste Manag. 2016, 51, 214–221. [Google Scholar] [CrossRef]
- Wang, X.; Gaustad, G.; Babbitt, C.W. Targeting High Value Metals in Lithium-Ion Battery Recycling via Shredding and Size-Based Separation. Waste Manag. 2016, 51, 204–213. [Google Scholar] [CrossRef]
- Barik, S.P.; Prabaharan, G.; Kumar, L. Leaching and Separation of Co and Mn from Electrode Materials of Spent Lithium-Ion Batteries Using Hydrochloric Acid: Laboratory and Pilot Scale Study. J. Clean. Prod. 2017, 147, 37–43. [Google Scholar] [CrossRef]
- Diekmann, K.A.A. Recycling of Lithium-Ion Batteries [Electronic Resource]: The LithoRec Way; Arno Kwade, J.D., Ed.; Springer International Publishing: Cham, Switzerland, 2018; Volume 1, ISBN 9783319705729. [Google Scholar]
- He, Y.; Zhang, T.; Wang, F.; Zhang, G.; Zhang, W.; Wang, J. Recovery of LiCoO2 and Graphite from Spent Lithium-Ion Batteries by Fenton Reagent-Assisted Flotation. J. Clean. Prod. 2017, 143, 319–325. [Google Scholar] [CrossRef]
- Yu, J.; He, Y.; Ge, Z.; Li, H.; Xie, W.; Wang, S. A Promising Physical Method for Recovery of LiCoO2 and Graphite from Spent Lithium-Ion Batteries: Grinding Flotation. Sep. Purif. Technol. 2018, 190, 45–52. [Google Scholar] [CrossRef]
- Wang, H.; Liu, J.; Bai, X.; Wang, S.; Yang, D.; Fu, Y.; He, Y. Separation of the Cathode Materials from the Al Foil in Spent Lithium-Ion Batteries by Cryogenic Grinding. Waste Manag. 2019, 91, 89–98. [Google Scholar] [CrossRef] [PubMed]
- Liu, J.; Wang, H.; Hu, T.; Bai, X.; He, Y. Recovery of LiCoO2 and Graphite from Spent Lithium-Ion Batteries by Cryogenic Grinding and Froth Flotation. Miner. Eng. 2020, 148, 106223. [Google Scholar] [CrossRef]
- Wuschke, L.; Jäckel, H.-G.; Leißner, T.; Peuker, U.A. Crushing of Large Li-Ion Battery Cells. Waste Manag. 2019, 85, 317–326. [Google Scholar] [CrossRef] [PubMed]
- Widijatmoko, S.D.; Gu, F.; Wang, Z.; Hall, P. Selective Liberation in Dry Milled Spent Lithium-Ion Batteries. Sustain. Mater. Technol. 2020, 23, e00134. [Google Scholar] [CrossRef]
- Zhan, R.; Payne, T.; Leftwich, T.; Perrine, K.; Pan, L. De-Agglomeration of Cathode Composites for Direct Recycling of Li-Ion Batteries. Waste Manag. 2020, 105, 39–48. [Google Scholar] [CrossRef] [PubMed]
- Shin, S.M.; Kim, N.H.; Sohn, J.S.; Yang, D.H.; Kim, Y.H. Development of a Metal Recovery from Li-Ion Battery Wastes. Hydrometallurgy 2005, 3–4, 172–181. [Google Scholar] [CrossRef]
- Granata, G.; Moscardini, E.; Pagnanelli, F.; Trabucco, F.; Toro, L. Product Recovery from Li-Ion Battery Wastes Coming from an Industrial Pre-Treatment Plant: Lab Scale Tests and Process Simulations. J. Power Sources 2012, 206, 393–401. [Google Scholar] [CrossRef]
- Li, J.; Shi, P.; Wang, Z.; Chen, Y.; Chang, C.-C. A Combined Recovery Process of Metals in Spent Lithium-Ion Batteries. Chemosphere 2009, 77, 1132–1136. [Google Scholar] [CrossRef]
- Zhang, G.; Du, Z.; He, Y.; Wang, H.; Xie, W.; Zhang, T. A Sustainable Process for the Recovery of Anode and Cathode Materials Derived from Spent Lithium-Ion Batteries. Sustain. Sci. Pract. Policy 2019, 11, 2363. [Google Scholar] [CrossRef]
- Zhang, G.; He, Y.; Feng, Y.; Wang, H. Enhancement in Liberation of Electrode Materials Derived from Spent Lithium-Ion Battery by Pyrolysis. J. Clean. Prod. 2018, 199, 62–68. [Google Scholar] [CrossRef]
- Zhang, G.; He, Y.; Wang, H.; Feng, Y.; Xie, W.; Zhu, X. Removal of Organics by Pyrolysis for Enhancing Liberation and Flotation Behavior of Electrode Materials Derived from Spent Lithium-Ion Batteries. ACS Sustain. Chem. Eng. 2020, 8, 2205–2214. [Google Scholar] [CrossRef]
- Vieceli, N.; Nogueira, C.A.; Guimarães, C.; Pereira, M.F.C.; Durão, F.O.; Margarido, F. Hydrometallurgical Recycling of Lithium-Ion Batteries by Reductive Leaching with Sodium Metabisulphite. Waste Manag. 2018, 71, 350–361. [Google Scholar] [CrossRef]
- Peng, C.; Liu, F.; Aji, A.T.; Wilson, B.P.; Lundström, M. Extraction of Li and Co from Industrially Produced Li-Ion Battery Waste—Using the Reductive Power of Waste Itself. Waste Manag. 2019, 95, 604–611. [Google Scholar] [CrossRef]
- Yu, J.; Tan, Q.; Li, J. Exploring a Green Route for Recycling Spent Lithium-Ion Batteries: Revealing and Solving Deep Screening Problem. J. Clean. Prod. 2020, 255, 120269. [Google Scholar] [CrossRef]
- Widijatmoko, S.D.; Gu, F.; Wang, Z.; Hall, P. Recovering Lithium Cobalt Oxide, Aluminium, and Copper from Spent Lithium-Ion Battery via Attrition Scrubbing. J. Clean. Prod. 2020, 260, 120869. [Google Scholar] [CrossRef]
- Liu, Y.; Hu, Q.; Li, X.; Wang, Z.; Guo, H. Recycle and Synthesis of LiCoO2 from Incisors Bound of Li-Ion Batteries. Trans. Nonferrous Met. Soc. China 2006, 16, 956–959. [Google Scholar] [CrossRef]
- Song, D.; Wang, X.; Zhou, E.; Hou, P.; Zhang, L. Recovery and Heat Treatment of the Li(Ni1/3Co1/3Mn1/3)O2 Cathode Scrap Material for Lithium Ion Battery. J. Power Sources 2013, 232, 348–352. [Google Scholar] [CrossRef]
- Song, D.; Wang, X.; Nie, H.; Shi, H.; Wang, D.; Guo, F.; Shi, X.; Zhang, L. Heat Treatment of LiCoO2 Recovered from Cathode Scraps with Solvent Method. J. Power Sources 2014, 249, 137–141. [Google Scholar] [CrossRef]
- Xu, Y.; Song, D.; Li, L.; An, C.; Wang, Y.; Jiao, L.; Yuan, H. A Simple Solvent Method for the Recovery of LixCoO2 and Its Applications in Alkaline Rechargeable Batteries. J. Power Sources 2014, 252, 286–291. [Google Scholar] [CrossRef]
- Yang, L.; Xi, G.; Xi, Y. Recovery of Co, Mn, Ni, and Li from Spent Lithium Ion Batteries for the Preparation of LiNi Co Mn O2 Cathode Materials. Ceram. Int. 2015, 41, 11498–11503. [Google Scholar] [CrossRef]
- He, L.-P.; Sun, S.-Y.; Song, X.-F.; Yu, J.-G. Recovery of Cathode Materials and Al from Spent Lithium-Ion Batteries by Utrasonic Cleaning. Waste Manag. 2015, 46, 523–528. [Google Scholar] [CrossRef]
- Nayaka, G.P.; Zhang, Y.; Dong, P.; Wang, D.; Pai, K.V.; Manjanna, J.; Santhosh, G.; Duan, J.; Zhou, Z.; Xiao, J. Effective and Environmentally Friendly Recycling Process Designed for LiCoO2 Cathode Powders of Spent Li-Ion Batteries Using Mixture of Mild Organic Acids. Waste Manag. 2018, 78, 51–57. [Google Scholar] [CrossRef]
- He, K.; Zhang, Z.-Y.; Zhang, F.-S. Selectively Peeling of Spent LiFePO4 Cathode by Destruction of Crystal Structure and Binder Matrix for Efficient Recycling of Spent Battery Materials. J. Hazard. Mater. 2020, 386, 121633. [Google Scholar] [CrossRef]
- Wang, M.; Tan, Q.; Liu, L.; Li, J. Efficient Separation of Aluminum Foil and Cathode Materials from Spent Lithium-Ion Batteries Using a Low-Temperature Molten Salt. ACS Sustain. Chem. Eng. 2019, 7, 8287–8294. [Google Scholar] [CrossRef]
- He, K.; Zhang, Z.-Y.; Alai, L.; Zhang, F.-S. A Green Process for Exfoliating Electrode Materials and Simultaneously Extracting Electrolyte from Spent Lithium-Ion Batteries. J. Hazard. Mater. 2019, 375, 43–51. [Google Scholar] [CrossRef]
- Nayaka, G.P.; Zhang, Y.; Dong, P.; Wang, D.; Zhou, Z.; Duan, J.; Li, X.; Lin, Y.; Meng, Q.; Pai, K.V.; et al. An Environmental Friendly Attempt to Recycle the Spent Li-Ion Battery Cathode through Organic Acid Leaching. J. Environ. Chem. Eng. 2019, 7, 102854. [Google Scholar] [CrossRef]
- Fouad, O.A.; Farghaly, F.I.; Bahgat, M. A Novel Approach for Synthesis of Nanocrystalline γ-LiAlO2 from Spent Lithium-Ion Batteries. J. Anal. Appl. Pyrolysis 2007, 78, 65–69. [Google Scholar] [CrossRef]
- Sun, L.; Qiu, K. Vacuum Pyrolysis and Hydrometallurgical Process for the Recovery of Valuable Metals from Spent Lithium-Ion Batteries. J. Hazard. Mater. 2011, 194, 378–384. [Google Scholar] [CrossRef] [PubMed]
- Kim, H.S.; Shin, E.J. Re-Synthesis and Electrochemical Characteristics of LiFePO4 Cathode Materials Recycled from Scrap Electrodes. Bull. Korean Chem. Soc. 2013, 34, 851–855. [Google Scholar] [CrossRef]
- Zheng, R.; Zhao, L.; Wang, W.; Liu, Y.; Ma, Q.; Mu, D.; Li, R.; Dai, C. Optimized Li and Fe Recovery from Spent Lithium-Ion Batteries via a Solution-Precipitation Method. RSC Adv. 2016, 6, 43613–43625. [Google Scholar] [CrossRef]
- Yang, Y.; Huang, G.; Xu, S.; He, Y.; Liu, X. Thermal Treatment Process for the Recovery of Valuable Metals from Spent Lithium-Ion Batteries. Hydrometallurgy 2016, 165, 390–396. [Google Scholar] [CrossRef]
- Xiao, J.; Li, J.; Xu, Z. Novel Approach for in Situ Recovery of Lithium Carbonate from Spent Lithium Ion Batteries Using Vacuum Metallurgy. Environ. Sci. Technol. 2017, 51, 11960–11966. [Google Scholar] [CrossRef]
- Xiao, J.; Li, J.; Xu, Z. Recycling Metals from Lithium Ion Battery by Mechanical Separation and Vacuum Metallurgy. J. Hazard. Mater. 2017, 338, 124–131. [Google Scholar] [CrossRef]
- Zhang, G.; He, Y.; Feng, Y.; Wang, H.; Zhu, X. Pyrolysis-Ultrasonic-Assisted Flotation Technology for Recovering Graphite and LiCoO2 from Spent Lithium-Ion Batteries. ACS Sustain. Chem. Eng. 2018, 6, 10896–10904. [Google Scholar] [CrossRef]
- Zhang, G.; He, Y.; Wang, H.; Feng, Y.; Xie, W.; Zhu, X. Application of Mechanical Crushing Combined with Pyrolysis-Enhanced Flotation Technology to Recover Graphite and LiCoO2 from Spent Lithium-Ion Batteries. J. Clean. Prod. 2019, 231, 1418–1427. [Google Scholar] [CrossRef]
- Wang, F.; Zhang, T.; He, Y.; Zhao, Y.; Wang, S.; Zhang, G.; Zhang, Y.; Feng, Y. Recovery of Valuable Materials from Spent Lithium-Ion Batteries by Mechanical Separation and Thermal Treatment. J. Clean. Prod. 2018, 185, 646–652. [Google Scholar] [CrossRef]
- Diaz, F.; Wang, Y.; Moorthy, T.; Friedrich, B. Degradation Mechanism of Nickel-Cobalt-Aluminum (NCA) Cathode Material from Spent Lithium-Ion Batteries in Microwave-Assisted Pyrolysis. Metals 2018, 8, 565. [Google Scholar] [CrossRef]
- Wang, M.; Tan, Q.; Liu, L.; Li, J. A Facile, Environmentally Friendly, and Low-Temperature Approach for Decomposition of Polyvinylidene Fluoride from the Cathode Electrode of Spent Lithium-Ion Batteries. ACS Sustain. Chem. Eng. 2019, 7, 12799–12806. [Google Scholar] [CrossRef]
- Zhong, X.; Han, J.; Mao, X.; Chen, L.; Chen, M.; Zhu, H.; Zeng, H.; Qin, W. Innovative Methodology for Green Recycling of Spent Lithium-Ion Batteries: Effective Pyrolysis with DMF. J. Clean. Prod. 2022, 377, 134503. [Google Scholar] [CrossRef]
- Zhong, X.; Liu, W.; Han, J.; Jiao, F.; Qin, W.; Liu, T.; Zhao, C. Pyrolysis and Physical Separation for the Recovery of Spent LiFePO4 Batteries. Waste Manag. 2019, 89, 83–93. [Google Scholar] [CrossRef] [PubMed]
- Lombardo, G.; Ebin, B.; Foreman, M.R.S.J.; Steenari, B.-M.; Petranikova, M. Incineration of EV Lithium-Ion Batteries as a Pretreatment for Recycling—Determination of the Potential Formation of Hazardous by-Products and Effects on Metal Compounds. J. Hazard. Mater. 2020, 393, 122372. [Google Scholar] [CrossRef] [PubMed]
- Kim, S.; Bang, J.; Yoo, J.; Shin, Y.; Bae, J.; Jeong, J.; Kim, K.; Dong, P.; Kwon, K. A Comprehensive Review on the Pretreatment Process in Lithium-Ion Battery Recycling. J. Clean. Prod. 2021, 294, 126329. [Google Scholar] [CrossRef]
Disclaimer/Publisher’s Note: The statements, opinions and data contained in all publications are solely those of the individual author(s) and contributor(s) and not of MDPI and/or the editor(s). MDPI and/or the editor(s) disclaim responsibility for any injury to people or property resulting from any ideas, methods, instructions or products referred to in the content. |
© 2023 by the authors. Licensee MDPI, Basel, Switzerland. This article is an open access article distributed under the terms and conditions of the Creative Commons Attribution (CC BY) license (https://creativecommons.org/licenses/by/4.0/).





