Abstract
Current design techniques for water installations are based on pressure-independent consumption. However, certain types of consumption depend on pressure, most notably water leakages, which occur in all water distribution systems. All water installations are prone to water leakages. To mitigate this issue during the design stage of water pipelines, manuals and local regulations recommend a percentage of water losses for sizing pipelines and using them with pressure-independent consumption. This research develops a practical procedure for sizing single water pipelines by considering the effect of pressure-dependent consumption, as in actual pipelines. The findings of this research offer water utilities a new perspective on pipeline design, which is essential for developing new tools to create digital twins. A new methodology for designing pipe diameters is developed in this research. A single pipeline, 2000 m long, is used for the analysis with an emitter coefficient of 0.00829 m3/s/m0.5. The proposed methodology focuses on calculating energy losses to maintain the required minimum pressure in the system. A sensitivity analysis is conducted on key parameters such as the emitter coefficient, absolute roughness, and the resistance coefficient of a regulating valve. The results of the proposed methodology are compared with the current design (using pressure-independent consumption), revealing differences of up to 28% in calculating water losses.
1. Introduction
Water leakage is a volume of water escaping from hydraulic installations, which refers to seepage occurring throughout water supply systems, representing losses that depend on the average pressure within a conduit. Leakages in water distribution networks can be classified into several key factors: pipe failures, pressure fluctuations, cyclic loading (leading to fatigue), the age and condition of the infrastructure, environmental influences, and operational practises.
Understanding actual water losses in pipelines is vital for water utilities. The existence of two types of water losses is recognised, namely apparent and real [1,2,3], where the former refers to those reflected by inaccuracies in measurements or unauthorised actions, and the real ones correspond to leaks found in the pipeline itself. The exponent coefficient can range from 0.5 to 2.5. A value of 0.5 has been used in several studies. Table 1 shows the results of the emitter coefficient, internal pipe diameter, pipe length, and water losses based on data from several publications. In many cases, water losses exceed 50%.
Table 1.
Ranges of main parameters in several publications.
Ulanicki et al. (2000) [7] utilised pressure-reducing valves (PRVs) to decrease water leakage, demonstrating how leakage is influenced by emitter and exponent coefficients. In their analysis, water losses of up to 30% were observed. PRVs have proven to be an effective strategy for reducing water leakage; therefore, these devices should be considered in pipeline sizing and understanding the processes through which water leakage occurs [18]. The analysis and detection of water leakages in distribution systems have been thoroughly explored. Modelling using extended period simulation has been conducted and tested, considering both high- and low-demand periods. The trend of algorithms for the calibration of emitter and exponent coefficients according to different scenarios has been analysed, including using PRVs [19]. The reduction in water losses by applying control pressure has been assessed. The search for optimal configurations for PRVs for reducing water losses was analysed by studying case studies [10,16]. The modified orifice equation in combination with a variable speed pump was also considered in hydraulic installations. The BABE (bursts and background estimates) and NMF (minimum night flow) methods were employed to calculate and detect water leakages. These methods can be utilised to enhance hydraulic performance and achieve greater efficiency [8]. In addition, uncertainty and precision in water distribution networks have been assessed. Water losses can occur even in steel pipes, which have many applications due to their high resistance [20,21,22]. Improving the optimal performance of hydraulic devices is of utmost importance in water systems [23,24]. Computational Fluid Dynamics and mathematical models are techniques employed in complex scenarios to analyse the water phase [25,26,27]. The method of using pumps as turbines to manage low flow rates was introduced to avoid excessive pressure, generating energy and reducing leakage. This approach has been utilised as an optimisation tool in hydraulic systems [18]. Recently, the Rigid Water Model was applied to predict water leakages by considering system inertia, demonstrating that this modelling approach provides a more accurate assessment of water leakages compared to extended period simulation [11,12].
The current literature in this field focuses on the development of digital twins for actual water installations [18,19,28,29], which consists of several components, as shown in Figure 1. A digital twin must comprise a robust platform and a reliable hydraulic model. The platform typically includes a Geographic Information System (GIS), pressure transducers, other sensors throughout the hydraulic network, and a SCADA system. The hydraulic model should be capable of performing extended-period simulations and account for system inertia during rapid valve manoeuvres. Water utilities aim to implement digital twins to collect real-time data, which can be used to detect both real and apparent water losses. These models provide a powerful tool for developing strategies to reduce water losses [30,31]. The hydraulic model accounts for water losses as pressure-dependent consumption to ensure a reliable tool. To optimise hydraulic systems, water utilities are increasingly adopting digital twins to explore and implement strategies for reducing these leakages.
Figure 1.
Current digital twin model.
The design of water supply systems depends on local regulations regarding the minimum required pressure at nodes, internal pipe diameter specifications, water demand calculations, the placement of hydraulic devices, and their characteristics, among other factors. However, when calculating water demands, the regulations recommend incorporating a percentage for water losses, usually included in domestic demand figures. For example, Colombia recommends a water loss percentage of 25% during the design phase of some components of water supply networks [32]. This approach, commonly applied during the design phase, does not account for calculating water losses as pressure-dependent consumption, overlooking the actual effect occurring in real pipelines that should be considered in pipeline design.
It is crucial to mention that water losses significantly impact the optimal design of these systems. In this context, this research proposes the design of single water pipelines that account for leakage as pressure-dependent consumption, a factor often overlooked in current pipeline strategies (traditional methods). The proposed methodology introduces a novel approach for achieving optimal sizing of single water pipelines based on prior knowledge of emitter and exponent coefficients specific to water installations. Various factors, including construction practises in water infrastructure, policies for pipeline rehabilitation, response times to leakages, and other operational and maintenance considerations, influence these coefficients. As explained in this research, the leakages must be evaluated based on calibration data by water utilities. This underscores the importance, as evidenced by this research, of accounting for water leaks during the design phase of distribution networks, thereby enhancing the accuracy of current designs compared to traditional methods that overlook water losses as pressure-dependent consumption.
2. Materials and Methods
The following step-by-step process was developed to carry out this research, as described in the methodology shown in Figure 2. The proposed method consists of three main components as follows:
Figure 2.
Methodology used in this research.
- Current design: The single-pipeline design employs the continuity equation, energy loss calculations, and the Darcy–Weisbach equation to determine internal pipe diameters through optimisation. This process assumes a percentage of water losses based on local regulations or the expertise of engineers and designers.
- Design considering leakages: This research incorporates the water balance framework proposed by the International Water Association (IWA) for sizing single pipelines. Additionally, the methodology involves calibrating the emitter coefficient using data from existing pipelines with similar characteristics, which can then be applied to design new water infrastructure (see Section 2.1).
- Optimisation process and numerical resolution: Finally, the developed methodology introduces a flowchart to address the problem systematically (see Section 2.3).
2.1. Proposed Methodology
A single water pipeline begins and terminates at two nodes separated by total length. Current methodologies for pipeline sizing typically compute two diameters to ensure a minimum pressure at the terminal node (see Figure 3). Water leakages are commonly accounted for as a percentage of total water losses [32], varying depending on local regulations and practises.
Figure 3.
Scheme and variables for the proposed system.
This section introduces the proposed methodology for pipeline design, which explicitly incorporates the effects of water leakages. The numerical resolution is carried out using an algorithm developed in this research. The methodology assumes that water utilities have calibrated emitter and exponent coefficients for existing pipeline systems. These coefficients are essential for applying the proposed method and must be implemented to ensure calculations.
Figure 4 illustrates the transition from an emitter coefficient calibrated for an existing pipeline (already constructed) to its adoption in designing a new pipeline using the proposed methodology. This diagram highlights how a calibrated emitter coefficient from an existing system can be used as information to create future infrastructure considering the same pipe material since water utilities in municipalities tend to build with similar patterns.
Figure 4.
A scheme of the general assumption to solve the system.
The proposed methodology presents the following assumptions:
- Water movement is calculated using the Bernoulli equation.
- Friction accounts for energy losses are computed using the Darcy–Weisbach formula.
- Water leakages depend on the mean pressure head of a conduit, and they occur at the downstream end.
2.2. Governing Formulations
Appendix A presents the governing equations employed by the proposed methodology.
2.3. Optimisation Process and Numerical Resolution
A minimum pressure head () is required at the consumption node , as depicted in Figure 5a. Oversized diameters (represented by the blue and red lines) result in unnecessary construction costs that the system does not justify. Conversely, employing undersized diameters (purple and yellow lines) fails to satisfy the required pressure head constraint at the downstream node. Therefore, the optimal approach involves selecting a pair of internal pipe diameters from a catalogue that minimises construction costs while ensuring the required pressure head is achieved, as shown in Figure 5b. In this context, a combination of the purple and red lines represents the optimal solution.
Figure 5.
Considerations for optimal pipeline design: (a) relationship between cost and required service pressure; (b) selection of internal pipe diameters.
The friction losses can then be expressed as a function of a combination of two pipe diameter sizes as follows:
Subscript 1 denotes the condition of the first pipe, while subscript 2 corresponds to the second. The relationship serves as a constraint that must be satisfied.
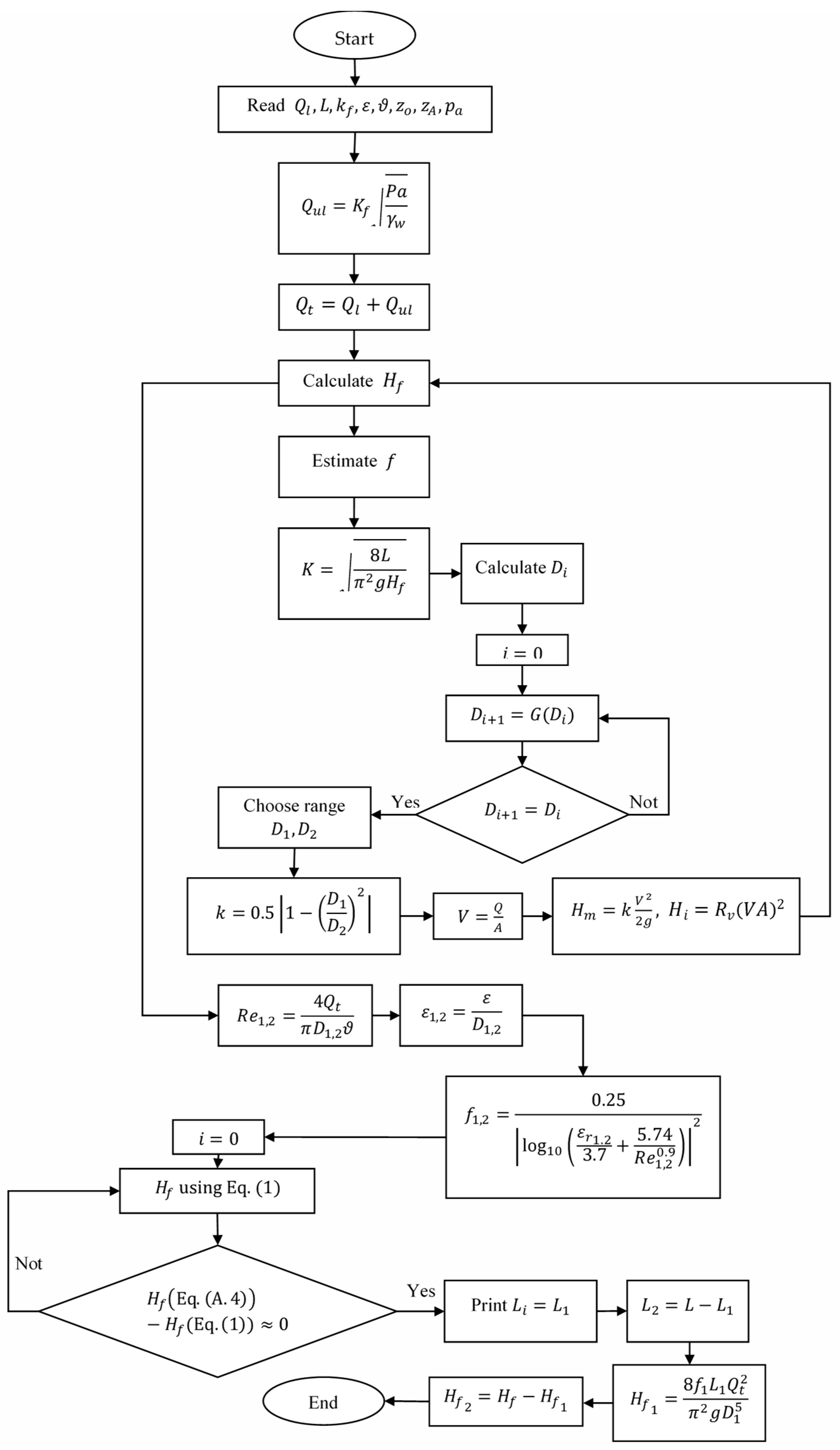
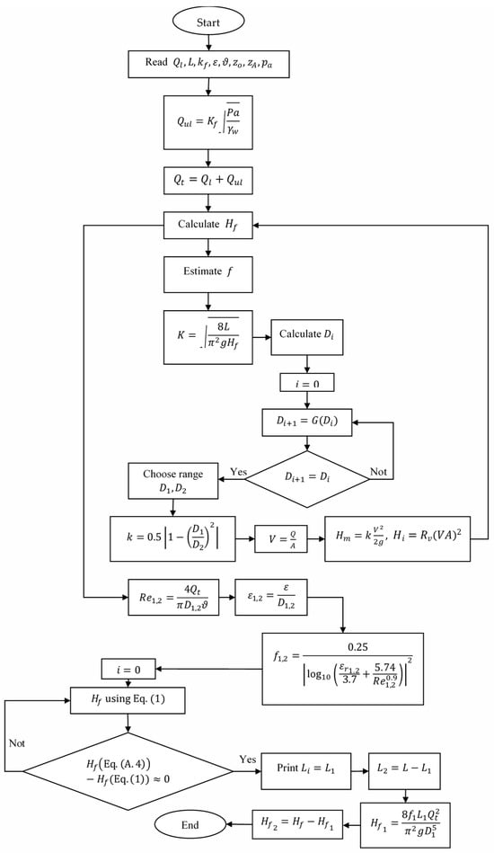
Figure 6 presents a flowchart illustrating the proposed methodology for optimising pipe diameters while accounting for water leakages in single-pipeline installations. Two commercial diameters, one larger and one smaller, must be selected from a catalogue.
Figure 6.
A flowchart of the proposed methodology.
3. Results
3.1. Dataset and Results
Considering the case of a single water pipeline, the following data were considered: m3/s, m, m, m, m2/s, m, and m. The effect of a regulating valve was considered, employing a resistance coefficient, s2/m5.
For this analysis, an emitter coefficient of m3/s/m0.5 was used in combination with an exponent coefficient of 0.5. Based on these parameters, water leakages were calculated ( L/s). Consequently, the total injected flow was determined, yielding a total pipe flow of L/s according to Equation (1).
Figure 7 shows the results obtained using the flowchart presented in Figure 5. The system exhibits a physical loss percentage of approximately 31%, calculated as the ratio of leaked flow to the total flow passing through the pipe. Furthermore, it is observed that most friction losses—around 96% of the total system—occur in the second pipe branch, since a m.
Figure 7.
The solution employed for the proposed methodology.
3.2. Effect of Main Parameters
This section shows the effects of the main parameters in the proposed methodology. A change in the magnitude of leakage significantly impacts the optimal design (characterised mainly by the emitter coefficient), as this parameter plays a predominant role compared to other factors analysed (absolute roughness and resistance coefficient of a regulating valve). This highlights the importance of carefully accounting for leakage in the design process to ensure efficient and sustainable solutions. Furthermore, variations in leakage can affect the system’s dimensions and hydraulic performance, emphasising the need for water utilities to use precise calibration and modelling strategies.
3.2.1. Emitter Coefficient
To investigate the effects of the emitter coefficient, a range spanning from 0.004 to 0.05 m3/s/m0.5 was employed in the calculations. These values correspond to the endpoints presented in Figure 8. The percentage of water losses under these conditions was evaluated. Furthermore, optimised solutions for pipe diameters and branch lengths were also determined to ensure efficient system performance.
Figure 8.
Effects in the variation in the emitter coefficient.
Based on the results presented in Figure 8, the variation in the emitter coefficient significantly influences the percentage of water losses in the system as well as the lengths and diameters of the pipe branches. Specifically, when the emitter coefficient m3/s/m0.5 (Point 1) is considered, the system experiences the highest water losses, reaching 73%, alongside larger pipe diameters of 500 mm and 400 mm. Conversely, for the minimum emitter coefficient value (Point 4), smaller pipe diameters of 300 mm and 200 mm are obtained.
3.2.2. Variation in Absolute Roughness
The absolute roughness (ε) was analysed using values of 0.00015, 0.0001, and 0.005 m to evaluate its impact on the proposed methodology, as shown in Figure 9. The analysis considers emitter coefficient values of 0.004, 0.00829 (baseline), and 0.005 m3/s/m0.5.
Figure 9.
Analysis of absolute roughness versus emitter coefficient.
The variation in the roughness coefficient does not affect the percentage of water losses, as expected, since water losses depend on the pressure head in the pipes according to the assumptions, as shown in Figure 9. In this sense, the grey bars ( m3/s/m0.5) show water losses around 65%, independent of the values selected for the roughness coefficient.
3.2.3. Resistance Coefficient
The analysis of the resistance coefficient () is presented to observe the changes generated by the effect of the regulating valves. This study considered the following data: 150, 190, and 240 s2/m5. Figure 10 presents the results obtained. The results indicate that no changes were presented in the water losses, as observed in the bars with the same colour. For the blue bars ( m3/s/m0.5), water losses are around 18% in the three cases, as water losses are located at the downstream end.
Figure 10.
Analysis considering resistance coefficient.
4. Discussion
4.1. Analysis Considering Percentage of Water Losses
A typical practice in the current design is to select a percentage of water losses based on domestic consumption. In this sense, Colombian regulations suggest that a percentage of water losses must be considered in the design of water pipelines; typically, a value of 25% is accepted in this country. This research considered values of 0, 10, 25, and 45%. This assumption selects a pressure-independent consumption in the design phase of water distributions (). Figure 11 presents the results for these scenarios. The greater the water loss percentages, the higher internal pipe diameters are obtained, as demonstrated by comparing the values of Points 1 and 4.
Figure 11.
Analysis considering water losses as pressure-independent consumption.
An accurate computation of water losses is essential for water utilities to properly characterise these values. For example, an emitter coefficient of m3/s/m0.5 results in water losses of up to 73% (see Figure 8), significantly higher than the assumption of 45% of water losses (considering pressure-independent consumption). A difference of 28% was found in this comparison.
4.2. A Comparison Between the Traditional and Proposed Methodologies
To highlight the advantages and disadvantages of the proposed method, a comparison was conducted between the proposed method and the traditional methodology, as presented in Table 2.
Table 2.
Comparison between traditional and proposed methodologies.
4.3. Analysis of Formulas for Computing Water Leaks
Water leaks depend on pressure-dependent consumption, which have been computed employing Equation (A2). In addition, the orifice equation was used for simulating water leaks, which is yielded as follows:
where = the discharge coefficient, = the cross-sectional area of a leakage, = the exponent, and = the mean pressure in a pipe ().
A comparative analysis was conducted between values of obtained from applying Equations (A2) and (2) using an exponent value of 0.5. A cross-sectional area of 0.0012 m2 and a discharge coefficient of 0.868 were employed for the orifice equation. Figure 12 presents the results for both equations. Equations show that the higher the pressure, the greater the water leaks obtained. The orifice formula (Equation (2)) yields lower values as it accounts for the influence of each constant separately rather than aggregating them into a single parameter (emitter coefficient), as seen in Equation (A2).
Figure 12.
Effect of exponent coefficient in water leak formulas.
By applying the proposed methodology using Equation (2) (refer to Figure 13), internal pipe diameters of 0.3 m and 0.2 m, with corresponding pipe lengths of 1918.32 m and 81.68 m, are obtained, respectively. The pipe diameters determined using Equation (2) are smaller than those calculated with Equation (A2) as water leakage is reduced.
Figure 13.
The solution obtained using the orifice equation.
5. Conclusions
The proposed methodology in this research offers a foundation for designing water distribution systems that treat water losses as pressure-dependent consumption. This approach contrasts with current standards and regulations, which calculate water losses as a percentage of domestic consumption, assuming they are pressure independent. The proposed methodology can be employed for water utilities that have previously calibrated emitter coefficients in existing water installations.
This research presents a formulation for sizing single pipelines while accounting for water leaks as pressure-dependent consumption. A minimum of two internal pipe diameters is necessary to achieve the required service pressure. The sensitivity analysis reveals that the emitter coefficient significantly influences these diameters. Since water leakages are located downstream, absolute roughness and resistance coefficients do not impact the sizing of water installations. In addition, the current concept for sizing water installations considering water losses as a percentage of domestic consumption must be renewed as an essential difference can be achieved. The requirement of service pressure can be affected by considering traditional practises. The integration of digital twin models is closely linked to the appropriate sizing of water distribution networks from the design phase.
Future research should focus on developing general formulas for sizing long pipelines and water distribution networks (both open and closed) while considering water losses as pressure-dependent consumption.
Author Contributions
Conceptualization, M.P.-Z., J.J.V.-G. and O.E.C.-H.; methodology, M.S. and O.E.C.-H.; formal analysis, M.P.-Z., J.J.V.-G. and V.S.F.-M.; writing—original draft preparation, O.E.C.-H. and M.S.; writing—review and editing, V.S.F.-M. All authors have read and agreed to the published version of the manuscript.
Funding
This research project did not secure funding from external nor internal sources.
Data Availability Statement
Databases are available from the corresponding author.
Conflicts of Interest
The authors declare no conflicts of interest.
Appendix A. Governing Equations
This appendix shows the governing equations using the proposed methodology, which adopts the flow classification established by the International Water Association [3].
Appendix A.1. Total Flow
This equation presents the relationship between the injected total flow () and water flow due to physical leakages () and water flow for pressure-independent consumption ().
Pressure-independent consumption is usually divided into domestic, industrial, commercial, and official.
Appendix A.2. Leakage Flow
This equation represents the physical losses occurring within pipe systems. These losses depend on the pressure head of the pipeline, as well as the emitter and exponent coefficients. Typically, water losses in pipelines are calculated using the following formula [3,33]:
where = the leakage flow rate, = the emitter coefficient, = the exponent coefficient, = the average pressure in a conduit, and = the water unit weight.
Appendix A.3. Energy Loss Equation
The Bernoulli equation establishes the relationship between the upstream and downstream nodes of a single pipeline, considering pipe elevations, friction losses along the pipeline, minor losses (caused by joints, changes in internal diameters, and inlet and outlet conditions, among others), valve losses, and the required pressure head at the downstream node [34].
where = friction account losses, = minor energy losses, = energy loss in a regulating valve, = the minor loss coefficient, = water velocity, = gravity acceleration (which takes a value of 9.81 ), = the elevation of the initial node, = the elevation of the final node, = the resistance coefficient of a regulating valve, and = the cross-sectional area. The minor energy losses and losses in a regulating valve are given by and , respectively.
By considering the behaviour of water leakages through Equation (A2) in the term and organising terms, the following is obtained:
Appendix A.4. Darcy–Weisbach Equation
This equation relates to the internal pipe diameter as a function of the injected total flow pipe length and friction account losses. The expression is yielded by the following [3,35]:
where = the pipe length and = the friction factor.
Equation (A5) can be expressed as a function of a value as follows:
Appendix A.5. Friction Factor Equation
Determining the friction factor is crucial for accurately accounting for friction losses. Due to typical water velocity ranges, the flow is turbulent in most water distribution systems. The Colebrook–White equation is widely recognised for its foundation in physical principles [35]. Calculating the pipe diameter requires an iterative process to solve the relationship expressed in the formula . The value represents the current iteration, while the value corresponds to the subsequent iteration. After simplifying some terms, the internal pipe diameter can be expressed as follows:
where = the pipe’s absolute roughness and = the water kinematic viscosity.
Alternatively, the Swamee–Jain equation [36] can be employed to calculate the friction factor, offering an error of less than 1% compared to the Colebrook–White equation. Its primary advantage lies in providing an explicit solution for the friction factor, eliminating the need for an iterative process. It is yielded as follows:
where is the Reynold number given by , and corresponds to the relative roughness .
References
- Lambert, A. Accounting for Losses: The Bursts and Background Concept. Water Environ. J. 1994, 8, 205–214. [Google Scholar] [CrossRef]
- Ramos, H.M.; Kuriqi, A.; Besharat, M.; Creaco, E.; Tasca, E.; Coronado-Hernández, O.E.; Pienika, R.; Iglesias-Rey, P. Smart Water Grids and Digital Twin for the Management of System Efficiency in Water Distribution Networks. Water 2023, 15, 1129. [Google Scholar] [CrossRef]
- Hirner, W.; Lambert, A. Losses from Water Supply Systems: Standard Terminology and Recommended Performance Measures; IWA: London, UK, 2000. [Google Scholar]
- Niebuhr, D.; Nsanzubuhoro, R.; van Zyl, J.E. Field Experience with Pressure-Based Leakage Characterisation of Bulk Water Pipelines. Urban Water J. 2019, 16, 709–717. [Google Scholar] [CrossRef]
- Sophocleous, S.; Savić, D.A.; Kapelan, Z.; Giustolisi, O. A Two-Stage Calibration for Detection of Leakage Hotspots in a Real Water Distribution Network. Procedia Eng. 2017, 186, 168–176. [Google Scholar] [CrossRef]
- Aksela, K.; Aksela, M.; Vahala, R. Leakage Detection in a Real Distribution Network Using a SOM. Urban Water J. 2009, 6, 279–289. [Google Scholar] [CrossRef]
- Ulanicki, B.; Bounds, P.L.M.; Rance, J.P.; Reynolds, L. Open and Closed Loop Pressure Control for Leakage Reduction. Urban Water 2000, 2, 105–114. [Google Scholar] [CrossRef]
- AL-Washali, T.; Sharma, S.; Lupoja, R.; AL-Nozaily, F.; Haidera, M.; Kennedy, M. Assessment of Water Losses in Distribution Networks: Methods, Applications, Uncertainties, and Implications in Intermittent Supply. Resour. Conserv. Recycl. 2020, 152, 104515. [Google Scholar] [CrossRef]
- Saldarriaga, J.; Salcedo, C.A. Determination of Optimal Location and Settings of Pressure Reducing Valves in Water Distribution Networks for Minimizing Water Losses. Procedia Eng. 2015, 119, 973–983. [Google Scholar] [CrossRef]
- Deyi, M.; van Zyl, J.; Shepherd, M. Applying the FAVAD Concept and Leakage Number to Real Networks: A Case Study in Kwadabeka, South Africa. Procedia Eng. 2014, 89, 1537–1544. [Google Scholar] [CrossRef]
- Coronado-Hernández, O.E.; Pérez-Sánchez, M.; Arrieta-Pastrana, A.; Fuertes-Miquel, V.S.; Coronado-Hernández, J.R.; Quiñones-Bolaños, E.; Ramos, H.M. Dynamic Effects of a Regulating Valve in the Assessment of Water Leakages in Single Pipelines. Water Resour. Manag. 2024, 38, 2889–2903. [Google Scholar] [CrossRef]
- Fuertes-Miquel, V.S.; Arrieta-Pastrana, A.; Coronado-Hernández, O.E. Analyzing Water Leakages in Parallel Pipe Systems with Rapid Regulating Valve Maneuvers. Water 2024, 16, 926. [Google Scholar] [CrossRef]
- Puust, R.; Kapelan, Z.; Savic, D.A.; Koppel, T. A Review of Methods for Leakage Management in Pipe Networks. Urban Water J. 2010, 7, 25–45. [Google Scholar] [CrossRef]
- Maskit, M.; Ostfeld, A. Leakage Calibration of Water Distribution Networks. Procedia Eng. 2014, 89, 664–671. [Google Scholar] [CrossRef]
- Samir, N.; Kansoh, R.; Elbarki, W.; Fleifle, A. Pressure Control for Minimizing Leakage in Water Distribution Systems. Alex. Eng. J. 2017, 56, 601–612. [Google Scholar] [CrossRef]
- García-Ávila, F.; Avilés-Añazco, A.; Ordoñez-Jara, J.; Guanuchi-Quezada, C.; Flores del Pino, L.; Ramos-Fernández, L. Pressure Management for Leakage Reduction Using Pressure Reducing Valves. Case Study in an Andean City. Alex. Eng. J. 2019, 58, 1313–1326. [Google Scholar] [CrossRef]
- Pezzinga, G.; Pititto, G. Combined Optimization of Pipes and Control Valves in Water Distribution Networks. J. Hydraul. Res. 2005, 43, 668–677. [Google Scholar] [CrossRef]
- Ramos, H.M.; Kuriqi, A.; Coronado-Hernández, O.E.; López-Jiménez, P.A.; Pérez-Sánchez, M. Are Digital Twins Improving Urban-Water Systems Efficiency and Sustainable Development Goals? Urban Water J. 2023, 21, 1164–1175. [Google Scholar] [CrossRef]
- Ramos, H.M.; Morani, M.C.; Carravetta, A.; Fecarrotta, O.; Adeyeye, K.; López-Jiménez, P.A.; Pérez-Sánchez, M. New challenges towards smart systems’ efficiency by digital twin in water distribution networks. Water 2022, 14, 1304. [Google Scholar] [CrossRef]
- Lee, M.K.; Kim, D.; Kim, M.O. Experimental Study on the Chlorine-Induced Corrosion and Blister Formation of Steel Pipes Coated with Modified Polyethylene Powder. Polymers 2024, 16, 2415. [Google Scholar] [CrossRef]
- Langelandsvik, L.I.; Kunkel, G.J.; Smits, A.J. Flow in a Commercial Steel Pipe. J. Fluid. Mech. 2008, 595, 323–339. [Google Scholar] [CrossRef]
- Zhang, J.; Li, R.; Yang, S.; Liu, J.; Guo, Z.; Feng, L.; Shang, W.; Zhu, L.; Du, B. Field Load Testing and Numerical Analysis of Offshore Photovoltaic Steel Pipe Piles. Soil Dyn. Earthq. Eng. 2025, 188, 109034. [Google Scholar] [CrossRef]
- Enany, P.; Shevchenko, O.; Drebenshtedt, C. Evaluation of Airlift Pump Performance for Vertical Conveying of Coal Particles. Int. J. Coal Sci. Technol. 2023, 10, 42. [Google Scholar] [CrossRef]
- Enany, P.; Drebenshtedt, C. Performance Characteristics of the Airlift Pump under Vertical Solid–Water–Gas Flow Conditions for Conveying Centimetric-Sized Coal Particles. Int. J. Coal Sci. Technol. 2024, 11, 18. [Google Scholar] [CrossRef]
- Li, Y.; Yang, R.; Wang, Y.; Fu, D. Influence of Water Coupling Coefficient on the Blasting Effect of Red Sandstone Specimens. Int. J. Coal Sci. Technol. 2024, 11, 8. [Google Scholar] [CrossRef]
- Ma, D.; Duan, H.; Li, Q.; Wu, J.; Zhong, W.; Huang, Z. Water–Rock Two-Phase Flow Model for Water Inrush and Instability of Fault Rocks during Mine Tunnelling. Int. J. Coal Sci. Technol. 2023, 10, 77. [Google Scholar] [CrossRef]
- Wang, D.; Jiao, D.; Cheng, Z.; Shi, Q.; Mischo, H. Multi-Criteria Comparative Analysis of the Pressure Drop on Coal Gangue Fly-Ash Slurry at Different Parts along an L-Shaped Pipeline. Int. J. Coal Sci. Technol. 2023, 10, 28. [Google Scholar] [CrossRef]
- Bernard, M. Using Digital Twins to Improve Pumping and Distribution System Operations. J. AWWA 2024, 116, 6–15. [Google Scholar] [CrossRef]
- Zechman, B.E.; Ehsan, S.M.; Lu, X.; Jason, W. Digital Twins for Water Distribution Systems. J. Water Resour. Plan. Manag. 2023, 149, 02523001. [Google Scholar] [CrossRef]
- Ramos, H.M.; McNabola, A.; López-Jiménez, P.A.; Pérez-Sánchez, M. Smart water management towards future water sustainable networks. Water 2020, 12, 58. [Google Scholar] [CrossRef]
- Alzamora, F.M.; Carot, M.H.; Carles, J.; Campos, A. Development and Use of a Digital Twin for the Water Supply and Distribution Network of Valencia (Spain). In Proceedings of the 17th International Computing & Control for the Water Industry Conference, Exeter, UK, 1–4 September 2019. [Google Scholar]
- Vivienda, M.; Territorio, C. Ministry of Housing, C. and D. (MinVivienda). Resolution No. 0799/2021. Available online: https://minvivienda.gov.co/sites/default/files/normativa/0799_2021.pdf (accessed on 18 December 2024).
- Almandoz, J.; Cabrera, E.; Arregui, F.; Cabrera, E.; Cobacho, R. Leakage Assessment through Water Distribution Network Simulation. J. Water Resour. Plan. Manag. 2005, 131, 458–466. [Google Scholar] [CrossRef]
- Rubenstein, D.A.; Yin, W.; Frame, M.D. Chapter 3—Conservation Laws. In Biofluid Mechanics, 3rd ed.; Rubenstein, D.A., Yin, W., Frame, M.D., Eds.; Academic Press: Cambridge, MA, USA, 2022; pp. 71–131. [Google Scholar] [CrossRef]
- Streeter, V.L.; Kestin, J. Handbook of Fluid Dynamics; McGraw-Hill: New York, NY, USA, 1961. [Google Scholar]
- Swamee, P.K.; Jain, A.K. Explicit Equations for Pipe-Flow Problems. J. Hydraul. Div. 1976, 102, 657–664. [Google Scholar] [CrossRef]
Disclaimer/Publisher’s Note: The statements, opinions and data contained in all publications are solely those of the individual author(s) and contributor(s) and not of MDPI and/or the editor(s). MDPI and/or the editor(s) disclaim responsibility for any injury to people or property resulting from any ideas, methods, instructions or products referred to in the content. |
© 2025 by the authors. Licensee MDPI, Basel, Switzerland. This article is an open access article distributed under the terms and conditions of the Creative Commons Attribution (CC BY) license (https://creativecommons.org/licenses/by/4.0/).












