Next Article in Journal
Solid-State Dehydration Mechanism of Diclofenac Sodium Salt Hydrates
Next Article in Special Issue
Effect of Doping of Cd1−xZnxS/ZnS Core/Shell Quantum Dots in Negative Dielectric Anisotropy Nematic Liquid Crystal p-Methoxybenzylidene p-Decylaniline
Previous Article in Journal
Terahertz Emission and Ultrafast Carrier Dynamics of Ar-Ion Implanted Cu(In,Ga)Se2 Thin Films
Previous Article in Special Issue
Non-Mechanical Beam Steering with Polarization Gratings: A Review
 
 
Font Type:
Arial Georgia Verdana
Font Size:
Aa Aa Aa
Line Spacing:
Column Width:
Background:
Article

Influence of X7GeS5I (X = Ag, Cu) Superionic Nanoparticles on Structural Changes in Nematic Liquid Crystal

1
Department of Physics, FEIT, Žilina University, Univerzitná 1, 010 26 Žilina, Slovakia
2
Institute of Experimental Physics, SAS, Watsonova 47, 040 01 Košice, Slovakia
3
Uzhhorod National University, 46 Pidhirna Str., 88000 Uzhorod, Ukraine
*
Author to whom correspondence should be addressed.
Crystals 2021, 11(4), 413; https://doi.org/10.3390/cryst11040413
Submission received: 17 March 2021 / Revised: 1 April 2021 / Accepted: 3 April 2021 / Published: 12 April 2021
(This article belongs to the Special Issue Liquid-Crystal Polarization Gratings)

Abstract

The effect of two types of superionic nanoparticles; Cu7GeS5I and Ag7GeS5I, respectively on nematic liquid crystal (6CB) behavior under an external electric field is investigated. The response of both attenuation of surface acoustic waves propagating along with the substrate/liquid crystal interface and light transmission are used to study the structural changes induced by applied electric field. The increasing/decreasing regime as well as jumped change of applied field were used. The light transmission was investigated using linearly polarized laser beam (532 nm) propagating through the liquid crystal. Results obtained from both measurements for three different concentrations (0.01, 0.05 and 0.10 wt%) and in addition two different sizes of nanoparticles are compared and results, relying on structural changes, suspension stability and switching behavior are evaluated.

1. Introduction

The liquid crystals (LCs), characterized by a thermodynamically stable state of some materials between the crystal state and the isotropic liquid state, are very interesting for various applications, primarily on LC display technology but also in other important devices relying on LCs like optical switches, photo-elastic modulators, filters, biosensor, and photonic or magnetooptic applications [1,2,3,4]. A promising method of expanding the LC functionalities is the usage of appropriate dopants. Doped LCs can contribute to the development of considerable materials based on the controlled arrangement of particles under applied fields [5,6,7]. The properties of such materials depend then on nanoparticle parameters as their concentration, size or anchoring treatment as well as direction or intensity of applied fields. A significant group of LCs is represented by nematic liquid crystals (NLCs) that have the orientational order of the long molecular axis along the preferred direction (characterized by director n). NLC molecules can be oriented with the electric or magnetic field due to their electric and magnetic anisotropies. It is already known that ferroelectric particles are one of the possibilities that can have a significant effect on both the dielectric and optical properties of the NLC compounds [8,9,10,11,12]. The increase of dielectric anisotropy and birefringence of the nematic matrix by the nanoparticles is caused by the dipole moment of ferroelectric nanoparticles that is responsible for their interaction with NLC and is affecting the value of effective dielectric constants of the NLC matrix. Introduction of the nanoparticles can lead by this way to the decrease of driving voltages, to the shift of the transition points, or can increase the reflection contrast. Their properties can significantly influence the properties of initial NLCs, and the doping process can create novel materials with interesting properties regularly not present in pure NLC compounds.
Methods of acoustic spectroscopy mostly utilizing longitudinal or shear waves are long time used to characterize some NLC particular properties, such as their viscoelastic properties, rheological behavior or phase transitions. However, recently we have shown that the surface acoustic wave (SAW) technique using shear vertical oscillations can also be a useful tool for investigating structural changes in NLCs induced by the change of external condition caused by external fields, illumination or temperature [13,14,15,16]. The first investigation of structural changes in NLCs doped with superionic nanoparticles (Cu6PS5Br) and/or Cu6PSI5/Cu7PS6 (50:50 ratio) [17,18] demonstrated that the addition of superionic nanoparticles influences the sensitivity of NLC to external fields, namely in the reduction of the transition temperature, in the change of the threshold voltage as well as total structural changes. Experimental results also pointed out the role of nanoparticles concentration on the switching behavior and the possibility to control the light transmission, including the switching times. It was shown that the addition of particles to liquid crystals can alter or even improve optical properties, including the switching behavior of the NLC host [15,19,20,21,22]. It was demonstrated that the light transmission of investigated compounds can be influenced already by small quantities of superionic nanoparticles, despite the fact that decided structural changes detected by SAW attenuation were primarily detected for higher nanoparticle concentrations.
In the present contribution, we currently study structural changes in NLC (6CB) doped with superionic nanoparticles Cu7GeS5I and Ag7GeS5I of the promising material as a solid electrolyte. Ag7GeS5I and Cu7GeS5I crystals belong to the argyrodite-type superionic conductors and demonstrate high values of electrical conductivity [23,24]. Solid electrolytes are actively studied as effective materials for solid-state batteries, supercapacitors, ionistors and other electrochemical devices on their basis. Superionic conductors with the argyrodite structure are also promising materials in this respect [23,24,25]. At room temperature, they crystallize in the face-centered cubic lattice (F 43m space group), show the pure ionic conductivity, and no phase transitions within the temperature range 77–373 K were observed [25]. The thermotropic NLC 6CB (4-cyano-4-hexylbiphenyl) changes its phase depending upon the temperature from a well-ordered crystalline (TCN = 14.3 °C) over to a less ordered nematic and finally to a disordered, isotropic phase (TNI = 30.1 °C) [17]. As it has been revealed, the properties of NLCs with superionic nanoparticles can essentially depend on the properties of the host NLC, it should be interesting to investigate how the properties of NLC may differ at the introduction of different but similar superionic nanoparticles, in addition to a different size. The measurements of both SAW attenuation and light transmission responses were used to obtain more complete evidence about the role of superionic nanoparticles in the behavior of NLCs, not only under an electric field, with the primary aim to weigh their perspective as useful dopants of NLCs for the structural changes and electro-optical application.

2. Experimental Details

The investigated nanocomposite samples were based on the thermotropic NLC 6CB doped with the superionic nanoparticles Cu7GeS5I and Ag7GeS5I, which were previously synthesized and milled. The synthesis of Cu7GeS5I and Ag7GeS5I compounds was performed from Cu, Ag, Ge, S, and CuI (AgI) taken according to the stoichiometry and placed in an evacuated silica ampoule. The ampoule was heated at a rate close to 100 K/h up to the temperature of 673 ± 5 K and kept at this temperature for 24 h. Then, the temperature was increased at the rate of 50 K/h to the temperature of 1273 ± 5 K, and the ampoule was kept at this temperature for a period of 3 days. The annealing of Cu7GeS5I and Ag7GeS5I compounds was performed at 923 ± 5 K for 48 h. The nanocrystalline powders were obtained by grinding in a planetary ball mill PQ-N04 for different time with a speed of 200 rpm. When the milling time of the Cu7GeS5I and Ag7GeS5I powder in the Ar atmosphere was 30 min, the average size of nanoparticles was ~250 nm and ~220 nm for Cu7GeS5I and Ag7GeS5I, respectively. Another set of Cu7GeS5I and Ag7GeS5I samples with shorter average grain size (~30 nm) were prepared by more milling with the purpose to study the role of nanoparticle size on the investigated compound’s behavior. To differentiate the particular sets of the samples, NLCs doped with a larger average size of nanoparticles are referred to as XXL. Transferring from bulk materials to their nanoparticle forms preserves the superionic properties. The NLC was heated to the isotropic phase, and three different weight concentrations of nanoparticles (0.01, 0.05, and 0.1 wt%) were added under continuous stirring. The samples, before placed into the measuring cell, were again pre-heated above the temperature of its isotropic state (~50 °C), then ultrasonically mixed for 2 h to ensure homogenous distribution of superionic nanoparticles inside NLC.
The interdigital transducer (IDT-1), prepared on the LiNbO3 delay line, supplied by Pulse Modulator of MATEC 7700, was used to generate the SAW of 10 MHz frequency, and another transducer (IDT-2) was used for SAW receiving by Receiver—MATEC 7700. The acoustic attenuation was measured using MATEC Attenuation Recorder 2470 A. Figure 1a shows the schematic illustration of experimental arrangement of the LC layer (D ≈ 100 μm) located on the center of the delay line and positioned between LiNbO3 and the glass plate, both coated with gold electrodes. Programable 15 Hz Function Generator HM 8131-2 was used as DC-supply. The temperature could be stabilized in the range of 5–80 °C with the accuracy ±0.2 °C.
Electro-optical investigations of light transmission were done in LC cells prepared from two float glasses of thickness 0.7 mm (D = 50 μm), coated with ITO transparent conductive layers and alignment layers rubbed in a parallel direction to electrodes to promote the parallel alignment. The Green DPPS Laser Module CW532 (Roithner Laser Technik GmbH, Wien, Austria) generated the laser beam (532 nm, 5 mW) illuminated the cell’s glass in normal incidence using an optical triangular prism and polarizer (Figure 1b). The initial position of the first polarizer P1, for all investigated suspensions, ensured the linearly polarized incident light beam, the LCs position provided for maximal transmittance registered by photodetector and the second polarizer P2 was adjusted to obtain maximal transmittance after the partial depolarization caused by LC. After passing another polarizer and prism, the intensity of transmitted light was recorded by a photodetector (ThorLABS PDA36A 350–1100 nm, Newton, NJ, USA) connected to the multimeter and subsequently registered by computer monitoring the light transmission as a function of electric field or time.

3. Results and Discussion

The initial intrinsic arrangement of NLC in the case of the SAW attenuation measurement was assumed to have a predominant alignment in the cell plane (director n parallel to electrodes). The orientation of applied electric field was then perpendicular to them. The electric field could turn NLC molecules due to both dielectric anisotropy and coupling between dipole moments of superionic nanoparticles and NLC molecules, starting at the center plane of the NLC cell, toward perpendicular direction in regard of the surface of the electrodes. The SAW attenuation α, due to the longitudinal wave generated by SAW into the NLC that is strongly absorbed by NLC laying on the path of SAW [17], subsequently changed. The SAW amplitude is exponentially attenuated after reaching the NLC layer, propagating along as a leaky surface wave at the NLC/substrate interface due to the generation of a compression (longitudinal) wave in NLC. The vertical surface displacement of SAW is just the reason of this mode conversion, and the longitudinal wave itself propagates into NLC at the Rayleigh angle, ΘR = sin−1(vlc/vs) [26], where vlc is the velocity of the longitudinal wave in LC and vs. is the velocity of the Rayleigh wave on the substrate. The SAW radiates a longitudinal wave into NLC as a SAW component giving rise to the propagation losses. The total attenuation through that path along the solid/NLC interface is then the sum of the attenuation of a NLC-damped Rayleigh SAW αs and the attenuation of a plane longitudinal wave in a viscous NLC αlc. If we take into account that αs is practically independent of viscosity coefficients, (αs = ρlc νlcs νs λSAW) measured SAW attenuation changes can be due to the changes in the attenuation of a longitudinal wave αlc propagating at the Rayleigh angle into the liquid crystal. As we have shown in previous consideration connected with anisotropy measurement [16], the following expression based on hydrodynamic approximation [27,28,29] can be used for the attenuation αlc. Symbols ρlc and ρs are the NLC and substrate densities, respectively, λSAW is the SAW wavelength, f is the frequency, θ is the angle between n direction and wave vector kl describing a longitudinal wave, νi (i = 1–5) are viscosity coefficients after Forester and all. notification [27]. The coefficient ν1, ν2 and ν3 are the shear viscosity coefficients, the coefficients ν4ν2 and ν5 represent bulk viscosities. Comparing experimental results with Equation (1) uniquely indicated that the bulk viscosity coefficients should dominate the SAW attenuation.
αlc = (2π2f2/ρ νlc3) [(2ν1 + ν2 − ν4 + 2 ν5) + 2(ν4 − ν1 − ν5) sin2 θ − (ν1 + ν2 − 2 ν3) sin2 2θ],
The effect of linearly increasing external electric field on the SAW attenuation response, reflecting the structural changes in investigated NLC samples doped with both kinds of XXL nanoparticles and all concentrations, is shown in Figure 2. The development of SAW attenuation, which corresponds to the effect of concentration of superionic nanoparticles on both the structural changes and threshold voltage, consists of the almost constant attenuation at lower voltages followed by a faster increase that later converges to the saturation. Obtained results demonstrate that in investigated compounds the electric field initiates the reorientation of director towards its direction. In addition, the shift of the beginning of increasing regime to higher voltages with increasing concentration in the case of Cu7GeS5I-XXL nanoparticles but a slight shift to lower voltages in the case of Ag7GeS5I-XXL nanoparticles was registered. Similarly, as in the cases of some our previous results [15,16], the higher concentrations of nanoparticles do not ensure the highest influence of electric field on structural changes. The reason of the decrease of the SAW attenuation changes with increasing concentrations can be in the creation of some aggregates of nanoparticles due to too high concentration of superionic nanoparticles which results in a decrease of structural changes [16]. The significantly larger change of SAW attenuation comparing with that of pure NLC and by that the larger effect of doping was evidently detected only for highest concentration (0.10 wt%) of Ag7GeS5I-XXL nanoparticles. A similar difference in the behavior of these two kinds of dopants was also registered in the case of conductivity investigation [30] and is attributed to the generation of ions due to the interaction of Ag7GeS5I-XXL nanoparticles with neutral impurities that occur during their synthesis. The memory effect observed under decreasing field in SAW measurements represents about ~10–20% of initial value, however, it depends on the concentration. This behavior can be influenced by the inducing of pseudonematic domains in NLC [31].
The electro-optical behavior was investigated using the light transmission measurements in the same set of NLC suspensions. The light transmission was expressed (parallel polarizers) as I/I0, where I0 and I are the intensity of incident light passing through the NLC cell without applied field and under the field, respectively.
The effect of electric field on the light transmission measured in the case of NLC samples doped with Cu7GeS5I-XXL and Ag7GeS5I-XXL nanoparticles is illustrated in Figure 3. The measured characteristics formally show the development similar to that obtained by measurements of SAW attenuation (Figure 2). It means that after almost constant light transmission up to ~3.5–5 V, the rapid drop in the light transmission was detected. However, after reaching its minimum, the saturation state follows only in the case of higher concentration of both Cu7GeS5I-XXL and partly also Ag7GeS5I-XXL nanoparticles. Developments in the case of other samples are characteristic of several unanticipated humps, like in the case of pure 6CB. This behavior confirms the fact that the properties of LC doped with superionic nanoparticles can essentially depend on the properties of the host LC [30]. The threshold voltage in both NLC compounds increased markedly comparing with the pure one, already at the lowest concentration. However, the increasing concentration causes again its decrease. The increase in the threshold voltage might be due to the increase in the elastic constant of doped 6CB. On the other side, the dielectric anisotropy of NLC–nanoparticles composition increases with the increasing nanoparticle concentration, and it can be the reason for the decrease in the threshold voltage [32,33,34]. The comparison of measured characteristics (Figure 2 and Figure 3) confirms the role of superionic nanoparticles on the NLC suspension behavior, particularly on the shift of threshold voltage as well as on the total structural changes. The considerable attribute of light transmission characteristics, comparing with SAW measurements, is the increase of threshold voltage due to its inverse proportion to the NLC cell thickness D [35]. Presented light transmission results coincide well with our previous ones obtained on the same NLC doped with different nanoparticles [17]. It is important to know that the superionic nanoparticles do not interact with each other. The measurements with crossed polarizers showed similar behavior. However, the light transmission changes were weaker and opposite, of course.
The comparison of the effect of electric field on the structural changes registered by the SAW attenuation response illustrated in Figure 4 for the same concentration (0.01%) for all kinds of nanoparticles unambiguously shows the significantly highest role of Ag7GeS5I-XXL superionic nanoparticles on structural changes registered by the SAW attenuation comparing to Cu7GeS5I-XXL including both kinds of nanoparticles with smaller size.
To study switching processes in investigated sets of NLC compounds, the voltage of 6 V corresponding to an almost saturated state was used. The SAW attenuation and light transmission time responses after jumped voltage (6 V) running to 6CB doped with both Ag7GeS5I-XXL and Cu7GeS5I-XXL nanoparticles for different concentrations (0.01, 0.05, 0.10 wt% and pure) are illustrated in Figure 5 and Figure 6, respectively. The decay relaxation times determined from SAW measurements (Figure 5a and Figure 6a) change from 6.7 s to 8.2 s in the case of Ag7GeS5I-XXL nanoparticles and from 13.0 s to 11.2 s in the case of Cu7GeS5I-XXL nanoparticles, depending on the concentration. The rise relaxation times fall into intervals 1.3–2.0 s and 1.4 -3.4 s, respectively. The registered effect of the concentration on the decay time can be attributed to both the decrease of the rotational viscosity and the increase in anchoring energy with increasing nanoparticles concentration [34,36]. However, the important feature of the most of acoustic investigations of 6CB doped with superionic nanoparticles is that the significant effect of such doping can be evident mainly for higher concentrations (≥0.10 wt%), although in the case of Cu7GeS5I-XXL nanoparticle the SAW changes are even smaller than for pure 6CB. It should be noted that in the compound of NLC with superionic nanoparticles could be polarized under an external electric field when positively charged nanoparticles will move to a negative electrode, whereas electrons—to a positive electrode. Superionic nanoparticles can then affect the nematic environment by affecting the orientation of dipoles and processes on the “superionic nanoparticle–NLC” interface [37]. Concerning the different behavior of Ag7GeS5I-XXL and Cu7GeS5I-XXL nanoparticles, the fact found in conductivity investigation [38] that the substitution of Ag atoms with Cu ones leads to a sharp decrease of the ratio of ionic to electronic conductivity, can also play some role.
The light transmission sensitivity on doping process with superionic nanoparticles seems to be slightly higher than SAW attenuation, and in this way, it can also reveal the influence of very low nanoparticle concentration on optical properties. This fact is also supported by comparing light transmission investigations of samples with Ag7GeS5I-XXL (Figure 5a) and Cu7GeS5I-XXL (Figure 6a) nanoparticles where spite of small changes in SAW attenuation for Cu7GeS5I-XXL nanoparticles, they are more sensitive in light transmission investigation. The reason for the different sensitivity in SAW and optical investigations could be due to the different initial orientation of LC molecules and probably also due to some imperfections on evaporated golden electrodes on the both delay line and optical glass. Previous results obtained investigating the dielectric properties of 6CB doped with superionic nanoparticles Cu6PS5I showed that these nanoparticles do not significantly affect the dielectric permittivity of 6CB NLC [30,38] that partly corresponds with presented results. In addition, the similar behavior we have registered in both acoustic and light transmission investigation in the case of superionic nanoparticles Cu6PS5Br as dopant dispersed in the same NLC host (6CB) but with different stability and development of switching process [39]. The registered differences could be assigned to the size effect that can have also the effect on the ferroelastic properties of NLCs. Concerning the shift of threshold field, obtained results were similar to the presented ones.
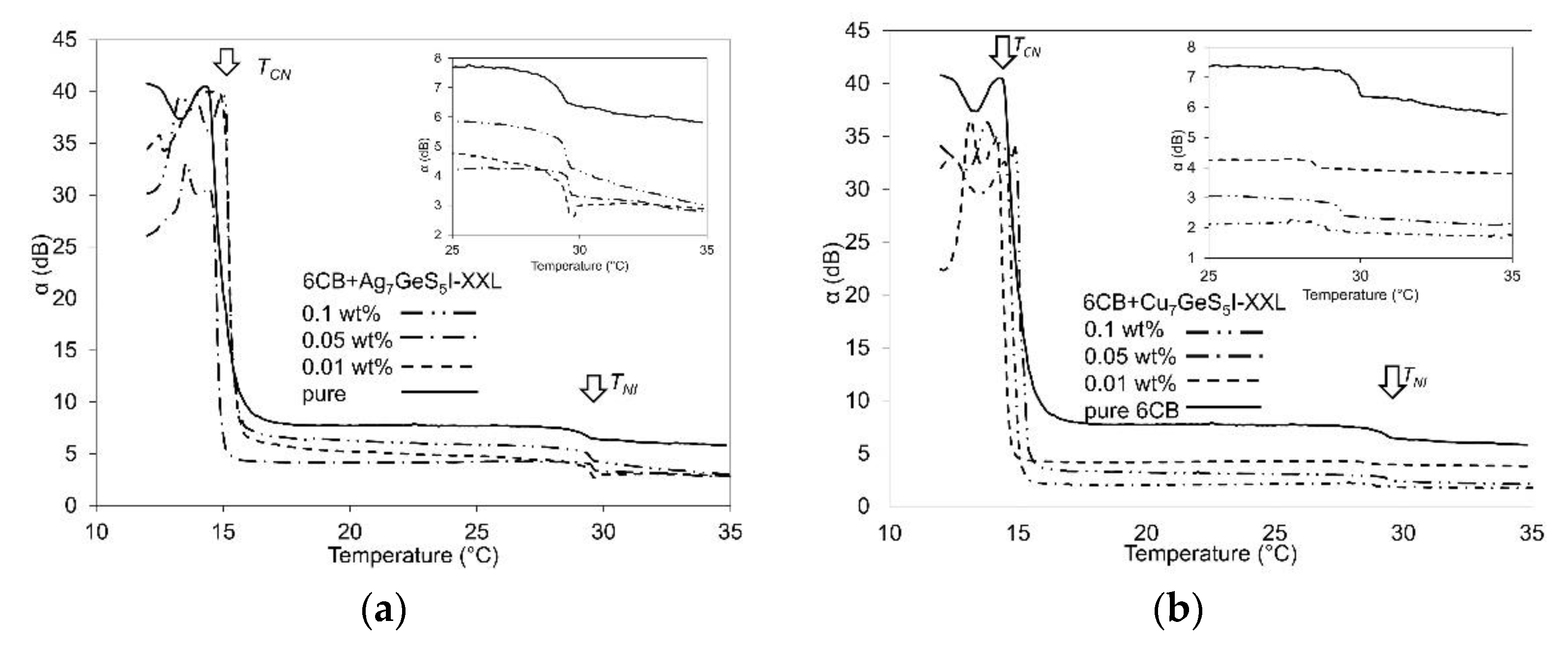
The temperature dependences of SAW attenuation measured for the NLC consisting of both Ag7GeS5I-XXL and Cu7GeS5I-XXL nanoparticles and all concentrations (0.01, 0.05, and 0.10 wt%) are illustrated in Figure 7. Both temperatures dependences have very similar development. The SAW attenuations show at the temperature TCN, representing the crystal-nematic transition, the rapid decrease in the interval of 1–1.5 °C followed by the stable attenuation until achieving the temperature of ~30 °C when the NLC compounds change to the isotropic phase (TNI) that is represented by the weak decrease of the SAW attenuation (see details in Figure 7). The temperature development of the SAW attenuation indicates the minimal effect of thermal motion on the structural changes detected at SAW frequency of 10 MHz due to the interaction of SAW with NLC molecules. Presented temperature dependences also show the role of the concentration on the shift of TNI to lower temperatures, but decreasing with increasing concentration, especially for Cu7GeS5I-XXL nanoparticles. The shift of phase transition towards lower temperatures for doped NLC can be attributed to the anchoring interactions between NLC molecules and nanoparticle surfaces disturbing the NLC order. This effect can in this case predominate the effect concerning the permanent polarization of nanoparticles that assists in the increase of phase transition temperature [39]. The latter was registered, though slightly, in the case of Ag7GeS5I-XXL nanoparticles. The shift of transition temperature TNI is actually more distinctive in the case of Cu7GeS5I-XXL nanoparticles. Another reason for the decrease of TNI can be related to the increasing volume of impurities occurring in the NLC during its synthesis, the increase of nanoparticle concentration is also responsible for the conductivity behavior [30,32].

4. Conclusions

In conclusion, we have presented experimental results of the investigation of the effect of superionic nanoparticles Ag7GeS5I or Cu7GeS5I, in addition of two different sizes, on structural changes in 6CB nematic liquid crystal under electric field. The responses of both SAW attenuation and light transmission were used as measurement techniques. Comparing the results of these techniques, we could get more reliable information about the influence of the studied doping process on structural changes in presented compositions. As the properties of NLCs doped with superionic nanoparticles can essentially depend on the properties of host NLC, it was interesting to investigate how the properties of NLC may differ at the introduction of these similar superionic nanoparticles. It was again demonstrated that the addition of superionic nanoparticles can influence the sensitivity of NLCs to external fields, namely the reduction of transition temperature, the change of the threshold voltage, registered structural changes or optical switching properties. In addition, the effect of the creation of some aggregates of nanoparticles due to too high concentration can cause the nonlinear dependence of the SAW attenuation changes on the increasing concentration. Experimental results also indicated a significant role of both nanoparticle concentration and nanoparticle size on the optical properties, including the switching behavior, and showed thereby the possibility to improve them. However, the appropriate type of nanoparticles as well as their concentration should be chosen. It is interesting that optical properties of some investigated compounds can be influenced already by a small quantity of superionic nanoparticles (0.01 wt%), despite the significant structural changes detected by SAW attenuation primarily for higher dopant concentrations. This finding indicates their potential application.

Author Contributions

Conceptualization, P.B., P.K. and I.P.S.; methodology, P.B.; software, M.V., P.B.; validation, P.B., P.K. and I.P.S.; investigation, P.B., M.V.; resources, I.P.S., A.I.P. and M.T.; writing—original draft preparation, P.B.; writing—review and editing, P.B., P.K. and I.P.S.; funding acquisition, P.B., and P.K. All authors have read and agreed to the published version of the manuscript.

Funding

This work was supported by VEGA project 2/0043/21 and by MVTS SAV FMF Flexible magnetic filament.

Acknowledgments

Authors also would like to thank František Černobila for technical assistance.

Conflicts of Interest

The authors declare no conflict of interest. The funders had no role in the design of the study; in the collection, analyses, or interpretation of data; in the writing of the manuscript, or in the decision to publish the results.

References

  1. Kleman, M.; Laverntovich, O.D. Soft Matter Physics: An Introduction; Springer: New York, NY, USA, 2003. [Google Scholar]
  2. Quan, L. Liquid Crystals beyond Displays: Chemistry, Physics, and Applications; John Wiley and Sons, Inc.: Hoboken, NJ, USA, 2012. [Google Scholar]
  3. Kuang, Z.; Kim, S.N.; Crookes-Goodson, W.J.; Farmer, B.L.; Naik, R.R. Biomimetic chemosensor: Designing peptide recognition elements for surface functionalization of carbon nanotube field effect transistors. ASC Nano 2010, 4, 452–458. [Google Scholar] [CrossRef]
  4. Bradley, K.; Gabriel, J.P.; Gruner, G. Flexible nanotube electronics. Nano Lett. 2003, 3, 1353–1355. [Google Scholar] [CrossRef]
  5. Lagerwall, J.P.; Scalia, G. Liquid Crystals with Nano and Microparticles; Word Scientific: Singapore, 2017; Volume I. [Google Scholar]
  6. Iwan, A.; Boharewicz, B.; Tazbir, I.; Hamplová, V.; Bubnov, A. Effect of chiral photosensitive liquid crystalline dopants on the performance of organic solar cells. Solid-State Electron. 2015, 104, 53–60. [Google Scholar] [CrossRef]
  7. Buchnev, O.; Cheon, C.I.; Glushchenko, A.; Reznikov, Y.; West, J.L. New non-synthetic method to modify properties of liquid crystals using micro- and nano-particles. J. Soc. Inf. Disp. 2005, 13, 749–754. [Google Scholar] [CrossRef]
  8. Podoliak, N.; Buchnev, O.; Herrington, M.; Mavrona, E.; Kaczmarek, M.; Kanaras, A.G.; Stratakis, E.; Blach, J.-F.; Henninot, J.-F.; Warenghem, M. Elastic constants, viscosity and response time in nematic liquid crystals doped with ferroelectric nanoparticles. RSC Adv. 2014, 4, 46068–46074. [Google Scholar] [CrossRef]
  9. Li, F.; Buchnev, O.; Cheon, C.I.; Glushchenko, A.; Reshetnyak, V.; Reznikov, Y.; Sluckin, T.J.; West, J.L. Orientational Coupling Amplification in Ferroelectric Nematic Colloids. Phys. Rev. Lett. 2006, 97, 147801. [Google Scholar] [CrossRef]
  10. Abbasov, M.E.; Carlisle, G.O. Effects of carbon nanotubes on electro-optical properties of dye-doped nematic liquid crystal. J. Mater. Electron. 2012, 23, 712–717. [Google Scholar] [CrossRef]
  11. Basu, R.; Ianncchione, G.S. Nematic anchoring on carbon nanotubes. Appl. Phys. Lett. 2009, 95, 173113. [Google Scholar] [CrossRef]
  12. Bubnov, A.; Iwan, A.; Cigl, M.; Boharewicz, B.; Tazbir, I.; Sikora, A.; Hamplová, V. Photosensitive self-assembling materials as functional dopants for organic photovoltaic cells. RSC Adv. 2016. [Google Scholar] [CrossRef]
  13. Bury, P.; Kudelčík, J.; Hardoň, Š.; Veveričík, M.; Kopčanský, P.; Timko, M.; Závišová, V. Effect of spherical magnetic particles on liquid crystals behavior studied by surface acoustic waves. J. Magn. Magn. Mater. 2017, 423, 57–60. [Google Scholar] [CrossRef]
  14. Bury, P.; Veveričík, M.; Kúdelčík, J.; Kopčanský, P.; Timko, M.; Závišová, V. SAW investigation of structural changes in liquid crystals doped with magnetic particles. Acta Acust. United Acust. 2018, 104, 48–53. [Google Scholar] [CrossRef]
  15. Bury, P.; Veveričík, M.; Kopčanský, P.; Timko, M.; Mitróová, Z. Structural Changes in Liquid Crystals Doped with Functionalized Carbon Nanotubes. Phys. E 2018, 103, 53–59. [Google Scholar] [CrossRef]
  16. Bury, P.; Veveričík, M.; Černobila, F.; Kopčanský, P.; Timko, M.; Závišová, V. Study of Structural Changes in Nematic Liquid Crystals Doped with Magnetic Nanoparticles Using Surface Acoustic Waves. Crystals 2020, 10, 1023. [Google Scholar] [CrossRef]
  17. Bury, P.; Veveričík, M.; Kopčanský, P.; Timko, M.; Studenyak, I.P. Effect of superionic nanoparticles on structural changes and electro-optical behavior in nematic liquid crystal. J. Mol. Liq. 2019, 288, 111042. [Google Scholar] [CrossRef]
  18. Veveričík, M.; Bury, P.; Studenyak, I.P.; Kopčanský, P.; Timko, M.; Baláž, P. Investigation of Structural Changes in Liquid Crystal Doped with Superionic Nanoparticles; ELEKTRO: Mikulov, Czech Republic, 2018. [Google Scholar] [CrossRef]
  19. Rahman, M.; Lee, W. Scientific duo of carbon nanotubes and nematic liquid crystals. J. Phys. D Appl. Phys. 2009, 42, 063001. [Google Scholar] [CrossRef]
  20. Huang, C.-Y.; Hu, C.-Y.; Pan, H.-C.; Lo, K.-Y. Electro-optical response of Carbon Nanotube-doped liquid crystal devices. Jap. J. Appl. Phys. 2005, 44, 8077–8081. [Google Scholar] [CrossRef]
  21. Lu, S.-Y.; Chien, L.-C. Carbon nanotube doped liquid crystal OCB cells: Physical and electro-optical properties. Optic Express 2008, 16, 12777. [Google Scholar] [CrossRef]
  22. Bury, P.; Veveričík, M.; Kopčanský, P.; Timko, M.; Závišová, V. Effect of Spherical, Rod-Like and Chain-Like Magnetic Nanoparticles on Magneto-Optical Response of Nematics. Acta Phys. Pol. A 2019, 136, 101–106. [Google Scholar] [CrossRef]
  23. Nagel, A.; Range, K.J. Die Kristallstruktur von Ag7GeS5I. Z. Naturforsch 1979, 34, 360–362. [Google Scholar]
  24. Nilges, T.; Pfitzner, A. A structural differentiation of quaternary copper argirodites: Structure property relations of high temperature ion conductors. Z. Kristallogr. 2005, 220, 281–284. [Google Scholar]
  25. Kuhs, W.F.; Nitsche, R.; Scheunemann, K. The Crystal Structure of Cu6PS5Br, a New Superionic Conductor. Acta Cryst. B 1978, 34, 64–70. [Google Scholar] [CrossRef]
  26. Tiller, B.; Rebous, J.; Tassieri, M.; Wilson, R.; Cooper, J. Frequency dependence of microflows upon acoustic interactions with fluids. Phys. Fluids 2017, 29, 122008. [Google Scholar] [CrossRef]
  27. Forester, D.; Lubensky, T.C.; Martin, P.C. Hydrodynamics of liquid crystals. Phys. Rev. Lett. 1971, 26, 1016–1019. [Google Scholar] [CrossRef]
  28. Martin, P.S.; Parodi, O.; Pershan, P.S. Unified hydrodinamic theory for crystals, liquid crystals, and normal fluids. Phys. Rev. A 1971, 6, 2401–2420. [Google Scholar] [CrossRef]
  29. Belyaev, V.V. Methods for measuring the viscosity coefficients of the nematic liquid crystals. UPN 2001, 171, 267–298. [Google Scholar] [CrossRef]
  30. Studenyak, I.P.; Kovalchuk, O.V.; Pogodin, A.I.; Poberezhets, S.I.; Studenyak, V.I.; Poberezhets, I.I.; Lacková, V.; Kopčanský, P.; Timko, M.; Kopčanský, P.; et al. Influence of cation substitution on dielectric properties and alectric conductivity of 6CB liquid crystal with Me7GeS5I (Me = Ag, Cu) superionic nanoparticles. Mol. Cryst. Liq. Cryst. 2020, 702, 21–29. [Google Scholar] [CrossRef]
  31. Basu, R. Soft memory in ferroelectric nanoparticle-doped liquid crystal. Phys. Rev. E 2014, 89, 022508. [Google Scholar] [CrossRef] [PubMed]
  32. Gorkunov, M.V.; Osipov, M.A. Mean-field theory of a nematic liquid crystal doped with anisotropic nanoparticles. Soft Matter 2011, 7, 4348–4356. [Google Scholar] [CrossRef]
  33. Kemiklioglu, E.; Chien, L.-C. Electro-optical properties of carbon nanotube-doped polymer-stabilised blue phase liquid crystal IPS cell. Liq. Cryst. 2016, 8, 1067–1074. [Google Scholar] [CrossRef]
  34. Kumar, J.; Manjuladevi, V.; Gupta, R.K.; Kumar, S. Fast response in TN liquid-crystal cells: Effect of functionalised carbon nanotubes. Liq. Cryst. 2015. [Google Scholar] [CrossRef]
  35. Burylov, S.V.; Raikher, Y.L. Macroscopic properties of ferronematics caused by orientational interactions on the particle surfaces II, Behavior of real ferronematics in external fields. Mol. Cryst. Cryst. 1995, 258, 123–141. [Google Scholar] [CrossRef]
  36. van der Schoot, P. Self-assembly of globular particles in a nematic dispersion of colloidal rods. J. Chem. Phys. 2002, 117, 3537–3540. [Google Scholar] [CrossRef]
  37. Studenyak, I.P.; Izai, V.Y.; Studenyak, V.I.; Rybak, S.O.; Pogodin, A.I.; Kokhan, O.P. Phase transitions and optical absorption edge in (Cu6PS5Br)1-x(Cu7PS6)x mixed crystals. J. All. Comp. 2018, 735, 417–421. [Google Scholar] [CrossRef]
  38. Izai, V.Y.; Studenyak, V.I.; Pogodin, A.I.; Studenyak, I.P.; Rajňák, M.; Kurimský, J.; Timko, M.; Kopčanský, P. Electrical and dielectric properties of composites based on (Ag1-xCux)7GeS5I mixed crystals. SPQEO 2018, 21, 387–391. [Google Scholar] [CrossRef]
  39. Šalkus, T.; Kazakevičius, E.; Banys, J.; Kranjčec, M.; Chomolyak, A.A.; Neimet, Y.Y.; Studenyak, I.P. Influence of grain size effect on electrical properties of Cu6PS5I superionic ceramics. Solid State Ion. 2014, 262, 597–600. [Google Scholar] [CrossRef]
Figure 1. Schematic illustration of experimental arrangement for SAW attenuation (a) and light transmission measurements (b).
Figure 1. Schematic illustration of experimental arrangement for SAW attenuation (a) and light transmission measurements (b).
Crystals 11 00413 g001
Figure 2. Effect of applied electric field on SAW attenuation for 6CB doped with Ag7GeS5I (a) and Cu7GeS5I (b) nanoparticles including pure 6CB.
Figure 2. Effect of applied electric field on SAW attenuation for 6CB doped with Ag7GeS5I (a) and Cu7GeS5I (b) nanoparticles including pure 6CB.
Crystals 11 00413 g002
Figure 3. Electro-optical characteristics of 6CB liquid crystal doped with Ag7GeS5I (a) and Cu7GeS5I (b) nanoparticles including pure 6CB.
Figure 3. Electro-optical characteristics of 6CB liquid crystal doped with Ag7GeS5I (a) and Cu7GeS5I (b) nanoparticles including pure 6CB.
Crystals 11 00413 g003
Figure 4. Comparison of the effect of applied electric field on SAW attenuation for 6CB doped with Ag7GeS5I and Cu7GeS5I nanoparticles of both sizes for concentration 0.01 wt%, including pure 6CB.
Figure 4. Comparison of the effect of applied electric field on SAW attenuation for 6CB doped with Ag7GeS5I and Cu7GeS5I nanoparticles of both sizes for concentration 0.01 wt%, including pure 6CB.
Crystals 11 00413 g004
Figure 5. SAW attenuation (a) and light transmission (b) time responses after jump voltage (9 V) applied to 6CB doped with Ag7GeS5I nanoparticles, including pure 6CB.
Figure 5. SAW attenuation (a) and light transmission (b) time responses after jump voltage (9 V) applied to 6CB doped with Ag7GeS5I nanoparticles, including pure 6CB.
Crystals 11 00413 g005
Figure 6. SAW attenuation (a) and and light transmission (b) time responses after jump voltage (9 V) applied to 6CB doped with Cu7GeS5I nanoparticles, including pure 6CB.
Figure 6. SAW attenuation (a) and and light transmission (b) time responses after jump voltage (9 V) applied to 6CB doped with Cu7GeS5I nanoparticles, including pure 6CB.
Crystals 11 00413 g006
Figure 7. Temperature dependence of SAW attenuation of 6CB doped with Ag7GeS5I (a) and Cu7GeS5I (b) nanoparticles of different concentrations (0.01, 0.05 and 0.10 wt%) including pure 6CB.
Figure 7. Temperature dependence of SAW attenuation of 6CB doped with Ag7GeS5I (a) and Cu7GeS5I (b) nanoparticles of different concentrations (0.01, 0.05 and 0.10 wt%) including pure 6CB.
Crystals 11 00413 g007
Publisher’s Note: MDPI stays neutral with regard to jurisdictional claims in published maps and institutional affiliations.

Share and Cite

MDPI and ACS Style

Bury, P.; Veveričík, M.; Kopčanský, P.; Timko, M.; Studenyak, I.P.; Pogodin, A.I. Influence of X7GeS5I (X = Ag, Cu) Superionic Nanoparticles on Structural Changes in Nematic Liquid Crystal. Crystals 2021, 11, 413. https://doi.org/10.3390/cryst11040413

AMA Style

Bury P, Veveričík M, Kopčanský P, Timko M, Studenyak IP, Pogodin AI. Influence of X7GeS5I (X = Ag, Cu) Superionic Nanoparticles on Structural Changes in Nematic Liquid Crystal. Crystals. 2021; 11(4):413. https://doi.org/10.3390/cryst11040413

Chicago/Turabian Style

Bury, Peter, Marek Veveričík, Peter Kopčanský, Milan Timko, Ihor P. Studenyak, and Artem I. Pogodin. 2021. "Influence of X7GeS5I (X = Ag, Cu) Superionic Nanoparticles on Structural Changes in Nematic Liquid Crystal" Crystals 11, no. 4: 413. https://doi.org/10.3390/cryst11040413

APA Style

Bury, P., Veveričík, M., Kopčanský, P., Timko, M., Studenyak, I. P., & Pogodin, A. I. (2021). Influence of X7GeS5I (X = Ag, Cu) Superionic Nanoparticles on Structural Changes in Nematic Liquid Crystal. Crystals, 11(4), 413. https://doi.org/10.3390/cryst11040413

Note that from the first issue of 2016, this journal uses article numbers instead of page numbers. See further details here.

Article Metrics

Back to TopTop