Next Article in Journal
The Distribution of Rare Earth Elements in Coal Fly Ash Determined by LA-ICP-MS and Implications for Its Economic Significance
Previous Article in Journal
The Impact of the Forward-Looking Strategy on the Sustainable Development of Enterprises Under the Background of Digital Economy—Based on Dynamic Regulation
 
 
Font Type:
Arial Georgia Verdana
Font Size:
Aa Aa Aa
Line Spacing:
Column Width:
Background:
Article

Scheduling the Just-in-Time Delivery of Parts for Mixed-Model Assembly Lines Considering the Electrical Energy Consumption of an Automated Guided Vehicle Trolley

School of Management, Shanghai University, Shanghai 200444, China
*
Author to whom correspondence should be addressed.
Sustainability 2025, 17(1), 273; https://doi.org/10.3390/su17010273
Submission received: 5 December 2024 / Revised: 27 December 2024 / Accepted: 30 December 2024 / Published: 2 January 2025

Abstract

This paper studies the scheduling of just-in-time part delivery for a mixed-model assembly line with material supermarkets under an unfixed path. According to the problem description and related assumptions, a mixed-integer programming model with the goal of minimizing the line-side inventory and delivery energy consumption of automated guided vehicles (AGVs) was constructed. Based on the material demand calculated according to the assembly plan, the model decides the parts to be delivered, the schedule of each delivery round, and the route of the AGV trolley. For small-scale problems, the epsilon constraint method is used to solve the Pareto frontier accurately. For large-scale problems, an improved version of the NSGA-II (Non-dominated Sorting Genetic Algorithm II) is designed to solve the problem more efficiently. Numerical analyses of different scales demonstrated the efficiency of the proposed algorithm. Furthermore, a sensitivity analysis showed that using a smaller AGV capacity with more frequent delivery can achieve a lower inventory level but higher energy consumption. Therefore, enterprises need to choose reasonable delivery schemes according to the assembly line layout and station occupation to save assembly space and achieve the target of carbon emissions reduction.

1. Introduction

With the increasing demand in the new energy vehicle market, the automobile industry, which assembles a large number of parts into end products, has developed rapidly. Due to the increase in customer-personalized needs, mixed-model assembly lines, instead of traditional single-product assembly lines, have been adopted by the original equipment manufacturers (OEMs) to meet this challenge. The number of parts required for assembly lines that produce multiple products has increased significantly. Nowadays, in many OEMs, the cost of delivering parts covers about 15–30% of the total production costs in the workshop. With just-in-time logistics, parts are delivered from the material supermarket to the final assembly line when they are needed, which can greatly reduce the operating costs of the manufacturing system. In addition, the use of traditional periodic delivery of parts will increase the pressure on line inventory, while line-side inventory can be reduced significantly under the scheduling of just-in-time parts delivery. Additionally, AGV trolleys can be scheduled reasonably with the just-in-time delivery of parts, which effectively reduces the energy consumption generated by the transportation process and helps manufacturers cope with the challenge of rising energy prices. This is conducive to reducing carbon emissions and achieving energy sustainability. On the one hand, the development of industrial technology has promoted the application of automated production lines and unmanned vehicles. Regarding the problem of scheduling the delivery of parts for assembly lines with material supermarkets, it is important to make timely decisions, such as deciding the start time for automated guided vehicle (AGV) delivery and the bins to be loaded for each delivery round of the AGVs. On the other hand, due to the rise in energy prices and the non-renewability of most resources, the manufacturing industry is becoming increasingly concerned about energy conservation and emissions reduction. Sustainable scheduling has also attracted the attention of many manufacturing enterprises. Energy consumption is a core issue in sustainable development. Therefore, it is necessary to reduce energy consumption while considering delivery times and average inventories when studying this problem.
Based on the scheduling of the just-in-time delivery of parts for unfixed paths, we constructed a dual-objective mixed-integer programming model that minimizes the energy consumption of AGVs and line-side inventory. To solve the multi-objective problem of delivering parts in a mixed-model assembly line with a material supermarket, we designed an epsilon constraint algorithm to solve small-scale problems. In order to quickly solve medium- and large-scale problems, the improved NSGA-II was proposed, and its effectiveness was verified.
The remainder of this paper is structured as follows. A brief literature review is presented in Section 2. According to the problem description and related assumptions given in Section 3, a mixed-integer programming model with the goal of minimizing the line-side inventory and delivery energy consumption of AGVs is constructed in Section 4. And the epsilon constraint method and improved NSGA-II are presented in Section 5. In Section 6, experimental studies on the computational results for both the mathematical model and the algorithm are reported. Section 7 presents the conclusions and suggestions for future studies.

2. Literature Review

The optimization of scheduling the delivery of parts is an important topic in the research of mixed-model assembly lines. Most of the studies in this area have concentrated on establishing appropriate delivery time windows or implementing periodic delivery schedules [1,2,3], which may result in a large amount of line inventory. Therefore, the study of just-in-time delivery is essential to reduce the line-side inventory [4]. Fathi et al. [5] dealt with AGV loading and delivery scheduling to minimize the number of delivery tours as well as the inventory level. Zhou et al. [6] focused on delivery scheduling with time window and capacity constraints, and they minimized line-side inventory by determining the AGV handling time and the number of boxes the AGVs loaded. Zhou et al. [7] studied the material delivery problem with milk-run delivery. The full load rate of a trolley was increased by deciding the types and quantities of parts to use for each delivery cycle. Xia et al. [8] proposed a multi-load carrier scheduling method that can accurately determine when to deliver parts, what parts to deliver, and their order, which means that the parts can be delivered on time and there is no shortage of parts. Peng et al. [9] studied the just-in-time scheduling of mixed-model assembly lines combined with a material supermarket, which aimed to minimize line-side inventory. While the delivery path of each vehicle was fixed in the above studies, unfixed paths are more flexible and effective for trolleys, which balance economic and energy efficiency. Zhang et al. [10] handled the assembly line material distribution by considering travel time uncertainty. The goal was to minimize the total travel distance of vehicles. Nishida et al. [11] minimized early and late delivery times to realize just-in-time delivery. The above studies focused on the optimization of the delivery path of materials, but most of these studies only focused on a single goal, such as path length or distance minimization, ignoring the scheduling problem when combined with unfixed routes and just-in-time distributions.
With the recent improvement in delivery strategies, manufacturers have put forward higher cost requirements. As sustainable scheduling has received more attention by manufacturers recently, it is essential to reduce carbon emissions during the production process, which could also help reduce costs further. There are usually three processes generating carbon emissions: assembly line balance processing, the robot used by the assembly line, and material delivery. In this paper, the energy consumption considered is generated during the delivery process. Currently, some OEMs are experimenting with fully automated transport systems. Transport trolleys have been implemented by driverless AGVs, which can be docked on specially designed racks at stations and can unload material quickly and without any human intervention. The docking time can be negligible compared to the traveling time. Therefore, AGVs can be docked at each station they visit. It is important to evaluate carbon emissions accurately, which influences delivery scheduling. There are a series of models that can be used to quantitatively evaluate carbon emissions, developed through pioneering research. Some studies have focused on the goal of optimizing the energy consumption generated by overcoming resistance [12,13]. There are some studies that consider the energy consumption associated with load and travel distance [14,15]. Meanwhile, Tan et al. consider that carbon emissions in workshops are generated by production machines, AGVs, and auxiliary equipment. So, the total energy consumption derived from trolley power loss, mechanical cutting and idling, and workshop lighting is considered [16].
Due to cost being a priority for manufacturers, energy consumption needs to be considered, along with other factors that may affect costs. The line-side inventory is considered frequently, which can increase inventory costs. Zhou et al. [17] studied the material distribution under multiple supermarkets with the goal of minimizing energy consumption and line-side inventory. Huang et al. [18] proposed the concepts of “traveling section” and “kit conveyor”, which led to the division of the assembly line. In each traveling section, the materials were delivered through milk runs.
For NP-hard problems, heuristic algorithms are widely used. Some studies have improved basic algorithms. An improved genetic algorithm was used for automated transport vehicle scheduling by Rahman and Nielsen [19]. However, genetic algorithms usually transform multi-objective functions into single-objective functions using the weighted-sum method, yielding only one solution. So, multi-objective optimization algorithms have been developed. Zhang and Li [20] proposed a scheduling model integrating machines and automated guided vehicles using the improved particle swarm optimization algorithm. Liu and Qian [21] applied the NSGA-II to the material distribution and demonstrated that the Pareto noninferior solution found by the NSGA-II was ideal. Huo et al. [22] used the NSGA-II to yield a set of Pareto solutions to solve their conflicting objectives.
There are many studies on the material distribution of mixed-model assembly lines, but research on the use of material supermarkets for the delivery of parts is insufficient. Although there is a lot of research on material scheduling, only a few studies take into account just-in-time scheduling with different time intervals and unfixed routines. In addition, there is a lack of research on the energy consumed in the just-in-time delivery of parts under the material supermarket scenario. Based on the unfixed-path just-in-time delivery strategy, this paper fills this gap in the research by constructing a dual-objective mixed-integer programming model that minimizes the line-side inventory and energy consumption of the AGV.

3. Problem Description and Assumptions

The distribution of parts delivery for an automobile assembly line is shown in Figure 1. The research focuses on the part supply scheduling between the material supermarket and the assembly line. The material supermarket is a centralized place to store parts near the assembly line. The problem can be described as follows. The AGV travels from the material supermarket loaded with the material boxes needed and is only unloaded at the workstations that need to be replenished. The AGV finally returns to the material supermarket after completing a delivery task, and the parts are loaded into the AGV again. The AGV then waits for the best time to start delivery from the material supermarket again. The workstations that need to be replenished and the delivery route are decided according to the demand. The production sequence is predetermined according to the fixed production schedule. The number of corresponding material boxes can be calculated from the bill of materials (BOM). Therefore, to schedule the delivery effectively, the start time for each delivery round, the sequence, and the number of each part need to be determined to minimize the line-side inventory and energy consumption.
Due to limitations such as lanes and capacity in the workshop, the number of boxes delivered in each delivery round is restricted. Furthermore, the AGV drives at a constant speed and cannot turn around or stop. To effectively formulate the problem, the assumptions made are as follows:
There is only one AGV, which undergoes no equipment failure. The AGV is assumed to run at a constant speed.
It is assumed that the AGV will not stop during the delivery task due to workers or other road problems.
The AGV has sufficient power to complete each delivery task.
Since the energy consumption of the AGV trolley is related to the load weight and driving distance and, to simplify the problem, this is assumed to be a linear correlation, it is then assumed that the power loss caused by the weight of the AGV itself is consistent with that caused by the weight of the load parts.
The energy consumption rate (ECR) function of the AGV is f L = ( 0.0485 L + 12.243 ) × d , where L is the sum of the load weight of the AGV and its own weight and d indicates the distance traveled to deliver the corresponding material boxes [23].
The loading time and unloading time are constant for all boxes.
The AGV’s delivery process cannot be interrupted. Only after carrying out all the handling tasks can the AGV return to the supermarket.
The loading capacity of the AGV is limited.
The number of material boxes carried by the AGV is limited. Each part can only be loaded into one standard box, and repeated loading is not allowed.

4. Mathematical Model

4.1. Notations

(1) Sets:
P: The set of part types;
N: The set of tours of the AGV;
M:The set of cycle times;
S: The set of delivery sequences.
(2) Indices:
p: The index of the part;
n: The index of tour of the AGV;
m: The index of the cycle time;
s: The index of the delivering sequence.
(3) Parameters:
Q p :The number of parts p loaded in one box;
L p :The unit weight of part p;
L 0 :The weight of the AGV;
c t :Cycle time;
l :The time for loading a standard box in the material supermarket;
u :The time for unloading a standard box in the part buffer zone;
B p m :The demand for part p in the cycle time m;
h 0 p :Initial inventory of part p;
t b :The start time for supply scheduling;
t e :The end time for supply scheduling;
G :The largest number;
g :The smallest number;
v :The speed of the AGV;
C :The maximum number of standard boxes that the AGV can load;
d i j : i / j = 0 is the material supermarket, indicating the distance between the material supermarket and the corresponding part buffer zone; i / j 0 is the distance between the part buffer zone i and part buffer zone j .
(4) Decision variables:
t n :The start time of tour n;
t n p :The time for arriving at the corresponding buffer zone and unloading part p in tour n;
t n s : The time for arriving at the corresponding buffer zone and unloading part p in sequence s;
L n :The total weight of the loading parts and AGV when the AGV leaves the material supermarket in tour n;
L n p s : Intermediate variable: the weight of delivering part p in sequence s in tour n;
X n p :Boolean variable: equal to 1 if part p is delivered in tour n; otherwise, equal to 0;
y n :Boolean variable: equal to 1 if tour n is taken; otherwise, equal to 0;
T n :The total delivery time in tour n;
T n :Intermediate variable;
Y n p s :Boolean variable: equal to 1 if part p is delivered in sequence s in tour n; otherwise, equal to 0;
H m p :The inventory of the line-side buffer of part p in cycle m;
E n :The energy consumption of the AGV in tour n;
H n m p :Intermediate variable: the number of parts p delivered in tour n and cycle m;
w m n p :Boolean variable: equal to 1 if part p is delivered to the buffer zone in tour n and cycle m; otherwise, equal to 0;
K n :Types of delivery parts in tour n;
e n p :Boolean variable: equal to 1 if the last part p is delivered in the final tour n that is taken; otherwise, equal to 0.

4.2. Model

To reduce the costs generated by delivery, the parts were delivered with the minimum number if deliveries and adjustments were made under the premise of fully utilizing the AGV’s capacity. The minimum number of deliveries, N, is calculated from the total demand for material boxes and the capacity of the AGV. The formula is as follows:
N = p = 1 P ( m = 1 M B p m h 0 p C × Q p )
Under the minimum number of deliveries, the model, with the goal of minimizing the total energy consumption and line-side inventory, can be developed as follows:
M i n   n = 1 N E n
M i n   m = 1 M p = 1 P H m p
s.t.
t 1 t b + l × p = 1 P X 1 p , p P
t n + 1 t n + T n + u × p = 1 P X n p + l × p = 1 P X ( n + 1 ) p , n = 1 , 2 N 1
T n = T n × y n ,   n N
t n t b , n N
t n t e , n N
p = 1 P X n p C × y n , n N
K n = p = 1 P X n p , n N , p P
s = 1 S Y n p s = X n p ,   n N , p P , s S
p = 1 P Y n p s 1 , n N , p P , s S
s × Y n p s K n , n N , p P , s S
K n s = 1 S s × Y n p s 1 e n p × G , n N , p P , s S
K n s = 1 S s × Y n p s + e n p 1 , n N , p P , s S
T n = p = 1 P d 0 p × Y n p 1 + i = 1 P j = 1 P s = 1 C 1 d i j × Y n i s × Y n j s + 1 + p = 1 P d p 0 × e n p v ,   n N , p P , s S
t n 1 = t n + p = 1 P ( d 0 p × Y n p 1 ) / v + u , n N , p P
t n s = t n + ( p = 1 P d 0 p × Y n p 1 + i = 1 P j = 1 P q = 1 S 1 ( d i j × Y n i q × Y n j q + 1 ) / v + u × s ,   n N , p P , s = 2 : S
t n p = s = 1 S Y n p s × t n s , n N , p P
m × c t t n p + g w m n p × G , n N , p P , m M
t n p m × c t ( 1 w m n p ) × G , n N , p P , m M
H n m p = X n p × w m n p , n N , p P , m M
H m p = h 0 p + Q p × n = 1 N H n m p a = 1 m B p a ,   p P , m M
H m p 0 , p P , m M
L n = p = 1 P X n p × Q p × L p + L 0 , n N , p P
L n p s = L n p = 1 P s = 1 S 1 Y n p s × Q p × L p , n N , p P
E n = p = 1 P ( d 0 p × Y n p 1 × f L n ) + i = 1 P j = 1 P s = 1 S 1 ( d i j × Y n i s × Y n j s + 1 × f L n i s ) + p = 1 P ( d p 0 × e n p × f ( L 0 ) ) , n N , p P , s S
The objective expressions (2)–(3), which include two objectives, illustrate that the total energy consumption of the AGV and the total line-side inventory after each cycle need to be minimized. Constraint (4) limits the start time for the first delivery task. The first delivery task of the AGV can only start after the loading of the standard box in the material supermarket has been completed. Constraints (5)–(6) specify that the AGV must return to the material supermarket after completing its previous delivery task and wait for the next task. Constraints (7)–(8) ensure that the delivery period is between the start time and end time of the scheduling cycle. Constraint (9) limits the number of standard boxes loaded onto the AGV trolley. Constraint (10) calculates the types of parts to be delivered in tour n. Constraint (11) limits the part p to be delivered in sequence s and tour n. Constraint (12) ensures that there is only one type of part that can be unloaded in one delivery sequence of each delivery task. The last part p to be delivered in tour n can be obtained from expressions (13)–(15). Constraint (16) calculates the total delivery time in tour n. Constraint (17) calculates the arrival time of the parts delivered in the first sequence in tour n. Constraint (18) calculates the arrival time of the parts required for other delivery sequences aside from the first sequence in tour n. Constraint (19) calculates the actual arrival time of part p in delivery sequence s and tour n. If the delivery sequence does not happen, the actual arrival time is 0. When part p is consumed in cycle m, constraints (20)–(21) express that part p is unloaded from a material box in the corresponding line buffer zone in tour n to replenish the inventory. Constraint (22) confirms whether part p has been delivered to the corresponding line buffer zone in cycle m and tour n. Constraint (23) computes the online inventory of part p in cycle m. Constraint (24) ensures that the online inventory of part p meets the assembly requirements of each cycle to avoid running out of stock in mixed-model assembly lines. Constraints (25)–(26), respectively, calculate both the total weight of the load parts and the weight of the AGV when departing from the material supermarket and during the subsequent delivery sequence within tour n. Constraint (27) calculates the energy consumption of the AGV in tour n.

4.3. Mathematical Model Linearization Treatment

The problem of scheduling the just-in-time delivery of parts under an unfixed path is a complex multi-objective programming problem which involves nonlinear factors. Compared with linear programming, nonlinear programming is more computationally intensive. The nonlinear model is constructed through the multiplication of the decision variables in constraints (6), (16), (18), (19), and (22). For the multiplication of continuous variables and Boolean variables, linearization can be performed by introducing a big number G . In order to simplify the solving process, the nonlinear constraints were replaced as follows:
T n T n + G × ( 1 y n ) , n N
T n T n G × ( 1 y n ) , n N
T n G × y n , n N
Y n i 1 + Y n j 2 2 × Y i j n , n N , i P , j P
Y n i 1 + Y n j 2 1 + Y i j n , n N , i P , j P
Y n i 2 + Y n j 3 2 × Y i j n , n N , i P , j P
Y n i 2 + Y n j 3 1 + Y i j n , n N , i P , j P
T n = p = 1 P d 0 p × Y n p 1 + i = 1 P j = 1 P Y i j n × d i j + i = 1 P j = 1 P Y i j n × d i j + p = 1 P d p 0 × e n p v ,   n N
t n 2 = t n + p = 1 P d 0 p × Y n p 1 + i = 1 P j = 1 P Y i j n × d i j v + u 2 , n N , p P
t n 3 = t n + p = 1 P d 0 p × Y n p 1 + i = 1 P j = 1 P Y i j n × d i j + i = 1 P j = 1 P Y i j n × d i j v + u 3 ,   n N , p P
t n p t n s + G × ( 1 Y n p s ) , n N , p P , s S
t n p t n s G × ( 1 Y n p s ) , n N , p P , s S
X n p + w m n p 2 × H n m p , n N , p P , m M
X n p + w m n p 1 + H n m p , n N , p P , m M

5. Epsilon Constraint Method and Improved NSGA-II

The problem model is a multi-objective model, and the solver can only solve single-objective problems. Therefore, for small-scale cases, an accurate epsilon constraint algorithm that the solver can solve is designed. For greater problem sizes, this paper uses the improved NSGA-II to optimize the capacity of the solver’s solution.

5.1. Epsilon Constraint Process

In order to solve the dual-objective problem of scheduling just-in-time part delivery under an unfixed path with a solver, an epsilon constraint algorithm process suitable for the Gurobi solver was designed [24,25]. The process is shown in Algorithm 1. For the convenience of description, the following points are defined:
Ideal point: f I = ( f 1 I , f 2 I ) , where f 1 I = m i n { f 1 ( x ) } and f 2 I = m i n { f 2 ( x ) } ;
Nadir point: f N = ( f 1 N , f 2 N ) , where f 1 N = m i n { f 1 ( x ) : f 2 ( x ) = f 2 I } and f 2 N = m i n { f 2 x : f 1 x = f 1 I } ;
Extreme point: f E = { ( f 1 I , f 2 N ) , ( f 1 N , f 2 I ) } , which is the Pareto front containing two points.
The ideal point and the nadir point can be calculated by the Gurobi solve, with f 1 = H m p and f 2 = E
Algorithm 1. Epsilon constraint algorithm flow
Step 1:
 Calculate the ideal point, f I = f 1 I , f 2 I , and nadir point, f N = ( f 1 N , f 2 N ) .
Step 2:
 Set F = { ( f 1 I , f 2 N ) } and let ε = f 2 N Δ ( Δ = 1 for the minimum unit of inventory and energy consumption, setting ε as the reduction value).
Step 3:
W h i l e   ε f 2 I , d o
Step 3.1:
 Solve the epsilon constraint problem, where the epsilon constraint is f 2 ε and the single objective to be optimized is M i n   f 1 . Solve the single-objective optimization problem to reach the optimum point, and add the optimal solution ( f 1 , f 2 ) to the set F , where f 2 = f 2 .
Step 3.2:
 Set ε = f 2 Δ
Step 4:
 By removing dominated points from the set F , the Pareto front, F , is obtained.

5.2. Improved NSGA-II

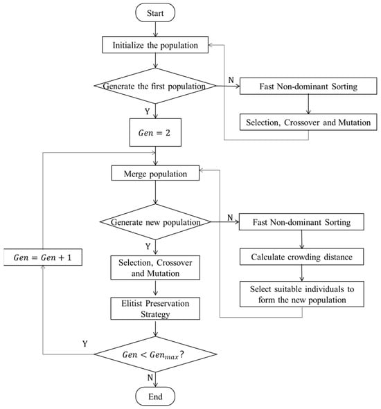
To account for the disadvantages of the original NSGA-II, the improved NSGA-II is introduced. The algorithm improves the fast non-dominant sorting process based on the heuristic rule strategy, the operator selection strategy, and the elitist preservation strategy of population merging. The process of the improved NSGA-II is shown in Figure 2.

5.2.1. Encoding and Decoding

To improve the efficiency of the algorithm, it is critical to design an applicable encoding of the individual. According to the problem characteristics, the chromosome includes two strings, which adopt the real coding. Figure 3 shows the chromosome of the scheduling scheme. The first part of the chromosome is the part number to be delivered in this delivery scheduling. The second part represents the number of times the AGV carries out a delivery. The length of the second part of the chromosome represents the maximum number of times the AGV can carry out a delivery.

5.2.2. Fast Non-Dominant Sorting Based on Heuristic Algorithm

Since the start time for each delivery cannot be obtained directly from the chromosome, a heuristic rule strategy is added to the non-dominant sorting process to calculate the time indirectly. The calculation of the start time of each delivery is divided into the following three steps: calculating the time at which there will be a shortage, scheduling the delivery task, and re-coordinating the start time of the delivery. Figure 4 shows the process of calculating the task time based on the heuristic rule.
Step 1: Calculate the time at which there will be a shortage.
The production plan can be obtained in advance from the production planning department, and the demand for the assembly line is known. The total number of material boxes, W , can be calculated based on the cycle time, M , the type of parts, P , and the number of boxes that need to be delivered for each part. Using the initial line-side inventory and part consumption data, the time at which the parts will run out of stock can be calculated. For each workstation, the out-of-stock time, O p s , is defined as the time at which the part, p , is needed again. If a part needs to be replenished multiple times during the scheduling cycle, its out-of-stock time, O p s , represents the out-of-stock time, s , of part p .
Step 2: Schedule the delivery task.
From the order in which parts are delivered for each delivery task in the chromosome and the distances between the stations in the workshop, the distance D n p can be ascertained, which is the distance the AGV travels to the buffer zone of part p in tour n . The out-of-stock time is recorded as S T p s . To avoid shortages, the parts must be delivered to the corresponding buffer zone before part p is needed again. The time at which the parts are unloaded is R. The late departure time, L D n p , can be deduced according to the out-of-stock time. The calculation is shown in Formula (42).
L D n p = O p s D n p v k × R
For the difference in the delivery time of each part, the final departure time of tour n, S D n , is shown in Formula (43).
S D n = m i n { L D n p }
The time at which the AGV returns to the material supermarket is O B n (Formula (44)), where D n p represents the distance that the AGV travels for the last part to be delivered in tour n.
O B n = S D n + D n p + R
Step 3: Re-coordinate the start time for delivery.
To ensure effective scheduling, there must be no overlap between consecutive delivery tours. Assume that the next loading time in the material supermarket is L n ( n > 1 ) . If the AGV does not return to the material supermarket when the next delivery starts (Formula (45)), the start time of tour n 1 must be advanced (Formula (46)). The adjustment process is shown in Figure 5.
O B n 1 > S D n L n
S n 1 = S D n 1 ( O B n 1 S D n + L n )

5.2.3. Selection, Crossover, and Mutation

The selection operation adopts the method of a normal distribution. The fitness value is sorted first, and then individuals are selected according to the normal distribution to enter the next generation, which can prevent individuals from being selected multiple times and reserve the opportunity for individuals with low fitness to be selected.
The crossover strategies used are based on the characteristics of chromosomes. An ordered crossover operation (OX1) is adopted in the first half of the chromosome, and the second part of the chromosome is obtained from the overall exchange of the parent generation (Figure 6).
The mutation operation of the original NSGA-II is a random floating-point mutation (Figure 7): genes at two positions are randomly selected for exchange. The improved NSGA-II uses a local operator mutation operation. As shown in Figure 8, the first and second halves of the chromosome are randomly exchanged in the delivery order.

5.2.4. Improved Elitist Preservation Strategy

The elitist preservation strategy of the original NSGA-II aims to retain elite individuals based on domination and crowding distance [26]. The candidate solution set is composed of non-repeated individuals according to the sorting results of a Pareto rand and crowding distance. Individuals with low dominance levels are given priority to be put into the new parent population. If the levels are the same, individuals with larger crowding distances are given priority to be selected. The selection process stops when the size of the new parent population reaches N. However, it is easy to fall into a local optimal solution or converge prematurely. Therefore, a new improved elitist preservation strategy is proposed, as shown in Figure 9. The parameter α is introduced. The first N × α optimal individuals are directly added to the new population. The remaining N × ( 1 α ) individuals are randomly selected from the plane of the suboptimal level.

6. Numerical Study

6.1. Case Study

This case study is taken from an automobile manufacturer’s assembly line, which assembles five car models (M1, M2, M3, M4, M5). The delivery process is divided into two batches according to the demand (M1, M2, M3 and M1, M4, M5). The service workstation of the material supermarket is divided into six workstations, S_1~S_6, which are responsible for assembling 14 different parts, P_1~P_14. The cycle time of the assembly line is 72 s. The AGV car drives at a constant speed of 3 m/s and passes through the storage locations of the 14 parts in turn. The time taken for loading and unloading each material box is 37 s and 43 s, respectively. Three batches of five models are produced according to the model sequence {1, 1, 2, 2, 2, 3, 3, 2, 3, 2, 3, 1}, {1, 2, 3, 5, 4, 1, 1, 4, 5, 2, 5, 4}, {1, 4, 5, 5, 4, 1, 1, 4, 5, 1, 5, 1}. Table 1 computes the bill of materials used to produce five models. The loading quantity of each part in a material box is Q. The distance from each part’s storage location to the material supermarket is D.

6.2. Effectiveness Analysis

To assess the performance of the proposed approach, the epsilon constraint algorithm was coded under the Gurobi Python interface, which was run for 50 iterations and had a limit of 7200 s. The improved NSGA-II was implemented in MATLAB R2023a. All algorithms were executed on a PC with an AMD Ryzen 7 5800H CPU and 16.00 GB of RAM. According to the assembly sequences and batches, cases of different scales were generated to solve the Pareto frontier. To evaluate the performance in terms of diversity convergence, the results were compared using the following five metrics: CPU time, Pareto frontier, Degree of Pareto Optimality (DPO), Hyper Volume (HV), and Inverted Generational Distance (IGD). The results are shown in Table 2, where M is the cycle time and N is the minimum number of deliveries for the AGV, computed based on the cases analyzed. The Pareto frontier is shown in Figure 10, Figure 11, Figure 12, Figure 13, Figure 14 and Figure 15.
According to Table 3, within the maximum running time (7200 s), the solving time of the Epsilon constraint algorithm increases significantly as the problem scale increases. Therefore, it is necessary to design an intelligent algorithm to improve the solving efficiency. The CPU time of the improved NSGA-II for solving cases of different scales is shorter than that of the original NSGA-II. And it is significantly reduced compared with the epsilon constraint algorithm. Therefore, the improved NSGA-II has significant improved performance for solving the optimization problems studied in this paper.
For the sake of consistency, the population size, number of iterations, and other parameters were kept the same for the original NSGA-II and improved NSGA-II. Firstly, the experiment verified the effectiveness of the algorithm under the small-scale 25-cycle demand. Both the original NSGA-II and improved NSGA-II were able to obtain the optimal Pareto solution, which was consistent with the precise solution result obtained from the epsilon constraint (as shown in Figure 9). As can be observed from Figure 10 and Figure 11, under the different demand cases of 36 and 48 cycles, the original NSGA-II and improved NSGA-II were able to solve the approximate Pareto frontier. With the increasing demand, the improved NSGA-II was able to obtain a better Pareto frontier at a faster speed. Figure 12 and Figure 13 show that the non-dominated solutions obtained by the improved NSGA-II had a better performance than those obtained by the original NSGA-II, and these non-dominated solutions accounted for more of the global non-dominated solutions. As shown in Figure 14, in the case of 84 cycles with different demands, the Pareto frontier obtained by the improved NSGA-II was significantly better than that of the original NSGA-II. The Pareto non-dominated solutions obtained by the original NSGA-II were essentially no better than those obtained by the improved NSGA-II.
Three universally used metrics were employed to measure the obtained Pareto frontier, namely the Degree of Pareto Optimality (DPO), the Hyper Volume (HV), and the Inverted Generational Distance (IGD). Generally, a larger DPO signifies that the algorithm is capable of finding more non-dominated solutions than other algorithms. The HV is used to measure the diversity and proximity of the solutions obtained by the algorithm. The larger the value of the HV, the wider the coverage of the solution set generated by the algorithm in the objective function space, indicating that the Pareto frontier is better. The IGD was developed to comprehensively evaluate the convergence and distribution of an algorithm. An algorithm with lower IGD values is preferable. As can be seen in Table 3, the average value of the DPO of the improved NSGA-II was 0.725, which was higher than that of the original NSGA-II, namely 0.196. It was confirmed that the improved NSGA-II can obtain more Pareto non-dominated solutions. Regarding the HV metric, optimal values were achieved by the improved NSGA-II, which means it can obtain more diverse and closer solutions for this problem. For the IGD, the improved NSGA-II was also better since it improved the convergence and distribution of the algorithm. Therefore, the superiority of the improved NSGA-II is overwhelming when compared to the original NSGA-II.

6.3. Real Case Study

To better understand the applicability of the model and the results that can be obtained from it, this section presents a real case study of the assembly line of an automobile manufacturer. The automobile manufacturer produces three main models, which are expected to be produced in a ratio of 2:3:1. The assembly workshop consists of eight sections, each with different assembly times.
Information about the parts is shown in Table 3, and Table 4 reports the bill of materials used to produce the three models. The AGV drives at a constant speed of 3 m/s. The time taken for loading and unloading each material box is 21 s and 25 s, respectively. According to the historical production plan, a total of 72 car orders need to be produced, which include 24 Model 1 cars, 36 Model 2 cars, and 12 Model 3 cars. The three models are produced in a mixed flow in the assembly line, and the parts are assembled in sequence at eight workstations. The cycle time is 72 s.
The result is shown in Figure 16, which includes 20 delivery schemes. The results show that the lowest energy consumption of an AGV trolley is 385.182 KWH, which corresponds to a total line-side inventory of 18,023. The total inventory is at least 16,121, and the corresponding energy consumption of the AGV trolley is 452.066 KWH.
Based on the actual prices, the total costs of 20 delivery schemes are calculated, which are shown in Figure 17. The cost of scheme 10 is the lowest. The manufacturer can consider the delivery scheme according to the cost or from other perspectives, such as lowering the AGV’s energy consumption.
In order to illustrate the effectiveness of a just-in-time distribution, the line-side inventory and energy consumption of a just-in-time distribution and a periodic distribution are compared, as shown in Figure 18 and Figure 19, respectively. Just-in-time delivery scheduling has obvious advantages over a periodic distribution in terms of the total line-side inventory and the energy consumption of the AGV trolley. Just-in-time delivery scheduling under an unfixed path alleviates the problem of material accumulation at the line side, reducing the risk of misloading by workers. At the same time, it is conducive to the manufacturer achieving sustainable development. The manufacturer in this case study produces a variety of models, so the demand for parts is diverse and the assembly order is often changed. Just-in-time delivery scheduling under an unfixed path can better complete the task of delivering parts, which reduces the cost of part accumulation and the energy consumed in the delivery process.

6.4. Sensitivity Analysis

Under the unfixed-path just-in-time delivery strategy, the production order will affect the demand for the assembly parts, resulting in changes in delivery scheduling. A sensitivity analysis was conducted by increasing the cycle time and the demand. The results are shown in Figure 20. The cycle time had a positive impact on the objective value of increasing the demand and delivery time. It can also be seen that the changes in energy consumption are more sensitive than those in the line-side inventory with increasing demand. This may inspire other manufacturers to take energy consumption into account more.
Additionally, the delivery capacity also affects the objectives for energy consumption and the total inventory. To understand the effect of different capacities on the objective values, AGVs with three different capacities were tested. The results are shown in Figure 21. It can be seen that when the AGV capacity increases, there is a significant decrease in the objective value of energy consumption for an increasing number of deliveries. The average change rate of energy consumption was 11.146%. Conversely, the line-side inventory increased as the capacity increased. This was mainly because many of the assembled parts were delivered earlier, leading to an upward trend in the total inventory. The average change rate of the line-side inventory was 4.782%. From the perspective of change rates, energy consumption is more sensitive to the AGV’s capacity. The impact on the line inventory is relatively gentle.

7. Conclusions

In order to solve the problem of optimizing the delivery of parts in a mixed-model assembly line, this paper proposes an unfixed-path just-in-time delivery method. A mixed-integer programming model with the goal of minimizing the line-side inventory and energy consumption of an AGV was developed. Then, an epsilon constraint algorithm and improved NSGA-II for large-scale problems were designed and applied to solve the considered problem. Furthermore, experiments were carried out to compare the proposed improved NSGA-II with the epsilon constraint algorithm and the original NSGA-II. The effectiveness of the algorithm was verified with a case study, both in terms of convergence and diversity metrics. In addition, sensitivity analyses were conducted. The high-frequency delivery process of small-capacity AGVs can lead to a lower inventory level, while the corresponding delivery energy consumption will increase.
In summary, manufacturers need to flexibly choose reasonable delivery solutions according to their actual assembly line layout, workstation space occupancy, etc., to reduce the line-side inventory and solve the problem of material crowding. At the same time, this can reduce the energy consumption of an AGV when carrying out deliveries and help manufacturers achieve their carbon emission reduction goals. This is critical to overcoming global energy challenges and achieving energy sustainability. As products become more complex and there is an increasing demand for personalization, the demand for parts will also increase, which will result in the need for multiple AGVs. The demand for parts can be split up to transform the multi-AGV problem into an AGV problem.
There are also limitations to this work. In real-life production, scheduling plans are often affected by many factors, such as the charging of AGVs, machine breakdowns, and the layout of workshops. It is necessary to improve the model from the perspective of achieving optimal battery efficiency, multi-AGV delivery, etc. And the route conflicts of AGVs require further investigation. At the same time, it is possible to consider combining emerging technologies to further optimize part distribution scheduling, for example, using IoT technology to monitor line-side inventory levels in real time and using big data to predict the demand for parts to make more informed decisions.

Author Contributions

Conceptualization, Y.P. and B.X.; methodology, X.L.; software, S.L.; validation, Y.P. and X.L.; formal analysis, Y.P.; investigation, W.L.; resources, S.L.; data curation, X.L.; writing—original draft preparation, X.L.; writing—review and editing, Y.P.; visualization, W.L.; supervision, Y.P.; project administration, Y.P.; funding acquisition, Y.P. All authors have read and agreed to the published version of the manuscript.

Funding

This research was funded by The Ministry of education of Humanities and Social Science, project grant number [22YJA630082].

Institutional Review Board Statement

Not applicable.

Informed Consent Statement

Not applicable.

Data Availability Statement

Data are not disclosed.

Conflicts of Interest

The authors declare no conflicts of interest.

References

  1. Zhong, Q.W.; Lusby, R.M.; Larsen, J.; Zhang, Y.X.; Peng, Q.Y. Rolling stock scheduling with maintenance requirements at the Chinese High-Speed Railway. Transp. Res. Part B Methodol. 2019, 126, 24–44. [Google Scholar] [CrossRef]
  2. Zhang, Y.X.; Peng, Q.Y.; Yao, Y.; Zhang, X.; Zhou, X.S. Solving cyclic train timetabling problem through model reformulation: Extended time-space network construct and Alternating Direction Method of Multipliers methods. Transp. Res. Part B Methodol. 2019, 128, 344–379. [Google Scholar] [CrossRef]
  3. Liang, Y.J.; Wang, X.; Luo, Z.X.; Zhang, D.Z. Integrated optimisation of loading schedules and delivery routes. Int. J. Prod. Res. 2023, 61, 5354–5371. [Google Scholar] [CrossRef]
  4. Boysen, N.; Emde, S.; Hoeck, M.; Kauderer, M. Part logistics in the automotive industry: Decision problems, literature review and research agenda. Eur. J. Oper. Res. 2015, 242, 107–120. [Google Scholar] [CrossRef]
  5. Fathi, M.; Alvarez, M.J.; Mehraban, F.H.; Rodríguez, V. A multiobjective optimization algorithm to solve the part feeding problem in mixed-model assembly lines. Math. Probl. Eng. 2014, 15, 1–12. [Google Scholar] [CrossRef]
  6. Zhou, B.H.; He, Z.X. A novel hybrid-load AGV for JIT-based sustainable material handling scheduling with time window in mixed-model assembly line. Int. J. Prod. Res. 2023, 61, 796–817. [Google Scholar] [CrossRef]
  7. Zhou, B.H.; Tan, F. Scheduling Method of Material Delivery for Automotive Assembly Lines Based on Milk-Run Delivery. J. Northeast. Univ. Nat. Sci. 2018, 39, 389–393. [Google Scholar]
  8. Xia, B.X.; Gao, Y.; Cao, J.B.; Chen, T.T. Multi-load Carrier Scheduling Method Based on Mixed Integer Model. Metrol. Meas. Tech. 2019, 46, 81–83+86. [Google Scholar]
  9. Peng, Y.F.; Shao, W.Q.; Xia, B.X. Scheduling Just-in-time Part Supply for Mixed Model Assembly Lines Based on Material Supermarket. Oper. Res. Manag. Sci. 2023, 32, 37–43. [Google Scholar]
  10. Zhang, J.H.; Li, A.P.; Liu, X.M. Routing Planning for Assembly Line Material Distributions under Interval Uncertain Travel Time. China Mech. Eng. 2021, 32, 2239–2246. [Google Scholar]
  11. Nishda, K.; Nishi, T.; Kaname, H.; Kumagai, K.; Higashi, T. Just-in-Time routing and scheduling for multiple automated guided vehicles. In Proceedings of the 2019 IEEE International Conference on Systems, Man and Cybernetics (SMC), Bari, Italy, 6–9 October 2019; pp. 841–846. [Google Scholar]
  12. Hu, L.M.; Li, Z.W.; Liu, X.Y.; Chen, P. Dynamic programming-based energy-saving scheduling for material handling in assembly lines. Syst. Eng.-Theory Pract. 2018, 38, 2424–2433. [Google Scholar]
  13. Miranda, M.A.; Alvarez, M.J.; Briand, C.; Moris, M.; Rodríguez, V. Eco-efficient management of a feeding system in an automobile assembly-line. J. Model. Manag. 2021, 16, 464–485. [Google Scholar] [CrossRef]
  14. Jin, W.R.; He, Z.X.; Peng, T. A JIT part supply scheduling strategy with electric transport device between central receiving store and supermarkets in the automobile industry considering energy. eTransportation 2021, 9, 100126. [Google Scholar] [CrossRef]
  15. Zhou, B.H.; Shen, C.Y. Multi-objective optimization of material delivery for mixed model assembly lines with energy consideration. J. Clean. Prod. 2018, 192, 293–305. [Google Scholar] [CrossRef]
  16. Tan, W.; Yuan, X.; Huang, G. Low-carbon joint scheduling in flexible open-shop environment with constrained automatic guided vehicle by multi-objective particle swarm optimization. Appl. Soft Comput. 2021, 111, 107695. [Google Scholar] [CrossRef]
  17. Zhou, B.H.; He, Z.X. Static semi-kitting strategy-based multi-objective just-in-time material distribution scheduling. J. Jinlin Univ. (Eng. Technol. Ed.) 2021, 51, 910–916. [Google Scholar]
  18. Huang, Y.F.; Zhao, L.W.; Zhou, B.H. An adaptive melody search algorithm based on low-level heuristics for Material feeding scheduling optimization in a hybrid kitting system. Adv. Eng. Inform. 2024, 62, 102855. [Google Scholar] [CrossRef]
  19. Rahman, H.F.; Nielsen, I. Scheduling automated transport vehicles for material distribution systems. Appl. Soft Comput. 2019, 82, 10522. [Google Scholar] [CrossRef]
  20. Zhang, F.; Li, J. An improved particle swarm optimization algorithm for integrated scheduling model in AGV-served manufacturing systems. J. Adv. Manuf. Syst. 2018, 17, 375–390. [Google Scholar] [CrossRef]
  21. Liu, C.; Qian, Y. Optimal allocation of material dispatch in emergency events using multi-objective constraint for vehicular networks. Wirel. Netw. 2022, 28, 3715–3727. [Google Scholar] [CrossRef]
  22. Huo, X.; He, X.Z.; Xiong, Z.X.; Wu, X.K. Multi-objective optimization for scheduling multi-load automated guided vehicles with consideration of energy consumption. Transp. Res. Part C Emerg. Technol. 2024, 161, 104548. [Google Scholar] [CrossRef]
  23. Qiu, L.; Wang, J.C.; Chen, W.D.; Wang, H.S. Heterogeneous AGV routing problem considering energy consumption. In Proceedings of the 2015 IEEE International Conference on Robotics and Biomimetics (ROBIO), Zhuhai, China, 6–9 December 2015; pp. 1894–1899. [Google Scholar]
  24. Amjady, N.; Aghaei, J.; Shayanfar, H.A. Stochastic multiobjective market clearing of joint energy and reserves auctions ensuring power system security. IEEE Trans. Power Syst. 2009, 24, 1841–1854. [Google Scholar] [CrossRef]
  25. Aghaei, J.; Amjady, N.; Shayanfar, H.A. Multi-objective electricity market clearing considering dynamic security by lexicographic optimization and augmented epsilon constraint method. Appl. Soft Comput. 2011, 11, 3846–3858. [Google Scholar] [CrossRef]
  26. Deb, K.; Pratap, A.; Agarwal, S.; Meyarivan, T. A fast and elitist multiobjective genetic algorithm: NSGA-II. IEEE Trans. Evol. Comput. 2002, 6, 182–197. [Google Scholar] [CrossRef]
Figure 1. Unfixed-path model for the delivery of parts.
Figure 1. Unfixed-path model for the delivery of parts.
Sustainability 17 00273 g001
Figure 2. Improved NSGA-II flowchart.
Figure 2. Improved NSGA-II flowchart.
Sustainability 17 00273 g002
Figure 3. Chromosome structure for a scheduling scheme.
Figure 3. Chromosome structure for a scheduling scheme.
Sustainability 17 00273 g003
Figure 4. The heuristic rule strategy for task time calculation.
Figure 4. The heuristic rule strategy for task time calculation.
Sustainability 17 00273 g004
Figure 5. Re-coordinate the start time for delivery.
Figure 5. Re-coordinate the start time for delivery.
Sustainability 17 00273 g005
Figure 6. An example of a crossover operation.
Figure 6. An example of a crossover operation.
Sustainability 17 00273 g006
Figure 7. An example of a mutation operation.
Figure 7. An example of a mutation operation.
Sustainability 17 00273 g007
Figure 8. An example of a local mutation operation.
Figure 8. An example of a local mutation operation.
Sustainability 17 00273 g008
Figure 9. Improved elitist preservation strategy.
Figure 9. Improved elitist preservation strategy.
Sustainability 17 00273 g009
Figure 10. Case 24: Pareto front.
Figure 10. Case 24: Pareto front.
Sustainability 17 00273 g010
Figure 11. Case 36: low-, medium-, and high-demand Pareto frontiers.
Figure 11. Case 36: low-, medium-, and high-demand Pareto frontiers.
Sustainability 17 00273 g011
Figure 12. Case 48: low-, medium-, and high-demand Pareto frontiers.
Figure 12. Case 48: low-, medium-, and high-demand Pareto frontiers.
Sustainability 17 00273 g012
Figure 13. Case 60: low-, medium-, and high-demand Pareto frontiers.
Figure 13. Case 60: low-, medium-, and high-demand Pareto frontiers.
Sustainability 17 00273 g013
Figure 14. Case 72: low-, medium-, and high-demand Pareto frontiers.
Figure 14. Case 72: low-, medium-, and high-demand Pareto frontiers.
Sustainability 17 00273 g014
Figure 15. Case 84: low-, medium-, and high-demand Pareto frontiers.
Figure 15. Case 84: low-, medium-, and high-demand Pareto frontiers.
Sustainability 17 00273 g015
Figure 16. Just-in-time delivery scheduling under an unfixed path.
Figure 16. Just-in-time delivery scheduling under an unfixed path.
Sustainability 17 00273 g016
Figure 17. The cost of each delivery scheme.
Figure 17. The cost of each delivery scheme.
Sustainability 17 00273 g017
Figure 18. Total line-side inventory.
Figure 18. Total line-side inventory.
Sustainability 17 00273 g018
Figure 19. Total energy consumption.
Figure 19. Total energy consumption.
Sustainability 17 00273 g019
Figure 20. Energy consumption and line-side inventory for low, medium, and high demand in each cycle.
Figure 20. Energy consumption and line-side inventory for low, medium, and high demand in each cycle.
Sustainability 17 00273 g020
Figure 21. Energy consumption and line-side inventory with different AGV capacities.
Figure 21. Energy consumption and line-side inventory with different AGV capacities.
Sustainability 17 00273 g021
Table 1. Bill of materials.
Table 1. Bill of materials.
P 1 P 2 P 3 P4P5P6P7P8P9P10P11P12P13P14
M110010011001011
M200001001100101
M301000100110010
M410101100011111
M511001101111101
D/m225.5221217183.5180164160168171186.5191196.5221227.5
Q367991111824493884832488
Table 2. The computation results of the cases analyzed.
Table 2. The computation results of the cases analyzed.
CPU Time(s)DPO(k)HV(k)IGD(k)
CaseMNEpsiloniNSGA-IINSGA-IIiNSGA-IINSGA-IIiNSGA-IINSGA-IIiNSGA-IINSGA-II
12420.616.066.83--0.1640.164 -
236225.688.8310.24--0.3020.302--
336378.6312.7913.670.2860.1670.8950.87707.646
4364127.0115.9617.320.2350.0670.9650.9502.55739.959
5484712.9214.3615.920.4550.2500.6760.6570.667598.516
64851039.6331.6134.250.3160.2500.6090.5975.386150.996
74866879.3162.9671.660.9330.2000.5400.47815.66928.239
8605(7200)52.7658.290.9460.3610.8210.81220.34543.169
9606(7200)106.09119.910.8110.3000.6710.6476.151111.196
10607(7200)119.75124.560.9060.2590.8250.81330.995597.074
11726(7200)115.13134.910.9350.0510.4750.40830.878158.087
12727(7200)121.10141.560.8540.2800.4750.46924.520207.782
13728(7200)139.96153.810.8070.1880.3740.36826.817108.112
14847(7200)137.90150.910.9050.0930.5550.52553.155113.78
15848(7200)151.87163.101.0000.0000.5550.4576.972349.681
16849(7200)153.60168.060.7610.2730.5150.46815.234692.337
Average-78.1786.560.7250.1960.5890.56217.096229.041
Epsilon: epsilon constraint algorithm; iNSGA-II: improved NSGA-II. Bold format highlights better results.
Table 3. Information about the parts.
Table 3. Information about the parts.
Part NumberWorkstationDistance Between Buffer Zone and Supermarket/mThe Number of Parts in a TEUUnit Weight of Part/g
P113001591
P212991871
P312989574
P4233619435
P5233510620
P632492066
P73248932,540
P841992149
P94198665,245
P105217111823
P115218101876
P12521981950
P13626910650
P14627012564
P15731416187
P1673152499
P178366926,550
P188367203460
Table 4. The bill of materials.
Table 4. The bill of materials.
ModelModel 1Model 2Model 3
Part Number
P1010
P2010
P3001
P4100
P5011
P6100
P7100
P8011
P9101
P10001
P11010
P12100
P13011
P14101
P15101
P16011
P17100
P18011
Disclaimer/Publisher’s Note: The statements, opinions and data contained in all publications are solely those of the individual author(s) and contributor(s) and not of MDPI and/or the editor(s). MDPI and/or the editor(s) disclaim responsibility for any injury to people or property resulting from any ideas, methods, instructions or products referred to in the content.

Share and Cite

MDPI and ACS Style

Peng, Y.; Li, X.; Liao, S.; Liu, W.; Xia, B. Scheduling the Just-in-Time Delivery of Parts for Mixed-Model Assembly Lines Considering the Electrical Energy Consumption of an Automated Guided Vehicle Trolley. Sustainability 2025, 17, 273. https://doi.org/10.3390/su17010273

AMA Style

Peng Y, Li X, Liao S, Liu W, Xia B. Scheduling the Just-in-Time Delivery of Parts for Mixed-Model Assembly Lines Considering the Electrical Energy Consumption of an Automated Guided Vehicle Trolley. Sustainability. 2025; 17(1):273. https://doi.org/10.3390/su17010273

Chicago/Turabian Style

Peng, Yunfang, Xuejiao Li, Shiyu Liao, Wangchao Liu, and Beixin Xia. 2025. "Scheduling the Just-in-Time Delivery of Parts for Mixed-Model Assembly Lines Considering the Electrical Energy Consumption of an Automated Guided Vehicle Trolley" Sustainability 17, no. 1: 273. https://doi.org/10.3390/su17010273

APA Style

Peng, Y., Li, X., Liao, S., Liu, W., & Xia, B. (2025). Scheduling the Just-in-Time Delivery of Parts for Mixed-Model Assembly Lines Considering the Electrical Energy Consumption of an Automated Guided Vehicle Trolley. Sustainability, 17(1), 273. https://doi.org/10.3390/su17010273

Note that from the first issue of 2016, this journal uses article numbers instead of page numbers. See further details here.

Article Metrics

Back to TopTop