A Review of Light Shelf Designs for Daylit Environments
Abstract
:1. Introduction
2. Overview
- (a)
- Geometrical (width, length, mounting height, tilt angle and shape).
- (b)
- Reflectance type (specular or diffuse).
- (c)
- Material type (metal perforated or not, transparent).
- (d)
- Position adjustment (rotation, operation).
- (e)
- Building data (room dimensions including ceiling shape).
- (f)
- Climatic conditions.
- An increase in illuminance especially in non-daylit areas.
- An increase in uniformity.
- The improvement of visual comfort.
- The provision of sufficient shading.
2.1. Performance Analysis of Static Horizontal Light Shelves
2.2. Performance Analysis of Flat Tilted Light Shelves
2.3. Performance Analysis of Curved Light Shelves
2.4. Performance Analysis of Active Light Shelves
3. Discussion
4. Conclusions
- 1
- Light shelves perform differently under various sky conditions. The least favorable condition is that associated with overcast sky conditions. This situation results in an overall reduction in interior daylight illuminances although a slight increase of uniformity can be achieved. However, it seems that the use of an anidolic shelf can increase the daylight factors in comparison to a reference facade with conventional double glazing. In the deeper parts of the room, this increase was 1.7 times the value of the reference case when an urban environment was simulated [61].
- 2
- Light shelves performed best when installed in south-oriented facades.
- 3
- Light shelves are usually placed above eye level in an effort to prevent glare form their upper surface. However, in the Collège la Vanoise in Modane, France, south window sills are used as specular light shelves having a tilt towards the south to avoid glare. Because of this tilt, the light shelf presents a seasonal selectivity to reflected sunlight.
- 4
- 5
- Uniformity of daylight illuminance do increase although luminance contrast can be increased giving rise to glare problems. The maximum uniformity increase that was reported is 178.6% in comparison with the reference case (i.e., window without any shading system) under clear sky conditions [63]. Under overcast conditions, uniformity is also improved but this is due to the reduction of illuminance levels in the area near the window. Another way to increase uniformity is to use an optically treated upper surface [47]. By using small mirrored surfaces oriented properly, uniformity can increase by 29.9–34.3% for the external light shelf and 10.4–13.7% for the internal, compared to the existing flat mirror-type light shelf.
- 6
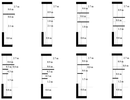
- In very broad terms, the maximum value of an external light shelf depth () can be defined by [33,34] using the equation:An extreme value of two to three times the height of the clerestory window was proposed by Abdulmohsen et al. [36] when the light shelf needs to be optimized for low sun altitudes. For internal light shelves, their maximum depth value reported in the literature is again by Abdulmohsen et al. [36]. They proposed that the internal light shelf depth should be two to three times the height of the clerestory window in an effort to reduce sun patches on the working surface. However, in the majority of the cases, internal light shelf depths ranging from 0.4–1.85 m were examined.
- 7
- In terms of work-plane illuminances, when a light shelf is used there is an overall decrease of illuminance values between 20% and 60% in comparison with a reference case (unshaded, no light shelf) while its effectiveness decreased after 6–7 m from the window. However, light shelves can increase work-plane illuminance levels in the secondary non-daylit zone ranging from 10% to over 70% when highly reflective materials or mirror surfaces are used. This relative increase is inversely proportional to the window size. [40,45,50,53,56,59,63,67,69].
- 8
- A slight tilt of a light shelf can increase the light flux entering the room especially during summer months in the northern hemisphere, increasing at the same time the cooling load. The increase of the latitude decreases this angle [47]. In [60] Lee et al. using a light shelf that is 0.6 m wide with a tilt angle equal to 30° upwards for buildings in Korea achieved savings for both lighting and cooling. They suggest that during winter the light shelf should be removed to save energy. It seems that the equation (4) proposed by Moore [50] give results compatible with those found by Meresi’s work [51] while diverging slightly from those of Warrier and Raphael [46].
- 9
- It seems that the shape of the ceiling can affect the distribution of illuminance. When chamfered ceiling is used, the illuminance levels increased in the rear part of the room by 21–36% and decreased by 20–55% in the front. If specular ceiling is used a further increase in illuminance levels occur [39,52]. Changing ceiling surface reflectance type to specular further increased illuminance levels in the back of the room was observed. In addition, the external curved and chamfered exterior light shelves performed better when a curved ceiling is used [54].
- 10
- Dynamic control of mirrored light shelves can offer some benefits since they can redirect sunlight into a specific area on the ceiling. The results suggest that small window-to-floor ratio achieve the largest percentage increase in daylight illuminance in the deeper part of the space. Motorized designs achieved an increase in lighting energy savings in comparison with a static mirror light shelf from 8–22% [42,51,53,62,70].
Acknowledgments
Author Contributions
Conflicts of Interest
References
- Lockley, S.W. Influence of Light on Circadian Rhythmicity in Humans. In Encyclopedia of Neuroscience; Elsevier: Oxford, UK, 2008. [Google Scholar]
- Boyce, P.R.; Hunter, C.; Howlett, H. The Benefits of Daylight through Windows; Lighting Research Center: New York, NY, USA, 2003. [Google Scholar]
- Rashid, M.; Zimring, C. A Review of the Empirical Literature on the Relationships between Indoor Environment and Stress in Health Care and Office Settings: Problems and Prospects of Sharing Evidence. Environ. Behav. 2008, 40, 151–173. [Google Scholar] [CrossRef]
- Edwards, L.; Torcellini, P. A Literature Review of the Effects of Natural Light on Building Occupants; National Renewable Energy Laboratory: Golden, CO, USA, 2002.
- Galasiu, A.D.; Veitch, J.A. Occupant Preferences and Satisfaction with the Luminous Environment and Control Systems in Daylit Offices: A Literature Review. Energy Build. 2006, 38, 728–742. [Google Scholar] [CrossRef]
- Gago, E.J.; Muneer, T.; Knez, M.; Köster, H. Natural Light Controls and Guides in Buildings. Energy Saving for Electrical Lighting, Reduction of Cooling Load. Renew. Sustain. Energy Rev. 2015, 41, 1–13. [Google Scholar] [CrossRef]
- Doulos, L.; Tsangrassoulis, A.; Topalis, F.V. Multi-criteria decision analysis to select the optimum position and proper field of view of a photosensor. Energy Convers. Manag. 2014, 86, 1069–1077. [Google Scholar] [CrossRef]
- Doulos, L.T.; Tsangrassoulis, A.; Kontaxis, P.A.; Kontadakis, A.; Topalis, F.V. Harvesting daylight with LED or T5 fluorescent lamps? The role of dimming. Energy Build. 2017, 140, 336–347. [Google Scholar] [CrossRef]
- Doulos, L.; Tsangrassoulis, A.; Topalis, F. Quantifying energy savings in daylight responsive systems: The role of dimming electronic ballasts. Energy Build. 2008, 40, 36–50. [Google Scholar] [CrossRef]
- Lee, H.; Kim, S.; Seo, J. Evaluation of a light shelf based on energy consumption for lighting and air conditioning. Indoor Built Environ. 2017. [Google Scholar] [CrossRef]
- Reinhart, C.F. A Simulation Based Review on the Ubiquitous Window Head Height to Daylit Zone Depth Rule of Thumb. In Proceedings of the 9th International IBPSA Conference, Montréal, QC, Canada, 15–18 August 2005. [Google Scholar]
- EN 15193–1: Energy Performance of Buildings. Energy Requirements for Lighting. 2017. Available online: https://shop.bsigroup.com/ProductDetail?pid=000000000030292858 (accessed on 5 November 2017).
- Reinhart, C.F.; LoVerso, V.R.M. A rules of thumb–based design sequence for diffuse daylight. Light. Res. Technol. 2010, 42, 7–31. [Google Scholar] [CrossRef]
- Kontadakis, A.; Tsangrassoulis, A.; Roetzel, A. Defining the Boundaries of Daylight Penetration. The use of dynamic and static daylight methods to predict the daylit zone within sidelit spaces, a comparison. In Proceedings of the BalkanLight 2015, the 6th Balkan Conference on Lighting, Athens, Greece, 16–19 September 2015. [Google Scholar]
- Konstantoglou, M.; Tsangrassoulis, A. Dynamic operation of daylighting and shading systems: A literature review. Renew. Sustain. Energy Rev. 2016, 60, 268–283. [Google Scholar] [CrossRef]
- Bellia, L.; Marino, C.; Minichiello, F.; Pedace, A. An Overview on Solar Shading Systems for Buildings. Energy Procedia 2017, 62, 309–317. [Google Scholar] [CrossRef]
- Aschehoug, O.; Christoffersen, J.; Jakobiak, R.; Johnsen, K.; Lee, E.; Ruck, N.; Selkowitz, S. Daylight in Buildings: A Source Book on Daylighting Systems and Components; Report of IEA SHC Task 21/ECBCS Annex 29; Lawrence Berkeley National Laboratory: Berkeley, CA, USA, 2000. Available online: https://facades.lbl.gov/publications/daylight-buildings-source-book-daylighting-systems (accessed on 5 November 2017).
- Mayhoub, M.S. Innovative daylighting systems’ challenges: A critical study. Energy Build. 2014, 80, 394–405. [Google Scholar] [CrossRef]
- Aizlewood, M.E. Innovative daylighting systems: An experimental evaluation. Int. J. Light. Res. Technol. 1993, 25, 141–152. [Google Scholar] [CrossRef]
- Littlefair, P.J. Developments in Innovative Daylighting; IHS BRE Press: Bracknell, UK, 2000. [Google Scholar]
- Littlefair, P.J. Innovative daylighting: Review of systems and evaluation methods. Light. Res. Technol. 1990, 22, 1–17. [Google Scholar] [CrossRef]
- Wong, I.L. A review of daylighting design and implementation in buildings. Renew. Sustain. Energy Rev. 2017, 74, 959–968. [Google Scholar] [CrossRef]
- Illuminating Engineering Society of North America (IESNA). Recommended Practice of Daylighting, RP-5, 1978. In IES Lighting Handbook; IESNA: New York, NY, USA, 2000. [Google Scholar]
- Kischkoweit-Lopin, M. An overview of daylighting systems. Sol. Energy 2002, 73, 77–82. [Google Scholar] [CrossRef]
- Littlefair, P.J.; Aizlewood, M.E.; Birtles, A.B. The performance of innovative daylighting systems. Renew. Energy 1994, 5, 920–934. [Google Scholar] [CrossRef]
- Freewan, A.A. Developing daylight devices matrix with special integration with building design process. Sustain. Cities Soc. 2015, 15, 144–152. [Google Scholar] [CrossRef]
- Nair, M.; Ramamurthy, K.; Ganesan, A. Classification of indoor daylight enhancement systems. Light. Res. Technol. 2014, 46, 245–267. [Google Scholar] [CrossRef]
- Mayhoub, M.; Carter, D. Hybrid lighting systems: Performance and design. Light. Res. Technol. 2012, 44, 261–276. [Google Scholar] [CrossRef]
- Wassim, J.; Potamianos, I. Geometry, Light, and Cosmology in the Church of Hagia Sophia. Int. J. Archit. Comput. 2007, 5, 304–319. [Google Scholar]
- Potamianos, I. Light into Architecture: The Evocative Use of Natural Light as Related to Liturgy in Byzantine Churches. Ph.D. Thesis, University of Michigan, Ann Arbor, MI, USA, 1996. [Google Scholar]
- Tageslichtreflector. Available online: https://commons.wikimedia.org/wiki/File:L-Tageslichtreflector.png (accessed on 5 November 2017).
- Hopkinson, R.G. Daylighting a hospital ward. Archit. J. 1952, 115, 255–259. [Google Scholar]
- Selkowitz, S.; Navvab, M.; Mathews, S. Design and Performance of Light Shelves. In Proceedings of the International Daylighting Conference, Phoenix, AZ, USA, 16–18 February 1983. [Google Scholar]
- Place, W.; Howard, T.C. Daylighting Multistory Office Buildings; North Carolina Alternative Energy Corporation: Raleigh, NC, USA, 1990. [Google Scholar]
- Littlefair, P.J. Light shelves: Computer assessment of daylighting performance. Light. Res. Technol. 1995, 27, 79–91. [Google Scholar] [CrossRef]
- Abdulmohsen, A.; Boyer, L.; Degelman, L. Evaluation of lightshelf daylighting systems for office buildings in hot climates. In Proceedings of the Ninth Symposium on Improving Building Systems in Hot and Humid Climates, Arlington, TX, USA, 19–20 May 1994. [Google Scholar]
- Soler, A.; Oteiza, P. Dependence on solar elevation of the performance of a light shelf as a potential daylighting device. Renew. Energy 1996, 8, 198–201. [Google Scholar] [CrossRef]
- Soler, A.; Oteiza, P. Light Shelf performance in Madrid Spain. Build. Environ. 1997, 22, 87–93. [Google Scholar] [CrossRef]
- Claros, S.T.; Soler, A. Indoor daylight climate-comparison between light shelves and overhang performances in Madrid for hours with unit sunshine fraction and realistic values of model reflectance. Sol. Energy 2001, 71, 233–239. [Google Scholar] [CrossRef]
- Berardi, U.; Anaraki, H.K. The benefits of light shelves over the daylight illuminance in office buildings in Toronto. Indoor Build Environ. 2016, 1–19. [Google Scholar] [CrossRef]
- Ochoa, C.E.; Capeluto, I.G. Evaluating visual comfort and performance of three natural lighting systems for deep office buildings in highly luminous climates. Build. Environ. 2006, 41, 1128–1135. [Google Scholar] [CrossRef]
- Joarder, M.A.R.; Ahmed, Z.N.; Price, A.; Mourshed, M. A simulation assessment of the height of light shelves to enhance daylighting quality in tropical office buildings under overcast sky conditions in Dhaka, Bangladesh. In Proceedings of the 11th International IBPSA Conference, Glasgow, UK, 27–30 July 2009. [Google Scholar]
- Hu, J.; Du, J.; Place, W. The Assessment of Advanced Daylighting Systems in Multi-Story Office Buildings Using a Dynamic Method. In Proceedings of the World Renewable Energy Congress, Low Energy Architecture (LEA), Linkoping, Sweden, 8–13 May 2011. [Google Scholar]
- Lim, Y.; Ahmad, M.H. The effects of direct sunlight on light shelf performance under tropical sky. Indoor Built Environ. 2015, 24, 788–802. [Google Scholar] [CrossRef]
- Kurtay, C.; Esen, O. A new method for light shelf design according to latitudes: CUN-OKAY light shelf curves. J. Build. Eng. 2017, 10, 140–148. [Google Scholar] [CrossRef]
- Warrier, G.A.; Raphael, B. Performance evaluation of light shelves. Energy Build. 2017, 140, 19–27. [Google Scholar] [CrossRef]
- Lee, H.; Jeon, G.; Seo, J.; Kim, Y. Daylighting performance improvement of a light-shelf using diffused reflection. Indoor Build Environ. 2017, 26, 717–726. [Google Scholar] [CrossRef]
- Moscoso, C.; Matusiak, B. Aesthetic perception of a small office with different daylighting systems. Indoor Built Environ. 2017. [Google Scholar] [CrossRef]
- Moazzeni, M.H.; Ghiabaklou, Z. Investigating the Influence of Light Shelf Geometry Parameters on Daylight Performance and Visual Comfort, a Case Study of Educational Space in Tehran, Iran. Buildings 2016, 6, 26. [Google Scholar] [CrossRef]
- Moore, F. Concepts and Practice of Architectural Daylighting; Van Nostrand Reinhold Company: New York, NY, USA, 1985. [Google Scholar]
- Meresi, A. Evaluating daylight performance of light shelves combined with external blinds in south-facing classrooms in Athens, Greece. Energy Build. 2016, 116, 190–205. [Google Scholar] [CrossRef]
- Al-Sallal, K.A. Testing glare in universal space design studios in Al-Ain, UAE desert climate and proposed Improvements. Renew. Energy 2007, 32, 1033–1044. [Google Scholar] [CrossRef]
- Kostantoglou, M.; Tsangrassoulis, A. Performance evaluation of an automatically controlled light-shelf. In Proceedings of the 5th Balkan Light Conference, Belgrad, Serbia, 3–6 October 2012. [Google Scholar]
- Raphael, B. Active Control of Daylighting Features in Buildings. Comput. Aided Civ. Infrastruct. Eng. 2011, 26, 393–405. [Google Scholar] [CrossRef]
- Lee, E.S.; Beltrán, L.O.; Selkowitz, S.E. Demonstration of a Light–redirecting Skylight system at the Palm Springs Chamber of Commerce. Presented at the ACEEE 1994 Summer Study on Energy Efficiency in Buildings, Building Tomorrow: The Path to Energy Efficiency, Pacific Grove, CA, USA, 28 August–3 September 1994. [Google Scholar]
- Beltran, L.O.; Lee, E.S.; Selkowitz, S.E. Advanced Optical Daylighting Systems. In Proceedings of the IESNA Annual Conference, Cleveland, OH, USA, 4–7 August 1996. [Google Scholar]
- Beltran, L.O.; Lee, E.S.; Papamichael, K.M.; Selkowitz, S.E. The Design and Evaluation of Three Advanced Daylighting Systems: Light Shelves, Light Pipes, and Skylights. In Proceedings of the ASES 19th National Passive Solar Conference, San Jose, CA, USA, 25–30 June 1994. [Google Scholar]
- Lee, E.S.; Selkowitz, S.E.; Rubinstein, F.M.; Klems, J.H.; Beltrán, L.O.; DiBartolomeo, D.L. A Comprehensive Approach to Integrated Envelope and Lighting Systems for New Commercial Buildings; Report Number: LBL-35732; Lawrence Berkeley National Laboratory: Berkeley, CA, USA, 1994.
- Lee, E.S.; Beltrán, L.O.; Selkowitz, S.E. Demonstration of a Light–redirecting Skylight system at the Palm Springs Chamber of Commerce. Presented at the 1996 ACEEE Summer Study on Energy Efficiency in Buildings: Profiting from Energy Efficiency, Pacific Grove, CA, USA, 25–31 August 1996. [Google Scholar]
- Lee, H.; Kim, K.; Seo, J.; Kim, Y. Effectiveness of a perforated light shelf for energy saving. Energy Build. 2017, 144, 144–151. [Google Scholar] [CrossRef]
- Scartezzini, J.L.; Gouret, G. Anidolic daylighting systems. Sol. Energy 2002, 73, 123–135. [Google Scholar] [CrossRef]
- Freewan, A.A.; Shao, L.; Riffat, S. Optimizing performance of the lightshelf by modifying ceiling geometry in highly luminous climates. Sol. Energy 2008, 82, 343–353. [Google Scholar] [CrossRef]
- Freewan, A.A. Maximizing the lightshelf performance by interaction between lightshelf geometries and a curved ceiling. Energy Convers. Manag. 2010, 51, 1600–1604. [Google Scholar] [CrossRef]
- Xue, P.; Mak, C.M.; Cheung, H.D. New static lightshelf system design of clerestory windows for Hong Kong. Build. Environ. 2014, 72, 368–376. [Google Scholar] [CrossRef]
- Smart, M.; Ballinger, J.A. Tracking Mirror Beam Sunlighting for Deep Interior Spaces. Sol. Energy 1983, 30, 527–536. [Google Scholar] [CrossRef]
- Franco, I.M. Efficacy of light shelves: Passive, dynamic and automatic devices related to light and thermal behavior. Presented at the Thermal Performance of Exterior Envelopes of Whole Buildings X, Clearwater Beach, FL, USA, 2–7 December 2007. [Google Scholar]
- Kontadakis, A.; Tsangrassoulis, A. The impacts of a dynamic sunlight redirection system on the energy balance of office buildings. In Proceedings of the CISBAT 2017 International Conference—Future Buildings & Districts—Energy Efficiency from Nano to Urban Scale, Lausanne, Switzerland, 6–8 September 2017. [Google Scholar]
- Kontadakis, A.; Tsangrassoulis, A.; Doulos, L.; Topalis, F. An active sunlight redirection system for daylight enhancement beyond the perimeter zone. Build. Environ. 2017, 113, 267–279. [Google Scholar] [CrossRef]
- Dogan, T.; Stec, P. Prototyping a façade-mounted, dynamic, dual-axis daylight redirection system. Light. Res. Technol. 2016, 1–13. [Google Scholar] [CrossRef]
- Lim, Y.W.; Heng, C.Y.S. Dynamic Internal Light Shelf for Tropical Daylighting in High-rise Office Buildings. Build. Environ. 2016, 106, 155–166. [Google Scholar] [CrossRef]
- Howard, T.C.; Place, W.; Andersson, B.; Coutiers, P. Variable area light reflecting assemblies (VALRA). In Proceedings of the 2nd International Daylighting Conference, Long Beach, CA, USA, 4–7 November 1986; pp. 222–234. [Google Scholar]
- Wulfinghoff, R.W. Energy Efficiency Manual; Energy Institute Press: Wheaton, MD, USA, 1999; ISBN 978-0-9657926-7-7. [Google Scholar]
- InLighten Interior Light Shelf. Available online: http://www.kawneer.com/kawneer/north_america/en/product.asp?prod_id=1852&desc=aluminum-curtain-wall-light-shelves (accessed on 5 November 2017).
- BrightShelf. Available online: http://brightshelf.com/index.html (accessed on 5 November 2017).
- aLuminate™ Light Shelves. Available online: https://www.tubeliteinc.com/aluminate-light-shelves/ (accessed on 5 November 2017).
- Luminance Light Shelf System. Available online: https://www.ykkap.com/commercial/product/sun-control/luminance/ (accessed on 5 November 2017).
- Mayhoub, M. Cleaning innovative daylighting systems: Economic assessment. Energy Build. 2017, 153, 63–71. [Google Scholar] [CrossRef]
- Atkinson, C.; Sansom, C.L.; Almond, H.J.; Shaw, C.P. Coatings for concentrating solar systems—A review. Renew. Sustain. Energy Rev. 2015, 45, 113–122. [Google Scholar] [CrossRef]















| Strengths | Weaknesses |
|
|
| Opportunities | Threats |
|
|
© 2017 by the authors. Licensee MDPI, Basel, Switzerland. This article is an open access article distributed under the terms and conditions of the Creative Commons Attribution (CC BY) license (http://creativecommons.org/licenses/by/4.0/).
Share and Cite
Kontadakis, A.; Tsangrassoulis, A.; Doulos, L.; Zerefos, S. A Review of Light Shelf Designs for Daylit Environments. Sustainability 2018, 10, 71. https://doi.org/10.3390/su10010071
Kontadakis A, Tsangrassoulis A, Doulos L, Zerefos S. A Review of Light Shelf Designs for Daylit Environments. Sustainability. 2018; 10(1):71. https://doi.org/10.3390/su10010071
Chicago/Turabian StyleKontadakis, Antonis, Aris Tsangrassoulis, Lambros Doulos, and Stelios Zerefos. 2018. "A Review of Light Shelf Designs for Daylit Environments" Sustainability 10, no. 1: 71. https://doi.org/10.3390/su10010071
APA StyleKontadakis, A., Tsangrassoulis, A., Doulos, L., & Zerefos, S. (2018). A Review of Light Shelf Designs for Daylit Environments. Sustainability, 10(1), 71. https://doi.org/10.3390/su10010071

