Determinants of Youth Exposure to Nicotine-Containing Aerosols: Findings from a College Survey
Abstract
1. Introduction
2. Materials and Methods
2.1. Research Site Description
2.2. Study Population
2.3. Sampling
2.4. Instrument
2.5. Statistical Analysis
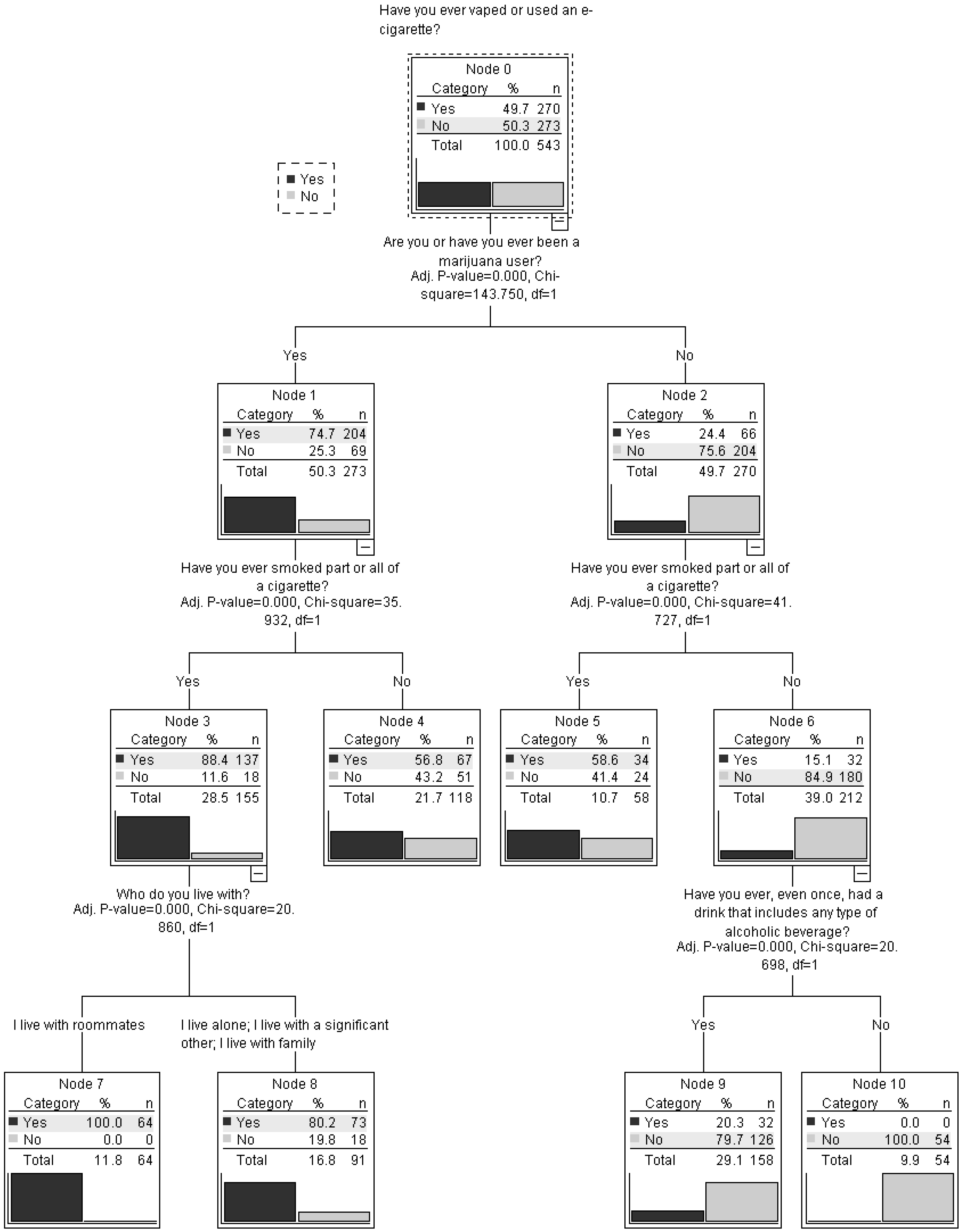
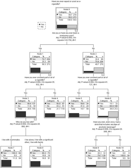
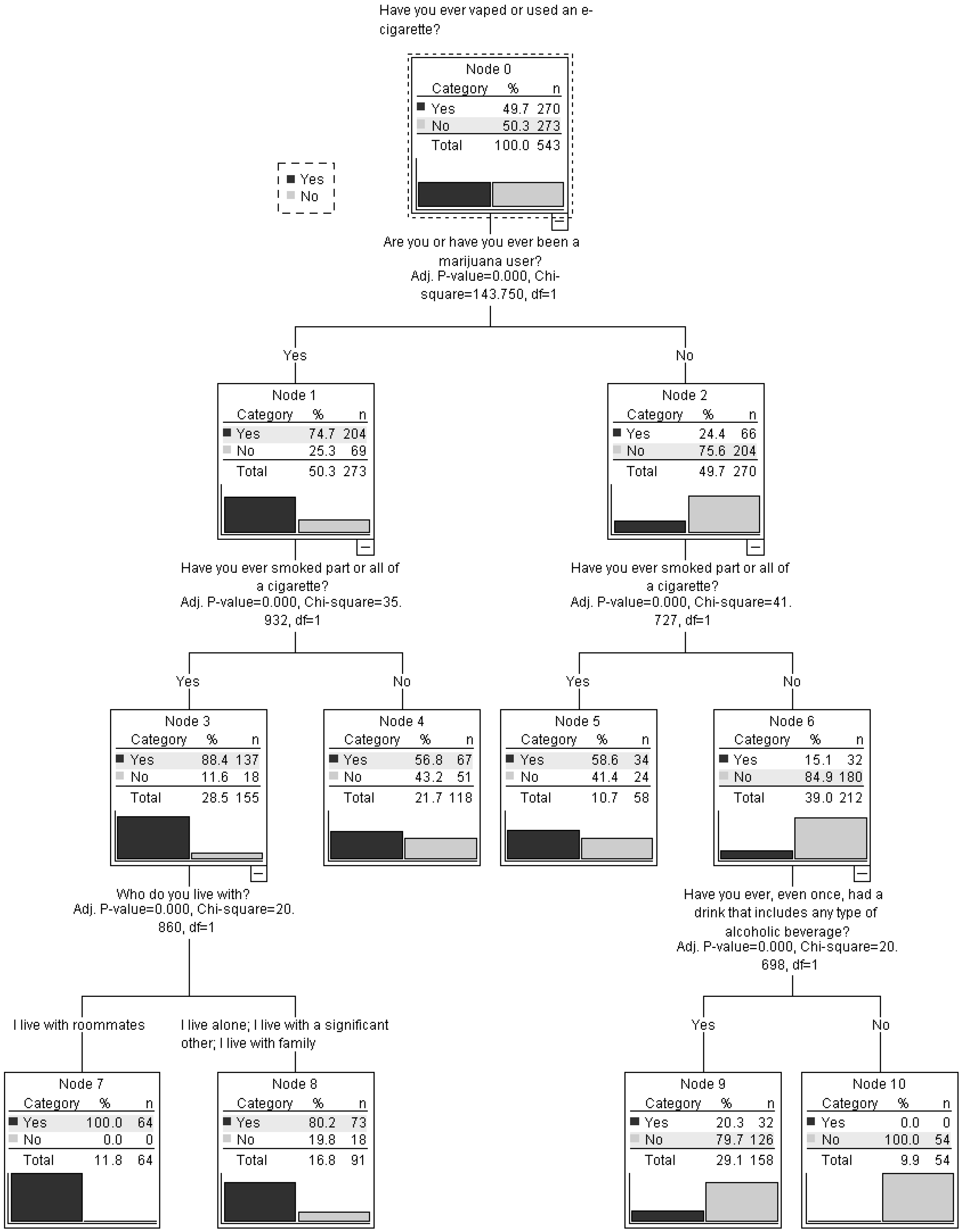
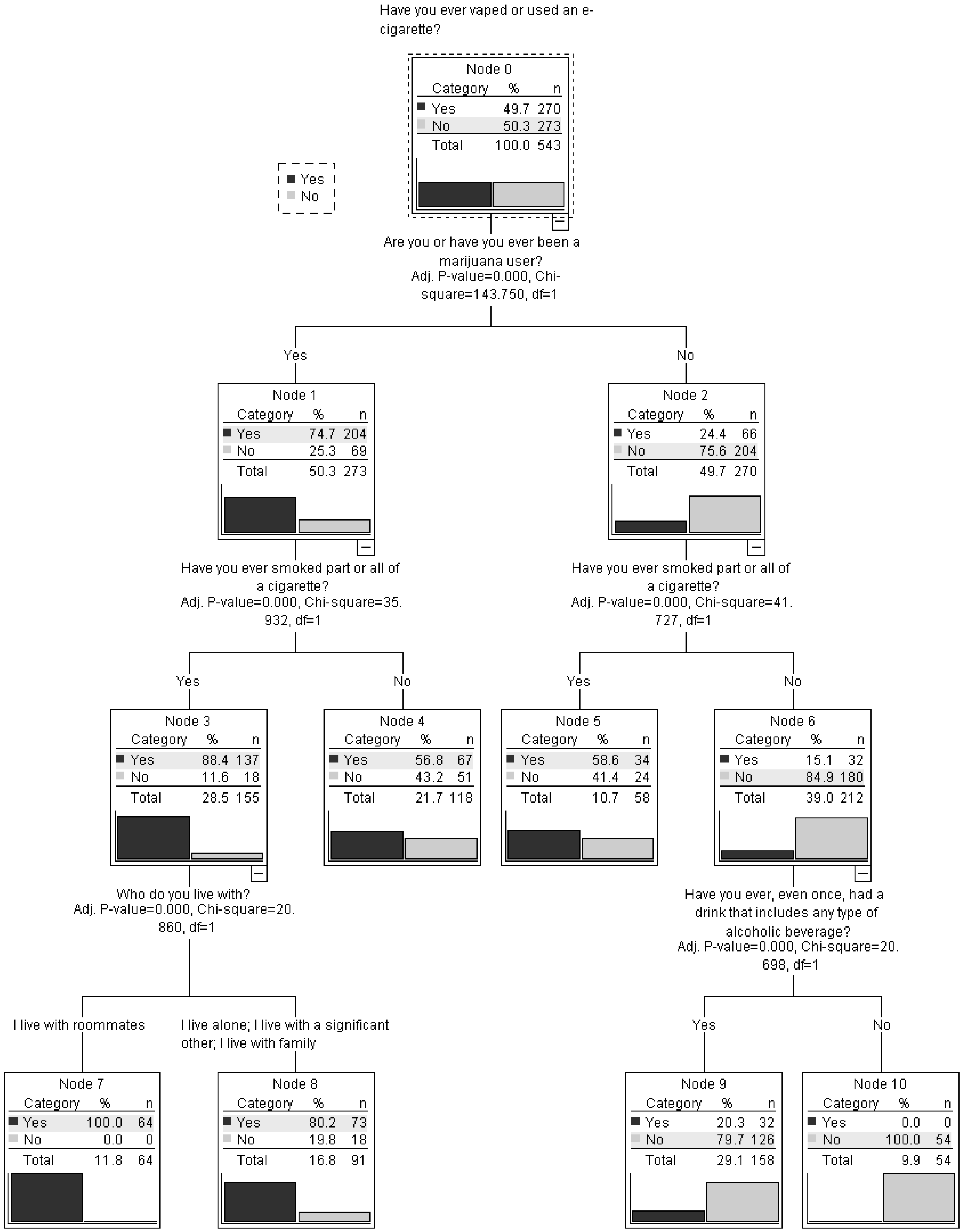
3. Results
4. Discussion
5. Conclusions
Author Contributions
Funding
Institutional Review Board Statement
Informed Consent Statement
Data Availability Statement
Conflicts of Interest
References
- Albadrani, M.S.; Tobaiqi, M.A.; Muaddi, M.A.; Eltahir, H.M.; Abdoh, E.S.; Aljohani, A.M.; Albadawi, E.A.; Alzaman, N.S.; Abouzied, M.M.; Fadlalmola, H.A. A global prevalence of electronic nicotine delivery systems (ENDS) use among students: A systematic review and meta-analysis of 4,189,145 subjects. BMC Public Health 2024, 24, 3311. [Google Scholar] [CrossRef]
- Manietta, L.; Drake, W.; Jayawardene, W. Comparative Analysis of Inflammatory and Heavy Metal Biomarkers in Exclusive E-Cigarette Users, Combustible Tobacco Users, and Non-Users Aged 18–30: A Cross-Sectional NHANES Analysis. J. Xenobiot. 2025, 15, 53. [Google Scholar] [CrossRef]
- Centers for Disease Control and Prevention. Outbreak of Lung Injury Associated with the Use of E-Cigarette, or Vaping, Products; Centers for Disease Control and Prevention (CDC): Atlanta, GA, USA, 2021. [Google Scholar]
- Jones, K.; Salzman, G.A. The Vaping Epidemic in Adolescents. Mo. Med. 2020, 117, 56–58. [Google Scholar]
- Antwi, G.O.; Lohrmann, D.K.; Jayawardene, W.; Chow, A.; Obeng, C.S.; Sayegh, A.M. Associations between e-cigarette and combustible cigarette use among U.S. cancer survivors: Implications for research and practice. J. Cancer Surviv. 2019, 13, 316–325. [Google Scholar] [CrossRef]
- Shao, X.M.; Friedman, T.C. Pod-mod vs. conventional e-cigarettes: Nicotine chemistry, pH, and health effects. J. Appl. Physiol. 2020, 128, 1056–1058. [Google Scholar] [CrossRef]
- Birdsey, J.; Cornelius, M.; Jamal, A.; Park-Lee, E.; Cooper, M.R.; Wang, J.; Sawdey, M.D.; Cullen, K.A.; Neff, L. Tobacco Product Use Among U.S. Middle and High School Students—National Youth Tobacco Survey, 2023. MMWR Morb. Mortal. Wkly. Rep. 2023, 72, 1173–1182. [Google Scholar] [CrossRef] [PubMed]
- Miech, R.A.; Johnston, L.D.; Patrick, M.E.; O’Malley, P.M. Monitoring the Future National Survey Results on Drug Use, 1975–2024: Overview and Detailed Results for Secondary School Students; Institute for Social Research, University of Michigan: Ann Arbor, MI, USA, 2025. [Google Scholar]
- Berry, K.M.; Fetterman, J.L.; Benjamin, E.J.; Bhatnagar, A.; Barrington-Trimis, J.L.; Leventhal, A.M.; Stokes, A. Association of Electronic Cigarette Use With Subsequent Initiation of Tobacco Cigarettes in US Youths. JAMA Netw. Open 2019, 2, e187794. [Google Scholar] [CrossRef] [PubMed]
- Jha, V.; Kraguljac, A. Assessing the Social Influences, Self-Esteem, and Stress of High School Students Who Vape. Yale J. Biol. Med. 2021, 94, 95–106. [Google Scholar] [PubMed]
- United States Public Health Service Office of the Surgeon General; National Center for Chronic Disease Prevention; Health Promotion (US) Office on Smoking and Health. Publications and Reports of the Surgeon General. In Smoking Cessation: A Report of the Surgeon General; US Department of Health and Human Services: Washington, DC, USA, 2020. [Google Scholar]
- Teah, G.E.; Conner, T.S. Psychological and Demographic Predictors of Vaping and Vaping Susceptibility in Young Adults. Front. Psychol. 2021, 12, 659206. [Google Scholar] [CrossRef]
- Sapru, S.; Vardhan, M.; Li, Q.; Guo, Y.; Li, X.; Saxena, D. E-cigarettes use in the United States: Reasons for use, perceptions, and effects on health. BMC Public Health 2020, 20, 1518. [Google Scholar] [CrossRef]
- Glasser, A.M.; Collins, L.; Pearson, J.L.; Abudayyeh, H.; Niaura, R.S.; Abrams, D.B.; Villanti, A.C. Overview of Electronic Nicotine Delivery Systems: A Systematic Review. Am. J. Prev. Med. 2017, 52, e33–e66. [Google Scholar] [CrossRef]
- IBM Corp. IBM SPSS Statistics for Windows, version 29.0; IBM Corp.: Armonk, NY, USA, 2022.
- Breiman, L. Classification and Regression Trees; Routledge: Abingdon, UK, 2017. [Google Scholar]
- Kim, J.H. Multicollinearity and misleading statistical results. Korean J. Anesthesiol. 2019, 72, 558–569. [Google Scholar] [CrossRef]
- Henn, S.L.; Martinasek, M.P.; Lange, M. Vaping Behavior in Young Adults During the COVID-19 Pandemic. Respir. Care 2023, 68, 1493–1501. [Google Scholar] [CrossRef]
- Hajek, P.; Etter, J.F.; Benowitz, N.; Eissenberg, T.; McRobbie, H. Electronic cigarettes: Review of use, content, safety, effects on smokers and potential for harm and benefit. Addiction 2014, 109, 1801–1810. [Google Scholar] [CrossRef] [PubMed]
- Dawkins, L.; Turner, J.; Roberts, A.; Soar, K. ‘Vaping’ profiles and preferences: An online survey of electronic cigarette users. Addiction 2013, 108, 1115–1125. [Google Scholar] [CrossRef] [PubMed]
- Feeney, S.; Rossetti, V.; Terrien, J. E-Cigarettes—A review of the evidence—Harm versus harm reduction. Tob. Use Insights 2022, 15, 1179173X221087524. [Google Scholar] [CrossRef] [PubMed]
- Chaffee, B.W.; Watkins, S.L.; Glantz, S.A. Electronic Cigarette Use and Progression From Experimentation to Established Smoking. Pediatrics 2018, 141, e20173594. [Google Scholar] [CrossRef]
- National Institute on Drug Abuse (NIDA). Vaping Devices (Electronic Cigarettes) DrugFacts. Available online: https://nida.nih.gov/publications/drugfacts/vaping-devices-electronic-cigarettes (accessed on 2 January 2025).
- Amrock, S.M.; Zakhar, J.; Zhou, S.; Weitzman, M. Perception of e-cigarette harm and its correlation with use among U.S. adolescents. Nicotine Tob. Res. 2015, 17, 330–336. [Google Scholar] [CrossRef]
- Barrington-Trimis, J.L.; Berhane, K.; Unger, J.B.; Cruz, T.B.; Huh, J.; Leventhal, A.M.; Urman, R.; Wang, K.; Howland, S.; Gilreath, T.D.; et al. Psychosocial Factors Associated With Adolescent Electronic Cigarette and Cigarette Use. Pediatrics 2015, 136, 308–317. [Google Scholar] [CrossRef]
- Kreslake, J.M.; O’Connor, K.M.; Liu, M.; Vallone, D.M.; Hair, E. A resurgence of e-cigarette use among adolescents and young adults late in the COVID-19 pandemic. PLoS ONE 2023, 18, e0282894. [Google Scholar] [CrossRef]
- Jayawardene, W.; Kumbalatara, C.; Dufner, M.; Tran, P.; Redner, R. Vaping Cessation Attempts and Intentions Among Undergraduate Students: Insights into Interventions. J. Coll. Stud. Ment. Health 2025, 39, 349–364. [Google Scholar] [CrossRef]
- Jayawardene, W.; Lohrmann, D.; YoussefAgha, A. Discrepant Body Mass Index: Behaviors Associated with Height and Weight Misreporting among US Adolescents from the National Youth Physical Activity and Nutrition Study. Child. Obes. 2014, 10, 225–233. [Google Scholar] [CrossRef] [PubMed]

| Variable | First Used Substance | ||||
|---|---|---|---|---|---|
| Vape * | Tobacco * | Marijuana * | Alcohol ** | ||
| Gender | N | 101 *** | 81 | 108 | 303 *** |
| Male | 30.69% | 45.68% | 24.07% | 30.36% | |
| Female | 67.33% | 48.15% | 66.67% | 64.03% | |
| Other | 1.98% | 6.17% | 9.26% | 5.61% | |
| Are you of Spanish, Hispanic, or Latino origin? | N | 102 *** | 81 | 108 | 304 *** |
| Yes | 5.88% | 9.88% | 12.04% | 7.89% | |
| No | 94.12% | 90.12% | 87.96% | 92.11% | |
| Race | N | 102 *** | 80 *** | 106 *** | 298 *** |
| Other | 11.76% | 12.50% | 22.64% | 9.73% | |
| White | 88.24% | 87.50% | 77.36% | 90.27% | |
| Have you ever vaped or used an e-cigarette? | N | 103 | 81 | 108 | 306 |
| Yes | 100.00% | 60.49% | 49.07% | 43.46% | |
| No | 0.00% | 39.51% | 50.93% | 56.54% | |
| Have you ever smoked part or all of a cigarette? | N | 103 | 81 | 108 | 306 |
| Yes | 45.63% | 100.00% | 33.33% | 34.31% | |
| No | 54.37% | 0.00% | 66.67% | 65.69% | |
| Are you or have you ever been a marijuana user? | N | 103 | 81 | 108 | 306 |
| Yes | 60.19% | 48.15% | 100.00% | 40.20% | |
| No | 39.81% | 51.85% | 0.00% | 59.80% | |
| Have you ever, even once, had a drink that includes any type of alcoholic beverage? | N | 103 | 81 | 108 | 306 |
| Yes | 98.06% | 95.06% | 97.22% | 100.00% | |
| No | 1.94% | 4.94% | 2.78% | 0.00% | |
| Variable | Category | During the Past 30 Days Used | |||||||
|---|---|---|---|---|---|---|---|---|---|
| Vape | Tobacco | Marijuana | Alcohol | ||||||
| Demographics | |||||||||
| N | M (SD) | N | M (SD) | N | M (SD) | N | M (SD) | ||
| Gender | Male | 46 | 14.98 (12.44) | 16 | 5.56 (6.83) | 47 | 16.49 (11.41) | 117 | 7.99 (7.38) |
| Female | 77 | 15.19 (12.22) | 28 | 7.86 (10.50) | 100 | 13.04 (11.59) | 229 | 6.39 (5.60) | |
| Other | 4 | 24.25 (9.60) | 1 | 22.00 (0.00) | 7 | 16.71 (13.92) | 16 | 5.81 (7.47) | |
| Spanish, Hispanic, or Latino origin | Yes | 11 | 13.36 (12.10) | 4 | 3.25 (2.63) | 13 | 11.62 (9.66) | 33 | 6.85 (5.48) |
| No | 116 | 15.59 (12.30) | 41 | 7.76 (9.82) | 141 | 14.50 (11.85) | 329 | 6.88 (6.43) | |
| Race | Other | 17 | 13.47 (11.74) | 1 | 4.00 (0.00) | 26 | 13.81 (10.74) | 39 | 5.10 (5.13) |
| White | 109 | 15.71 (12.41) | 44 | 7.43 (9.57) | 125 | 14.37 (11.90) | 318 | 6.99 (6.34) | |
| What type of housing do you have? | Dorm | 29 | 13.28 (12.13) | 8 | 5.75 (8.36) | 43 | 11.74 (11.35) | 84 | 5.99 (5.78) |
| House | 28 | 15.75 (13.32) | 5 | 16.20 (13.54) | 25 | 13.04 (12.00) | 104 | 5.88 (5.86) | |
| Apartment | 71 | 16.25 (11.89) | 32 | 6.38 (8.59) | 87 | 15.78 (11.58) | 176 | 7.84 (6.73) | |
| Who do you live with? | Alone | 32 | 13.84 (12.88) | 13 | 7.77 (9.19) | 47 | 12.28 (10.83) | 89 | 6.21 (6.25) |
| With family | 19 | 15.84 (13.50) | 5 | 13.40 (15.19) | 15 | 15.73 (13.40) | 54 | 5.30 (5.29) | |
| With roommates | 60 | 15.22 (11.58) | 20 | 4.35 (6.27) | 74 | 13.62 (11.55) | 163 | 7.69 (6.66) | |
| With a significant other | 17 | 19.00 (12.12) | 7 | 10.86 (11.65) | 19 | 20.16 (11.42) | 58 | 6.95 (6.19) | |
| Employment status (last three months) | Not working | 70 | 14.31 (12.30) | 23 | 9.96 (11.01) | 83 | 13.82 (11.74) | 183 | 6.95 (6.53) |
| Working | 57 | 16.74 (12.16) | 22 | 4.64 (6.77) | 70 | 14.69 (11.74) | 178 | 6.84 (6.17) | |
| Household income (12 months) | ≥$25,000 | 61 | 14.93 (11.90) | 18 | 9.72 (10.97) | 78 | 12.45 (11.29) | 194 | 6.15 (5.58) |
| <$25,000 | 38 | 17.55 (12.68) | 20 | 4.80 (7.59) | 46 | 15.76 (11.90) | 102 | 8.43 (7.41) | |
| Opinions | |||||||||
| How much do you agree with this statement? I know someone who has health concerns that might be caused by vaping. | Yes | 56 | 13.39 (11.79) | 23 | 5.22 (7.25) | 83 | 13.87 (12.18) | 188 | 6.72 (6.19) |
| No | 72 | 17.08 (12.40) | 22 | 9.59 (11.08) | 72 | 14.63 (11.09) | 176 | 6.99 (6.51) | |
| Roughly, what percentage of undergraduate students at your university would you say vape? | Less than 50% | 63 | 16.54 (12.48) | 21 | 9.52 (11.14) | 82 | 13.98 (11.53) | 202 | 5.41 (5.47) |
| More than 50% | 65 | 14.43 (11.98) | 24 | 5.46 (7.47) | 73 | 14.49 (11.87) | 162 | 8.65 (6.88) | |
| Substance use | |||||||||
| Have you ever vaped or used an e-cigarette? | Yes | 128 | 15.47 (12.23) | 41 | 7.95 (9.73) | 128 | 15.46 (11.59) | 228 | 8.00 (6.74) |
| No | 0 | 0.00 (0.00) | 4 | 1.25 (0.50) | 27 | 8.33 (10.22) | 136 | 4.93 (5.08) | |
| Have you ever smoked part or all of a cigarette? | Yes | 92 | 16.75 (12.21) | 45 | 7.36 (9.48) | 91 | 14.80 (11.55) | 181 | 8.64 (7.04) |
| No | 36 | 12.19 (11.81) | 0 | 0.00 (0.00) | 64 | 13.39 (11.84) | 183 | 5.09 (4.98) | |
| Are you or have you ever been a marijuana user? | Yes | 104 | 15.31 (12.34) | 38 | 7.68 (10.11) | 155 | 14.22 (11.65) | 221 | 7.78 (6.16) |
| No | 24 | 16.17 (11.96) | 7 | 5.57 (4.86) | 0 | 0.00 (0.00) | 143 | 5.42 (6.36) | |
| Have you ever, even once, had a drink that includes any type of alcoholic beverage? | Yes | 125 | 15.12 (12.16) | 45 | 7.36 (9.48) | 151 | 14.17 (11.59) | 364 | 6.85 (6.34) |
| No | 3 | 30.00 (0.00) | 0 | 0.00 (0.00) | 4 | 16.25 (15.88) | 0 | 0.00 (0.00) | |
| Variable | Exp (B) | Lower | Upper | p Value |
|---|---|---|---|---|
| Year in school? (1 through 6; 1 = Freshman, 2 = Sophomore, 3 = Junior, 4 = Senior, 5 = Graduate, 6 = Faculty/Staff) | 0.63 | 0.44 | 0.9 | 0.012 |
| What was your total household income before taxes during the past 12 months? (1 through 6; 1 = Less than $25,000, 2 = $25,000–$49,999, 3 = $50,000–$74,999, 4 = $75,000–$99,999, 5 = $100,000–$149,999, 6 = $150,000 or more) | 0.44 | 0.24 | 0.82 | 0.009 |
| What best describes your employment status over the last three months? (Reference:0 = not working, 1 = working) | 35.2 | 3.17 | 390.78 | 0.004 |
| Interaction of [How old were you the first time you vaped?—Age] and [During the past 30 days, did you use a vape?] | 1.18 | 1.07 | 1.3 | 0.001 |
| Interaction of [Roughly, what percentage of undergraduate students at your university would you say vape? (1 through 9; 1 = 10% or less, 9 = 90% or greater)] and [During the past 30 days, did you use a vape?] | 0.92 | 0.69 | 1.21 | 0.542 |
| Interaction of [Roughly, what percentage of undergraduate students at your university would you say vape?] and [What was your total household income before taxes during the past 12 months?] | 1.16 | 1.04 | 1.29 | 0.007 |
| Interaction of [Roughly, what percentage of undergraduate students at your university would you say vape?] and [What best describes your employment status over the last three months?] | 0.57 | 0.38 | 0.86 | 0.007 |
| Constant | 0.78 |
Disclaimer/Publisher’s Note: The statements, opinions and data contained in all publications are solely those of the individual author(s) and contributor(s) and not of MDPI and/or the editor(s). MDPI and/or the editor(s) disclaim responsibility for any injury to people or property resulting from any ideas, methods, instructions or products referred to in the content. |
© 2025 by the authors. Licensee MDPI, Basel, Switzerland. This article is an open access article distributed under the terms and conditions of the Creative Commons Attribution (CC BY) license.
Share and Cite
Kumbalatara, C.; Johnson, L.; MacArthur, M.; Park, M.; Jayawardene, W. Determinants of Youth Exposure to Nicotine-Containing Aerosols: Findings from a College Survey. J. Xenobiot. 2026, 16, 3. https://doi.org/10.3390/jox16010003
Kumbalatara C, Johnson L, MacArthur M, Park M, Jayawardene W. Determinants of Youth Exposure to Nicotine-Containing Aerosols: Findings from a College Survey. Journal of Xenobiotics. 2026; 16(1):3. https://doi.org/10.3390/jox16010003
Chicago/Turabian StyleKumbalatara, Chesmi, Lindsey Johnson, Matthew MacArthur, Meungguk Park, and Wasantha Jayawardene. 2026. "Determinants of Youth Exposure to Nicotine-Containing Aerosols: Findings from a College Survey" Journal of Xenobiotics 16, no. 1: 3. https://doi.org/10.3390/jox16010003
APA StyleKumbalatara, C., Johnson, L., MacArthur, M., Park, M., & Jayawardene, W. (2026). Determinants of Youth Exposure to Nicotine-Containing Aerosols: Findings from a College Survey. Journal of Xenobiotics, 16(1), 3. https://doi.org/10.3390/jox16010003

