Otic Capsule Dehiscences Simulating Other Inner Ear Diseases: Characterization, Clinical Profile, and Follow-Up—Is Ménière’s Disease the Sole Cause of Vertigo and Fluctuating Hearing Loss?
Abstract
1. Introduction
2. Materials and Methods
2.1. Study Design
2.2. Inclusion Criteria
2.3. Complementary Tests
2.4. Treatment
2.5. Postoperative Follow-Up
3. Results
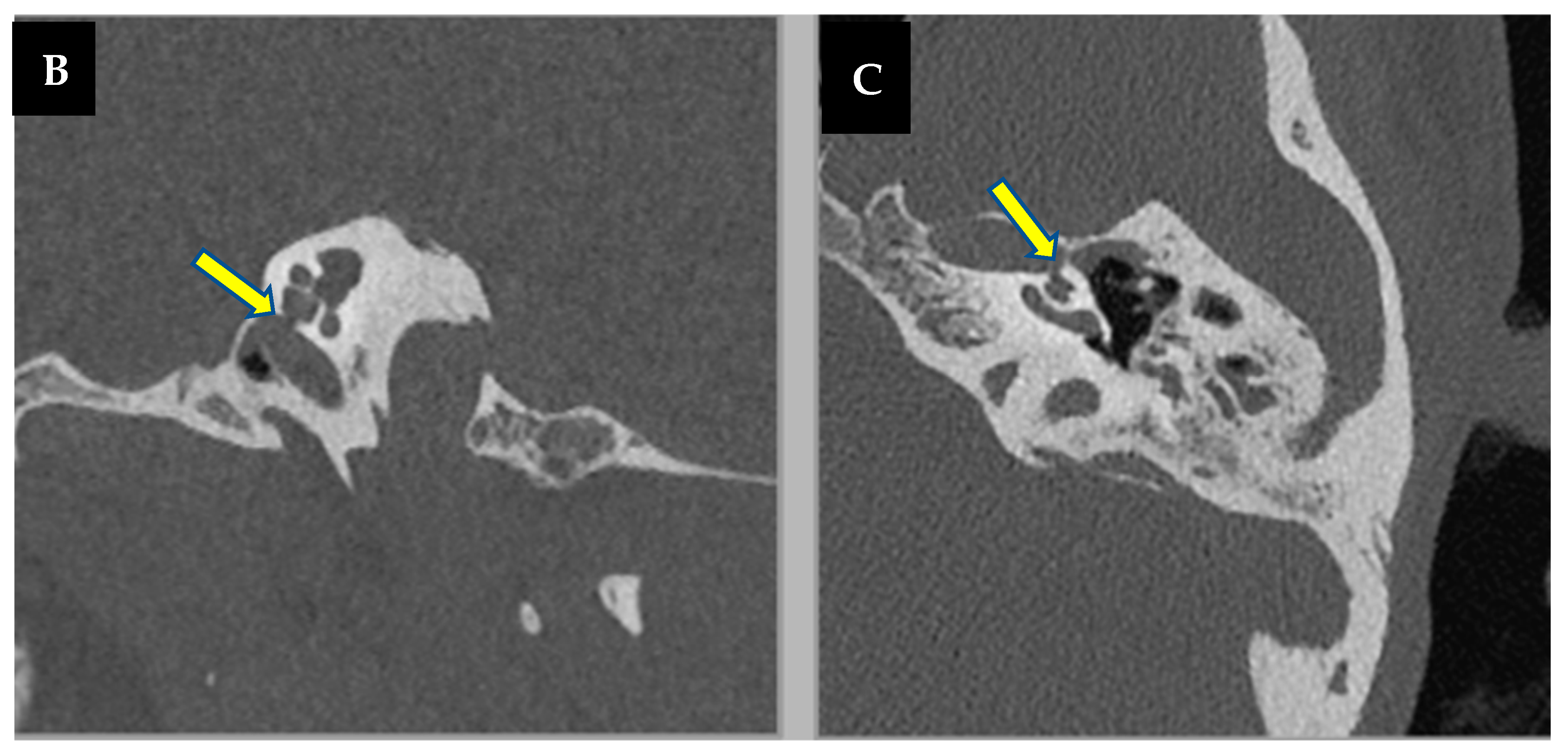
3.1. Case 1
3.2. Case 2
3.3. Case 3
3.4. Case 4
3.5. Case 5
3.6. Case 6
4. Discussion
5. Conclusions
Supplementary Materials
Author Contributions
Funding
Institutional Review Board Statement
Informed Consent Statement
Data Availability Statement
Conflicts of Interest
References
- Wackym, P.A.; Agrawal, Y.; Ikezono, T.; Balaban, C.D. Editorial: Third Window Syndrome. Front. Neurol. 2021, 18, 12. [Google Scholar] [CrossRef]
- Minor, L.B.; Solomon, D.; Zinreich, J.S.; Zee, D.S. Vértigo inducido por sonido y/o presión debido a la dehiscencia ósea del canal semicircular superior. Arco Otolaryngol. Cabeza Cuello Cirugía 2018, 124, 249–258. [Google Scholar]
- Jackler, R.K.; Luxford, W.M.; House, W.F. Congenital malformations of the inner ear: A classification based on embryogenesis. Laryngoscope 1987, 97, 2–14. [Google Scholar] [CrossRef]
- Khan, A.M.; Levine, S.; Nadol, J.B., Jr. The widely patent cochleovestibular communication of Edward Cock is a distinct inner ear malformation: Implications for cochlear implantation. Ann. Otol. Rhinol. Laryngol. 2006, 115, 595–606. [Google Scholar] [CrossRef]
- Lopez-Escamez, J.A.; Carey, J.; Chung, W.-H.; Goebel, J.A.; Magnusson, M.; Mandalà, M.; Newman-Toker, D.E.; Strupp, M.; Suzuki, M.; Trabalzini, F.; et al. Diagnostic criteria for Meniere’s disease. J. Vestib. Res. 2015, 25, 1–7. [Google Scholar] [CrossRef]
- Garaycochea, O.; Domínguez, P.D.; Manrique, M.; Manrique-Huarte, R. Cochlear-Internal Canal and Cochlear-Facial Dehiscence: A Novel Entity. J. Int. Adv. Otol. 2018, 14, 334–336. [Google Scholar] [CrossRef] [PubMed]
- Koroulakis, D.J.; Reilly, B.K.; Whitehead, M.T. Cochlear–facial dehiscence in a pediatric patient. Pediatr. Radiol. 2020, 50, 750–752. [Google Scholar] [CrossRef]
- Van Damme, J.P.; Heylen, G.; Gilain, C.; Garin, P. Pulsatile tinnitus associated with dehiscent internal carotid artery: An irremediable condition? Auris Nasus Larynx 2017, 44, 612–615. [Google Scholar] [CrossRef] [PubMed]
- Merchant, S.N.; Rosowski, J.J. Conductive hearing loss caused by third-window lesions of the inner ear. Otol. Neurotol. 2008, 29, 282–289. [Google Scholar] [CrossRef]
- Ho, M.L.; Moonis, G.; Halpin, C.F.; Curtin, H.D. Spectrum of third window abnormalities: Semicircular canal dehiscence and beyond. Am. J. Neuroradiol. 2017, 38, 2–9. [Google Scholar] [CrossRef]
- Webster, K.E.; Galbraith, K.; Lee, A.; Harrington-Benton, N.A.; Judd, O.; Kaski, D.; Maarsingh, O.R.; MacKeith, S.; Ray, J.; Van Vugt, V.A.; et al. Intratympanic gentamicin for Ménière’s disease. Cochrane Database Syst. Rev. 2023, 2023, CD015246. [Google Scholar]
- Eftekharian, A.; Amizadeh, M. Cerebrospinal fluid gusher in cochlear implantation. Cochlear Implants Int. 2014, 15, 179–184. [Google Scholar] [CrossRef]
- Fang, C.; Chung, S.; Blake, D.; Vazquez, A.; Li, C.; Carey, J.P.; Francis, H.W.; Jyung, R.W. Prevalence of cochlear-facial dehiscence in a study of 1,020 temporal bone specimens. Otol. Neurotol. 2016, 37, 967–972. [Google Scholar] [CrossRef]
- Chi, F.L.; Ren, D.D.; Dai, C.F. Variety of Audiologic Manifestations in Patients With Superior Semicircular Canal Dehiscence. Otol. Neurotol. 2010, 31, 2–10. [Google Scholar] [CrossRef]
- Wackym, P.A.; Balaban, C.D.; Zhang, P.; Siker, D.A.; Hundal, J.S. Third Window Syndrome: Surgical Management of Cochlea-Facial Nerve Dehiscence. Front Neurol. 2019, 10, 1281. [Google Scholar] [CrossRef] [PubMed]
- Reynard, P.; Idriss, S.; Ltaief-Boudrigua, A.; Bertholon, P.; Pirvan, A.; Truy, E.; Thai-Van, H.; Ionescu, E.C. Proposal for a Unitary Anatomo-Clinical and Radiological Classification of Third Mobile Window Abnormalities. Front. Neurol. 2022, 12, 792545. [Google Scholar] [CrossRef] [PubMed]
- Cloutier, J.F.; Belair, M.; Saliba, I. Superior semicircular canal dehiscence: Positive predictive value of high-resolution CT scanning. Eur. Arch. Otorhinolaryngol. 2018, 265, 1455–1460. [Google Scholar] [CrossRef] [PubMed]
- Saxby, A.J.; Gowdy, C.; Fandino, M.; Chadha, N.K.; Kozak, F.K.; Sargent, M.A.; Lea, J. Radiological prevalence of superior and posterior semicircular canal dehiscence in children. Int. J. Pediatr. Otorhinolaryngol. 2015, 79, 411–418. [Google Scholar] [CrossRef]
- Krombach, G.A.; Di Martino, E.; Martiny, S.; Prescher, A.; Haage, P.; Buecker, A.; Günther, R.W. Dehiscence of the superior and/or posterior semicircular canal: Delineation on T2-weighted axial three-dimensional turbo spin-echo images, maximum intensity projections and volume-rendered images. Eur. Arch. Oto-Rhino-Laryngol. Head Neck 2006, 263, 111–117. [Google Scholar] [CrossRef]
- Gürkov, R. Menière and Friends. Otol. Neurotol. 2017, 38, e539–e544. [Google Scholar] [CrossRef]
- Naganawa, S.; Kawai, H.; Sone, M.; Ikeda, M. Ratio of Vestibular Endolymph in Patients with Isolated Lateral Semicircular Canal Dysplasia. Magn. Reson. Med. Sci. 2015, 14, 203–210. [Google Scholar] [CrossRef]
- Sone, M.; Yoshida, T.; Morimoto, K.; Teranishi, M.; Nakashima, T.; Naganawa, S. Endolymphatic hydrops in superior canal dehiscence and large vestibular aqueduct syndromes. Laryngoscope 2015, 126, 1446–1450. [Google Scholar] [CrossRef]







| Pacient | Hipoacusis | Tinnitus/ Fullness | Vertigo Attacks | Vestibular Tests | Other | md/eh | Final Diagnose | |
|---|---|---|---|---|---|---|---|---|
| CASE 1 | MAN 73 YEARS | R: 40 dB L:100 dB | YES | NO | VHIT NORMAL VEMP NORMAL | LEFT GUSHER | NO | DEHISCENCIE COCHLEO-ICA |
| CASE 2 | MAN 53 YEARS | R: 80 dB L: 55 dB | YES | YES | VHIT ALTERED VEMP ALTERED | RIGHT GUSHER | YES | MD + DOUBLE DEHISCENCE |
| CASE 3 | MAN 54 YEARS | R:50 dB L: 26 dB | YES | YES | VHIT ALTERED VEMP ALTERED | - | YES | DEHISCENCIE COCHLEA-FACIAL. + MD |
| CASE 4 | WOMAN 39 YEARS | R:10 dB L: 52 dB | YES | NO | VHIT NORMAL VEMP NORMAL | - | NO | DEHISCENCIE COCHLEO-CAROTID |
| CASE 5 | MAN 18 YEARS | R:7 dB L: 26 dB | YES | NO | VHIT NORMAL VEMP ALTERED | TULIO AND HENNEBERT | NO | DEHISCENCE JUGULAR-PSC |
| CASE 6 | MAN 46 YEARS | R:12 dB L: 23 dB | YES | NO | VHIT NORMAL VEMP ALTERED | TULIO AND HENNEBERT | NO | DEHISCENCE YUGULAR-VA + DEHISCENCE SSC |
Disclaimer/Publisher’s Note: The statements, opinions and data contained in all publications are solely those of the individual author(s) and contributor(s) and not of MDPI and/or the editor(s). MDPI and/or the editor(s) disclaim responsibility for any injury to people or property resulting from any ideas, methods, instructions or products referred to in the content. |
© 2024 by the authors. Licensee MDPI, Basel, Switzerland. This article is an open access article distributed under the terms and conditions of the Creative Commons Attribution (CC BY) license (https://creativecommons.org/licenses/by/4.0/).
Share and Cite
Lorente-Piera, J.; Prieto-Matos, C.; Manrique-Huarte, R.; Garaycochea, O.; Domínguez, P.; Manrique, M. Otic Capsule Dehiscences Simulating Other Inner Ear Diseases: Characterization, Clinical Profile, and Follow-Up—Is Ménière’s Disease the Sole Cause of Vertigo and Fluctuating Hearing Loss? Audiol. Res. 2024, 14, 372-385. https://doi.org/10.3390/audiolres14020032
Lorente-Piera J, Prieto-Matos C, Manrique-Huarte R, Garaycochea O, Domínguez P, Manrique M. Otic Capsule Dehiscences Simulating Other Inner Ear Diseases: Characterization, Clinical Profile, and Follow-Up—Is Ménière’s Disease the Sole Cause of Vertigo and Fluctuating Hearing Loss? Audiology Research. 2024; 14(2):372-385. https://doi.org/10.3390/audiolres14020032
Chicago/Turabian StyleLorente-Piera, Joan, Carlos Prieto-Matos, Raquel Manrique-Huarte, Octavio Garaycochea, Pablo Domínguez, and Manuel Manrique. 2024. "Otic Capsule Dehiscences Simulating Other Inner Ear Diseases: Characterization, Clinical Profile, and Follow-Up—Is Ménière’s Disease the Sole Cause of Vertigo and Fluctuating Hearing Loss?" Audiology Research 14, no. 2: 372-385. https://doi.org/10.3390/audiolres14020032
APA StyleLorente-Piera, J., Prieto-Matos, C., Manrique-Huarte, R., Garaycochea, O., Domínguez, P., & Manrique, M. (2024). Otic Capsule Dehiscences Simulating Other Inner Ear Diseases: Characterization, Clinical Profile, and Follow-Up—Is Ménière’s Disease the Sole Cause of Vertigo and Fluctuating Hearing Loss? Audiology Research, 14(2), 372-385. https://doi.org/10.3390/audiolres14020032

