Next Article in Journal
Future Range Dynamics Suggest Increasing Threats of Grey Squirrels (Sciurus carolinensis) against Red Squirrels (Sciurus vulgaris) in Europe: A Perspective on Climatic Suitability
Previous Article in Journal
Influence of Wood Knots of Chinese Weeping Cypress on Selected Physical Properties
 
 
Font Type:
Arial Georgia Verdana
Font Size:
Aa Aa Aa
Line Spacing:
Column Width:
Background:
Article

Study on the Effects of Selected Factors on the Diagonal Tensile Strength of Oblique Corner Furniture Joints Constructed by Wood Dowel

1
Co-Innovation Center of Efficient Processing and Utilization of Forest Resources, Nanjing Forestry University, Nanjing 210037, China
2
College of Furnishing and Industrial Design, Nanjing Forestry University, Nanjing 210037, China
3
MACIO Home Co., Ltd., Chongqing 401346, China
*
Author to whom correspondence should be addressed.
Forests 2023, 14(6), 1149; https://doi.org/10.3390/f14061149
Submission received: 21 May 2023 / Revised: 31 May 2023 / Accepted: 1 June 2023 / Published: 2 June 2023
(This article belongs to the Section Wood Science and Forest Products)

Abstract

The oblique corner joints (OCJ) of wood-frame furniture doors crack easily during common usage due to external loads or changes in temperature and humidity. Aiming to solve this technology issue, the effects of the selected factors, i.e., material type (MT), diameter of dowel hole (DDH), moisture content of dowel (MCD), and distance between two dowels (DTD), on the diagonal tensile strength of the oblique corner joint (OCJ), were investigated experimentally and optimized based on the response surface method. The results showed that there were two typical mechanical behaviors of OCJs when subjected to diagonal tensile loads, according to load and displacement curves and failure modes. The critical crack strength, Fc, and ultimate strength, Fu, of samples made of heat-treated alder were smaller than those of samples made of control alder. DDH had a significant effect on Fc but not on Fu, while the effect of DTD on both Fc and Fu was significant. The Fc defined in this study was a better indicator for evaluating the crack load resistance of OCJs than Fu. The OCJs constructed by double dowels were significantly greater than those of single dowels. The optimal parameters for constructing the OCJs were obtained: MT was the control wood material, DDH was 7.8 mm, double dowels with a DTD of 27 mm, and the MCD should be higher than that of the base material.

1. Introduction

Wood is a natural, environmentally friendly, porous material widely utilized in wood construction and wood products [1,2,3]. It is the natural properties of wood that seriously influence the quality, appearance, and strength of wood products, such as wood furniture, doors, and windows [4,5,6,7,8,9,10,11,12].
Many studies have been trying to improve the strength, appearance, and quality of wood products, mainly using the modification method and the structure reinforcement method. The modification method mainly adopted chemical modification [13,14,15] and heat-treated methods [16,17,18], which aimed to improve the strength, dimensional stability, and appearance of wood lumber. Meanwhile, modification methods often increase the cost of wood products to a high degree. The structure-reinforced method commonly investigates factors influencing the strength of joints used in wood products and proposes new jointing methods to improve them. Among these studies, the strength of furniture joints, especially mortise-and-tenon joints [19,20,21] and wood dowel joints [22,23,24,25,26], occupied a large proportion. By contrast, using the structure reinforced method commonly brings less cost than the modification method and is more environmentally friendly.
Commonly, there are three typical jointing forms used in jointing the corner of a wood door: straight (Figure 1a), oblique (Figure 1b), and a combination of straight and oblique (Figure 1c). From the feedback of the market, the oblique jointing forms of wood furniture doors prevailed most among these three types. In practice, it is the oblique corner joint (OCJ) that cracks easier than the other two types (Figure 1d), which seriously influences the appearance and quality of wood furniture doors. Many furniture enterprises were suffering from this issue and trying to use other joint types instead of the OCJ. However, this means that the appearance of the OCJ must be sacrificed. Obviously, it is tough work to make a trade-off between the prevailing appearance and quality of wood furniture doors, but we have to make a decision.
Although the heat-treated method was widely used in the wood products industry to improve dimensional stability, the mechanical strengths of wood and wood joints usually decreased [27,28,29]. Therefore, the strength of wood joints needs to be improved, especially when they are made of heat-treated wood. This is another dilemma that enterprises face when making a trade-off between dimensional stability and strength of joints when using heat-treated wood in the manufacture of the OCJ. However, studies on the crack load resistance of the OCJ were rarely observed, especially considering heat-treated wood and some critical technology parameters of the OCJ.
In order to solve this dilemma, we attempted to improve this impossible position from the perspective of structure optimization. Therefore, the main aim of the study was to further investigate the main factors influencing the crack load resistance of the OCJ and propose the optimal connecting parameters of the OCJ for wood furniture doors. The specific work conducted included the following matters: (1) the effect of the selected factors, i.e., material type (MT), moisture content of dowel (MCD), and diameter of dowel hole (DDH), on the diagonal tensile strength of the OCJ; (2) the technology parameters of the OCJ were optimized by the response surface method; (3) the OCJ was further improved by using double dowels, and the effect of distance between two dowels (DTD) on the strength of the OCJ was studied. Finally, improved technology parameters for constructing the OCJ were proposed.

2. Materials and Methods

2.1. Wood Materials

The material type (MT) used in this study was alder (Alnus cremastogyne Burk.) and heat-treated alder provided by the MACIO Home Co., Ltd. (Chongqing, China). The main procedures of heat treatment were that (1) the wood sample started heating at 40 °C and increased gradually to 135 °C with an increment of 5 °C equally with a 1.5 h duration for each temperature point; (2) the temperature eventually increased to 140 °C and was kept for 10 h. Therefore, the whole heat-treated cycle was nearly 40 h; (3) and then the wood lumbers were moved out and cooled at the environmental temperature for 12 h; (4) the wood lumbers were put into a chamber with a constant temperature of 25 °C and humidity of 60% for 10 days. The glue used in constructing the oblique corner joint (OCJ) was PVAc with a solid content of 50%.

2.2. Specimen Preparation

Figure 2 shows the main procedure for preparing samples and the configurations of samples evaluated. The wood furniture door frame was constructed with a wood dowel and “male and female tenon” (MFT) with PVAc glue applied. The main procedure of processing the OCJ was that (1) wood lumbers were cut into members (Figure 2a) of a wood furniture door; (2) the members of the door were constructed by the MFT and a dowel synchronizing with glue (Figure 2b); (3) the wood furniture door frame was constructed firmly and stored in the wood shop until the glue completely dried (Figure 2c); (4) each door frame was cut into four OCJ samples equally, and two load-applied holes were drilled at the end of the members (Figure 2d) for fixing on the universal testing machine.
Figure 3 shows the specific dimensions of the OCJ sample. The dimensions of the L-shape sample measured 250 mm long × 68 mm wide × 22 mm thick, with a hole measuring 20 mm in diameter at the ends of two members at a distance of 40 mm. The wood dowel was made of alder with dimensions of 50 × 8 mm (length × diameter). The dowel hole was a variable in this study; in Figure 3, a male and female tenon (MFT) with a diameter of 8.5 mm (with dowel holes) was presented as an example.

2.3. Experimental Design

A complete 2 × 3 × 3 factorial experiment was designed to investigate the effects of material type (MT) (control and heat-treated alder), moisture content of wood dowel (MCD) (6.72%, 8.45%, and 12.02%), and diameter of dowel hole (DDH) (7.8 mm, 8 mm, and 8.5 mm) on the diagonal tensile strength of the OCJ. Furthermore, single factorial experiments were designed to further study the effect of dowel number on the strength of OCJs based on the results of the preliminary optimization tests. In preliminary optimization tests, 12 replications were evaluated for each combination; thus, there were 216 total samples tested. In secondary optimization tests, there were 120 samples evaluated, with 12 replications repeated for each combination.

2.4. Testing Method

Figure 4 shows the setup for measuring the diagonal tensile strength of the OCJ of a furniture door using a universal testing machine (WDW-30 Kn, Tianchen, China) synchronized with a camera to record the crack of the OCJ. The loading speed was set at 10 mm/min until the joint completely failed. The critical crack load and ultimate load of OCJs were recorded when the OCJ initially cracked and completely failed, respectively. In addition, the moisture content (MC) and density of the OCJ samples were measured according to ASTM D4442 [30] and ASTM D2395 [31].

2.5. Statistical Analysis

The effects of MT, MCD, and DDH on the diagonal tensile strength of OCJs were statistically analyzed using the analysis of variance (ANOVA) and generalized linear model (GLM) procedures. Mean comparisons using the chi-square statistic testing multiple comparison procedure were performed based on SPSS (22, IBM, USA) if any significant factors were observed. The optimal parameters for constructing OCJs were analyzed based on the response surface method using Design Expert (Version 12, Stat-Ease, Inc., Minneapolis, MN, USA). All statistical analyses were performed at the 5% significance level.

3. Results and Discussion

3.1. Density and Moisture Content

The density and moisture content (MC) of control alder and heat-treated alder are shown in Table 1. It can be found that the MC of control samples reduced significantly compared with heat-treated samples, which was consistent with the results of previous studies [32]. However, the differences between densities of control and heat-treated samples were not significant.

3.2. Typical Mechanical Behaviors of Oblique Corner Joints

Figure 5 shows the load-displacement curves of all 216 tested samples in each group. To further characterize the mechanical behavior of the OCJs, each load-displacement curve was plotted in Origin software and analyzed based on the changes in stiffness (slope). Meanwhile, the critical load points and corresponding values were extracted.
There were two typical mechanical behaviors of oblique corner joints (OCJ) when subjected to the diagonal tensile load. Figure 6 shows these two typical load and displacement curves, named Mode A and Mode B, with their corresponding failure processes at critical load points. Meanwhile, these two typical failure modes were further analyzed and discussed as follows:
In the case of Mode A (Figure 6a), the load and displacement curve included two linear stages divided by the first proportional limit load point (Fp1) and the second proportional limit load point (Fp2). According to the recording video and observations of sample failure processes, the critical crack load of the OCJ was defined as the load corresponding to the intersection of the tangential lines of the first elastic portion and the second elastic portion in the load and displacement curve and named as critical crack strength, Fc. Figure 6(a1–a3) shows the status of the sample corresponding to the critical load points of Fc, Fu, and complete failure of OCJs, respectively. In addition, the final failure of Mode A resulted from the fracture of a single dowel.
By contrast, Figure 6b shows the other typical mechanical behavior of OCJs, named Mode B. It was obvious that there was a slide of displacement in the load and displacement curve. Therefore, the turning point, Fc, was defined as the critical crack strength of the OCJ. Figure 6(b1–b3) shows the status of the OCJ corresponding to the critical load points of Fc, Fu, and complete failure, respectively. Compared with Mode A, the final failure of Mode B resulted from the withdrawal of the single dowel. There were 159 samples fractured in failure Mode A, and 57 samples failed in failure Mode A, which suggested that most samples failed resulting from the fracture of dowels and a minority fractured because of the withdrawal of dowels. Meanwhile, the number of sample fractures in failure Mode A was greater than those in failure Mode B for each tested group, which indicated that manufacturing technology was relatively stable.
It is noteworthy that the critical crack strength, Fc, and ultimate strength, Fu, of Mode A were nearly the same as those of Mode B. Furthermore, when the external load reached the point of Fu, the corner joint cracked. Therefore, it seemed that Fu could not be a good indicator for evaluating the crack load resistance of the OCJ. By contrast, Fc was the turning point of the elastic stiffness of the OCJ, which could reflect the crack load resistance better.

3.3. Diagonal Tensile Strength of Oblique Corner Joints

Table 2 shows the results of the analysis of variance (ANOVA) for the diagonal strength of the OCJs on three factors, which indicates that the diameter of the dowel hole (DDH) has the main effect on Fc. The interaction effects of moisture content of dowel (MCD) and material type (MT) and those of MCD and DDH have significant effects on Fc. By contrast, there was no main effect on Fu, but the interaction effects of MCD and MT and MT and DDH on Fu were statistically significant. The above ANOVA results indicated that Fc was more sensitive than Fu to the factors evaluated. In order to further analyze the results, multiple comparisons of diagonal tensile strengths for OCJs were conducted.
Table 3 shows the mean values of Fc for all combinations of the three factors evaluated. For control samples, Fc increased with the increase in MCD. However, for heat-treated samples, this trend was not identical to the control samples: (1) Fc increased with the increment of MCD when the DDH was 7.8 mm (interference fit); (2) Fc decreased with the increase of MCD when the DDH was 8 mm (snug fit); and (3) Fc got its maximum value at the MCD of 8.45% when the DDH was 8.5 mm (clearance fit).
Comparing the Fc between control and heat-treated OCJ samples, the maximum value of Fc was obtained with the combination of control alder with a MCD of 12.02% and a DDH of 7.8 mm. Concerning the DDH, the whole trend was that Fc increased with the decrease of the DDH, which indicated that interference fit can improve the Fc of the OCJ of a furniture door.
Table 4 shows the results of the ultimate strength, Fu, of OCJs for all combinations of factors evaluated. For control samples, Fu increased with the increment of MCD, but for heat-treated samples, the trend varied among different DDHs, especially for MCD of 12.02%. Concerning the MT, the Fu of control samples was higher than those of heat-treated samples from the whole trend, which was identical to previous studies on other joints [22,23,24,25,26]. For DDH, the clearance fit seemed more suitable than other fits.

3.4. Preliminary Optimization of Oblique Corner Joints

3.4.1. Critical Crack Strength (Fc)

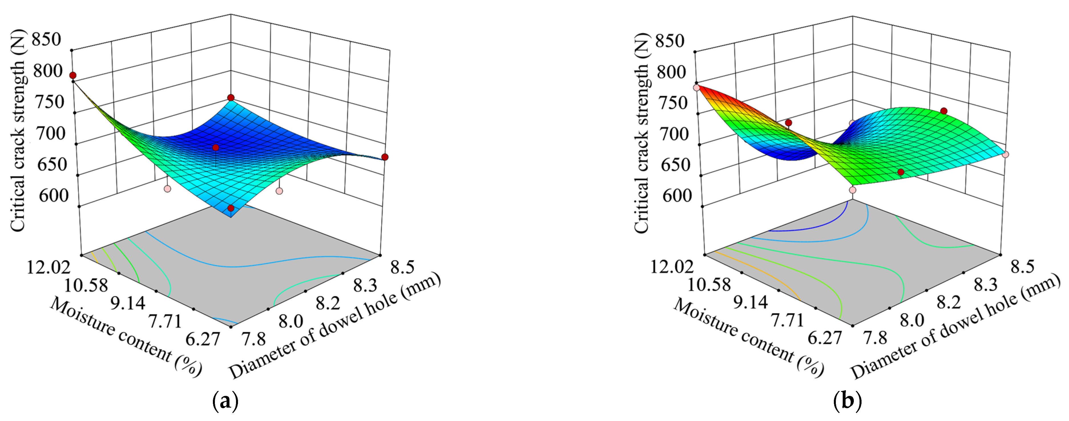
The optimization analysis procedure was conducted using the response surface method to get the optimal parameters used in constructing the OCJ. Figure 7 shows correlations of Fc related to MCD and DDH, which indicate that high MCD and small DDH benefit the Fc of OCJs made of both control alder and heat-treated alder. Specifically, Equations (1) and (2) show the relationships between Fc, MCD, and DDH for control alder and heat-treated alder, respectively.
F c 1 = 22326 D + 11098 M 2723 D M 1364 D 2 + 7.8 M 2 + 166 D 2 M 0.7 D M 2 90430       R 2 = 0.842
F c 2 = 11468 D + 7816 M 1961 D M 718.6 D 2 + 32.9 M 2 + 123.9 D 2 M 4.6 D M 2 45277       R 2 = 0.96
where Fc1 and Fc2 are critical crack strengths of control alder and heat-treated alder corner joints in N. D and M are the diameter of the dowel hole in mm and moisture content in percentage.

3.4.2. Ultimate Strength (Fu)

Figure 8 shows the correlations of Fu with MCD and DDH. By contrast with Fc, the trend of maximum Fu in OCJs made of control alder was different from those made of heat-treated alder and Fc. The specific relationships between Fu, MCD, and DDH of control alder and heat-treated alder were Equations (3) and (4), respectively.
F u 1 = 101130 23933 D 8617 M + 1958 D M + 1425.7 D 2 + 65.5 M 2 110.4 D 2 M 7.9 D M 2       R 2 = 0.799
F u 2 = 17677 D + 57948 M 1587.7 D M 1125.8 D 2 + 88 M 2 + 108.5 D 2 M 11.3 D M 2 6854.9       R 2 = 0.94
where Fu1 and Fu2 are the ultimate strengths of OCJs made of alder and heat-treated alder in N. D and M are the diameter of the dowel hole in mm and the moisture content of the dowel in percentage, respectively.
The above analysis suggested that the optimal parameters of OCJ made of alder and heat-treated alder were nearly the same for Fc. However, the optimal parameters of OCJs for Fu varied from MT and were different from those of Fc, which indicated that Fc was a more stable indicator to evaluate the crack load resistance of OCJs.

3.5. Secondary Optimization of Oblique Corner Joints

In order to further improve the crack load resistance of the OCJ. We tried to use double dowels to construct the samples, and the effect of distance between two dowels (DTD) and material type (MT) was investigated experimentally. Figure 9 shows the layouts of two dowels in the OCJs with DTDs of 22 mm, 27 mm, and 32 mm. Meanwhile, OCJs constructed with a single dowel and without a dowel were also tested for comparison. According to the preliminary optimization result of Fc, the optimal parameters applied in secondary optimization were that DDH was 7.8 mm, the MCD of the dowel was nearly 12%, and the glue applied was PVAc.
Table 5 shows that the DTD has a significant effect on Fc and Fu, but the effect of MT and the interaction of DTD × MT are not significant at the 5% significance level. Therefore, further comparisons of Fc and Fu of the OCJs with different DTDs were conducted.
Table 6 summarizes the mean values of Fc for OCJs constructed without a dowel, with a single dowel, and with double dowels with different DTDs. It can be found that the Fc of OCJs constructed by double dowels was significantly greater than those of single dowels, followed by those without dowels, regardless of MT. Meanwhile, the Fc of OCJs constructed with double dowels with a distance of 27 mm was greater than that of OCJs constructed with DTDs of 22 mm and 32 mm.
Table 7 summarizes the mean values of Fu of OCJs constructed without a dowel, with a single dowel, and with double dowels with different DTDs, which suggests that the OCJs constructed with double dowels with a DTD of 27 mm were significantly greater than those of others. Figure 10 shows the typical failure modes of the OCJs assembled with different numbers of dowels, which further validates that the double dowel can improve the Fc and Fu of OCJs [22,23].

4. Conclusions

This study focused on the oblique corner joint (OCJ) cracks in wood furniture door products. The effects of the selected factors on the strength of the OCJ were investigated and optimized. The following conclusions were drawn:
(1)
Two typical mechanical behaviors of OCJs were characterized through camera tracking and mechanical analysis of the load-displacement curve, and their corresponding failure modes were observed.
(2)
The critical crack strength, Fc, defined in this study was a better indicator to evaluate the crack load resistance of the OCJ since it is more sensitive to the crack load resistance and stable than the ultimate strength, Fu, of the OCJ.
(3)
The analysis of variance results showed the diameter of the dowel hole (DDH) had a significant effect on Fc, and there were interaction effects on factors evaluated on Fc and Fu of OCJs. Samples made of control alder performed better than heat-treated alder on both Fc and Fu of OCJs.
(4)
Optimal parameters for constructing the OCJs were obtained and indicated that the OCJ should be made of control alder constructed by double dowels with a distance of 27 mm and that the moisture content of the dowel should be higher than that of the base material.

Author Contributions

Conceptualization, W.-G.H., B.T. and C.W.; methodology, W.-G.H.; software, M.L.; validation, M.L. and M.H.; formal analysis, W.-G.H.; investigation, M.L. and M.H.; resources, W.-G.H.; data curation, M.L.; writing—original draft preparation, W.-G.H. and M.L.; writing—review and editing, W.-G.H., B.T. and C.W.; supervision, W.-G.H.; funding acquisition, W.-G.H. All authors have read and agreed to the published version of the manuscript.

Funding

This work was partially supported by the Scientific Research Foundation of Metasequoia Teacher (163104060) and partially supported by a project from the International Cooperation Joint Laboratory for Production, Education, Research, and Application of Ecological Health Care on Home Furnishing.

Institutional Review Board Statement

Not applicable.

Informed Consent Statement

Not applicable.

Data Availability Statement

The data are not publicly available due to restrictions on privacy.

Acknowledgments

The authors would like to thank MACIO Hone Co., Ltd. for providing materials and testing machines.

Conflicts of Interest

The authors declare no conflict of interest.

References

  1. Toumpanaki, E.; Shah, D.U.; Eichhorn, S.J. Beyond what meets the eye: Imaging and imagining wood mechanical–structural properties. Adv. Mater. 2021, 33, 2001613. [Google Scholar] [CrossRef] [PubMed]
  2. Wang, J.; Wu, X.; Wang, Y.; Zhao, W.; Zhao, Y.; Zhou, M.; Wu, Y.; Ji, G. Green, sustainable architectural bamboo with high light transmission and excellent electromagnetic shielding as a candidate for energy-saving buildings. Nano-Micro Lett. 2023, 15, 11. [Google Scholar] [CrossRef] [PubMed]
  3. Tu, X.; Liu, X.; Varodi, A.M. Characterization and identification of wooden rice bucket made in 1860s. BioResources 2022, 17, 6511–6520. [Google Scholar] [CrossRef]
  4. Silvana, P.; Hrovatin, J.; Berginc, J.; Sernek, M.; Zupančič, A.; Leon, O.; Medved, S. Strength comparison of joints at window frames. Drewno 2014, 56, 127–135. [Google Scholar] [CrossRef]
  5. Niu, X.; Huang, T. Research on backrest modeling of Ming-style furniture with full carving using technology of eye tracking. J. For. Eng. 2022, 7, 200–206. [Google Scholar] [CrossRef]
  6. Kasal, A.; Smardzewski, J.; Kuşkun, T.; Erdil, Y. Numerical analyses of various sizes of mortise and tenon furniture joints. BioResources 2016, 11, 6836–6853. [Google Scholar] [CrossRef]
  7. Tang, L.; Lu, L.; Guan, H. Modern optimized design and anti-bending property of traditional corner joints. J. For. Eng. 2022, 7, 166–173. [Google Scholar] [CrossRef]
  8. Zhu, Z.; Buck, D.; Wang, J.; Wu, Z.; Xu, W.; Guo, X. Machinability of different wood-plastic composites during peripheral milling. Materials 2022, 15, 1303. [Google Scholar] [CrossRef]
  9. Han, Y.; Yan, X. Effect of silane coupling agent modification on properties of brass powder-water-based acrylic coating on tilia europaea. Polymers 2023, 15, 396. [Google Scholar] [CrossRef]
  10. Li, W.; Yan, X. Effects of shellac self-repairing and carbonyl iron powder microcapsules on the properties of dulux waterborne coatings on wood. Polymers 2023, 15, 2016. [Google Scholar] [CrossRef]
  11. Pan, P.; Yan, X. Preparation of Antibacterial Nanosilver Solution Microcapsules and Their Impact on the Performance of Andoung Wood Surface Coating. Polymers 2023, 15, 1722. [Google Scholar] [CrossRef] [PubMed]
  12. Song, M.; Buck, D.; Yu, Y.; Du, X.; Guo, X.; Wang, J.; Zhu, Z. Effects of tool tooth number and cutting parameters on milling performance for bamboo-plastic composite. Forests 2023, 14, 433. [Google Scholar] [CrossRef]
  13. Zhao, Z.; Zhang, X.; Lin, Q.; Zhu, N.; Gui, C.; Yong, Q. Development and investigation of a two-component adhesive composed of soybean flour and sugar solution for plywood manufacturing. Wood Mater. Sci. Eng. 2022, 17, 2086067. [Google Scholar] [CrossRef]
  14. Huang, N.; Yan, X. Preparation of aloe-emodin microcapsules and its effect on antibacterial and optical properties of water-based coating. Polymers 2023, 15, 1728. [Google Scholar] [CrossRef]
  15. Yang, Y.; Xu, W.; Liu, X.; Wang, X. Study on permeability of Cunninghamia Lanceolata based on steam treatment and freeze treatment. Wood Res.-Slovak 2021, 66, 721–731. [Google Scholar] [CrossRef]
  16. Liu, H.; Li, Z.; Zhang, X.; Tang, B.; Wan, C.; Wang, K. The effect of different moderate thermal modification durations on the wood properties of American Alder. Materials 2022, 15, 8839. [Google Scholar] [CrossRef]
  17. Cai, C.; Zhou, F. Sorption characteristic of thermally modified wood at varying relative humidity. Forests 2022, 13, 1687. [Google Scholar] [CrossRef]
  18. Lin, Q.; Zhang, X.; Zhu, N.; Kusumah, S.; Umemura, K.; Zhao, Z. Preparation and investigation of an eco-friendly plywood adhesive composed of sucrose and ammonium polyphosphate. Wood Mater. Sci. Eng. 2022, 17, 2121176. [Google Scholar] [CrossRef]
  19. Kasal, A.; Eckelman, C.A.; Haviarova, E.; Erdil, T.Z.; Yalcin, I. Bending moment capacities of L-shaped mortise and tenon joints under compression and tension loadings. BioResources 2015, 10, 7009–7020. [Google Scholar] [CrossRef]
  20. Gan, S.; Pan, W.; Su, H.; Jin, Y.; Zhu, C.; Yu, S. Experimental study and numerical simulation analysis on reinforcement of mortise-tenon joints with flat steel strips. Adv. Civ. Eng. 2023, 3, 5398662. [Google Scholar] [CrossRef]
  21. Miao, Y.; Pan, S.; Xu, W. Staple holding strength of furniture frame joints constructed of plywood and solid wood. Forests 2022, 13, 2006. [Google Scholar] [CrossRef]
  22. Bedelean, B.I.; Neculaes, I.; Spirchez, C.G.; Racasan, S. The influence of the number and position of dowels on the bending moment capacity of heat-treated wood dowel joints. Bull. Transilv. Univ. Brasov. Ser. II For. Wood Ind. Agric. Food Eng. 2021, 14, 67–76. [Google Scholar] [CrossRef]
  23. Georgescu, S.; Varodi, A.M.; Racasan, S.; Bedelean, B. Effect of the dowel length, dowel diameter, and adhesive consumption on bending moment capacity of heat-treated wood dowel joints. BioResources 2019, 14, 6619–6632. [Google Scholar] [CrossRef]
  24. Sergiu, R.; Bedelean, B.; Georgescu, S.V.; Varodi, A.M. Comparison between artificial neural networks and response surface methodology to predict the bending moment capacity of heat-treated wood dowel joints. BioResources 2020, 15, 5764–5775. [Google Scholar] [CrossRef]
  25. Tankut, N.; Tankut, A.N.; Zor, M. Mechanical properties of heat-treated wooden material utilized in the construction of outdoor sitting furniture. Turk. J. Agric. For. 2014, 38, 148–158. [Google Scholar] [CrossRef]
  26. Diler, H.; Acar, M.; Engin Demirci, B.S.; Erdil, Y.Z. Withdrawal force capacity of T-type furniture joints constructed from various heat-treated wood species. BioResources 2017, 12, 7466–7478. [Google Scholar] [CrossRef]
  27. Yang, S.; Fu, Y.; Yan, T.; Chen, Y. Effect of high temperature heat-treatment on the chemical properties of Swietenia macrophylla. J. For. Eng. 2021, 6, 120–125. [Google Scholar] [CrossRef]
  28. Demirei, S.; Er, R.S. Evaluation and comparison of control and heat treated L-shape furniture joints produced from Scotch pine and ash wood under static bending and cyclic fatigue bending loadings. Maderas-Cienc. Tecnol. 2022, 24, 1–14. [Google Scholar] [CrossRef]
  29. Kuzman, M.K.; Kutnar, A.; Ayrilmis, N.; Kariz, M. Effect of heat treatment on mechanical properties of selected wood joints. Eur. J. Wood Wood Prod. 2015, 73, 689–691. [Google Scholar] [CrossRef]
  30. ASTM D 4442–92; Test Methods for Direct Moisture Content Measurement of Wood and Wood-Based Materials. ASTM International: West Conshohocken, PA, USA, 2020. Available online: https://www.astm.org/d4442-20.html (accessed on 2 April 2022).
  31. ASTM D 2395–93; Standard Test Methods for Specific Gravity of Wood and Wood-Based Materials. ASTM International: West Conshohocken, PA, USA, 2022. Available online: https://www.astm.org/d2395-17r22.html (accessed on 2 April 2022).
  32. Bayraktar, S.; Pelit, H. Determination of density and bending strength of heat-treated material types with different methods. Orman. Araştırma Derg. 2022, 9, 355–362. [Google Scholar] [CrossRef]
Figure 1. Typical jointing methods for corner joints for wood furniture doors are: straight (a), oblique (b), combination of straight and diagonal (c), and typical failure modes of corner joints (d).
Figure 1. Typical jointing methods for corner joints for wood furniture doors are: straight (a), oblique (b), combination of straight and diagonal (c), and typical failure modes of corner joints (d).
Forests 14 01149 g001
Figure 2. Procedure for preparing a sample: members of the door (a), constructing method (b), wood furniture door frame (c), corner joint of the door (d).
Figure 2. Procedure for preparing a sample: members of the door (a), constructing method (b), wood furniture door frame (c), corner joint of the door (d).
Forests 14 01149 g002
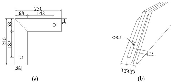
Figure 3. Dimensions of samples: (a) L-shape sample; (b) male and female tenon.
Figure 3. Dimensions of samples: (a) L-shape sample; (b) male and female tenon.
Forests 14 01149 g003
Figure 4. Setup for measuring the diagonal tensile strength of the oblique corner joint.
Figure 4. Setup for measuring the diagonal tensile strength of the oblique corner joint.
Forests 14 01149 g004
Figure 5. Load-displacement curves of all tested oblique corner joint samples.
Figure 5. Load-displacement curves of all tested oblique corner joint samples.
Forests 14 01149 g005
Figure 6. Typical load and displacement curves of the oblique corner joint: Mode A (a) and Mode B (b) and their corresponding failure processes at critical points: (a1,b1) correspond to critical crack strength, Fc; (a2,b2) correspond to ultimate strengths, Fu; and (a3,b3) were complete failure modes of joints.
Figure 6. Typical load and displacement curves of the oblique corner joint: Mode A (a) and Mode B (b) and their corresponding failure processes at critical points: (a1,b1) correspond to critical crack strength, Fc; (a2,b2) correspond to ultimate strengths, Fu; and (a3,b3) were complete failure modes of joints.
Forests 14 01149 g006
Figure 7. Correlations of critical crack strength of alder (a) and heat-treated alder (b) relating to moisture content of the dowel and diameter of the dowel hole.
Figure 7. Correlations of critical crack strength of alder (a) and heat-treated alder (b) relating to moisture content of the dowel and diameter of the dowel hole.
Forests 14 01149 g007
Figure 8. Correlations of the ultimate strength of alder (a) and heat-treated alder (b) relating to moisture content and the diameter of the dowel hole.
Figure 8. Correlations of the ultimate strength of alder (a) and heat-treated alder (b) relating to moisture content and the diameter of the dowel hole.
Forests 14 01149 g008
Figure 9. Configurations of oblique corner joints constructed by double dowels with different distances: 22 mm (a), 27 mm (b), and 32 mm (c).
Figure 9. Configurations of oblique corner joints constructed by double dowels with different distances: 22 mm (a), 27 mm (b), and 32 mm (c).
Forests 14 01149 g009
Figure 10. Failure modes of an oblique corner joint constructed without a dowel (a), with a single dowel (b), and with double dowels (c).
Figure 10. Failure modes of an oblique corner joint constructed without a dowel (a), with a single dowel (b), and with double dowels (c).
Forests 14 01149 g010
Table 1. Density and moisture content of wood evaluated in this study.
Table 1. Density and moisture content of wood evaluated in this study.
Material TypeDensity (g/cm3)MC %
Control0.74 (2.5)9.69 (2.4)
Heat-treated0.68 (5.5)9.22 (2.7)
Note: The values in parenthesis are COV in percentage.
Table 2. Summaries of ANOVA results for critical crack strength and ultimate strength of oblique corner joints constructed by one dowel through a generalized linear model on three factors.
Table 2. Summaries of ANOVA results for critical crack strength and ultimate strength of oblique corner joints constructed by one dowel through a generalized linear model on three factors.
Factorp-Value
FcFu
MCD0.2980.529
MT 0.3000.177
DDH<0.001 *0.499
MCD × MT0.012 *0.009 *
MCD × DDH0.003 *0.116
MT × DDH0.2990.021 *
MCD × MT × DDH0.4600.160
* means the factor has significant effects at the 5% significance level.
Table 3. Summaries of critical crack strength (Fc) of oblique corner joints and their comparisons for diameter of dowel hole within each combination of material type and moisture content.
Table 3. Summaries of critical crack strength (Fc) of oblique corner joints and their comparisons for diameter of dowel hole within each combination of material type and moisture content.
Material TypeMCD (%)Fc (N)
8.5 mm8 mm7.8 mm
Control6.72681.8(7.0)Aa692.9(9.4)Aa695.1(14.2)Ab
8.45662.5(8.4)ABa725.3(8.8)Aa687.5(16.6)Ab
12.02704.1(14.7)Ba698.7(11.9)Ba811.6(9.1)Aa
Heat-treated6.72687.0(8.3)Aa721.7(14.9)Aa721.4(17.2)Ab
8.45728.6(10.5)ABa711.7(10.1)Ba786.9(12.1)Aab
12.02659.3(14.3)Bb688.4(17.3)Ba794.3(10.8)Aa
Note: The mean values in the same row not followed by a common upper-case letter are significantly different from one another at the 5% significance level. The mean values in the same column not followed by a common lower-case letter are significantly different from one another at the 5% significance level. The values in the parenthesis are coefficients of variance (COV).
Table 4. Summary of ultimate strength (Fu) of oblique corner joints and their comparisons for diameter of dowel hole within each combination of material type and moisture content.
Table 4. Summary of ultimate strength (Fu) of oblique corner joints and their comparisons for diameter of dowel hole within each combination of material type and moisture content.
Material TypeMCD (%)Fu (N)
8.5 mm8 mm7.8 mm
Control6.72947.6(5.5)Aab850.3(9.4)Bb966.7(6.4)Aa
8.45972.0(11.3)Aab933.0(12.5)ABa901.6(9.9)Ba
12.021011.4(10.3)Aa952.3(10.0)Aa974.6(9.2)Aa
Heat-treated6.72924.8(11.5)Abc948.3(8.6)Aa916.5(12.2)Aa
8.45957.2(12.8)Aab973.2(12.5)Aa916.3(11.9)Aa
12.02858.1(17.2)Bc898.8(13.2)ABab953.0(9.7)Aa
Note: The mean values in the same row not followed by a common upper-case letter are significantly different from one another at the 5% significance level. The mean values in the same column not followed by a common lower-case letter are significantly different from one another at the 5% significance level. The values in the parenthesis are coefficients of variance (COV).
Table 5. Summaries of ANOVA results for critical crack strength and ultimate strength of oblique corner joints constructed by two dowels through a generalized linear model on two factors.
Table 5. Summaries of ANOVA results for critical crack strength and ultimate strength of oblique corner joints constructed by two dowels through a generalized linear model on two factors.
FactorFcFu
F-Valuep-ValueF-Valuep-Value
DTD4.030.012 *41.53<0.001 *
MT1.540.222.930.09
DTD × MT0.980.4081.370.26
* means the factor has significant effects at the 5% significance level.
Table 6. Mean comparisons of critical crack strength (Fc) of an oblique corner joint constructed without a dowel, with a single dowel, and with double dowels with different distances.
Table 6. Mean comparisons of critical crack strength (Fc) of an oblique corner joint constructed without a dowel, with a single dowel, and with double dowels with different distances.
Material TypeWithout DowelSingle DowelDistance between Double Dowel (mm)
222732
Control595.4(10.8)C635(8.0)B724(9.0)A771(9.1)A743(6.3)A
Heat-treated601.6(16.7)C718(13.6)B745(10.8)AB783(14.4)A730(5.9)AB
Note: The values in the same row not followed by a common letter are significantly different from one another at the 5% significance level. The values in parentheses are the coefficients of variance.
Table 7. Mean comparison of ultimate strength (Fu) of corner joints constructed by single dowel and double dowels with different distances.
Table 7. Mean comparison of ultimate strength (Fu) of corner joints constructed by single dowel and double dowels with different distances.
Material TypeWithout DowelSingle DowelDistance between Double Dowel (mm)
222732
Control595.4(10.8)C635(8.0)B724(9.0)A771(9.1)A743(6.3)A
Heat-treated601.6(16.7)C718(13.6)B745(10.8)AB783(14.4)A730(5.9)AB
Note: The values in the same row not followed by a common letter are significantly different from one another at the 5% significance level. The values in the parenthesis are coefficients of variance (COV).
Disclaimer/Publisher’s Note: The statements, opinions and data contained in all publications are solely those of the individual author(s) and contributor(s) and not of MDPI and/or the editor(s). MDPI and/or the editor(s) disclaim responsibility for any injury to people or property resulting from any ideas, methods, instructions or products referred to in the content.

Share and Cite

MDPI and ACS Style

Hu, W.-G.; Luo, M.; Hao, M.; Tang, B.; Wan, C. Study on the Effects of Selected Factors on the Diagonal Tensile Strength of Oblique Corner Furniture Joints Constructed by Wood Dowel. Forests 2023, 14, 1149. https://doi.org/10.3390/f14061149

AMA Style

Hu W-G, Luo M, Hao M, Tang B, Wan C. Study on the Effects of Selected Factors on the Diagonal Tensile Strength of Oblique Corner Furniture Joints Constructed by Wood Dowel. Forests. 2023; 14(6):1149. https://doi.org/10.3390/f14061149

Chicago/Turabian Style

Hu, Wen-Gang, Mengyao Luo, Miaomiao Hao, Bin Tang, and Chuan Wan. 2023. "Study on the Effects of Selected Factors on the Diagonal Tensile Strength of Oblique Corner Furniture Joints Constructed by Wood Dowel" Forests 14, no. 6: 1149. https://doi.org/10.3390/f14061149

APA Style

Hu, W.-G., Luo, M., Hao, M., Tang, B., & Wan, C. (2023). Study on the Effects of Selected Factors on the Diagonal Tensile Strength of Oblique Corner Furniture Joints Constructed by Wood Dowel. Forests, 14(6), 1149. https://doi.org/10.3390/f14061149

Note that from the first issue of 2016, this journal uses article numbers instead of page numbers. See further details here.

Article Metrics

Back to TopTop