Next Article in Journal
Ecosystem Service Benefits and Trade-Offs—Selecting Tree Species in Denmark for Bioenergy Production
Previous Article in Journal
Groundwater Depth Overrides Tree-Species Effects on the Structure of Soil Microbial Communities Involved in Nitrogen Cycling in Plantation Forests
 
 
Font Type:
Arial Georgia Verdana
Font Size:
Aa Aa Aa
Line Spacing:
Column Width:
Background:
Article

Analysis and Laboratory Testing of Technical Injury Prevention Measures for Portable Combustion Chainsaws

by
Andrzej Dąbrowski
Department of Safety Engineering, Central Institute for Labour Protection—National Research Institute, Czerniakowska Str. 16, 00-701 Warsaw, Poland
Forests 2020, 11(3), 276; https://doi.org/10.3390/f11030276
Submission received: 23 January 2020 / Revised: 21 February 2020 / Accepted: 26 February 2020 / Published: 28 February 2020
(This article belongs to the Section Wood Science and Forest Products)

Abstract

Portable chainsaws for cutting wood, like other handheld machines, are commonly used for mechanical work. Portable combustion chainsaws are still used in many countries, including Poland, as basic wood harvesting machines and in agriculture. The use of portable chainsaws, however, poses a high risk of injury, especially with the phenomenon of kickback. Important European documents (e.g., 2006/42/EC) qualify these machines as a specific group, and assessing them for compliance with the essential applicable requirements (before placing them on the market) can be done with the participation of a third party (notified body). In Poland, only employees with appropriate training are allowed to work with chainsaws for professional wood harvesting. This paper presents the results of an analysis of the hazards posed by portable combustion chainsaws. A practical assessment was conducted of the effectiveness of the most relevant technical solutions used to protect operators from injury. Reference is made to tests on chainsaws that were carried out as part of scientific research (described in previous publications) and as part of research commissioned by market surveillance authorities operating in Poland. The presented research results show that the risk of injury caused by the use of chainsaws is influenced not only by the design features of the machines but also by their proper use, including the selection of equipment appropriate to the working conditions (e.g., wood type and properties, use of chainsaws for professional or non-professional work).

1. Introduction

Portable chainsaws for cutting wood, like other handheld machines, are commonly used for mechanical work. Their portability ensures that they can be used in a variety of places. Portable combustion chainsaws are still used in many countries, including Poland, as basic wood harvesting machines and in agriculture [1,2]. Other types of engines can also be used (e.g., electric, including battery-operated, or pneumatic). However, the low power of the engine and/or the need for a connecting cable to the power source make them less suitable. There are many handheld chainsaws available on the market, which are intended for both professionals and non-professionals.
The use of portable chainsaws, however, poses a high risk of injury. Important European documents [3,4] qualify these machines as a specific group, and assessing them for compliance with the essential applicable requirements (before placing them on the market) can be done with the participation of a third party (notified body). In Poland, only employees with appropriate training are allowed to work with chainsaws for professional wood harvesting [5], and operators of chainsaws in the construction industry should undergo special training and must pass a test [6]. A handheld chainsaw is always close to the operator, which means that its moving and unprotected work tool (saw chain) can easily reach a position where it comes into contact with the operator’s body. Under the assumption, according to CEN (European Committee for Standardization) [7], that the saw chain can run even at a speed of 28 m/s on the guide bar, a calculation can be made that characterizes the risk posed by contact with the tool. A typical saw chain, which the chain is equipped with, has a chain pitch t of 3/8 inch (9.5 mm) (Figure 1).
The length of a standard cutting section in a saw chain with two cutting links is ts = 8 t, i.e., 76 mm. This means that there can be 26 cutting links on one metre of a saw chain. Therefore, during a one-second contact with the saw chain, up to 700 cutting links can penetrate the human body. Injuries caused by contact with the saw chain can therefore be extensive and severe, and often can even be fatal for the injured party [8,9]. According to US data, various chainsaw users suffer injuries caused by saw chains, including woodcutters, forest nursery workers, and other professional users of these machines, as well as those who use chainsaws in households. In the USA, there are between 40,000 and 90,000 chainsaw accidents per year, including 40 to 60 fatal accidents [10]. In Poland in 2015 and 2016, there were 687 and 694 accidents involving the use of portable chainsaws in agriculture, which accounted for 3.8% and 4% of the total number of accidents in this sector of the economy, respectively. The most accidents were caused by contact with the moving chain saw (about 50%) [11]. The high severity of chainsaw injuries is evidenced by the fact that an average wound caused by such an accident requires the injured person to have about 110 stitches [1].
Chainsaw kickback poses a particularly high risk of injury. This dangerous phenomenon [12,13] can occur when the top of the guide bar tip hits a hard object, causing the saw chain to suddenly slow down or stop moving on the guide bar. As a result, the energy lost by the saw chain is transferred to the chainsaw and the guide bar moves toward the operator in an uncontrolled and sudden manner in tenths of a second [14,15]. The results of research and analysis also indicate the influence of changes in wood properties on this phenomenon when working with a chainsaw in an open area. Changes in the properties of wood are related to species, humidity, temperature, the facing angle of the wood fibres in relation to the kerf, and the shape of the wood surface that comes into contact with the tip of the guide bar [16].
For the portable combustion chainsaws discussed in this paper, manufacturers, in accordance with the adopted normative standards [17], use a number of technical solutions aimed at limiting the dynamics of chainsaw kickback or mitigating possible injuries caused by contact of the operator’s body with the moving saw chain. Some of the solutions also improve the ergonomics of these machines, which having a positive impact on the safety of their operation [18]. Manufacturers also strive, while maintaining safety requirements, to ensure the appropriate performance of machines, which is particularly important in the professional use of combustion chainsaws for forest harvesting [19,20,21]. It should also be mentioned that regardless of the technical changes made by manufacturers to the chainsaws themselves [22], various innovative tools (developed by manufacturers or research institutes) are employed, which may help to promote and consolidate safe working habits among the operators of these machines, for example with the use of virtual reality [23,24,25].
A literature review has shown the need for a new comprehensive analysis of injury hazards associated with the use of portable combustion chainsaws. The aim is to assess the effectiveness of the most relevant technical solutions currently used in portable combustion chainsaws to protect operators from injury. Consideration of the sources and potential consequences of the risks involved is also of crucial importance.
The analysis takes into account the requirements of Directive 2006/42/EC, as well as standards [26,27]. In order to have practical reference to the functioning and effectiveness of the technical solutions applied by manufacturers, it was necessary to include tests of chainsaws carried out as part of scientific research and within the framework of research commissioned between 2014 and 2017 by the laboratory of the Central Institute for Labour Protection—National Research Institute by market surveillance authorities operating in Poland. Therefore, this paper is addressed to both manufacturers and users of these machines.

2. Materials and Methods

2.1. Research Test Stands

The research used mainly test stands for saw chain kickback and braking in accordance with standards [13,27], as well as other stands designed and built at the Central Institute for Labour Protection—National Research Institute (CIOP-PIB) for testing in accordance with normative requirements [16,17,28]. A computer program was used to simulate chain saw motion and calculate kickback angle (Figure 2).
The program simulates the linear displacement and rotation of chainsaws: the chainsaw rotates around its centre of gravity and its centre of gravity moves horizontally and vertically (Figure 3).

2.2. Chainsaws with Equipment

The analysis took into account studies concerning different models of chainsaws with basic parameters presented in Table 1.
In the course of scientific research [14,16], saw chains with different technical parameters (inclination angle of cutting edges, lowering of depth gauge, blunting of cutting blades) and guide bars (length and type of tips) were used. During the tests commissioned by the market surveillance authorities, the chainsaws were configured according to the manufacturer’s specifications.

2.3. Test Methods

In the course of testing chainsaw kickback [14], methods according to [13] were used (including the statistical requirements). Other injury protection tests were carried out in accordance with the standards [17] on stands built in CIOP-PIB laboratories. Basic stands for kickback testing are presented in Figure 4.
The essential requirements of Directive 2006/42/EC applicable to portable combustion chainsaws were defined, the results of the tests carried out in accordance with the requirements of the standards harmonized with this Directive [17,26] were taken into account, and the sources of hazards and their potential effects, in the form of incidents leading to injuries, were identified. The technical solutions adopted by the manufacturers of the tested machines were evaluated. For these solutions, actions that should be taken by users in order to maintain the effectiveness of injury protection were identified, as well as in relation to changing outdoor working conditions, e.g., changing properties of wood (softwood and hardwood, different surface shapes, different humidity, and temperature of wood).
The maximum calculated final uncertainty of the kickback angle was ±2°. For this purpose, 30 parameters (input quantities) whose component uncertainties could affect this value were considered.

2.4. Wood Materials

Standardised samples made of fibreboard [14] with the following parameters were used to test the saw: dimensions: 38 × 38 × 250 mm; density: 732 kg/m3 ± 32 kg/m3; saw chain specific cutting resistance: 40 MPa (determined under laboratory conditions). Samples made of different types of wood and with different properties were also used for the tests.

3. Results and Discussion

When discussing the results of the tests, the relevant provisions on injury protection in the harmonized standard [17] are taken into account and refer to the essential requirements described in Annex 1 to Directive 2006/42/EC and applicable to portable combustion chainsaws. The required actions by operators to reduce the risk of injury (especially in the case of kickback) are also addressed.

3.1. Front Hand Guards in Chainsaws

The front hand guard of the saw (brake lever) should significantly reduce the risk that the operator’s hand holding the front handle will come into contact with the saw chain. It is essential that both before and after releasing (activating) the hand brake, the minimum effective width of the front handle guard is maintained [29]. In some chainsaws available on the Polish market, this requirement was not met, i.e., the front guard did not cover the front handle, or its effective width was smaller than required (Figure 5).
The second requirement that chainsaw manufacturers have not always met is restricting access to the saw chain through openings under or inside the front guard. The chainsaws tested did not have the minimum dimensions of the front guard openings and the clearance between the lowest front guard edge and the closest part of the chainsaw body (Figure 6).
Conversely, there were no incompatibilities regarding the dimensions of the rear guard, which is used in a chainsaw to protect the hand against a saw chain falling or derailing from the guide bar (which can reach the right hand of the operator). The right choice of materials for both guards (front and rear) enabled them to meet the requirements for impact resistance (also at low temperatures).

3.2. Chainsaw Handles

It is particularly important to ensure that the operator, with hands resting on the handles, can control the machine as easily as possible and keep it in its working position. During tests of chainsaws commissioned by the market surveillance authorities of CIOP-PIB, it was found that not all chainsaw handles passed the static load test and could break or become permanently deformed. These nonconformities were mainly due to the poor quality of the front handle material (Figure 7).
The rear chainsaw handles had the appropriate mechanical strength required by the standards [30].

3.3. Protection against Injuries Caused by Chainsaw Kickback

The phenomenon of kickback [14] can occur only when the cutting link (at the tip of the guide bar) comes into contact with the wood and the saw chain is braked violently. Protection against chainsaw kickback is a complex technical problem. To provide this protection, a number of normative requirements [17] must be met for chain brake performance and kickback angle limitation. The research on this matter is also complex [14] because, apart from the kickback test stand, other test stands are used, e.g., for testing the moment of inertia of chainsaws [1] or saw chain braking time [27]. Tests of the stopping time of the saw chain, activated by displacement of the front guard (brake lever), showed that the stopping mechanism was working properly and that the average and maximum stopping time of the saw chain did not exceed the permitted normative values of 0.12 and 0.15 s, respectively. In the event of kickback, braking of the saw chain occurs somewhat ‘automatically’ because turning the chainsaw towards the operator causes the hand (on the front handle) to come into contact with the front guard and move the front guard forward (Figure 8).
The standard permitted kickback angle or saw chain stopping angle of 45° ensures that the guide bar does not come into contact with the operator’s body if this phenomenon occurs during the cross-cutting of wood. The maximum stopping time (0.15 s) causes the saw chain to stop at a lower angle than the kickback angle, thus further reducing the risk of saw chain contact with the operator’s body (Figure 9).
In terms of protection against kickback injury, the tested chainsaws and the equipment supplied by the manufacturer met the normative requirements concerning the kickback angle and stopping time of the saw chain.
However, it is important for the safety of users that they follow the guidelines for the selection of chainsaws (different engine capacities), guide bar lengths, and saw chain types for different jobs. By testing various combinations of chainsaws and cutting unit components [1], significantly different kickback angles were obtained (Figure 10) using standardised kickback samples made of fiberboard (tests were performed with the chain brake disengaged).
For this reason, users should ensure that the saw chain is properly sharpened. The way the saw chain cutting links come into contact with wood (in order to obtain the desired chip size or to reduce the risk of kickback) depends on many factors, such as the angles of the cutting link blades, the radii of the cutting link blade connections (chisel and semi-chisel links), the use of anti-kickback links or the shape and lowering of the depth gauge. In order to reduce the risk of kickback, it is also important (in consultation with the chainsaw manufacturer) to choose saw chains for cutting wood with different properties. Significant differences in the kickback angle were observed during tests in which the parameters were changed: the shape of the surface in contact with the saw chain (flat or cylindrical), the humidity (20% to 60%) and temperature of the sawed wood (−10 °C to 20 °C), the type of wood (pine, spruce, oak, beech) and the orientation of wood fibres in relation to the kerf. During tests with a chainsaw with a 56 cm3 engine capacity and equipped with a 600 mm long sprocket nose guide bar, differences in the kickback angle from 4° to 54° were obtained [16].
Activation of the brake by displacement of the front guard is effective in the case of wood cross-cutting operation. However, it does not provide sufficient protection for the operator in the case of other operations—e.g., wood harvesting—because the angular path of the guide bar from the surface of the tree to the operator’s body (e.g., legs) may be less than 45°. Furthermore, the way the chainsaw is held by the front handle makes it impossible to manually activate the brake due to the way the front handle is held (Figure 11).
For this reason, manufacturers have introduced new technical solutions enabling activation of the brake by means of other chainsaw control elements, namely by shifting an additional lever (Figure 12a) or by releasing the throttle lock (Figure 12b) on the rear handle.
Tests of the manually operated (in different ways) chain brake showed that it met the requirements for maximum activation time and ergonomics. However, regardless of the technical solutions that may be applied to a chainsaw, it is extremely important for the operator to check all available means of activating the brake before using the machine in order to ensure his/her safety. Tests of chainsaws have shown that a functional brake activated by manually shifting the front guard significantly reduces the kickback angle (Figure 13).
A typical technical solution used in chainsaws is activation of the brake as a result of inertia forces caused by the acceleration of the guide bar tip after a kickback has occurred. The requirements for brake parameters in the event of brake activation due to acceleration of the guide bar tip are contained in the standards [31]. This document defines the acceleration of the guide bar tip in the direction of the x- and y-axes. Due to the engine capacity of the tested chainsaws, the requirements of the standard for chainsaws with engine capacity greater than 40 cm3 were considered (Figure 14).
The correct operation of manual brake activation depends on the manufacturer’s selection of the characteristics of the spring element releasing the brake, as well as the mass of the front guard (brake lever) and the technical condition of the above-mentioned factors (monitored by the user). Some of the chainsaws tested at CIOP-PIB did not meet the normative requirements for brake activation acceleration. In such cases, the ax and ay acceleration were higher than the maximum values.

3.4. Chain Catcher

The chain catcher (Figure 15) is located in the lower front part of the chainsaw body and is intended to stop a saw chain that has fallen or has become derailed from the guide bar. According to the standards [32], the catcher must have adequate resistance to saw chain impact. During a single impact on the catcher with an energy of 7.5 ± 0.3 J, neither the catcher nor its mounting should be fractured or cracked or otherwise damaged. It may only bend during this test.
This component should be positioned as far from the face of the chainsaw body as possible and should protrude from the body wall so that its face is at least 5 mm from the plane of symmetry of the guide bar. CIOP-PIB tests showed that not all chain catchers meet the requirements of the standards. Negative results for this test were obtained when these components were made of plastic and, in accordance with the standards, the impact tests were carried out at a reduced temperature of 25 °C. Improper mounting of these components to the chainsaw body, as well as poor quality material, caused the chain catchers to break off during this test (Figure 16).

3.5. Control Elements

The control elements of the chainsaw should be designed and arranged in such a way as to enable operators to control the machine without causing injury to themselves from accidental movement of the saw chain or from starting the chainsaw. A recurring design error with some chainsaws was the possibility of locking the throttle trigger in a position where the saw chain was moving along the guide bar. This was possible with the use of the throttle lock control element (Figure 12a). In accordance with the normative requirements, the throttle trigger, when released, should automatically return to the idle position, where the saw chain is still and there is no risk of injury (due to contact with the moving saw chain). The possibility of accidental saw chain movement should be minimized by means of appropriate connections of the throttle trigger mechanism to ensure that the force applied to the rear handle, when the throttle lock is engaged, does not increase the engine speed (resulting in clutch engagement and saw chain movement start).

3.6. Comparison of Discussed Characteristics of Chainsaws with the Essential Requirements of Directive 2006/42/EC

The selected comparisons of the discussed and tested chainsaw characteristics meeting the essential requirements of Directive 2006/42/EC are presented in Table 2 primarily for manufacturers, in order to make them aware that by supplying the EU market with portable combustion chainsaws that do not comply with the requirements of the standard [17], they violate the applicable legal document (i.e., the Directive).

3.7. Actions by Chainsaw Operators to Reduce the Risk of Injury Resulting from Contact with a Saw Chain

When analyzing selected technical solutions adopted by manufacturers to protect against injuries, it is also possible to identify important actions by chainsaw operators who, by properly using the machines, can support the effect achieved by manufacturers in reducing the risk to an acceptable level (by applying various technical solutions indicated in the harmonised standards). In other words, it can be concluded that the skills of chainsaw operators are very important in reducing the risks associated with the use of chainsaws.
Operators should pay particular attention to the following actions: (i) avoid cutting with the tip of the bar guide (apart from specialist operations carried out by qualified operators); (ii) look out for obstacles such as branches, stumps, or other objects that can be touched unexpectedly by the guide bar tip; (iii) take special care when cutting with the upper edge of the guide bar (as the risk of kickback increases when the operator resists pushing the chainsaw); (iv) position the body properly in relation to the kerf so as to avoid injuries caused by kickback, e.g., when cutting off branches or cross-cutting wood; (v) avoid jamming the chainsaw in the wood by starting to cut at high engine speed; (vi) carefully release the chainsaw if it is jammed in a cut branch or felled tree or trapped in the kerf; (vii) work with the chainsaw only when it is within easy reach; (vii) observe the principle of using guide bars with lengths appropriate to the type of chainsaw and the type of work performed; (ix) ensure stability and control of the chainsaw when starting it, e.g., by pressing the rear guard against the ground with one’s boot; (x) hold the chainsaw securely with both hands (right on the rear handle and left on the front handle), with fingers spanning both handles; (xi) avoid prohibited practices, such as working with the chainsaw above shoulder height or on a ladder; (xi) conduct maintenance and ongoing monitoring of the technical condition of the machine, in particular the brake, the completeness of the chainsaw (including the chain catcher), the guide bar (including wear and tear of the race), the saw chain (including sharpening and tension), control elements and saw chain lubrication system; and (xii) use appropriate personal protective equipment for the operation of these machines, in particular trousers and protective gloves, protective helmets, and anti-slip boots with reinforced toes (non-compliance with these requirements often results from the relatively high cost of work equipment and protective equipment for chainsaw operators).

4. Conclusions

Testing of portable combustion chainsaws (with a declaration of conformity relating to the involvement of the notified body in the assessment of conformity with the essential requirements) has identified non-compliances in some of these machines available on the Polish market concerning the operation of the inertia brake activation mechanism (also additional kickback protection), geometric dimensions of the front guard, and strength of the front handle, chain catcher, and control elements. Compliance of these parameters with the standards also has the additional effect of reducing the risk of contact with the saw chain, such as appropriate saw chain stopping time and reduced kickback angle. This is not always properly noticed by chainsaw manufacturers and users.
These non-compliances are also in breach of the legal provisions in force in the EU, namely the Machinery Directive, which involves the legal liability of manufacturers and the accompanying adverse consequences.
Compliance with the requirements of the standards [17] for reducing the risk of injuries caused by contact with the saw chain can in some cases only be verified with the use of specialist testing equipment from accredited research laboratories. However, compliance of some characteristics of chainsaws with the applicable requirements can be observed or verified by potential users by means of easy-to-use measuring devices (e.g., for geometric measurements). As a result, users can easily avoid the potential purchase of hazardous machines.
The research results presented here show that the risk of injury caused by the use of chainsaws (in particular due to the occurrence of kickback) is influenced not only by the design features of the machines (depending on the decisions taken by their manufacturers) but also by their proper use. A chainsaw that has a required kickback angle of 45° due to inappropriate selection of equipment (e.g., guide bar, saw) or improper handling (e.g., incorrect sharpening, wrong selection, too low voltage) can achieve a kickback angle much higher than this value.
Therefore, in order to ensure safe operation of the chainsaw, the user should take into account the size of the engine. It should be adapted to the diameter of the most frequently harvested trees, because the more powerful the engine, the greater the risk of kickback. There is therefore no need to harvest small diameter trees with a powerful chainsaw.
Furthermore, the length of the guide bar should also be taken into account: a short guide bar should not be used with a high-power chainsaw. A large engine with a high power output generates a correspondingly large kickback angle when a short guide bar is used.
The correct saw chain type should be selected based on the work to be carried out. To the greatest extent possible, anti-kickback links should be used, especially for tree felling. They offer slightly reduced cutting performance, but generate much lower kickback and are safer for non-professional use.
It is also important to adjust the saw chain tension regularly. This adjustment must be carried out in accordance with the machine’s operating instructions, and care must be taken to maintain the correct tension during use (too low tension causes an abnormally high kickback angle). It is also essential to maintain the efficiency of the chain brake. Regular monitoring of its condition significantly reduces the risk of kickback.
When it comes to selecting chainsaws for a variety of tasks in domestic and work environments, the role of salespeople in shops or at manufacturer service points is also important. If salespeople have up-to-date knowledge, they will be able to provide helpful information to both company representatives and individual persons.
However, it should always be remembered that due to the unprotected saw chain, the risk of injury when using such machines cannot be completely eliminated, but only reduced. The operator may sustain an injury even at a small kickback angle, much smaller than the permitted angle, so great care must also be taken when working with a chainsaw.
Users can choose technical parameters of chainsaws according to the manufacturer’s recommendations. Technical progress in this area has made it possible to do proper selection so that users can maintain safety according to their skills and working conditions.

Funding

This research received no external funding.

Acknowledgments

This paper is based on the results of a research task carried out within the scope of the fifth stage of the National Programme “Improvement of safety and working conditions” partly supported in 2020–2022, within the scope of state services, by the Ministry of Family, Labour and Social Policy. The Central Institute for Labour Protection—National Research Institute is the programme’s main co-ordinator.

Conflicts of Interest

The author declares that there is no conflict of interest regarding the publication of this paper.

References

  1. Dąbrowski, A. Influence of Selected Parameters of the Cutting Unit in Portable Chain Saws on Reduction of Kickback and the Related Injury Hazards. Ph.D. Dissertation, Central Institute for Labour Protection-National Research Institute, Warsaw, Poland, 2008. [Google Scholar]
  2. Gendek, A. Influence of Clutch Parameters on Combustion Chain saw Woodworking Efficiency. Ph.D. Dissertation, Faculty of Production Engineering, Warsaw University of Life Sciences, Warsaw, Poland, 2005. [Google Scholar]
  3. European Commission. Council Directive 2006/42/EC on machinery, and amending Directive 95/16/EC (recast). Off. J. Eur. Communities 2006, 157, 24–86. [Google Scholar]
  4. European Commission, Guide to Application of the Machinery Directive2006/42/EC. European Commission Directorate-General for Internal Market, Industry, Entrepreneurship and SMEs, Edition 2.2; European Commission: Brussels, Belgium, 2019; p. 457. Available online: file:///C:/Documents%20and%20Settings/andab/Moje%20dokumenty/Downloads/Edition%202.2%20of%20the%20MD%20Guide_v.24-10-2019%20(clean)%20(1).pdf (accessed on 23 January 2020).
  5. Minister of the Environment, Regulation 24 August 2006 on Health and Safety at Work in the Performance of Certain Works in the Field of Forest Management. Journal of Laws No. 161, Item 1141, 8186-8188Warsaw, Poland. 2006. Available online: http://prawo.sejm.gov.pl/isap.nsf/download.xsp/WDU20061611141/O/D20061141.pdf (accessed on 23 January 2020).
  6. Minister of the Economy, Regulation of 20 September 2001 Concerning Occupational Safety and Health while Operating Machines and Other Technical Equipment for sEarth Moving, Construction and Road-Building Works; i.e. of 2018, Item 583, 2–11; Minister of the Economy: Warsaw, Poland, 2018. Available online: http://prawo.sejm.gov.pl/isap.nsf/download.xsp/WDU20180000583/O/D20180583.pdf (accessed on 23 January 2020).
  7. ISO (International Organization for Standardization). Protective Clothing for Users of Hand-Held Chainsaws-Part 2: Performance Requirements and Test Methods for Leg Protectors. (Standard No. ISO 11393-2); ISO: Geneva, Switzerland, 2018; p. 40. [Google Scholar]
  8. Schyma, C.; Albalooshi, Y.; Burkhard, M. Extended suicide by use of a chain saw. Forensic Sci. Int. 2013, 228, 16–19. [Google Scholar] [CrossRef] [PubMed]
  9. Sidlo, J.; Sidlowa, H. Accidental fatal craniocerebral injury caused by broken chain of sawing tool. Forensic Sci. Int. 2018, 289, 15–17. [Google Scholar] [CrossRef] [PubMed]
  10. Ball, J.; Blair, D.F. Preventing Chain Saw Injury. The Power of Training and Personal Protective Equipment. Arborist News. Continuing Education Unit. 2010. Available online: https://www.bcplanthealthcare.com/wp-content/uploads/2018/12/preventing-chainsaw-injury.pdf (accessed on 13 January 2020).
  11. Agricultural Social Insurance Fund. Work Accidents and Occupational Diseases of Farmers as Well as Preventive Actions of KRUS in 2016; Agricultural Social Insurance Fund: Warsaw, Poland, 2017. Available online: https://www.krus.gov.pl/fileadmin/moje_dokumenty/dokumenty/prewencja/statystyki/2017/Wypadki_2016_rok_statystyki_2017_min.pdf (accessed on 13 January 2020).
  12. ANSI (American National Standards Institute). Safety Requirements for Gasoline Powered Chain Saws (Standard No. ANSI/OPEI B175.1); American National Standards Institute: Washington, DC, USA, 2012; p. 108. [Google Scholar]
  13. ISO (International Organization for Standardization). Forestry Machinery-Portable Chain-Saws-Kickback Test (Standard No. ISO 9518); ISO: Geneva, Switzerland, 2018; p. 53. [Google Scholar]
  14. Dąbrowski, A. Reducing kickback of portable combustion chain saws and related injury risks: Laboratory tests and deductions. Int. J. Occup. Safety Ergon. (JOSE) 2012, 18, 399–417. [Google Scholar] [CrossRef] [PubMed]
  15. Więsik, J.; Kozłowski, R.; Neugebauer, Z.; Wójcik, K. Portable Chainsaw Construction and Exploitation; Development Foundation, University of Life Sciences: Warsaw, Poland, 2002; p. 236. [Google Scholar]
  16. Dąbrowski, A. Kickback risk of portable chainsaws while cutting wood of different properties: Laboratory tests and deductions. Int. J. Occup. Safety Ergon. (JOSE) 2015, 21, 512–523. [Google Scholar] [CrossRef] [PubMed]
  17. ISO (International Organization for Standardization). Machinery for Forestry-Portable Chain-Saw Safety Requirements and Testing-Part 1: Chain-Saws for Forest Service (Standard No. ISO 11681-1); ISO: Geneva, Switzerland, 2011; p. 22. [Google Scholar]
  18. Dąbrowski, A. Portable chain saws-new ergonomic guidelines of harmonized standards. Bezpieczeństwo Pracy–Nauka i Praktyka 2015, 1, 24–27. [Google Scholar]
  19. Maciak, A. Influence of Saw Chain Cutters Characteristics on Woodworking Efficiency. Ph.D. Dissertation, Faculty of Production Engineering, Warsaw University of Life Sciences, Warsaw, Poland, 2001. [Google Scholar]
  20. Orlicz, T. Woodworking with Cutting Tools, 4th ed.; Warsaw University of Life Sciences: Warsaw, Poland, 1988; p. 382. [Google Scholar]
  21. Gendek, A.; Oktabiński, P. Engine power losses on resistance of chain saw motion over the guide. Ann. Wars. Univ. of Life Sci.—SGGW 2012, 60, 111–117. [Google Scholar]
  22. Więsik, J. Ways of eliminating or reducing of present chain saws kickback. Rev. Agric. For. Tech. 2001, 12, 18–22. [Google Scholar]
  23. Fraunhofer. Fraunhofer IGD Department Augmented and Virtual Reality, Mixed Reality Chainsaw. 2006. Available online: http://i.document.m05.de/topic-1 (accessed on 19 February 2019).
  24. Husqvarna. This VR Game Is All about The Chainsaw. 2016. Available online: https://www.youtube.com/watch?v=NAE3ie068s8 (accessed on 13 January 2020).
  25. Stihl. Farming Simulator 17 Chainsaw STIHL Stihl MS660 V 1.1 FS17. 2017. Available online: http://www.fsmods17.com/stihl-ms660-v-1-1-fs17 (accessed on 13 January 2020).
  26. ISO (International Organization for Standardization). Safety of Machinery-General Principles for Design - Risk Assessment and Risk Reduction (Standard No. ISO 12100); ISO: Geneva, Switzerland, 2010; p. 77. [Google Scholar]
  27. ISO (International Organization for Standardization). Portable Chain-Saws-Chain Brake Performance (Standard No. ISO 6535); ISO: Geneva, Switzerland, 2015; p. 4. [Google Scholar]
  28. Dąbrowski, A. Portable chain saws-new guidelines of harmonized standards concerning protection against contact with the saw chain. Bezpieczeństwo Pracy–Nauka i Prakt. 2016, 3, 22–25. [Google Scholar]
  29. ISO (International Organization for Standardization). Forestry Machinery-Portable Chain Saws-Dimensions and Clearances (Standard No. ISO 6533); ISO: Geneva, Switzerland, 2012; p. 8. [Google Scholar]
  30. ISO (International Organization for Standardization). Forestry Machinery-Portable Chain-Saw Hand-Guards-Mechanical Strength (Standard No. ISO 6534:2007); ISO: Geneva, Switzerland, 2007; p. 5. [Google Scholar]
  31. ISO (International Organization for Standardization). Forestry Machinery–Portable Chain-Saws-Non-Manually Actuated Chain Brake Performance (Standard No. ISO 13772); ISO: Geneva, Switzerland, 2018; p. 8. [Google Scholar]
  32. ISO (International Organization for Standardization). Portable Chain Saw-Chain Catcher-Dimensions and Mechanical Strength (Standard No. ISO 10726: 1992); ISO: Geneva, Switzerland, 1992; p. 2. [Google Scholar]
Figure 1. Method of determining saw chain pitch. a: distance between axes everythree rivets; t: saw chain pitch (half the distance between axes every three rivets).
Figure 1. Method of determining saw chain pitch. a: distance between axes everythree rivets; t: saw chain pitch (half the distance between axes every three rivets).
Forests 11 00276 g001
Figure 2. Scheme for carrying out chainsaw kickback tests.
Figure 2. Scheme for carrying out chainsaw kickback tests.
Forests 11 00276 g002
Figure 3. Computer simulation of chainsaw motion and calculation of kickback angle.
Figure 3. Computer simulation of chainsaw motion and calculation of kickback angle.
Forests 11 00276 g003
Figure 4. Basic stand for kickback testing; principle of the study of chainsaw kickback (horizontal and rotary movement energy): 1: rotary cradle (with chainsaw); 2: carriage-restraining weight; 3: cradle-restraining weights; 4: wood kickback test sample fixed in mobile carriage moving horizontal to guide bar tip; 5: control panel; 6: registering device; 7: chainsaw.
Figure 4. Basic stand for kickback testing; principle of the study of chainsaw kickback (horizontal and rotary movement energy): 1: rotary cradle (with chainsaw); 2: carriage-restraining weight; 3: cradle-restraining weights; 4: wood kickback test sample fixed in mobile carriage moving horizontal to guide bar tip; 5: control panel; 6: registering device; 7: chainsaw.
Forests 11 00276 g004
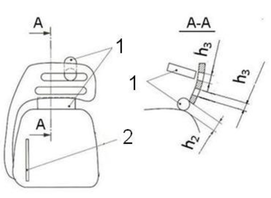
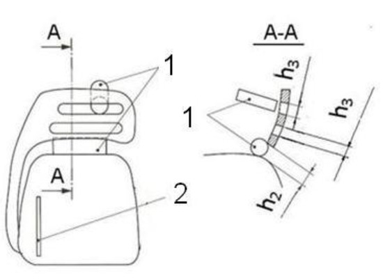
Figure 5. Determination of effective front guard width with hand brake disengaged. l1 = 100 mm, h1 = 20 mm: front guard height above the front handle; Xo: reference point.
Figure 5. Determination of effective front guard width with hand brake disengaged. l1 = 100 mm, h1 = 20 mm: front guard height above the front handle; Xo: reference point.
Forests 11 00276 g005
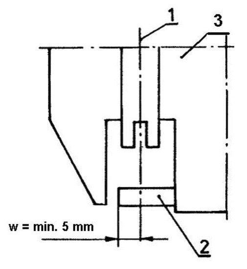
Figure 6. Checking permissible dimensions of front guard openings and permissible clearance between lowest front guard edge and closest part of chainsaw body. 1: test shaft Ø 56 × 82 mm; 2: guide bar.
Figure 6. Checking permissible dimensions of front guard openings and permissible clearance between lowest front guard edge and closest part of chainsaw body. 1: test shaft Ø 56 × 82 mm; 2: guide bar.
Forests 11 00276 g006
Figure 7. Bent front handle of chainsaw after strength tests.
Figure 7. Bent front handle of chainsaw after strength tests.
Forests 11 00276 g007
Figure 8. Chainsaw kickback. 1: operator’s hand holding front handle and moving front guard forward (activating the brake); 2: movable front guard; 45°: permissible kickback angle or saw chain stopping angle.
Figure 8. Chainsaw kickback. 1: operator’s hand holding front handle and moving front guard forward (activating the brake); 2: movable front guard; 45°: permissible kickback angle or saw chain stopping angle.
Forests 11 00276 g008
Figure 9. Sample changes in kickback angle over time, with respect to maximum saw chain stopping time. l: guide bar length; engine velocity: 150 s−1; maximum calculated final uncertainty of kickback angle: ±2°.
Figure 9. Sample changes in kickback angle over time, with respect to maximum saw chain stopping time. l: guide bar length; engine velocity: 150 s−1; maximum calculated final uncertainty of kickback angle: ±2°.
Forests 11 00276 g009
Figure 10. Changes in kickback angle, depending on the combination of chainsaws and cutting unit elements. Chainsaws: engine velocity: 150 s−1; engine capacity: 40 cm3, 56 cm3, 59 cm3. Guide bars: length 400 mm, 500 mm, 600 mm (standard and reduced tip radius, sprocket nose or sliding guide bar). Chisel and semi-chisel saw chain type: with various tension levels on the guide bar, with anti-kickback or standard links, low-profile, or standard and with different cutting blade tilt angles and different depth gauge heights; maximum calculated final uncertainty of the kickback angle was ±2°.
Figure 10. Changes in kickback angle, depending on the combination of chainsaws and cutting unit elements. Chainsaws: engine velocity: 150 s−1; engine capacity: 40 cm3, 56 cm3, 59 cm3. Guide bars: length 400 mm, 500 mm, 600 mm (standard and reduced tip radius, sprocket nose or sliding guide bar). Chisel and semi-chisel saw chain type: with various tension levels on the guide bar, with anti-kickback or standard links, low-profile, or standard and with different cutting blade tilt angles and different depth gauge heights; maximum calculated final uncertainty of the kickback angle was ±2°.
Forests 11 00276 g010
Figure 11. Sample position of a chainsaw operator during tree harvesting. 1: operator’s hand holding the front handle of the chainsaw in a position which prevents movement of the front guard (brake activation).
Figure 11. Sample position of a chainsaw operator during tree harvesting. 1: operator’s hand holding the front handle of the chainsaw in a position which prevents movement of the front guard (brake activation).
Forests 11 00276 g011
Figure 12. Examples of other ways to activate the chain brake: (a) immediately after the operator releases the throttle trigger lock on the portable combustion chainsaw, and (b) by moving an additional guard at the rear handle of the chainsaw. 1: additional chain brake activation lever.
Figure 12. Examples of other ways to activate the chain brake: (a) immediately after the operator releases the throttle trigger lock on the portable combustion chainsaw, and (b) by moving an additional guard at the rear handle of the chainsaw. 1: additional chain brake activation lever.
Forests 11 00276 g012
Figure 13. Effects of hand brake on chainsaw kickback angle; maximum calculated final uncertainty of the kickback angle was ±2°.
Figure 13. Effects of hand brake on chainsaw kickback angle; maximum calculated final uncertainty of the kickback angle was ±2°.
Forests 11 00276 g013
Figure 14. Threshold acceleration levels at the guide bar tip for activation of inertia-triggered chain brake on chainsaws for forestry service with engine capacity of > 40 cm3. ax, horizontal acceleration (m/s2); ay, vertical acceleration (m/s2); Acc., acceptable acceleration; N/A, non-acceptable acceleration.
Figure 14. Threshold acceleration levels at the guide bar tip for activation of inertia-triggered chain brake on chainsaws for forestry service with engine capacity of > 40 cm3. ax, horizontal acceleration (m/s2); ay, vertical acceleration (m/s2); Acc., acceptable acceleration; N/A, non-acceptable acceleration.
Forests 11 00276 g014
Figure 15. Position of chain catcher in a portable chainsaw. 1: guide bar symmetry plane; 2: chain catcher; 3: chainsaw body.
Figure 15. Position of chain catcher in a portable chainsaw. 1: guide bar symmetry plane; 2: chain catcher; 3: chainsaw body.
Forests 11 00276 g015
Figure 16. Broken chain catcher after testing strength at minus temperature.
Figure 16. Broken chain catcher after testing strength at minus temperature.
Forests 11 00276 g016
Table 1. Combustion chainsaws prepared for tests
Table 1. Combustion chainsaws prepared for tests
No.Engine Capacity
(cm3)
Engine Power
(kW)
Length of Guide Bar
(mm)
1563.0400, 500, 600
2401.9380
3592.9400, 500, 600
4512.4380
5462.0400
6451.8400
7452.5450
Table 2. Comparison of discussed and tested characteristics of chainsaws according to Directive 2006/42/EC.
Table 2. Comparison of discussed and tested characteristics of chainsaws according to Directive 2006/42/EC.
Standard
ISO
11681-1Item
Items in Annex I to Directive 2006/42/EC (1)Hazard Identification per PN-EN ISO 11681-1 (in Accordance with PN-EN ISO 12100)
Source of Hazard (Dangerous Situation) (2)Potential Consequences (3)
4.2
Handles
1.1.2, 1.1.6, 1.3.211
4.3
Hand guard
1.1.2, 1.1.6, 1.3., 1.3, 1.3.8, 1.3.8.2, 1.4.1, 1.4.2.1, 1.4.321, 2
4.5
Protection against kickback
1.3.8, 1.3.7, 1.3.8.2, 1.4.321, 2
4.6
Chain catcher
1.3.2, 1.3.3, 1.3.7, 1.3.8, 1.3.8.2, 1.4.121, 2
4.12
Control
1.2.111
4.20
Saw tension
1.3.3, 1.3.7, 3.8, 1.3.8.2, 1.6.1, 1.6.122
1: 1.1.2 (Principles of safety integration), 1.1.6 (Ergonomics), 1.2.1 (Safety and reliability of control systems), 1.3.2 (Risk of break-up during operation), 1.3.3 (Risks due to falling or ejected objects), 1.3.7 (Risks related to moving parts), 1.3.8 (Choice of protection against risks arising from moving parts), 1.3.8.2 (Moving parts involved in the process), 1.4.1 (Guards and protective devices, General requirements), 1.4.2.1 (Fixed guards), 1.4.3 (Special requirements for protective devices), 1.6.1 (Machinery maintenance), 1.6.2 (Access to operating positions and servicing points). 2: 1. Error in the engine management system or control elements (unexpected start of the chainsaw—initiation of saw chain movement or unexpected speed increase), 2. Moving saw chain (chain derailment). 3: 1. Cutting or cutting off of upper or lower limbs; injury caused by ejected chainsaw parts, 2. Injury caused by ejected chainsaw parts.

Share and Cite

MDPI and ACS Style

Dąbrowski, A. Analysis and Laboratory Testing of Technical Injury Prevention Measures for Portable Combustion Chainsaws. Forests 2020, 11, 276. https://doi.org/10.3390/f11030276

AMA Style

Dąbrowski A. Analysis and Laboratory Testing of Technical Injury Prevention Measures for Portable Combustion Chainsaws. Forests. 2020; 11(3):276. https://doi.org/10.3390/f11030276

Chicago/Turabian Style

Dąbrowski, Andrzej. 2020. "Analysis and Laboratory Testing of Technical Injury Prevention Measures for Portable Combustion Chainsaws" Forests 11, no. 3: 276. https://doi.org/10.3390/f11030276

APA Style

Dąbrowski, A. (2020). Analysis and Laboratory Testing of Technical Injury Prevention Measures for Portable Combustion Chainsaws. Forests, 11(3), 276. https://doi.org/10.3390/f11030276

Note that from the first issue of 2016, this journal uses article numbers instead of page numbers. See further details here.

Article Metrics

Back to TopTop