Mesomorphic Behavior of Symmetrical and Unsymmetrical Azomethines with Two Imine Groups
Abstract
:1. Introduction
2. Results and Discussion
2.1. Synthesis and characterization


2.2. Mesomorphic behavior

| Phase transition behavior, cooling, detected by POM |
|---|
| A1 |
| I 277 °C N 277 °C till 230 °C SmC 220 °C till 172 °C Cr < 172 °C |
| A2 |
| I 237 °C N 237 °C till 216 °C SmC 216 °C till 155 °C Cr< 160 °C |
| A3 |
| I 165 °C N 165 °C till 142 °C SmA 142 °C till 102 °C Cr < 102 °C |
| AP1A |
| I 185 °C SmA 177 °C till 183 °C SmC 177 °C till 157 °C SmF (or I) 157 °C till 127 °C SmG (or J) 127 °C till 50 °C Cr < 50 °C |
2.2.1. Mesomorphic behavior of the symmetrical azomethines A1-A5
| Phase sequences | ||
|---|---|---|
| Code | Phase transitions [°C] (corresponding enthalpy changes) [J/g] | |
| heating | cooling | |
| A1 | 268.0 (2.9), 231.0 (3.5), 224.4 (0.6), 174.7 (7.8), 171.1 (61.6) 87.9 (20.3) | 261.3 (1.7), 166.5 (50.1), 83.9 (16.4) |


| Code | WAXS data |
|---|---|
| 2θ [°] (corresponding d spacing) [Å] | |
| A1 | 6.45 (13.69), 9.56 (9.24), 15.84 (5.59), 20.00 (4.43), 21.23 (4.18), 22.13 (4.01), 22.89 (3.88), 24.32 (3.66), 25.39 (3.50), 28.73 (3.10), 35.08 (2.56), 38.50 (2.34), 42.80 (2.11), 45.84 (1.98), 48.63 (1.87) |
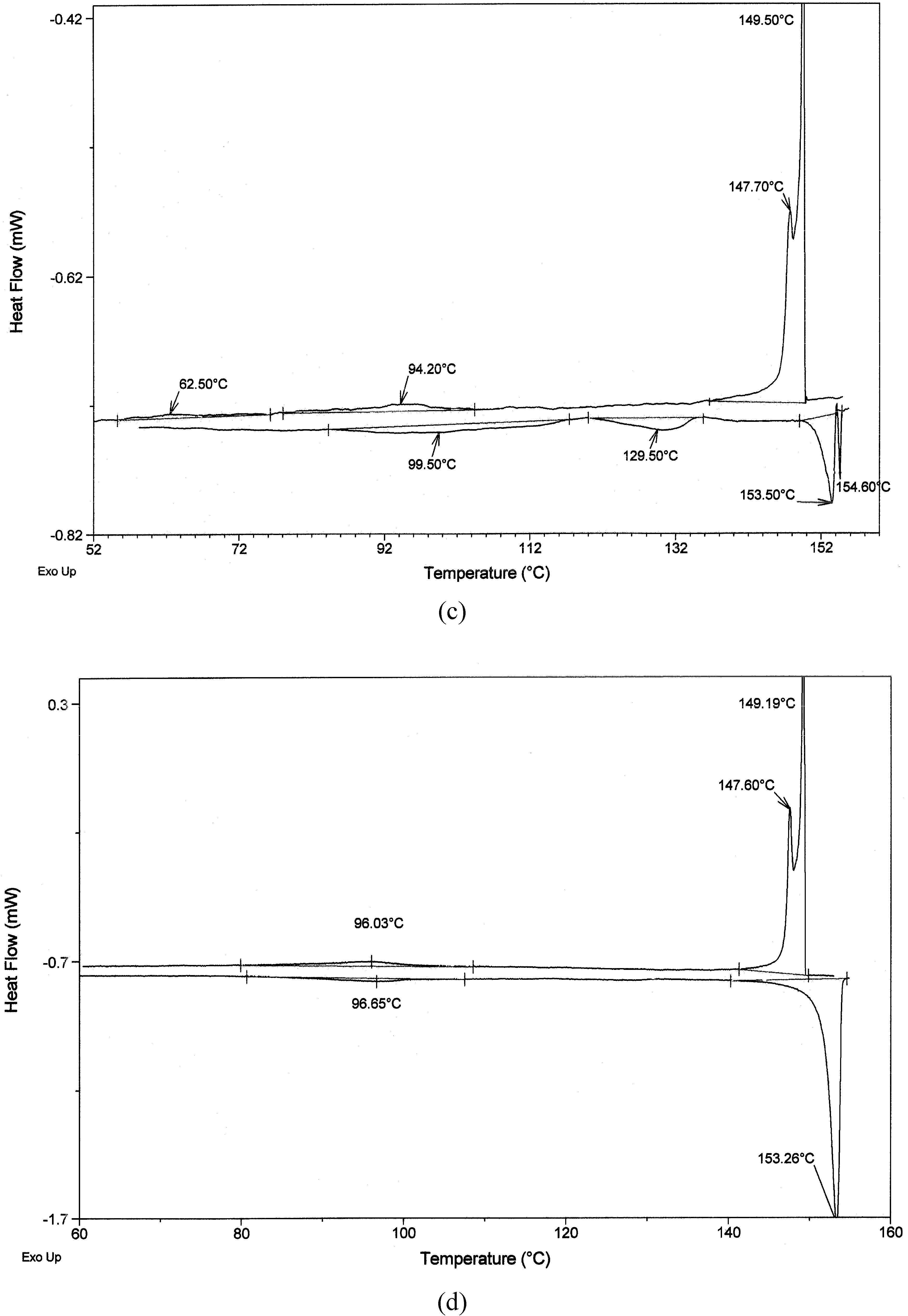
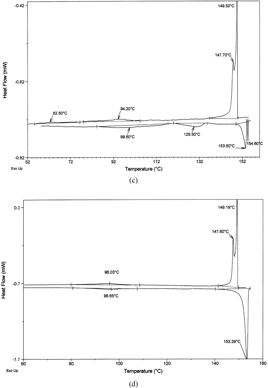
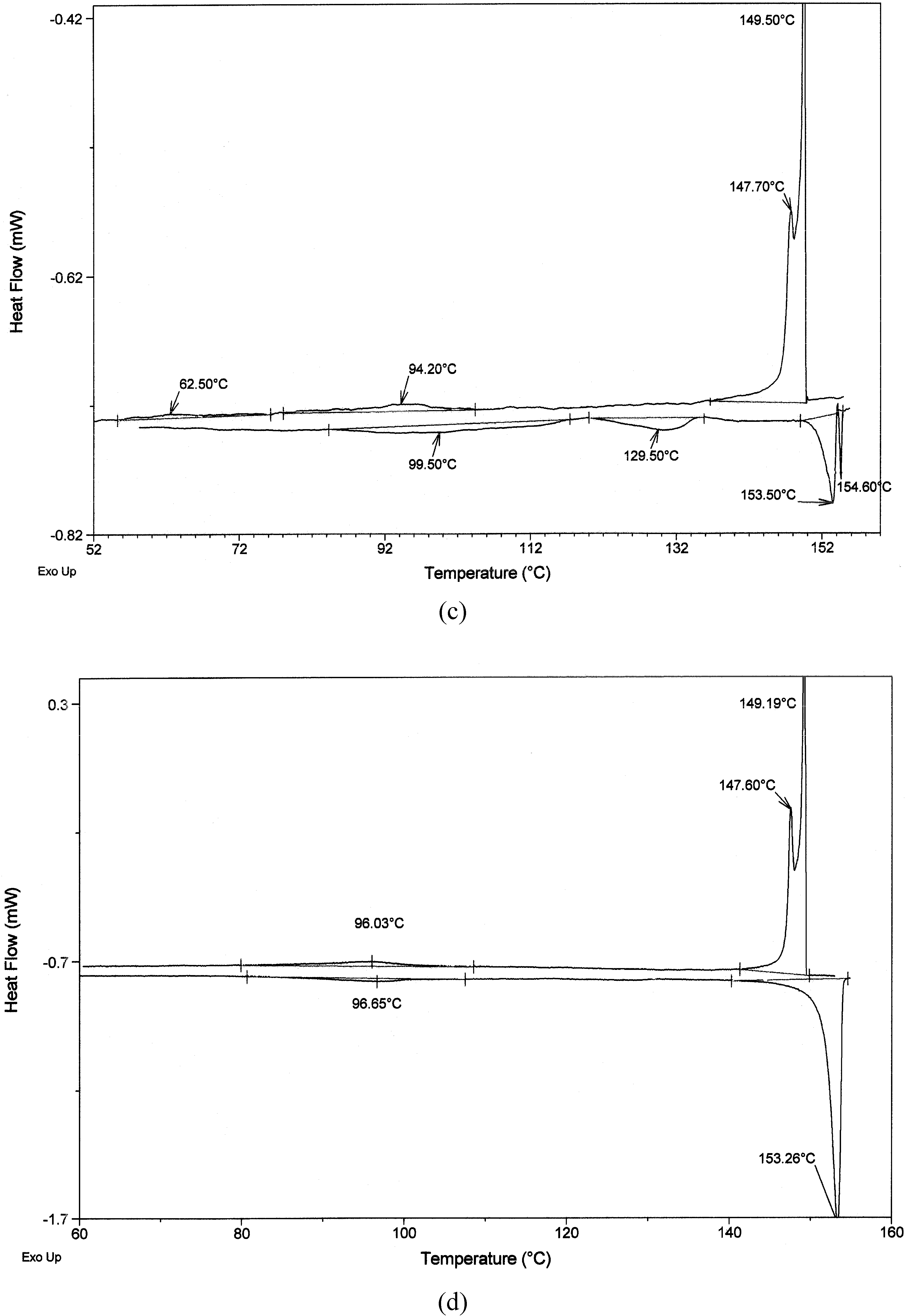
2.2.2. Thermal behavior of the symmetrical azomethines AT1-AT2
- AT1 (heating 0.01 °C/min): CrI 133.3 °C [9.4], CrII 134.4 °C [40.8], SmX 135.5 °C [3.4], I
- AT1 (heating 0.35 °C/min): CrI 103.8 °C [32.9], CrII 134.5 °C [89.3] I
- AT2 (heating 1 °C/min): CrI 99.5 °C [11.8], CrII 129.8 °C [5.8], CrIII 153.5 °C [83.5] SmX1 154.6 °C [10.3], I
- AT2 (heating 0.4 °C/min): CrI 96.4 °C [9.5], CrII 126.2 °C [1.8], CrIII 153.4 °C [87.8], I




2.2.3. Mesomorphic behavior of the unsymmetrical azomethines AP1A-AP1B

2.3. UV-vis(T) Studies


3. Experimental Section
General
3.1. Synthesis of symmetrical azomethines
3.2. Synthesis of 4-[-(1H-pyren-8-ylimino)methyl]benzaldehyde aldehyde (AP1)
3. 3. Synthesis of unsymmetrical azomethines
4. Conclusions
Acknowledgements
References and Notes
- Iwan, A.; Sek, D. Processible polyazomethines and polyketanils: From aerospace to light emitting diodes and other advanced applications. Progr. Polym. Sci. 2008, 33, 289–345. [Google Scholar] [CrossRef]
- Smith, J.A.; DiStasio, R.A.; Hannah, N.A.; Winter, R.W.; Weakley, T.J.R.; Gard, G.L.; Rananavare, S.B. SF5-terminated fluorinated Schiff base liquid crystals. J. Phys. Chem. B. 2004, 108, 19940–19948. [Google Scholar] [CrossRef]
- Grabtchev, I.K.; Bojinov, V.B.; Moneva, I.T. Functional properties of azomethine substituted benzanthrone dyes for use in nematic liquid crystals. J. Mol. Struct. 1998, 471, 19–25. [Google Scholar] [CrossRef]
- Hioki, H.; Fukutaka, M.; Takahashi, H.; Kubo, M.; Matsushita, K.; Kodama, M.; Kubo, K.; Ideta, K.; Mori, A. Development of a new traceless aniline linker for solid-phase synthesis of azomethines. Application to parallel synthesis of a rod-shaped liquid crystalline library. Tetrahedron 2005, 61, 10643–10651. [Google Scholar] [CrossRef]
- Narasimhaswamy, T.; Srinivasan, K.S.V. Synthesis and characterization of novel thermotropic liquid crystals containing a dimethylamino group. Liquid Crystals 2004, 31, 1457–1462. [Google Scholar] [CrossRef]
- Yelamaggad, C.V.; Shashikala, I.S.; Liao, G.; Rao, D.S.S.; Prasad, S.K.; Li, Q.; Jakli, A. Blue phase, smectic fluids and unprecedented sequences in liquid crystal dimers. Chem. Mater. 2006, 18, 6100–6102. [Google Scholar] [CrossRef]
- Stamatoiu, O.; Bubnov, A.; Tarcomnicu, I.; Iovu, M. Synthesis and spectral characterization of new amido-ether Schiff bases. J. Mol. Struct. 2008, 886, 187–196. [Google Scholar] [CrossRef]
- Godzwon, J.; Sienkowska, M.J.; Galewski, Z. Smectic polymorphism of 4-nonyloxybenzylidene-4’-alkyloxyanilines. J. Mol. Struct. 2008, 844-845, 259–267. [Google Scholar]
- Ribera, D.; Mantecon, A.; Serra, A. Synthesis and Crosslinking of a Series of Dimeric Liquid Crystalline Epoxy Resins Containing Imine Mesogens. Macromol. Chem. Phys. 2001, 202, 1658–1671. [Google Scholar] [CrossRef]
- Ribera, D.; Mantecon, A.; Serra, A. Synthesis and crosslinking of a series of dimeric liquid crystalline diglycidylester compounds containing imine groups. J. Polym. Sci. Part A: Polym. Chem. 2002, 40, 4344–4356. [Google Scholar] [CrossRef]
- Henderson, P.A.; Imrie, C.T. Semiflexible liquid crystalline tetramers as models of structurally analogous copolymers. Macromolecules 2005, 38, 3307–3311. [Google Scholar] [CrossRef]
- Kishikawa, K.; Muramatsu, N.; Kohmoto, S.; Yamaguchi, K.; Yamamoto, M. Control of molecular aggregations by doping in mesophases: Transformation of smectic C phases to smectic CA phases by addition of long bent-core molecules possessing a central strong dipole. Chem. Mater. 2003, 15, 3443–3449. [Google Scholar] [CrossRef]
- Naito, Y.; Ishige, R.; Itoh, M.; Tokita, M.; Watanabe, J. Smectic A formation by twin dimers assuming U-shaped conformation. Chem. Letters 2008, 37, 880–881. [Google Scholar] [CrossRef]
- Sudhakar, S.; Narasimhaswamy, T.; Srinivasan, K.S.V. Synthesis, characterization and thermal properties of 4,4’-bis(4-n-alkoxybenzoyloxy)benzylideneanilines and bis(4-benzylidene-4’-n-alkoxyaniline) terephthalates. Liquid Crystals 2000, 27, 1525–1532. [Google Scholar] [CrossRef]
- Cozan, V.; Gaspar, M.; Butuc, E.; Stoleriu, A. Azomethine sulfone macromers with thermotropic liquid crystalline behavior. Eur. Polym. J. 2001, 37, 1–8. [Google Scholar] [CrossRef]
- Sabdham, K.; Srinivasan, V.; Padmavathy, T. Liquid crystalline properties of unsegmented and segmented polyurethanes synthesised from high aspect ratio mesogenic diols. Macromol. Symp. 2003, 199, 277–292. [Google Scholar] [CrossRef]
- Lakshminarayana, S.; Prabhu, C.R.; Potukuchi, D.M.; Rao, N.V.S.; Pisipati, V.G.K.M. Density studies in terephthalylidene-bis-p-n-alkylanilines. Liquid Crystals 1993, 15, 909–914. [Google Scholar]
- Boschmans, M.; El Guermai, K.; Gors, C. Thermal, X-Ray and birefringence measurements in hexatic liquid crystal phases. Mol. Cryst. Liquid Cryst. 1991, 203, 85–92. [Google Scholar] [CrossRef]
- Stine, K.J.; Garland, C.W. Calorimetric study of the Smectic-C to Smectic-F transition in terephtal-bis-(4n)- alkylanilines. Mol. Cryst. Liquid Cryst. 1990, 188, 91–96. [Google Scholar]
- Noh, D.Y.; Brock, J.D.; Litster, J.D.; Birgeneau, R.J.; Goodby, J.W. Fluid, hexatic, and crystal phases in terephthal-bis-(4n)-alkylanilines. Phys. Rev. B -Condensed Matter 1989, 40, 4920–4927. [Google Scholar] [CrossRef]
- Richter, L.; Demus, D.; Sackmann, H. Liquid crystalline phases in the homologous series of terephthalylidene-bis-[4-n-alkylanilines]. Mol. Cryst. Liquid Cryst. 1981, 71, 269–291. [Google Scholar] [CrossRef]
- Kamiishi, Y.; Kobayashi, S.; Iwayanagi, S. Calorimetric Study of Crystalline and Liquid-Crystalline Polymorphism in the Homologues of Terephthal-bis-n-alkylaniline. Mol. Cryst. Liquid Cryst. 1981, 67, 125–136. [Google Scholar] [CrossRef]
- Goodby, J.W.; Gray, G.W.; Mosley, A. Smectic F Phases in the terephthalyidene-bis-4-n-alkylanilines. Mol. Cryst. Liquid Cryst. 1978, 41, 183–188. [Google Scholar] [CrossRef]
- Yelamaggad, C.V.; Shashikala, I.S.; Li, Q. Liquid crystal trimers composed of banana-shaped and rodlike anisometric segments: Synthesis and Characterization. Chem. Mater. 2007, 19, 6561–6568. [Google Scholar] [CrossRef]
- Nadasi, H.; Weissflog, W.; Eremin, A.; Pelzl, G.; Diele, S.; Das, B.; Grande, S. Ferroelectric and antiferroelectric „banan phases“ of new fluorinated five-ring bent-core mesogens. J. Mater. Chem. 2002, 12, 1316–1324. [Google Scholar] [CrossRef]
- Nastishin, Y.A.; Achard, M.F.; Nguyen, H.T.; Kleman, M. Textural analysis of a mesophase with banana shaped molecules. Eur. Phys. J. E 2003, 2003, 12, 581–591. [Google Scholar]
- Ros, M.B.; Serrano, J.L.; de la Fuente, M.R.; Folcia, C.L. Banana-shaped liquid crystals: A new field to explore. J. Mater. Chem. 2005, 15, 5093–5098. [Google Scholar] [CrossRef]
- Takezoe, H.; Takanishi, Y. Bent-core liquid crystals: Their mysterious and attractive world. Jpn. J. Appl. Phys. 2006, 45, 597–625. [Google Scholar] [CrossRef]
- Pelzl, G.; Diele, S.; Weissflog, W. Banana-shaped compounds-A new field of liquid crystals. Adv. Mater. 1999, 11, 707–724. [Google Scholar] [CrossRef]
- Reddy, R.A.; Tschierske, C. Bent-core liquid crystals: Polar order, superstructural chirality and spontaneous desymmetrisation in soft matter systems. J. Mater. Chem. 2006, 16, 907–961. [Google Scholar] [CrossRef]
- Iwan, A.; Janeczek, H.; Rannou, P. Ionically self-assembled terephthalylidene-bis-4-n-alkylanilines/n-decanesulfonic acid supramolecules: Synthesis, mesomorphic behaviour and optical properties. Spectrochim. Acta Part A: Mol. Biomol. Spectrosc. 2009, 72, 72–81. [Google Scholar] [CrossRef]
- Iwan, A.; Janeczek, H.; Rannou, P.; Kwiatkowski, R. Synthesis, characterization, optical, structural and liquid crystalline properties of pristine and ionically self-assembled terephthalylidene-bis-4-n-alkylanilines and terephthalylidene-bis-4-n-alkylamines. Tetrahedron, (submitted , 2008).
- Demus, D.; Richter, L. Textures of Liquid Crystals, 1st Ed. ed; Weinheim: Verlag Chemie: Leipzig, 1978; pp. 1–228. [Google Scholar]
- Gray, G.W.; Gooby, J.W. Smectic Liquid Crystals-Textures and Structures; Leonard Hill: Glasgow & London, 1984; pp. 1–162. [Google Scholar]
- Tamaoki, N. Cholesteric Liquid Crystals for Color Information Technology. Adv. Mater. 2001, 13, 1135–1147. [Google Scholar] [CrossRef]
© 2009 by the authors; licensee Molecular Diversity Preservation International, Basel, Switzerland. This article is an open-access article distributed under the terms and conditions of the Creative Commons Attribution license (http://creativecommons.org/licenses/by/3.0/).
Share and Cite
Iwan, A.; Janeczek, H.; Jarzabek, B.; Rannou, P. Mesomorphic Behavior of Symmetrical and Unsymmetrical Azomethines with Two Imine Groups. Materials 2009, 2, 38-61. https://doi.org/10.3390/ma2010038
Iwan A, Janeczek H, Jarzabek B, Rannou P. Mesomorphic Behavior of Symmetrical and Unsymmetrical Azomethines with Two Imine Groups. Materials. 2009; 2(1):38-61. https://doi.org/10.3390/ma2010038
Chicago/Turabian StyleIwan, Agnieszka, Henryk Janeczek, Bozena Jarzabek, and Patrice Rannou. 2009. "Mesomorphic Behavior of Symmetrical and Unsymmetrical Azomethines with Two Imine Groups" Materials 2, no. 1: 38-61. https://doi.org/10.3390/ma2010038
APA StyleIwan, A., Janeczek, H., Jarzabek, B., & Rannou, P. (2009). Mesomorphic Behavior of Symmetrical and Unsymmetrical Azomethines with Two Imine Groups. Materials, 2(1), 38-61. https://doi.org/10.3390/ma2010038
