Laboratory Measurement and Analysis of the Deteriorated Layer Permeability Coefficient of Soil-Cement Deteriorated in a Saline Environment
Abstract
:1. Introduction
2. Calculation Method of the Deteriorated Layer Permeability Coefficient of Soil-Cement
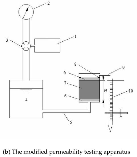
3. Improvement of the Soil-Cement Permeability Testing Apparatus
4. Tests of Soil-Cement
4.1. Soil
4.2. Preparation and Maintenance of the Soil-Cement Specimen
- (1)
- The first type of specimen was used for permeability tests. The diameter of the specimen was 75 mm and the height was 30 mm. Specimens were demolded after 24 h of curing. When the soil-cement specimen was cured in saline solution, the surface of the specimen contacted the saline solution directly. Therefore, the corrosion of soil-cement originated from the surface. The internal portion of soil-cement did not experience corrosion until the saline solution penetrated into that region. In this paper, specimens were cured under dry conditions in a curing room environment and under wet conditions in seawater. During immersion in seawater, the internal region of the soil-cement specimen did not experience corrosion from the saltwater and could be regarded as soil-cement in a curing room environment [19]. For the immersion maintenance case, the specimens were first maintained in a curing room for seven days and then in the seawater that was taken from the field. The characteristics of the seawater are shown in Table 3. The temperature of the seawater was kept at 20 ± 2 °C, and during the curing period, the concentration of ions in the seawater was measured every three days and the seawater was renewed to ensure the relative balance of the concentration of ions in seawater.
- (2)
- The second type of specimen was used for tests of deterioration depth, which was needed for Equation (8). First, the soil-cement was filled into a cutting ring smeared with Vaseline. The cutting ring’s height was 20 mm and its diameter was 61.8 mm. Then, soil-cement specimens were maintained together with the cutting rings in a curing room and in seawater before they were demolded and tested, respectively.
4.3. Tests of Deterioration Depth
4.4. Tests of Permeability
- (1)
- Remove the soil-cement specimens from different curing conditions and wipe their surface with a wrung-wet cloth. Smear the specimens with grease and place them in the mold with one porous stone installed at the top and one at the bottom. Place the mold in the permeameter and cover the upper surface with filter paper.
- (2)
- Increase the hydraulic pressure step-by-step. At the beginning of the experiment, the rate of hydraulic growth was 0.02 MPa per step until the hydraulic pressure reached 0.1 MPa, at which time the growth rate changed to 0.1 MPa per step. After applying each pressure level, the pressure should be stabilized for one hour before applying the next level of pressure until the water overflows.
- (3)
- Record the hydraulic pressure and seepage volume after the fluid level in burette stabilizes. For specimens with large seepage volume, read the scale at an interval of 3–5 min; for specimens with small seepage volume, read the scale at an interval of 30–60 min. Take the average of the three groups of data for each specimen.
- (4)
- Monitor the seepage process of the specimens during tests. If the water oozes from the lateral surface, the experiment should be stopped, and the specimens should be resealed before proceeding.
5. Test Results and Analyses
5.1. Deterioration Depth
5.2. Permeability Coefficient of Deteriorated Layer
6. Application of the Prediction Model for the Deteriorated Layer Permeability Coefficient
7. Conclusions
- (1)
- The growth rate of deterioration depths of soil-cement specimens gradually decreased with an increase in curing age. The deterioration depth increased with an increase in cement content.
- (2)
- The growth rate of permeability coefficients increased with curing age and cement content. When the curing age was shorter, the permeability coefficient of soil-cement cured in seawater was smaller than that maintained in a curing room, but with increasing age, the permeability coefficient of soil-cement under immersion maintenance was higher than that maintained in a curing room.
- (3)
- The evolution curve of the permeability coefficient of a deteriorated layer can be formulated as a logistic function.
Author Contributions
Funding
Acknowledgments
Conflicts of Interest
References
- Fischer, K.P.; Andersen, K.H.; Moum, J. Properties of an artificially cemented clay. Can. Geotech. J. 1978, 15, 322–331. [Google Scholar] [CrossRef]
- Jackson, J.O. The effect of leaching on soil-cement. Int. J. Rock Mech. Min. Sci. Geomech. Abstr. 1974, 11, 215–219. [Google Scholar] [CrossRef]
- Terashi, M. Fundamental Properties of Lime and Cement Treated Soils, 2nd ed.; Report of the Port and Harbour Research Institute: Kanagawa, Japan, 1980; Volume 19, pp. 33–57. [Google Scholar]
- Ikegami, M.; Ichiba, T.; Ohishi, K.; Terashi, M. Long-Term Properties of Cement Treated Soil 20 Years after Construction; Millpress Science Publishers: Amsterdam, The Netherland, 2005; pp. 1199–1202. [Google Scholar]
- Hayashi, H.; Nishikawa, J.I.; Ohishi, K.; Terashi, M. Field Observation of Long-Term Strength of Cement Treated Soil. In Proceedings of the Third International Conference on Grouting and Ground Treatment, Reston, VA, USA, 10–12 February 2003. [Google Scholar] [CrossRef]
- Lee, F.-H.; Lee, Y.; Chew, S.H.; Yong, K.-Y. Strength and Modulus of Marine Clay-Cement Mixes. J. Geotech. Geoenviron. Eng. 2005, 131, 178–186. [Google Scholar] [CrossRef]
- Terashi, M. An investigation of long term strength of lime and cement treated marine clay. Tech. Note Port Harbour Res. Inst. 1992, 1, 1–15. [Google Scholar]
- Yang, J.-J.; Sun, T.; Zhang, Y.-C.; Miao, J.-L. Deterioration of soil cement stabilized in corrosive site. Chin. J. Geotech. Eng. 2012, 34, 130–138. [Google Scholar]
- Yang, J.-J.; Zhang, Y.-C.; Yan, N.; Wang, X.-H. Laboratory Simulation Experiment on Deterioration of Cement Stabilized Soil in Site. J. Civ. Eng. Manag. 2012, 29, 1–5. [Google Scholar]
- Ikegami M, M.K.; Ichiba, T. Physical properties and strength of cement-treated marine clay after 20 years. In Proceedings of the57th Annual Meeting JSCE, Sapporo, Japan, 25–27 September 2002. [Google Scholar]
- Nishida, T.; Terashi, M.; Otsuki, N.; Ohishi, K. Prediction Method for Ca Leaching and Related Property Change of Cement Treated Soil. In Proceedings of the Third International Conference on Grouting and Ground Treatment, New Orleans, LA, USA, 10–12 February 2003. [Google Scholar] [CrossRef]
- Schmidhauser, C.; Casperson, G.F.; Bissell, M.J. Laboratory Tests on Long-Term Strength of Cement Treated Soil. In Proceedings of the International Conference on Grouting & Ground Treatment, New Orleans, LA, USA, 10–12 February 2003. [Google Scholar]
- Cui, X.; Zhang, N.; Li, S.; Zhang, J.; Tang, W. Deterioration of Soil-Cement Piles in a Saltwater Region and Its Influence on the Settlement of Composite Foundations. J. Perform. Constr. Facil. 2016, 30, 04014195. [Google Scholar] [CrossRef]
- Xin, H.; Building, C.R.I.O.; MMI, C.O. Strength Enhancement Effect of Ettringite in Soil Stabilization. In Proceedings of the Fourth Beijing International Cement and Concrete Conference, Beijing, China, 27–30 October 1998. [Google Scholar]
- Chew, S.H.; Kamruzzaman, A.H.M.; Lee, F.H. Physicochemical and Engineering Behavior of Cement Treated Clays. J. Geotech. Geoenviron. Eng. 2004, 130, 696–706. [Google Scholar] [CrossRef]
- Brandl, H. Long-term behaviour of soils stabilised with lime and with cement. Proc. Reg. Conf. Afr. 1999, 12, 219–232. [Google Scholar]
- Hara, H.; Hayashi, S.; Suetsugu, D.; Mizuki, M. Study on the Property Changes of Lime-Treated Soil Under Sea Water. Doboku Gakkai Ronbunshuu C 2010, 66, 21–30. [Google Scholar] [CrossRef]
- Specification for Mix Proportion Test of Cement-Mixed Soil(JGJ/T 233-2011); China Architecture & Building Press: Beijing, China, 2011.
- Sili, C. Influence of erosive ions on mechanical properties of cemented soil. J. Shenyang Univ. Technol. 2006, 4, 178–181. [Google Scholar]
- Chai, N.D.Q.J.C. Permeability of lime- and cement-treated clayey soils. Can. Geotech. J. 2015, 52, 1–7. [Google Scholar]
- Al-Mukhtar, M.; Khattab, S.; Alcover, J.F. Microstructure and geotechnical properties of lime-treated expansive clayey soil. Eng. Geol. 2012, 139–140, 17–27. [Google Scholar] [CrossRef]
- McCallister, L.; Petry, T. Leach Tests on Lime-Treated Clays. Geotech. Test. J. 1992, 15, 106–114. [Google Scholar] [CrossRef]



















| Specific Gravity of Soil Particle | Natural Moisture Content (%) | Plastic Limit (%) | Liquid Limit (%) |
|---|---|---|---|
| 2.66 | 73.6 | 28.7 | 50.3 |
| Ions | Total Salinity | ||||
| Concentration(mg/L) | 303.9 | 714.0 | 12407.5 | 2401.5 | 26287.4 |
| Ions | |||||||
| Content (g/L) | 16.7 | 9.4 | 1.2 | 2.1 | 0.34 | 0.35 | 0.05 |
| Cement Content | ki (×10−8 cm/s) | ku (×10−8 cm/s) | tc (d) | p |
|---|---|---|---|---|
| 7% | 0.07 | 15.10 | 74.54 | 8.31 |
| 10% | 0.03 | 10.81 | 75.72 | 7.82 |
| 15% | 0.50 | 9.74 | 78.90 | 7.71 |
© 2019 by the authors. Licensee MDPI, Basel, Switzerland. This article is an open access article distributed under the terms and conditions of the Creative Commons Attribution (CC BY) license (http://creativecommons.org/licenses/by/4.0/).
Share and Cite
Jin, Q.; Cui, X.; Su, J.; Lu, T.; Wang, J.; Han, R. Laboratory Measurement and Analysis of the Deteriorated Layer Permeability Coefficient of Soil-Cement Deteriorated in a Saline Environment. Materials 2019, 12, 2245. https://doi.org/10.3390/ma12142245
Jin Q, Cui X, Su J, Lu T, Wang J, Han R. Laboratory Measurement and Analysis of the Deteriorated Layer Permeability Coefficient of Soil-Cement Deteriorated in a Saline Environment. Materials. 2019; 12(14):2245. https://doi.org/10.3390/ma12142245
Chicago/Turabian StyleJin, Qing, Xinzhuang Cui, Junwei Su, Tu Lu, Jieru Wang, and Ruonan Han. 2019. "Laboratory Measurement and Analysis of the Deteriorated Layer Permeability Coefficient of Soil-Cement Deteriorated in a Saline Environment" Materials 12, no. 14: 2245. https://doi.org/10.3390/ma12142245
APA StyleJin, Q., Cui, X., Su, J., Lu, T., Wang, J., & Han, R. (2019). Laboratory Measurement and Analysis of the Deteriorated Layer Permeability Coefficient of Soil-Cement Deteriorated in a Saline Environment. Materials, 12(14), 2245. https://doi.org/10.3390/ma12142245
