Abstract
In this work, experiments were performed to investigate the activity and regeneration ability of iron-based oxygen carrier with high index facet (104) during chemical looping combustion (CLC), suggesting that morphological control of the oxygen carrier is very rewarding. Fe2O3(104) supported on Al2O3 was synthesized by a morphology controlled method to undertake maize stalk CLC experiments. Compared with the referenced Fe2O3/Al2O3 prepared by the impregnation method, Fe2O3(104)/Al2O3 presents better reactivity, showing higher fuel conversion rate and CO2 concentration in gaseous products. Further, structural characterizations, including X-ray diffraction (XRD), scanning electron microscopy (SEM) (LEO-1450) and Brunauer-Emmett-Teller (BET) analysis, and multi-cycles CLC reactions were performed to verify the good regeneration and stability of the Fe2O3(104)/Al2O3. The findings indicate that the Fe2O3(104)/Al2O3 is efficient when used for CLC of maize stalk.
1. Introduction
Chemical-looping combustion (CLC) is a novel and efficient technology with inherent separation of CO2, thus avoiding extra energy consumption [1,2]. The CLC system is usually composed of two reactors, namely fuel reactor (FR) and air reactor (AR) with oxygen carrier (OC) circulating constantly between them, as shown in Figure 1. In FR, oxygen carrier transfers lattice oxygen to fuel to generate CO2 and H2O. After condensation of H2O, a CO2 stream can be obtained. Subsequently, the reduced OC is transported back to the air reactor (AR) and oxidized by air for the next cycle of reaction.
Figure 1.
Schematic of chemical-looping combustion.
In a CLC system, an oxygen carrier is critical to obtain an excellent CLC performance for its vital functions of transferring oxygen and heat. In comparison with NiO, CuO et al., Fe2O3 presents lower redox reactivity, but Fe2O3 has become an investigation focus due to its advantages of low cost, high thermal stability, good resistance to sulfur [3], and no diauxic environmental pollution [4,5,6]. Fe2O3 doped by Ni, Cu, Co et al., loading Fe2O3 on inert support material, and combined iron based OCs have received great attentions because of their enhanced reactivity, reduction of carbon deposition, and good regeneration capacity [7,8,9]. Nevertheless, the high cost of preparing these multi-component iron-based OCs has inhibited their application in large scale CLC processes. Recently, our team has prepared Fe2O3 mainly closed by high index facet (104) as novel OC, and demonstrated its excellent performance in CLC with lignite theoretically and experimentally, which put forward a new thinking in developing efficient iron based OC in CLC [10].
During past years, extensive studies of CLC of gaseous fuels with iron oxide as OC have been conducted [11,12], and the CLC reaction mechanisms and CLC equipment are relatively clear. In recent years, CLC with solid fuels have received great interests for the rich solid fuel resources [13,14,15,16,17,18], and the feasibility has been confirmed by many experiments. Biomass direct combustion is thought to be a near zero emission of CO2 model since the CO2 released in combustion had previously been removed from the atmosphere during biomass growth. Consequently, using biomass as fuel in CLC will result in an interesting negative CO2 emission [19], which can greatly contribute to solve the climate change issue. Nevertheless, differing from the gaseous fuel CLC process, the solid fuel CLC process includes complex components of solid fuel [20], various volatile contents, and unknown pyrolysis mechanisms of these different reactants [21,22,23,24].
Despite the excellent performance of the Fe2O3(104) OC in CLC of lignite in our previous investigation [10], the CLC characteristic of this novel OC directly reacting with biomass is still unclear, which prevents the application of Fe2O3(104) OC in biomass CLC. Thus, it is very important to systematically investigate the reaction characteristic of Fe2O3(104) based CLC with biomass as fuel. Since corn is one of the main corps, maize stalk was chosen as fuel in our CLC experiments. Then the Al2O3-supported Fe2O3(104) was synthesized by morphology controlled method to do TGA experiments and FTIR analysis to evaluated its reactivity during maize stalk CLC. Further, CO, as the dominant combustible pyrolysis product of maize stalk [25,26], was selected as the model molecule of pyrolysis product to perform single and multi-cycle thermogravimetric analyzer (TGA) experiments so as to obtain a clear insight into the gas-solid reaction characteristic between pyrolysis products and OC. Moreover, the prepared fresh and re-used OCs were characterized by methods of X-ray Diffraction (XRD), scanning electron microscopy (SEM), Brunauer-Emmett-Teller (BET) analysis. Results demonstrate the high reactivity, efficient oxygen transfer capacity, and good regeneration ability of Fe2O3(104) during CLC, which will also provide useful information for developing novel OC and solid fuel CLC.
2. Experimental Methods
2.1. Oxygen Carrier Preparation
The Fe2O3(104)/Al2O3 (the mass fraction of Fe2O3 is 60 wt %) OC was synthesized by morphology controlled preparation method. 1.13 g Al2O3, 5.38 g FeCl3·6H2O, 11.6 g NaCl, and 10 mL PEG was sequentially added in 190 mL distilled water with stirring. During this process, the mixture was heated to 120 °C and kept for 1 h by adding 0.2 M Na2CO3 solution. After an additional 2 h of continuous stirring, the precipitate was filtered and washed. The filtrate was then dried overnight at 80 °C for several hours and calcined at 900 °C for 2 h. Finally, the synthesized Fe2O3(104)/Al2O3 samples were further ground and sieved to 0.1–0.2 mm for experiments. As a comparison, the referenced Fe2O3/Al2O3 (60 wt %) was prepared using the traditional method of impregnation reported in our previous work [27].
2.2. Biomass
In this work, we chose maize stalk as fuel. After being ground and sieved, the maize stalk sample in the size range of 0.1–0.2 mm was collected and used. The sieved fuel sample was characterized using proximate and ultimate analyses (Vario MACRO cube, Hanau, Germany). Results are listed in Table 1, which show that the volatile content of maize stalk is very high while the fixed carbon content is relatively small.
Table 1.
Proximate and ultimate analyses of maize stalk.
2.3. TGA Experiment and Characterization Methods
The reaction between Fe2O3(104)/Al2O3 and maize stalk at the mass ratio of 10:1 was conducted in a simultaneous TGA (TGq500, PerkinElmer, Boston, MA, USA) under nitrogen atmosphere. The mixture of maize stalk with Fe2O3(104)/Al2O3 was loaded to the ceramic pan of the TGA, and then heated from ambient to 800 °C at 15 °C/min and hold for 10 min to ensure the sufficient conversion of fuel. The flow rate of N2 was 25 mL/min and the total mass of mixture was 10 mg. As a comparison, reactions between maize stalk and Fe2O3/Al2O3 as well as Al2O3 were also performed under the same mass ratio and conditions. Gas phase products distribution emitted from TGA were further analyzed by FTIR spectrometer with the scanning range of 3500–1000 cm−1, and the resolution of 4 cm−1.
The temperature programed TGA experiments for CO (volume fraction of 30%) with the synthesized OCs were performed by heating from ambient to 800 °C with a heating rate of 20 °C/min, and the mass loss of OC was recorded. To study the regeneration capacity of Fe2O3(104)/Al2O3 OC, a multi-cycle experiment was conducted at 800 °C in TGA. Reduction and oxidation time were 15 min and 10 min, respectively, and between the reduction and oxidation stages, pure N2 was the inlet for 5 min to avoid the mixture of CO and air.
Furthermore, the fresh and the re-used OC were identified by methods of XRD (D/MAX-RB, Rigaku, Tokyo, Japan), SEM (LEO-1450, Carl Zeiss AG, Oberkochen, Germany), BET analysis (Autosorb-iQ-MP, Quantachrome, Boynton Beach, FL, USA).
3. Results and Discussion
3.1. Reaction Between OCs and Maize Stalk
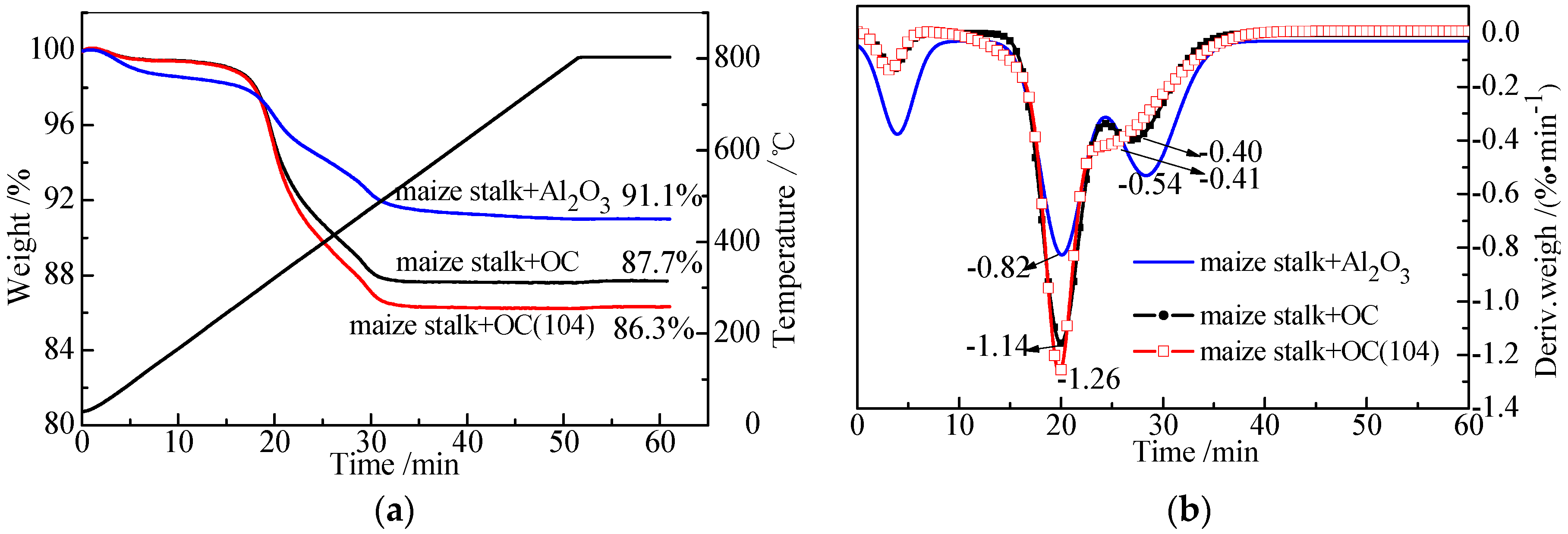
TGA experiments between maize stalk and Fe2O3(104)/Al2O3 were conducted to investigate the distinct reaction characteristics. As comparison, the TGA reaction of maize stalk with the referenced Fe2O3/Al2O3, and pyrolysis of maize stalk under the presence of Al2O3 were also studied for reference. Results of TG and DTG are displayed in Figure 2a,b respectively.
Figure 2.
Thermogravimetric (TG) and differential thermogravimetric (DTG) curves for different samples. (a) TG curves; (b) DTG curves.
According to the TG curve in Figure 2a, the pyrolysis reaction process between maize stalk and Al2O3 can be divided into three stages, namely: dehydration step, main pyrolysis step, and slight mass loss step [25]. Below 200 °C, dehydration occurs with 2 wt % moisture released, and the reason for mass loss larger than value listed in Table 1 can be chalked up to the good hydroscopicity of γ-Al2O3. From 200 °C to 500 °C, the pyrolysis stage happens, which can be attributed to the series reactions of lignin and cellulose in maize stalk. During this process, large amounts of volatile components emit, resulting in a big mass loss of 6.9 wt %. Meanwhile, this pyrolysis process experiences two distinct stages with characteristic temperatures Tm (the peak temperature in relative to the DTG maximum) around 320 °C and 450 °C, respectively. Over 500 °C, no obvious mass loss for maize stalk can be observed and the remaining weight is 91.9 wt %, which can be assigned to the inert material (Al2O3) and residue of the pyrolysis (such as ash and fixed carbon), consistent to the theoretical mass loss value according to Table 1.
Differing from maize stalk pyrolysis, reactions between OCs and maize stalk show larger mass loss with 12.3% for a (maize stalk + Fe2O3/Al2O3) system and 13.7% for a (maize stalk + Fe2O3(104)/Al2O3) system, indicating that OCs promote reactions in TGA. In particular, higher reactivity and oxygen transferring capacity can be obtained by the morphology controlled preparation method. Additionally, the reaction processes with OC also experiences three distinct stages and the mass loss rates are shown in Figure 2b. From Figure 2b, all the second characteristic peaks of these three samples occur around 320 °C, while the mass loss rate for the (Fe2O3(104)/Al2O3 + maize stalk) system is 1.26 wt %/min larger than the value (1.14 wt %/min) for the referenced system (Fe2O3/Al2O3 + maize stalk). Fe2O3(104)/Al2O3 presents a higher reactivity than Fe2O3(104)/Al2O3 for maize stalk CLC. As temperature increased, reactivity of OCs increases, which promotes the third Tm. Nevertheless, the mass loss rates decrease at the third characteristic Tm after addition of OCs. We speculate that the reaction rate may be limited by the little amount of fuel at the third stage, since larger consumption of the maize stalk happens with the presence of OCs than in the pyrolysis process with Al2O3 during the second reaction stage. In our previous experiment of CLC with lignite, better performance can also be obtained with Fe2O3(104)/Al2O3 as oxygen carrier [10]. Some experiments suggested that the solid-solid reaction between Fe2O3 and carbon could occur in TGA at 950 °C [28,29], whereas in our TGA experiment the mass loss attributed to the solid-solid reaction is negligible in Figure 2a after 30 min (around 500 °C). These may be caused by the lower reaction temperature (800 °C) and the tiny amount of fixed carbon in the mixture.
3.2. FTIR Analysis
After the TGA study on the reaction characteristics of maize stalk with Fe2O3(104)/Al2O3 and the referenced Fe2O3/Al2O3, their gaseous products distribution was further detected by FTIR spectrometer so as to gain more fundamental understanding on the related reaction mechanism. FTIR spectra of gaseous products corresponding to the second and third characteristic temperatures for TGA experiments are displayed in Figure 3, with absorbance as Y axis and wavenumber as X axis. According to previous investigations [25,30,31], 2324 cm−1, 2143 cm−1, 1300–1800 cm−1, 3400–3700 cm−1, and 2850–3200 cm−1 refer to the adsorption peak of CO2, CO, water, and methane, respectively. Besides, according to the monotone increasing functional correlation between concentration of gas and the absorbance, we can present the gas concentration by its absorbance. From Figure 3a, similar gas components can be observed for samples with OCs or Al2O3, but the addition of OCs results in far larger CO2 absorbance than value for maize stalk pyrolysis. The CO2 absorbance value for the mixture with Fe2O3(104)/Al2O3 (0.019) is 2.7 times as large as that for the mixture with Fe2O3/Al2O3 (0.008) and 6 times for maize stalk pyrolysis (0.003). Besides, CO is detected after adding OCs whereas nearly no CO can be found in the pyrolysis process of maize stalk. With temperature increase for maize stalk pyrolysis, CO is mainly caused by cracking and reforming of thermolabile carbonyl and ether groups can be detected, and a slight CH4 peak occurs. The main gas products are H2O, CO2, CO, CH4, and some organics [32]. Comparing the absorbance of CO2 for reactions of these three mixtures, the CO2 peak in sample with Fe2O3(104)/Al2O3 is at the highest, which indicates more CO2 can be generated due to the oxidation of pyrolysis products by Fe2O3(104)/Al2O3. FTIR results suggest that Fe2O3(104)/Al2O3 exhibits better reactivity and effectively improves the CO2 concentration in gas products. As shown in Figure 3b, CO is the dominant combustible pyrolysis product of maize stalk, corresponding to previous investigations [25,26]. Therefore, CLC reactions between CO and OCs would be further investigated in the following section in order to obtain a clear insight into the gas-solid reaction.
Figure 3.
IR spectra for thermogravimetric experiment gas products of different samples. (a) time corresponding to the second characteristic peaks of TG curves; (b) time corresponding to the third characteristic peaks of TG curves.
3.3. Reaction between OCs and CO
To obtain deeper understanding of the reaction characteristic of Fe2O3(104)/Al2O3 with pyrolysis products of maize stalk, we conducted temperature–programmed and isotherm TG experiments between CO (volume fraction of 30%) and Fe2O3(104)/Al2O3 as well as the referenced Fe2O3/Al2O3. Results of the temperature–programmed and isotherm experiments are illustrated in Figure 4a,b and Figure 5, respectively. In Figure 4a, reactions between OCs and CO are initiated from 376 °C. When temperature is below 500 °C, these two TG curves are nearly the same with Fe2O3 reduction into Fe3O4. As the temperature increases, reactivity of Fe2O3(104)/Al2O3 improves rapidly with the reduction of Fe3O4 into FeO at 32.5 min (638 °C) and then the further reduction of FeO into Fe above 638 °C. When the experiment is terminated, the final mass loss of 14.7% corresponds to a high conversion degree of 81.7% for Fe2O3(104)/Al2O3, suggesting that Fe2O3 is partially reduced into metallic Fe. However, the mass loss rate (2.16 wt %/min) for referenced Fe2O3(104)/Al2O3 (Figure 4b) can be observed, which implies that the reactivity of the referenced Fe2O3/Al2O3 is much lower than that of Fe2O3(104)/Al2O3 with presenting a rather small final mass loss of 4.9% and reaction rate of 0.85 wt %/min in Figure 4b. The higher conversion degree and reaction rate indicates that Fe2O3(104)/Al2O3 is more active than the referenced Fe2O3/Al2O3 during CO CLC process when temperature is higher than 500 °C.
Figure 4.
TG/DTG curves for reactions between CO and Fe2O3(104)/Al2O3 or referenced Fe2O3/Al2O3. (a) TG curves; (b) DTG curves.
Figure 5.
Isotherm thermogravimetric analyzer (TGA) experiments between CO and Fe2O3(104)/Al2O3 or referenced Fe2O3/Al2O3 at 800 °C.
In addition, previous experiments suggested that the reduction reaction of Fe2O3 into Fe3O4 is very fast, while the further reduction reaction from Fe3O4 to FeO and even from FeO to Fe is much slower [33,34]. In this work, despite the promoting effect of temperature increase on OC reactivity, the reaction rate of Fe2O3/Al2O3 at 688 °C is still lower than that at 397 °C, which suggests the reduction degree of Fe2O3 is the main reaction rate-determining factor for Fe2O3/Al2O3 OC. Nevertheless, the adverse effect of reduction degree increase of Fe2O3(104) OC on its reactivity is obviously smaller than the promoting effect of temperature increase, which is why the reaction rate of Fe2O3(104)/Al2O3 continues to increase at its high reduction degree. This phenomenon indicates that the Fe2O3(104) has better oxygen transfer capacity even at its high reduction degree stage, corresponding to our previous theoretical investigation [35], where the Fe2O3(104) surface can be deeply reduced into Fe while the deep reduction of Fe2O3(001) is difficult.
Figure 5 illustrates the isotherm TGA results of reaction between OCs and CO at 800 °C. Both the reactivities of Fe2O3(104)/Al2O3 and the referenced Fe2O3/Al2O3 are greatly enhanced by increasing temperature, and less than 4 min are consumed for complete reduction of these two OCs under the experiment temperature. In a fluidized system of CLC, Fe2O3~Fe3O4 is commonly used because of its good reactivity and CO2 selection rate [36]. Figure 5 shows the reduction time of Fe2O3 into Fe3O4 for the high index OC and the referenced OC is 9 and 19 s, respectively. Apparently, a faster reaction rate of Fe2O3(104)/Al2O3 can be obtained.
In previous investigations [37,38], the reaction for iron based OCs reduction into Fe3O4 is very quick (just consuming a few seconds at 950 °C). Despite a slightly longer reduction time required in the present work, we should recognize the fact that reaction temperature in our work is only 800 °C rather than 950 °C as used in the previous studies. Nonetheless, our prepared OC has very good reactivity. Additionally, our present work preliminarily attempts to apply the morphology controlled method in OC preparation aspect, further detailed properties of such OC obtained via surface-controlled preparation will be discussed in future investigations.
Experiments of OCs with maize stalk and CO (the dominant combustible pyrolysis component of maize stalk) suggest that the morphology controlled synthesized Fe2O3(104)/Al2O3 is extremely superior in reacting with maize stalk than the referenced Fe2O3/Al2O3. Based on the good reactivity and oxygen transfer capacity of Fe2O3(104)/Al2O3, as well as the CLC system design theorem put forward by Mattisson et al. [39], fewer OC inventory and lower OC transfer flow between the FR and AR will be required if Fe2O3(104)/Al2O3 is adopted as OC.
3.4. Repeated Cycle Test
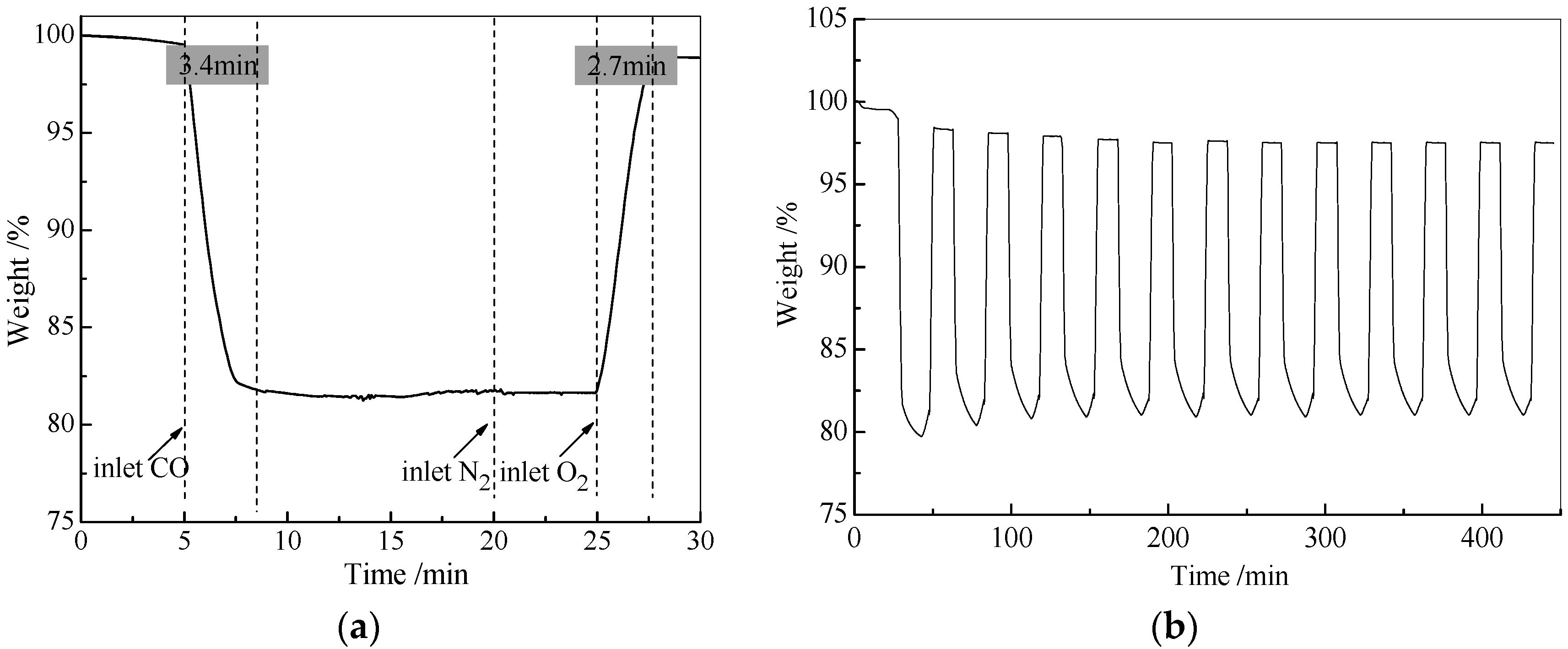
Despite the excellent reactivity and oxygen transfer capacity for Fe2O3(104)/Al2O3 in CLC process with maize stalk and CO, the good regenerativity of OC is still critical to reduce CLC cost. In this section, experiments of multiple redox cycles between CO and Fe2O3(104)/Al2O3 OC were performed in TGA at 800 °C to detect the stability of Fe2O3(104)/Al2O3. Results are illustrated in Figure 6.
Figure 6.
Redox cycle experiment for chemical looping combustion (CLC) of CO with Fe2O3(104)/Al2O3. (a) one cycle; (b) 12 cycles.
As observed from Figure 6a, the complete reduction time and oxidation time is 3.4 min and 2.7 min, respectively. Results show that the oxidation rate is greater than the reduction rate [29]. The prepared Fe2O3(104)/Al2O3 is active enough during both reduction and oxidation periods. In Figure 6b, after the initial three redox cycles, reactivity of OC becomes stable. The total mass loss is 16.51%, which suggests Fe2O3 is nearly completely reduced by CO. However, the final oxidized mass is stabilized to about 98% after several cycles. Similar to the reduction reaction mechanism model for iron based OC proposed by Cabello et al. [37], the outer layer of the reduced OC is first oxidize to Fe2O3 with forming a Fe2O3 layer, and then oxygen needs to diffuse into inner layer of OC by crossing the Fe2O3 layer. On the one hand, the investigation suggests that the oxidation process is mainly controlled by diffusional effects in the product layer [40], but on the other hand the large heat released by oxidation of metallic Fe to Fe2O3 can cause serious sinter [41] preventing diffusion of oxygen and causing a small amount of the inner OC (especially close to the interface between the active component and the Al2O3 supporter) which cannot be completely oxidized. Therefore, a slight weight loss of the regenerated OC in Figure 6 occurs. Still, most of the reduced OC is regenerated well and the regenerated OC is covered by Fe2O3 layer, as confirmed by the following XRD characterization. The multiple redox cycles experiments suggest the good reactivity stability of Fe2O3(104)/Al2O3 and the feasibility of morphological controlled preparation method in OC synthesis process.
To further clarify the stability of Fe2O3(104)/Al2O3, XRD, SEM, and BET analysis of the fresh and regenerated Fe2O3(104)/Al2O3 after 12 cycles are conducted and results are shown in Figure 7. Figure 7a,b suggest that all the XRD spectrum peaks of Fe2O3 correspond well with those of α-Fe2O3 (JCPDS card no. 33-0664), and the diffracted intensity of (104) peak is the strongest which means that the (104) surface is the dominant facet of fresh and regenerated oxygen carrier. The XRD spectrum is consistent to the {104} single crystal Fe2O3 synthesized in previous work of Zhu et al. [42]. Besides, all the narrow peaks, indicates that the crystallinity of synthesized Fe2O3(104)/Al2O3 is well, and no peaks of Al2O3 can be detected due to the metastable state and amorphous of Al2O3 formed at 900 °C [43,44]. In comparison with XRD spectrum of the fresh OC, little difference can be found for the regenerated OC in Figure 7b, suggesting the well regeneration property of the reduced Fe2O3(104)/Al2O3. Figure 7c,d show the SEM pictures of the fresh and regenerated Fe2O3(104)/Al2O3, respectively, where we can observe no significant agglomeration in the morphology. Both of the surface structures in Figure 7c,d are porous and rough with the specific surface areas of around 40 m2/g. Characterization analysis verifies the good regeneration capacity of Fe2O3(104)/Al2O3.
Figure 7.
XRD spectrum and SEM pictures of the fresh and the regenerated Fe2O3(104)/Al2O3 and Fe2O3/Al2O3. (a,b) XRD spectrum of the fresh and regenerated Fe2O3(104)/Al2O3; (c,d) SEM pictures of the fresh and regenerated Fe2O3(104)/Al2O3; (e,f) XRD spectrum of the fresh and regenerated Fe2O3/Al2O3; (g,h) SEM pictures of the fresh and regenerated Fe2O3/Al2O3.
For comparison, the XRD spectrum and SEM pictures of the fresh and regenerated Fe2O3/Al2O3 are displayed in Figure 7e–h, respectively. A good regeneration ability can be seen for Fe2O3/Al2O3 as well, and the surface structures of the referenced OC is porous with a similar specific surface area value to Fe2O3(104)/Al2O3 OC. The similar surface structures of these two OCs suggests that the better reactivity of Fe2O3(104)/Al2O3 is mainly contributed by the high index facet of Fe2O3.
4. Conclusions
TG-FTIR experiments have been conducted to detect the CLC characteristic of maize stalk with Fe2O3(104)/Al2O3 synthesized by the morphology controlled preparation method. Fe2O3(104)/Al2O3 shows higher reactivity than the referenced Fe2O3/Al2O3 synthesized by the impregnation method, leading to higher carbon dioxide concentration in gas phase products. Further, the distinct reaction characteristics of OCs with CO (the dominant combustible pyrolysis product of maize stalk) and the stability of Fe2O3(104)/Al2O3 were detected. Results show that iron-based OC with high index facet exhibits higher oxygen transfer capacity and excellent renewability compared to the referenced iron-based OC. Morphology controlled preparation can act as an efficient method for developing novel OCs for CLC.
Acknowledgments
The authors wish to thank the Fundamental Research Funds for the Central Universities (2016YQ07, 2014ZD14), National Natural Science Foundation of China (51106051, 51206044, 51476056), and the Project supported by the Funds for Creative Research Groups of China (Grant No. 51121062).
Author Contributions
Wu Qin and Changfeng Lin are equal contributors to the experiments and writing manuscript; the other authors participated in the discussion, and to some extent in the writing and editing of the manuscript.
Conflicts of Interest
The authors declare no conflict of interest.
References
- Richter, H.J.; Knoche, K.F. Reversibility of Combustion Processes; Oxford University Press: Washington, DC, USA, 1983; pp. 71–85. [Google Scholar]
- Jin, H.G.; Wang, B.Q. Principle of cascading utilization of chemical energy. J. Eng. Thermophys. 2004, 25, 181–184. [Google Scholar]
- Cabello, A.; Dueso, C.; García-Labiano, F.; Adánez, J. Performance of a highly reactive impregnated Fe2O3/Al2O3 oxygen carrier with CH4 and H2S in a 500 Wth CLC unit. Fuel 2014, 121, 117–125. [Google Scholar] [CrossRef]
- Abad, A.; Mattisson, T.; Lyngfelt, A.; Johansson, M. The use of iron oxide as oxygen carrier in a chemical–looping reactor. Fuel 2007, 8, 1021–1035. [Google Scholar] [CrossRef]
- Hossain, M.M.; Sedor, K.E.; de Lasa, H.I. Co-Ni/Al2O3 oxygen carrier for fluidized bed chemical-looping combustion: Desorption kinetics and metal-support interaction. Chem. Eng. Sci. 2007, 62, 5464–5472. [Google Scholar] [CrossRef]
- Tang, M.C.; Xu, L.; Fan, M.H. Progress in oxygen carrier development of methane-based chemical-looping reforming: A review. Appl. Energy 2015, 151, 143–156. [Google Scholar] [CrossRef]
- Zhu, X.; Li, K.Z.; Wei, Y.G.; Wang, H.; Sun, L.Y. Chemical-looping steam methane reforming over a CeO2–Fe2O3 oxygen carrier: Evolution of its structure and reducibility. Energy Fuels 2014, 28, 754–760. [Google Scholar] [CrossRef]
- Azimi, G.; Leion, H.; Mattisson, T.; Rydén, M.; Snijkers, F.; Lyngfelt, A. Mn–Fe oxides with support of MgAl2O4, CeO2, ZrO2 and Y2O3–ZrO2 for chemical-looping combustion and chemical-looping with oxygen uncoupling. Ind. Eng. Chem. Res. 2014, 53, 10358–10365. [Google Scholar] [CrossRef]
- Liu, L.; Zachariah, M.R. Enhanced performance of alkali metal doped Fe2O3 and Fe2O3/Al2O3 composites as oxygen carrier material in chemical looping combustion. Energy Fuels 2013, 27, 4977–4983. [Google Scholar] [CrossRef]
- Qin, W.; Lin, C.F.; Cheng, W.L.; Xiao, X.B. Enhancing the activity of iron based oxygen carrier via surface controlled preparation for lignite chemical-looping combustion. Chem. J. Chin. Univ. 2015, 36, 116–123. [Google Scholar]
- Ma, J.; Zhao, H.; Tian, X.; Wei, Y.; Zhang, Y.; Zheng, C. Continuous operation of interconnected fluidized bed reactor for chemical looping combustion of CH4 using hematite as oxygen carrier. Energy Fuels 2015, 29, 3257–3267. [Google Scholar] [CrossRef]
- Hossain, M.M.; de Lasa, H.I. Chemical-looping combustion (CLC) for inherent CO2 separations–A review. Chem. Eng. Sci. 2008, 63, 4433–4451. [Google Scholar] [CrossRef]
- Wei, G.; He, F.; Zhao, Z.; Huang, Z.; Zheng, A.; Zhao, K.; Li, H. Performance of Fe–Ni bimetallic oxygen carriers for chemical looping gasification of biomass in a 10 kW th interconnected circulating fluidized bed reactor. Int. J. Hydrog. Energy 2015, 40, 16021–16032. [Google Scholar] [CrossRef]
- Thunman, H.; Lind, F.; Breitholtz, C.; Berguerand, N.; Seemann, M. Using an oxygen–carrier as bed material for combustion of biomass in a 12-MWth circulating fluidized-bed boiler. Fuel 2013, 113, 300–309. [Google Scholar] [CrossRef]
- Lyngfelt, A. Chemical-looping combustion of solid fuels-status of development. Appl. Energy 2014, 113, 1869–1873. [Google Scholar] [CrossRef]
- Shen, L.; Wu, J.; Xiao, J. Chemical-looping combustion of biomass in a 10 kWth reactor with iron oxide as an oxygen carrier. Energy Fuels 2009, 23, 2498–2505. [Google Scholar] [CrossRef]
- Adánez-Rubio, I.; Abad, A.; Gayán, P. Biomass combustion with CO2 capture by chemical looping with oxygen uncoupling (CLOU). Fuel Process. Technol. 2014, 124, 104–114. [Google Scholar] [CrossRef]
- Luo, M.; Wang, S.; Wang, L. Experimental investigation of co-combustion of coal and biomass using chemical looping technology. Fuel Process. Technol. 2013, 110, 258–267. [Google Scholar] [CrossRef]
- Mendiara, T.; Abad, A.; de Diego, L.F. Biomass combustion in a CLC system using an iron ore as an oxygen carrier. Int. J. Greenh. Gas Control 2013, 19, 322–330. [Google Scholar] [CrossRef]
- Wang, P.; Massoudi, M. Slag behavior in gasifiers Part I: Influence of coal properties and gasification conditions. Energies 2013, 6, 784–806. [Google Scholar] [CrossRef]
- Leion, H.; Mattisson, T.; Lyngfelt, A. Solid fuels in chemical-looping combustion. Int. J. Greenh. Gas Control 2008, 2, 180–193. [Google Scholar] [CrossRef]
- Leion, H.; Jerndal, E.; Steenari, B.M.; Hermansson, S.; Mattisson, T.; Lyngfelt, A. Solid fuels in chemical looping combustion using oxide scale and unprocessed iron ore oxygen carriers. Fuel 2009, 88, 1945–1954. [Google Scholar] [CrossRef]
- Dennis, J.S.; Scott, S.A. In situ gasification of a lignite coal and CO2 separation using chemical looping with a Cu-based oxygen carrier. Fuel 2010, 89, 1623–1640. [Google Scholar] [CrossRef]
- Dennis, J.S.; Műller, C.R.; Scott, S.A. In situ gasification and CO2 separation using chemical looping with a Cu-based oxygen carrier: Performance with bituminous coals. Fuel 2010, 89, 2353–2364. [Google Scholar] [CrossRef]
- Ma, Z.; Chen, D.; Gu, J.; Bao, B.; Zhang, Q. Determination of pyrolysis characteristics and kinetics of palm kernel shell using TGA–FTIR and model-free integral methods. Energy Convers. Manag. 2015, 89, 251–259. [Google Scholar] [CrossRef]
- Yang, H.; Yan, R.; Chen, H.; Lee, H.D.; Zheng, C. Characteristics of hemicellulose, cellulose and lignin pyrolysis. Fuel 2007, 86, 1781–1788. [Google Scholar] [CrossRef]
- Dong, C.Q.; Liu, X.L.; Qin, W.; Lu, Q.; Wang, X.Q.; Shi, S.M.; Yang, Y.P. Deep reduction behavior of iron oxide and its effect on direct CO oxidation. Appl. Sur. Sci. 2012, 258, 2562–2569. [Google Scholar] [CrossRef]
- Mendiara, T.; García-Labiano, F.; Gayan, P.; Abad, A.; de Diego, L.F.; Adanez, J. Evaluation of the use of different coals in chemical looping combustion using a bauxite waste as oxygen carrier. Fuel 2013, 106, 814–826. [Google Scholar] [CrossRef]
- Rubel, A.; Liu, K.; Neathery, J.; Taulbee, D. Oxygen carriers for chemical looping combustion of solid fuels. Fuel 2009, 88, 876–884. [Google Scholar] [CrossRef]
- Giuntoli, J.; de Jong, W.; Arvelakis, S.; Spliethoff, H.; Verkooijen, A.H.M. Quantitative and kinetic TG-FTIR study of biomass residue pyrolysis: Dry distiller’s grains with solubles (DDGS) and chicken manure. J. Anal. Appl. Pyrolysis 2009, 85, 301–312. [Google Scholar] [CrossRef]
- Tao, L.; Zhao, G.; Qian, J.; Qin, Y. TG-FTIR characterisation of pyrolysis of waste mixtures of paint and tar slag. J. Hazard. Mater. 2010, 175, 754–761. [Google Scholar] [CrossRef] [PubMed]
- Fu, P.; Hu, S.; Xiang, J.; Li, P.; Huang, D.; Jiang, L.; Zhang, A.; Zhang, J. FTIR study of pyrolysis products evolving from typical agricultural residues. J. Anal. Appl. Pyrolysis 2010, 88, 117–123. [Google Scholar] [CrossRef]
- Zhang, Y.X.; Doroodchi, E.; Moghtaderi, B. Reduction Kinetics of Fe2O3/Al2O3 by ultralow concentration methane under conditions pertinent to chemical looping combustion. Energy Fuels 2015, 29, 337–345. [Google Scholar] [CrossRef]
- Adanez, J.; Abad, A.; Garcia-Labiano, F.; Gayan, P.; de Diego, L.F. Progress in chemical-looping combustion and reforming technologies. Prog. Energy Combust. Sci. 2012, 38, 215–282. [Google Scholar] [CrossRef]
- Qin, W.; Lin, C.F.; Long, D.T.; Xiao, X.B.; Dong, C.Q. Reaction activity and deep reduction reaction mechanism of a high index iron oxide surface in chemical looping combustion. Acta Phys. Chim. Sin. 2015, 31, 667–675. [Google Scholar]
- Abad, A.; García-Labiano, F.; de Diego, L.F.; Gayán, P.; Adánez, J. Reduction kinetics of Cu-, Ni-, and Fe-based oxygen carriers using syngas (CO + H2) for chemical-looping combustion. Energy Fuels 2007, 21, 1843–1853. [Google Scholar] [CrossRef]
- Cabello, A.; Abad, A.; García-Labiano, F.; Gayán, P.; de Diego, L.F.; Adánez, J. Kinetic determination of a highly reactive impregnated Fe2O3/Al2O3 oxygen carrier for use in gas-fueled chemical looping combustion. Chem. Eng. J. 2014, 258, 265–280. [Google Scholar] [CrossRef]
- Abad, A.; Adánez, J.; García-Labiano, F.; de Diego, L.F.; Gayán, P.; Celaya, J. Mapping of the range of operational conditions for Cu-, Fe-, and Ni-based oxygen carriers in chemical-looping combustion. Chem. Eng. Sci. 2007, 62, 533–549. [Google Scholar] [CrossRef]
- Mattisson, T.; Lyngfelt, A.; Cho, P. The use of iron oxide as oxygen carrier in chemical-looping combustion of methane with inherent separation of CO2. Fuel 2001, 80, 1953–1962. [Google Scholar] [CrossRef]
- Sun, K.; Ishii, M.; Takahashi, R.; Yagi, J.I. Oxidation Kinetics of Cement-bonded Natural Ilmenite Pellets. ISIJ Int. 1992, 32, 489–495. [Google Scholar] [CrossRef]
- Cho, P. Development and Characterisation of Oxygen-Carrier Materials for Chemical-Looping Combustion; Chalmers University of Technology: Göteborg, Sweden, 2005. [Google Scholar]
- Liu, X.H.; Zhang, J.; Wu, S.H.; Yang, D.J.; Liu, P.R.; Zhang, H.M.; Wang, S.R.; Yao, X.D.; Zhu, G.S.; Zhao, H.J. Single crystal α-Fe2O3 with exposed {104} facets for high performance gas sensor applications. RSC Adv. 2012, 2, 6178–6184. [Google Scholar] [CrossRef]
- Levin, I.; Brandon, D. Metastable alumina polymorphs: Crystal structures and transition sequences. J. Am. Ceram. Soc. 1998, 81, 1995–2012. [Google Scholar] [CrossRef]
- Macedo, M.I.F.; Bertran, C.A.; Osawa, C.C. Kinetics of the γ→α-alumina phase transformation by quantitative X-ray diffraction. J. Mater. Sci. 2007, 42, 2830–2836. [Google Scholar] [CrossRef]
© 2016 by the authors; licensee MDPI, Basel, Switzerland. This article is an open access article distributed under the terms and conditions of the Creative Commons Attribution (CC-BY) license (http://creativecommons.org/licenses/by/4.0/).






