Next Article in Journal
Energy and Exergy Analysis and Optimization of Combined Heat and Power Systems. Comparison of Various Systems
Next Article in Special Issue
Experimental Characterization of the Poisoning Effects of Methanol-Based Reformate Impurities on a PBI-Based High Temperature PEM Fuel Cell
Previous Article in Journal
Dispatch Method for Independently Owned Hydropower Plants in the Same River Flow
Previous Article in Special Issue
An Equivalent Electrical Circuit Model of Proton Exchange Membrane Fuel Cells Based on Mathematical Modelling
 
 
Font Type:
Arial Georgia Verdana
Font Size:
Aa Aa Aa
Line Spacing:
Column Width:
Background:
Article

A Revisit to the Hydrogen Desorption/Absorption Behaviors of LiAlH4/LiBH4: Effects of Catalysts

by
Pattaraporn Sridechprasat
1,
Labhatrada Phuirot
1,
Pramoch Rangsunvigit
1,2,*,
Boonyarach Kitiyanan
1,2 and
Santi Kulprathipanja
3
1
The Petroleum and Petrochemical College, Chulalongkorn University, Bangkok 10330, Thailand
2
Center of Excellence for Petrochemical and Materials Technology, Chulalongkorn University, Bangkok 10330, Thailand
3
UOP, A Honeywell Company, 50 East Algonquin Rd., Des Plaines, IL 60017, USA
*
Author to whom correspondence should be addressed.
Energies 2012, 5(9), 3691-3700; https://doi.org/10.3390/en5093691
Submission received: 31 July 2012 / Revised: 5 September 2012 / Accepted: 19 September 2012 / Published: 21 September 2012
(This article belongs to the Special Issue Hydrogen Energy and Fuel Cells)

Abstract

:
The hydrogen desorption/absorption behaviors of LiAlH4/LiBH4 with a focus on the effects of catalysts, namely TiCl3, TiO2, VCl3, and ZrCl4, were investigated using a thermal-volumetric apparatus. The hydrogen desorption was performed from room temperature to 300 °C with a heating rate of 2 °C min−1. The LiAlH4–LiBH4 mixture with a molar ratio of 2:1 decomposed between 100 and 220 °C, and the hydrogen desorption capacity reached up to 6.6 wt %. Doping 1 mol % of a catalyst to the mixture resulted in the two-step decomposition and a decrease in the hydrogen desorption temperature. All the doped samples provided lower amountz of desorbed hydrogen than that obtained from the undoped one. No hydrogen absorption was observed under 8.5 MPa of hydrogen pressure and 300 °C for 6 h. Despite the fact each of the catalysts may affect the hydrogen storage behaviors of the mixture differently, none resulted in a change in the sample reversibility.

1. Introduction

For decades, concerns about limited fossil fuel reservoirs have increased alarmingly. In addition, increases in fossil-fuel consumption are causing global environmental issues due to CO2 emissions. As the most promising alternative fuel, hydrogen is attractive as a clean energy source. Unlike petroleum, hydrogen can be produced from renewable sources such as water, sunlight, and biomass, thereby reducing the growing dependence on fossil fuels [1,2]. Furthermore, it can generate electricity by reacting with oxygen in PEM fuel cells with only water as the by-product without greenhouse gas emissions for hydrogen-fueled vehicles. Storage of hydrogen for on-board applications, however, is difficult because of its physical characteristics such as its very light weight. Despite the availability of a few hydrogen storage methods, solid-state hydrogen storage has been considered as a promising method to employ for on-board hydrogen storage [3,4].
Li-based complex hydrides such as lithium aluminum hydride (LiAlH4) and lithium borohydride (LiBH4) have been considered as promising hydrogen storage materials due to their high theoretical hydrogen capacities of about 10.5 and 18.5 wt %, respectively [5,6,7]. For LiAlH4, the balling time for sample preparation and transition metals were reported to affect its decomposition behaviors [6,8,9]. Even though LiBH4 has a high hydrogen desorption capacity, it is a very stable and needs a very high temperature, up to 600 °C, for any significant amount of desorbed hydrogen to be observed [10]. Jin et al. [5] reported that a LiBH4 and LiAlH4 mixture added with 3 mol % TiF3 stored hydrogen up to 7.2 wt % with a decomposition temperature between 177 and 247 °C. In addition, LiAlH4+2LiBH4 doped with 5 mol % TiF3 showed the best hydrogen storage properties, with the decrease in the onset temperature of the first and second dehydrogenation steps [11]. Moreover, it could absorb 3.76 and 4.78 wt % in 1 and 14 h, respectively, at 600 °C and 4 MPa hydrogen.
In this work, LiBH4 and LiAlH4 were selected as the base materials for hydrogen storage. Mixtures of these hydrides were prepared by mechanical ball-milling. A small amount of Ti-based catalysts (TiCl3 and TiO2), VCl3, and ZrCl4 were added during the milling process to study their effects on the hydrogen storage capacity, decomposition temperature, kinetics, and reversibility of hydrogen desorption/absorption. Phase transformations during the hydrogen desorption/absorption were also investigated.

2. Results and Discussion

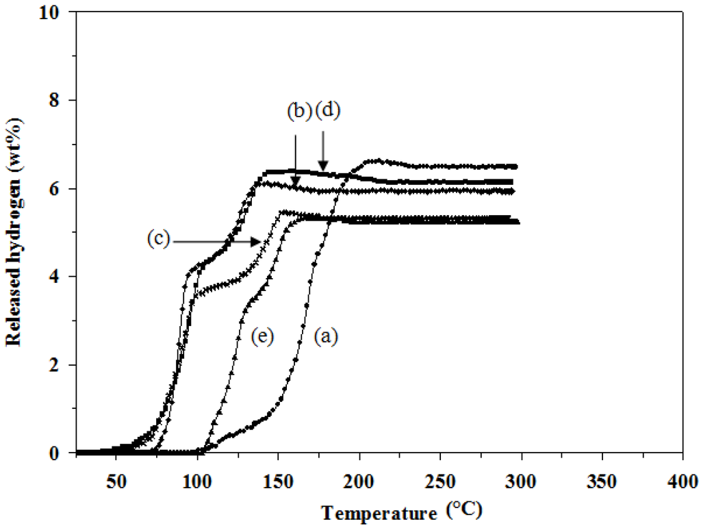
Various molar ratios of LiAlH4 and LiBH4 in the mixtures were studied in order to understand effects of the hydride combination on the amount of desorbed hydrogen and desorption temperature. As shown in Figure 1, LiAlH4 (Figure 1a) decomposes in two steps starting at 145 °C and continues to 220 °C with a total hydrogen amount of 7.6 wt %. LiBH4 (Figure 1g) starts to decompose a small amount of hydrogen at a low temperature of 95 °C, which is believed to occur due to the reduction in the crystallite size and hydrogen desorption distance, and the distortion of hydride structure during the high energy milling process [12]. LiBH4 starts to release 1.0 wt % hydrogen at a temperature higher than 285 °C, which is the melting point of LiBH4. In the case of the LiAlH4 and LiBH4 mixtures (Figure 1b–f), all mixtures release lower amounts of hydrogen than LiAlH4. A 2:1 molar ratio of LiAlH4:LiBH4 (2LiAlH4+LiBH4) (Figure 1b) provides the highest amount of hydrogen at 6.6 wt %, and it desorbs hydrogen in the temperature range of 100–220 °C. The hydrogen desorption temperatures of the LiAlH4/LiBH4 mixture correspond with the data is previous works [11]. The amounts of desorbed hydrogen and temperature of each mixture are also shown in Table 1. However, the desorbed samples cannot re-absorb hydrogen under the tested conditions, as we will further discuss in the phase transformation section.
Figure 1. Hydrogen desorption profiles of: (a) as-milled LiAlH4; (b) 2LiAlH4+LiBH4; (c) 3LiAlH4+LiBH4; (d) 4LiAlH4+LiBH4; (e) LiAlH4+LiBH4; (f) LiAlH4+2LiBH4; and (g) as-milled LiBH4.
Figure 1. Hydrogen desorption profiles of: (a) as-milled LiAlH4; (b) 2LiAlH4+LiBH4; (c) 3LiAlH4+LiBH4; (d) 4LiAlH4+LiBH4; (e) LiAlH4+LiBH4; (f) LiAlH4+2LiBH4; and (g) as-milled LiBH4.
Energies 05 03691 g001
Table 1. Hydrogen desorption temperature and amounts of desorbed hydrogen of LiAlH4–LiBH4 mixtures.
Table 1. Hydrogen desorption temperature and amounts of desorbed hydrogen of LiAlH4–LiBH4 mixtures.
SampleDesorption temperature (°C)Desorption amount (wt %)
InitialFinal
LiAlH41452207.6
1:11052205.2
2:11002206.6
3:1952206.1
4:11052205.8
1:2952103.3
LiBH475370 *1.0 *
* The final desorption temperature of LiBH4 (370 °C) according to the operating condition of this work.
One mol % of TiO2, TiCl3, VCl3, or ZrCl4 were also added to the 2LiAlH4+LiBH4 mixture in order to investigate effects of the transition metals on the hydrogen desorption/absorption behaviors. Figure 2 shows the two-step decomposition reactions and the decrease in the desorption temperature for all doped mixtures. The mixture in the presence of TiCl3 (Figure 2d) starts to decompose and release hydrogen at the lowest temperature (40 °C), which is lower than the undoped one by 60 °C. In addition, 1 mol % TiCl3–2LiAlH4+LiBH4 provides the highest amount of hydrogen desorption among the doped samples, 6.4 wt %. A possible reason is the fact that TiCl3 could facilitate the crystallite size reduction of the hydride during the milling process resulting in the hydrogen storage improvement [13]. However, the hydrogen desorption capacities of all the doped mixtures are significantly lower than that of the undoped one. The results are summarized in Table 2.
Figure 2. Hydrogen desorption profiles of: (a) 2LiAlH4+LiBH4; (b) 1 mol % ZrCl4–2LiAlH4+LiBH4; (c) 1 mol % VCl3–2LiAlH4+LiBH4; (d) 1 mol % TiCl3–2LiAlH4+LiBH4; and (e) 1 mol % TiO2–2LiAlH4+LiBH4.
Figure 2. Hydrogen desorption profiles of: (a) 2LiAlH4+LiBH4; (b) 1 mol % ZrCl4–2LiAlH4+LiBH4; (c) 1 mol % VCl3–2LiAlH4+LiBH4; (d) 1 mol % TiCl3–2LiAlH4+LiBH4; and (e) 1 mol % TiO2–2LiAlH4+LiBH4.
Energies 05 03691 g002
Table 2. Hydrogen desorption temperature and amounts of desorbed hydrogen of 2LiAlH4+LiBH4 mixed with 1 mol % TiO2, TiCl3, VCl3, and ZrCl4 in the first (R1) and second (R2) steps.
Table 2. Hydrogen desorption temperature and amounts of desorbed hydrogen of 2LiAlH4+LiBH4 mixed with 1 mol % TiO2, TiCl3, VCl3, and ZrCl4 in the first (R1) and second (R2) steps.
SampleDesorption temperature (°C)Desorption amount (wt %)Total (wt %)
R1R2FinalR1R2
2LiAlH4+LiBH4100-220--6.6
TiO2–2LiAlH4+LiBH41051381903.51.85.3
TiCl3–2LiAlH4+LiBH4401101704.42.06.4
VCl3–2LiAlH4+LiBH4531101553.71.85.5
ZrCl4–2LiAlH4+LiBH4721051504.31.86.1
To investigate effects of an amount of catalyst on the hydrogen desorption properties of the 2LiAlH4+LiBH4 mixture, 3 and 5 mol % TiCl3 were further added. The results, as shown in Table 3 and Figure 3, show that the hydrogen desorption capacities of all TiCl3-doped mixtures are significantly lower than that of the undoped one. The hydrogen desorption capacity decreases with the increase in the doping amount, 6.4, 5.6, and 2.7 wt % for 1, 3, and 5 mol % doping, respectively. The desorption temperature of all TiCl3-doped samples are lower than the undoped one by 40–70 °C; however, there is no significant difference in the desorption temperature among the TiCl3-doped samples. Jin et al. [5] reported that the mixture of LiAlH4+2.2LiBH4 together with 3 mol % TiF3 started to decompose between 177 °C and 247 °C and the weight loss reached up to 7.2 wt % at 387 °C. Mao et al. [11] also reported that LiAlH4+2LiBH4 doped with 5 mol % TiF3 could decrease the onset temperature of the first and second decomposition steps by 64 and 150 °C, respectively. They further studied that doping with 5 mol % TiO2 decreased the temperature of the first and second decomposition steps by 27 and 50 °C, respectively. In this work, no hydrogen absorption was observed for any of the doped samples at 300 °C and 8.5 MPa hydrogen for 6 h. Jin et al. [5] confirmed that the dehydrogenated product of 3 mol% TiF3–LiAlH4+2.2LiBH4 could be hydrogenated to about 5.1 wt % H2 at 350 °C and 70 bar hydrogen for 6 h. But the reaction kinetics was rather slow. Mao et al. [11] reported that 5 mol % TiF3–LiAlH4+2LiBH4 absorbed 3.76 wt % and 4.78 wt % in 1 h and 14 h, respectively, at 600 °C and 4 MPa hydrogen.
Table 3. Hydrogen desorption temperature and amounts of desorbed hydrogen of TiCl3-doped 2LiAlH4+LiBH4 in the first (R1) and second (R2) steps.
Table 3. Hydrogen desorption temperature and amounts of desorbed hydrogen of TiCl3-doped 2LiAlH4+LiBH4 in the first (R1) and second (R2) steps.
SampleDesorption temperature (°C)Desorption amount (wt %)Total (wt %)
R1R2FinalR1R2
2LiAlH4+LiBH4100-220--6.6
1 mol % TiCl3–2LiAlH4+LiBH4401101704.42.06.4
3 mol % TiCl3–2LiAlH4+LiBH460951703.12.55.6
5 mol % TiCl3–2LiAlH4+LiBH4451001501.41.32.7
Figure 3. Hydrogen desorption profiles of: (a) 2LiAlH4+LiBH4; (b) 1 mol % TiCl3–2LiAlH4+LiBH4; (c) 3 mol % TiCl3–2LiAlH4+LiBH4; and (d) 5 mol % TiCl3–2LiAlH4+LiBH4.
Figure 3. Hydrogen desorption profiles of: (a) 2LiAlH4+LiBH4; (b) 1 mol % TiCl3–2LiAlH4+LiBH4; (c) 3 mol % TiCl3–2LiAlH4+LiBH4; and (d) 5 mol % TiCl3–2LiAlH4+LiBH4.
Energies 05 03691 g003
Phase transformation of the 2:1 molar ratio of LiAlH4:LiBH4 mixture after the milling process is similar to LiAlH4, without any peak of LiBH4. In the case of the undoped mixture, as shown in Figure 4a, only LiAlH4 is left after the 120 min milling process. In the case of the doped mixture, as shown in Figure 4b–e, Al is observed after the milling process. It is possible that the milling process and a dopant might destabilize the structure of LiAlH4 [9]. After the hydrogen desorption at 300 °C (Figure 5), Al and LiH are present in both undoped and doped mixtures, without the formation of AlB2. It is the AlB2 phase that is claimed to facilitate the reversibility of LiAlH4 and LiBH4 [11,14,15,16]. This could be a possible reason why the LiAlH4/LiBH4 mixture is not reversible. In addition, as shown in Figure 6, the XRD patterns of the desorbed samples in the presence of a higher amount of the catalyst (3 or 5 mol % TiCl3) exhibit new peaks, which are those of LiCl [17]. The formation of LiCl might deteriorate the hydrogen desorption ability of the samples, consequently decreasing the hydrogen desorption capacity.
Figure 4. XRD patterns of milled samples for 120 min: (a) 2LiAlH4+LiBH4; (b) 1 mol % ZrCl4–2LiAlH4+LiBH4; (c) 1 mol % VCl3–2LiAlH4+LiBH4; (d) 1 mol % TiCl3–2LiAlH4+LiBH4; and (e) 1 mol % TiO2–2LiAlH4+LiBH4.
Figure 4. XRD patterns of milled samples for 120 min: (a) 2LiAlH4+LiBH4; (b) 1 mol % ZrCl4–2LiAlH4+LiBH4; (c) 1 mol % VCl3–2LiAlH4+LiBH4; (d) 1 mol % TiCl3–2LiAlH4+LiBH4; and (e) 1 mol % TiO2–2LiAlH4+LiBH4.
Energies 05 03691 g004
Figure 5. XRD patterns of desorbed samples at 300 °C: (a) 2LiAlH4+LiBH4; (b) 1 mol % ZrCl4–2LiAlH4+LiBH4; (c) 1 mol % VCl3–2LiAlH4+LiBH4; (d) 1 mol % TiCl3–2LiAlH4+LiBH4; and (e) 1 mol % TiO2–2LiAlH4+LiBH4.
Figure 5. XRD patterns of desorbed samples at 300 °C: (a) 2LiAlH4+LiBH4; (b) 1 mol % ZrCl4–2LiAlH4+LiBH4; (c) 1 mol % VCl3–2LiAlH4+LiBH4; (d) 1 mol % TiCl3–2LiAlH4+LiBH4; and (e) 1 mol % TiO2–2LiAlH4+LiBH4.
Energies 05 03691 g005
Figure 6. XRD patterns of: (a) milled 3 mol % TiCl3–2LiAlH4+LiBH4; (b) milled 5 mol % TiCl3–2LiAlH4+LiBH4; (c) desorbed 3 mol % TiCl3–2LiAlH4+LiBH4; (d) desorbed 5 mol % TiCl3–2LiAlH4+LiBH4.
Figure 6. XRD patterns of: (a) milled 3 mol % TiCl3–2LiAlH4+LiBH4; (b) milled 5 mol % TiCl3–2LiAlH4+LiBH4; (c) desorbed 3 mol % TiCl3–2LiAlH4+LiBH4; (d) desorbed 5 mol % TiCl3–2LiAlH4+LiBH4.
Energies 05 03691 g006
The LiAlH4 and LiBH4 mixtures doped with TiO2, TiCl3, VCl3, or ZrCl4 partially decompose during the milling process because the structure of LiAlH4 is unstable and the additives might destabilize its structure [9]. These metal catalysts in the hydride systems are reduced by the metal hydrides and transformed to TM-neutral [6,18], as shown in Reactions (1) and (2), where TM is the transition metal, M is the metal, and X can be either V or Ti:
Ti O 2 +   4 MH       2 M 2 O     +   Ti   +   H 2
XC l 3 +   3 MH       3 MCl     +   X   +   3 2 H 2
It may be this reduction that increases the hydrogen desorption capacity of LiAlH4 as compared to the undoped one. Moreover, after the decomposition, these catalysts can form M2O and MCl, which are left in the sample as stable materials and cannot further decompose [7]. In this work, MCl formation in Reaction (2) is LiCl, the presence of which might cause the decrease in the hydrogen desorption capacity with the increase in the TiCl3 amount.

3. Experimental Section

All sample handling was carried out in a nitrogen-filled glove box. LiBH4 (95%, Aldrich Chemical), LiAlH4 (95%, Acros), zirconium (IV) chloride (99.5% ZrCl4, Aldrich Chemicals), vanadium (III) chloride (>99% VCl3, MERCK), and titanium dioxide (TiO2, Degüssa) were used without further purification. Titanium (III) chloride (TiCl3) powder was prepared by evaporation of 12% titanium (III) chloride solution in hydrochloric acid obtained from Riedel-de Haën. The mixing procedure was completed in a centrifugal ball mill at 300 rpm for 120 min with a ball­to­powder ratio of 100:1. After that, approximately 350 mg of a sample was immediately loaded into the high-pressure stainless reactor. Then, it was placed in the thermo­volumetric apparatus. The desorption was performed from the room temperature to 300 °C (350 °C for LiBH4) with a heating rate of 2 °C min−1. The sample was held at this condition until no further desorption was observed. The absorption was carried out at 300 °C and 8.5 MPa hydrogen for 6 h. X-ray diffraction measurements (Rigaku, model: D/max-2200) were used in order to identify phase transformations during the hydrogen desorption/absorption of the hydride systems at room temperature over a range of diffraction angles from 20° to 90° with CuK-α radiation (40 kV, 30 mA). The XRD sample plate is covered with a Kapton tape to prevent oxide contamination. The tape shows a diffraction peak at around 28°.

4. Conclusions

The hydrogen desorption/absorption behaviors of undoped and doped LiAlH4/LiBH4 mixtures were studied. A 2:1 LiAlH4:LiBH4 molar ratio released the highest amount of hydrogen at 6.6 wt % in the temperature range of 100–220 °C. In the case of the doped systems, 1 mol % of metal catalysts (TiCl3, TiO2, VCl3, or ZrCl4) was doped into the mixture. The mixture with TiCl3 desorbed hydrogen at the lowest temperature (40 °C). Furthermore, the increase in the amount of TiCl3 from 1 to 3 and 5 mol % decreased the hydrogen desorption capacity. No hydrogen absorption was observed for any of the doped LiAlH4–LiBH4 samples. In addition, the XRD patterns indicated the presence of Al and LiH in the mixture after the desorption corresponding to the decomposition of LiAlH4.

Acknowledgments

The financial support for this work was provided by the 90th Anniversary of Chulalongkorn University Fund (Ratchadaphisek Somphot Endowment); Royal Jubilee Ph.D. Program (Grant No. PHD/0249/2549), Thailand Research Fund; National Science and Technology Development Agency (Reverse Brain Drain Project); The Petroleum and Petrochemical College (PPC); The Climate Change Cluster (CC557A), National Research University Program, Office of Higher Education Commission (OHEC); Center of Excellence for Petrochemical and Materials Technology, Chulalongkorn University; and UOP, A Honeywell Company, Des Plaines, IL, USA.

References

  1. ProQuest. Available online: http://www.csa.com/discoveryguides/hydrogen/overview.php (accessed on 21 April 2009).
  2. Mitch, J. Filling up with hydrogen. 22 August 2005. Chemical and Engineering News Website. Available online: http://www.cen-online.org (accessed on 22 August 2009).
  3. U.S. Department of Energy. Hydrogen and Fuel Cells Program. Available online: http://www.hydrogen.energy.gov/storage (accessed on 21 April 2009).
  4. Zhou, L. Progress and problems in hydrogen storage. Renew Sustain. Energy Rev. 2004, 9, 395–408. [Google Scholar] [CrossRef]
  5. Jin, S.A.; Shim, J.H.; Cho, Y.W.; Yi, K.W.; Zabarac, O.; Fichtnerc, M. Reversible hydrogen storage in LiBH4–Al–LiH composite powder. Scr. Mater. 2008, 58, 963–965. [Google Scholar] [CrossRef]
  6. Blanchard, D.; Brinks, H.W.; Hauback, B.C.; Norby, P. Desorption of LiAlH4 with Ti- and V-based additives. Mater. Sci. Eng. 2004, 108, 54–59. [Google Scholar] [CrossRef]
  7. Isobe, S.; Ichikawa, T.; Hanada, N.; Leng, H.Y.; Fichtner, M.; Fuhr, O.; Fujii, H. Effect of Ti catalyst with different chemical form on Li–N–H hydrogen storage properties. J. Alloy Compd. 2005, 404–406, 439–442. [Google Scholar]
  8. Easton, D.S.; Schneibel, J.H.; Speakman, S.A. Factors affecting hydrogen release from lithium alanate (LiAlH4). J. Alloy Compd. 2005, 398, 245–248. [Google Scholar] [CrossRef]
  9. Suttisawat, Y.; Rangsanvigit, P.; Kitayanan, B.; Muangsin, N.; Kulprathipanja, S. Catalytic effect of Zr and Hf on the hydrogen desorption/absorption of NaAlH4 and LiAlH4. Int. J. Hydrogen Energy 2007, 32, 1277–1285. [Google Scholar] [CrossRef]
  10. Züttel, A.; Wenger, P.; Rentsch, S.; Sudan, P.; Mauron, Ph.; Emmenegger, Ch. LiBH4 a new hydrogen storage material. J. Power Sources 2003, 118, 1–7. [Google Scholar] [CrossRef]
  11. Mao, J.F.; Guo, Z.P.; Liu, H.K.; Yu, X.B. Reversible hydrogen storage in titanium-catalyst LiAlH4-LiBH4 system. J. Alloy Compd. 2009, 487, 434–438. [Google Scholar] [CrossRef]
  12. Sridechprasat, P.; Suttisawat, Y.; Rangsunvigit, P.; Kitiyanan, B.; Kulprathipanja, S. Catalyzed LiBH4 and MgH2 mixture for hydrogen storage. Int. J. Hydrogen Energy 2010, 36, 1200–1205. [Google Scholar] [CrossRef]
  13. Varin, R.A.; Zbroniec, L.; Polanski, M.; Bystrzycki, J. A review of recent advances on the effects of microstructural refinement and nano-catalytic additives on the hydrogen storage properties of metal and complex hydrides. Energies 2011, 4, 1–25. [Google Scholar]
  14. Mao, J.F.; Yu, X.B.; Guo, Z.P.; Poh, C.K.; Liu, H.K.; Wu, Z.; Ni, J. Improvement of the LiAlH4−NaBH4 system for reversible hydrogen storage. Phys. Chem. C 2009, 113, 10813–10818. [Google Scholar] [CrossRef]
  15. Mao, J.F.; Guo, Z.P.; Leng, H.Y.; Wu, Z.; Guo, Y.H.; Yu, X.B.; Liu, H.K. Reversible hydrogen storage in destabilized LiAlH4−MgH2−LiBH4 ternary-hydride system doped with TiF3. Phys. Chem. C 2010, 114, 11643–11649. [Google Scholar] [CrossRef]
  16. Yu, X.B.; Xia, G.L.; Guo, Z.P.; Liu, H.K. Dehydrogenation/rehydrogenation mechanism in aluminum destabilized lithium borohydride. J. Mater. Res. 2009, 24, 2720–2727. [Google Scholar] [CrossRef]
  17. Kamali, A.R.; Fray, D.J.; Schwandt, C. Thermokinetic characteristics of lithium chloride. J. Therm. Anal. Calorim. 2011, 104, 619–626. [Google Scholar] [CrossRef]
  18. Siangsai, A.; Suttisawat, Y.; Sridechprasat, P.; Rangsunvigit, P.; Kitiyanan, B.; Kulprathipanja, S. Effect of Ti compounds on hydrogen desorption/absorption of LiNH2/LiAlH2/MgH2. J. Chem. Eng. Jpn. 2010, 43, 95–98. [Google Scholar] [CrossRef]

Share and Cite

MDPI and ACS Style

Sridechprasat, P.; Phuirot, L.; Rangsunvigit, P.; Kitiyanan, B.; Kulprathipanja, S. A Revisit to the Hydrogen Desorption/Absorption Behaviors of LiAlH4/LiBH4: Effects of Catalysts. Energies 2012, 5, 3691-3700. https://doi.org/10.3390/en5093691

AMA Style

Sridechprasat P, Phuirot L, Rangsunvigit P, Kitiyanan B, Kulprathipanja S. A Revisit to the Hydrogen Desorption/Absorption Behaviors of LiAlH4/LiBH4: Effects of Catalysts. Energies. 2012; 5(9):3691-3700. https://doi.org/10.3390/en5093691

Chicago/Turabian Style

Sridechprasat, Pattaraporn, Labhatrada Phuirot, Pramoch Rangsunvigit, Boonyarach Kitiyanan, and Santi Kulprathipanja. 2012. "A Revisit to the Hydrogen Desorption/Absorption Behaviors of LiAlH4/LiBH4: Effects of Catalysts" Energies 5, no. 9: 3691-3700. https://doi.org/10.3390/en5093691

APA Style

Sridechprasat, P., Phuirot, L., Rangsunvigit, P., Kitiyanan, B., & Kulprathipanja, S. (2012). A Revisit to the Hydrogen Desorption/Absorption Behaviors of LiAlH4/LiBH4: Effects of Catalysts. Energies, 5(9), 3691-3700. https://doi.org/10.3390/en5093691

Article Metrics

Back to TopTop