Water Transfer Characteristics during Methane Hydrate Formation Processes in Layered Media
Abstract
:1. Introduction
2. Procedure
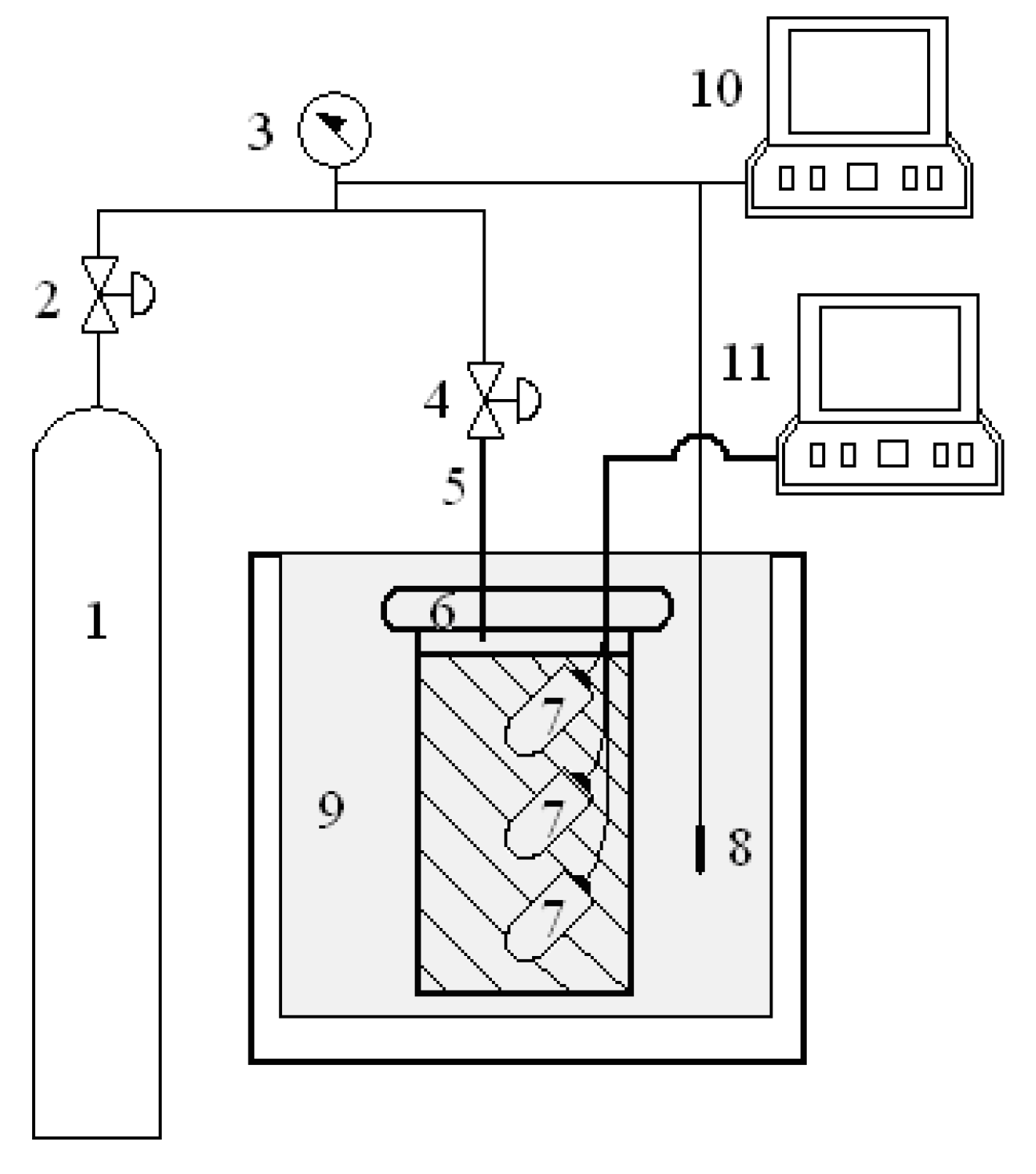
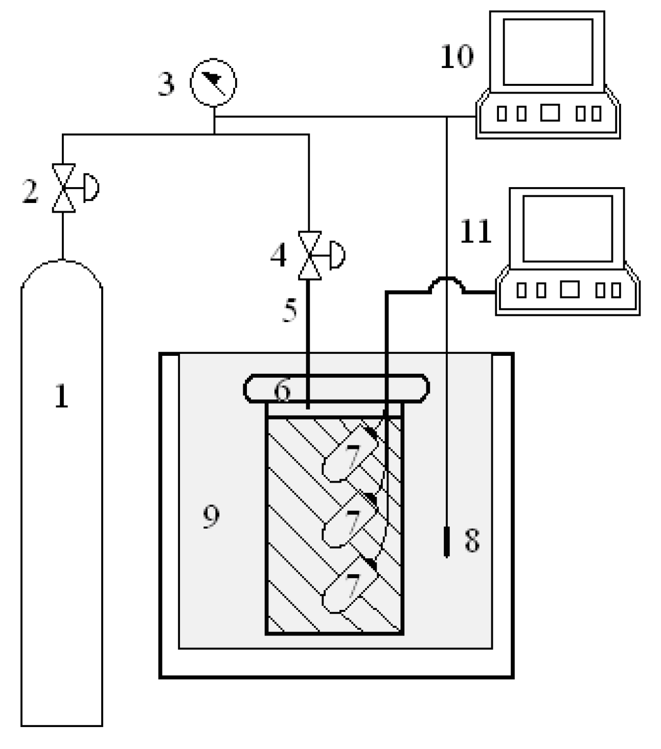
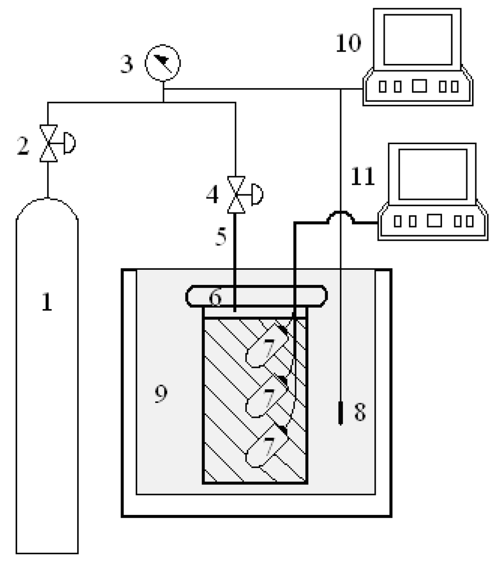
2.1. Experimental Apparatus

2.2. Experimental Procedures
| Media | Particle size (mm) | Each Layer Weight (g) | Each LayerHeight (cm) | Saturated Water Content (%) | Half-Saturated Water Content (%) |
|---|---|---|---|---|---|
| Coarse sand | 1.0–2.0 | 520.0 | 4.0 | 14.0 | 7.0 |
| Loess | 34.5 × 10−3 | 410.0 | 4.0 | 35.0 | 17.0 |
3. Results and Discussion
3.1. Methane Hydrate Formation Configuration

3.2. Methane Hydrate Formation Inside the Layered Medium
3.2.1. Top Coarse Sand, Middle Loess and Bottom Coarse Sand Layered Medium

3.2.2. Top Loess, Middle Coarse Sand and Bottom Loess Layered Medium

4. Conclusions
Acknowledgements
References
- Koh, C.A. Towards a fundamental understanding of natural gas hydrates. Chem. Soc. Rev. 2002, 31, 157–167. [Google Scholar] [CrossRef] [PubMed]
- Sloan, E.D. Fundamental principles and applications of natural gas hydrates. Nature 2003, 426, 353–359. [Google Scholar] [CrossRef] [PubMed]
- Turner, D.; Sloan, E.D. Hydrate Phase Equilibria Measurements and Predictions in Sediments. In Proceedings of the Fourth International Conference on Gas Hydrates, Yokohama, Japan, 19–23 May 2002.
- Handa, Y.P.; Stupin, D. Thermodynamic properties and dissociation characteristics of methane and propane hydrates in 70-Å-radius silica gel pores. J. Phys. Chem. 1992, 96, 8599–8603. [Google Scholar] [CrossRef]
- Melnikov, V.; Nesterov, A. Modeling of Gas Hydrate Formation in Porous Medium. In Proceedings of the Second International Conference on Gas Hydrates, Toulouse, France, 2–6 June 1996.
- Melnikov, V.P.; Nesterov, A.N. Gas hydrate formation in mineralized pore water. Earth Cryosphere 2001, 5, 3–14. [Google Scholar]
- Henry, P.; Thomas, M.; Clennell, M.B. Formation of natural gas hydrates in marine sediments 2, thermodynamic calculations of stability conditions in porous sediments. J. Geophys. Res. 1999, 104, 23005–23012. [Google Scholar] [CrossRef]
- Clarke, M.A.; Pooladi-Darvish, M.; Bishnoi, P.R. A method to predict equilibrium conditions of gas hydrate formation in porous medium. Ind. Eng. Chem. Res. 1999, 38, 2485–2490. [Google Scholar] [CrossRef]
- Uchida, T.; Ebinuma, T.; Ishizaki, T. Dissociation condition measurements of methane hydrate in confined small pores of porous glass. J. Phys. Chem. B 1999, 103, 3659–3662. [Google Scholar] [CrossRef]
- Uchida, T.; Ebinuma, T.; Takeya, S.; Nagao, J.; Narita, H. Effects of pore sizes on dissociation temperatures and pressures of methane, carbon dioxide and propane hydrate in porous media. J. Phys. Chem. B 2002, 106, 820–826. [Google Scholar] [CrossRef]
- Uchida, T.; Takeya, S.; Chuvilin, E.M.; Nagao, J.; Yakushev, V.S.; Istomin, V.A.; Minagawa, H.; Ebinuma, T.; Narita, H. Decomposition of methane hydrates in sand, sandstone, clays, and glass beads. J. Geophys. Res. 2004, 109, B05206.1–B05206.12. [Google Scholar]
- Clennell, M.B.; Hovland, M.; Booth, J.S.; Henry, P.; Winters, W.J. Formation of natural gas hydrates in marine sediments 1, conceptual model of gas hydrate growth conditioned by host sediment properties. J. Geophys. Res. 1999, 104, 22985–23003. [Google Scholar] [CrossRef]
- Ostergaard, K.K.; Anderson, R.; Llamedo, M.; Tohidi, B. Hydrate phase equilibrium in porous media: Effect of pore size and salinity. Terra Nova 2002, 14, 307–312. [Google Scholar] [CrossRef]
- Anderson, R.; Llamedo, M.; Tohidi, B.; Burgass, R.W. Characteristics of clathrate hydrate equilibrium in mesopores and interpretation of experimental data. J. Phys. Chem. A 2003, 107, 3500–3506. [Google Scholar] [CrossRef]
- Anderson, R.; Llamedo, M.; Tohidi, B.; Burgass, R.W. Experimental measurement of methane and carbon dioxide clathrate hydrate equilibrium in mesoporous silica. J. Phys. Chem. B 2003, 107, 3507–3514. [Google Scholar] [CrossRef]
- MacDonald, I.R.; Guninasso, N.L.; Sassen, R.; Brooks, J.M.; Lee, L.; Scott, K.T. Gas hydrate that breaches the sea floor on the continental slope of the Gulf of Mexico. Geology 1994, 22, 699–702. [Google Scholar] [CrossRef]
- Pearson, C.F.; Halleck, P.M.; McGuire, P.L.; Hermes, R.; Mathews, M. Natural gas hydrates: A review of in situ properties. J. Phys. Chem. 1983, 87, 4180–4185. [Google Scholar] [CrossRef]
- Chuvilin, E.M.; Yakushev, V.S.; Perlova, E.V. Experimental study of gas hydrate formation in porous media. In Advances in Cold-Region Thermal Engineering and Sciences; Springer: Berlin, Germany, 1999; Volume 533, pp. 431–440. [Google Scholar]
- Kneafsey, T.J.; Tomutsa, L.; Moridis, G.J.; Seol, Y.; Freifeld, B.M.; Taylor, C.E.; Gupta, A. Methane hydrate formation and dissociation in a partially saturated core-scale sand sample. J. Pet. Sci. Eng. 2007, 56, 108–126. [Google Scholar] [CrossRef]
- Jin, S.; Takeya, S.; Hayashi, J.; Nagao, J.; Kamata, Y.; Ebinuma, T. Structure Analyses of Methane Hydrate Sediments by Microfocus X-ray CT. In Proceedings of the Fifth International Conference on Gas Hydrates, Trondheim, Norway, 12–16 June 2005.
- Kawasaki, T.; Tsuchiya, Y.; Nakamizu, M. Observation of Methane Hydrate Dissociation Behavior in Methane Hydrate Bearing Sediments by X-ray CT Scanner. In Proceedings of the Fifth International Conference on Gas Hydrates, Trondheim, Norway, 12–16 June 2005.
- Zhang, P.; Wu, Q.B.; Pu, Y.B.; Jiang, G.L.; Zhan, J.; Wang, Y.M. Water transfer characteristics during methane hydrate formation and dissociation processes inside saturated sand. J. Nat. Gas Chem. 2010, 19, 71–76. [Google Scholar] [CrossRef]
- Zhang, P.; Wu, Q.B.; Jiang, G.L.; Zhan, J.; Wang, Y.M. Water transfer characteristics in the vertical direction during methane hydrate formation and dissociation processes inside non-saturated media. J. Nat. Gas Chem. 2010, 19, 139–145. [Google Scholar] [CrossRef]
- Zhang, P.; Wu, Q.B.; Wang, Y.M. Comparison of the water change characteristics between the formation and dissociation of methane hydrate and the freezing and thawing of ice in sand. J. Nat. Gas Chem. 2009, 18, 205–210. [Google Scholar] [CrossRef]
- Deng, Y.S.; Xu, X.Z. Hydraulic conductivity of unsaturated soil and its changing regularity in saturated soil after freezing-thawing cycles. J. Glaciol. Geocryol. 1991, 13, 51–59. [Google Scholar]
- Sloan, E.D. Clathrate Hydrates of Natural Gases, 2nd ed.; CRC Press: New York, NY, USA, 1998. [Google Scholar]
© 2011 by the authors; licensee MDPI, Basel, Switzerland. This article is an open access article distributed under the terms and conditions of the Creative Commons Attribution license (http://creativecommons.org/licenses/by/3.0/).
Share and Cite
Zhang, P.; Wu, Q.; Pu, Y.; Deng, Y. Water Transfer Characteristics during Methane Hydrate Formation Processes in Layered Media. Energies 2011, 4, 1129-1137. https://doi.org/10.3390/en4081129
Zhang P, Wu Q, Pu Y, Deng Y. Water Transfer Characteristics during Methane Hydrate Formation Processes in Layered Media. Energies. 2011; 4(8):1129-1137. https://doi.org/10.3390/en4081129
Chicago/Turabian StyleZhang, Peng, Qingbai Wu, Yibin Pu, and Yousheng Deng. 2011. "Water Transfer Characteristics during Methane Hydrate Formation Processes in Layered Media" Energies 4, no. 8: 1129-1137. https://doi.org/10.3390/en4081129
APA StyleZhang, P., Wu, Q., Pu, Y., & Deng, Y. (2011). Water Transfer Characteristics during Methane Hydrate Formation Processes in Layered Media. Energies, 4(8), 1129-1137. https://doi.org/10.3390/en4081129
