Next Article in Journal
An Economic Analysis of Solar Energy Generation Policies in the UAE
Next Article in Special Issue
Demagnetization Modeling and Analysis for a Six-Phase Surface-Mounted Field-Modulated Permanent-Magnet Machine Based on Equivalent Magnetic Network
Previous Article in Journal
Improving the Bio-Oil Quality of Residual Biomass Pyrolysis by Chemical Activation: Effect of Alkalis and Acid Pre-Treatment
Previous Article in Special Issue
Research on High-Torque-Density Design for Axial Modular Flux-Reversal Permanent Magnet Machine
 
 
Font Type:
Arial Georgia Verdana
Font Size:
Aa Aa Aa
Line Spacing:
Column Width:
Background:
Article

Design and Optimization of Linear Permanent Magnet Vernier Generator for Direct Drive Wave Energy Converter

1
School of Electrical Engineering and Automation, Harbin Institute of Technology, Harbin 150001, China
2
State Grid Hangzhou Power Supply Company, Hangzhou 310000, China
*
Author to whom correspondence should be addressed.
Energies 2023, 16(7), 3164; https://doi.org/10.3390/en16073164
Submission received: 11 March 2023 / Revised: 24 March 2023 / Accepted: 27 March 2023 / Published: 31 March 2023

Abstract

A novel linear permanent magnet vernier generator (LPMVG) for small-power off-grid wave power generation systems is proposed in this paper. Firstly, in order to reduce the cogging force and the inherent edge effect of the linear generator, a staggered tooth modular structure is proposed. Secondly, in order to improve the output power and efficiency of the LPMVG and reduce the fluctuation coefficient of electromagnetic force, the relationship between the parameters of the generator is studied, and a method combining multi-objective optimization and single parameter scanning based on the response surface model and particle swarm optimization algorithm is proposed to obtain the optimal structural parameters of the generator. Thirdly, the output power and efficiency of the optimized generator are calculated and analyzed based on the two-dimensional finite element method, and the effectiveness of the multi-objective optimization design method based on the response surface model and particle swarm optimization algorithm is verified. Finally, a prototype is developed, and the calculated results and the measured results are shown to be in good agreement.

1. Introduction

Traditional fossil energy releases greenhouse gases such as carbon dioxide in the process of consumption, causing environmental problems. It has become a top priority to vigorously develop and research renewable energies such as wave energy, solar energy, and wind energy. As the most potentially valuable form of renewable energy, the importance of wave energy is self-evident [1]. The current wave power generation system faces problems such as the use of complex conversion devices, low power density, high costs, and difficult maintenance. In order to improve the efficiency of wave energy, the direct-drive wave power generation system is adopted, which eliminates the growth rate, hydraulic energy storage, and other mechanisms, and reduces the size, weight, and cost of wave energy conversion equipment [2,3].
In recent years, many scholars have studied the wave energy generator. The primary permanent magnet vernier hybrid linear generator for wave power generation was invented and developed in [4]. The fault-tolerant modular primary permanent magnet linear generator was proposed; this generator has the advantages of simple secondary structure, low cogging force, good sinusoidal voltage waveform during power generation, and good power generation characteristics at low speed [5,6]. It is especially suitable for direct drive wave power generation. The novel partitioned stator flux-reversal linear generator is proposed for the linear direct drive wave power generation system. The new structure has low cogging force, high permanent magnet utilization, and high efficiency under load [7]. A novel linear permanent magnet vernier generator suitable for low speeds is proposed, which is composed of a tubular stator and a tubular translator. The generator can offer the advantages of high-force density and large no-load EMF [8].
In this paper, the staggered tooth module LPMVG is proposed. Based on the principle of magnetic field modulation, the generator generates a harmonic magnetic field with rapid change, has the characteristics of low speed and high thrust, and improves the power density. The staggered tooth modular of LPMVG is proposed in order to reduce the cogging force and the inherent edge end effect of the wave generator. The working principle of modularization is analyzed, and the formula of edge force is derived. The influence of a staggering angle on generator output characteristics is simulated and analyzed, and the optimal staggering angle is determined. Multi-objective optimization is adopted to optimize the output power, efficiency, and electromagnetic force fluctuation coefficient of the staggered tooth module LPMVG. The output power, efficiency, and electromagnetic force fluctuation coefficient before and after optimization are compared, and the optimal results are selected as the structural parameters of the generator. Comparing the output performance of the generator before and after optimization, the effectiveness of the optimization method based on particle swarm optimization and single parameter scanning is verified.

2. Principle and Deign of Generator

2.1. Structural Parameters of LPMVG

This paper proposes a bilateral linear permanent magnet vernier generator, as shown in Figure 1. The generator adopts the double secondary mode, which makes the unilateral normal forces at both ends offset each other and fundamentally eliminates the adverse factors of the normal force on the generator [9].

2.2. Working Principle of Generator

It is necessary to make some ideal assumptions before analyzing the working principle of the LPMVG: (1) The hysteresis loss and eddy current loss of the generator are not considered; (2) the influence of core saturation is ignored; (3) the relative permeability of the permanent magnet is consistent with the vacuum permeability. The Fourier series form of the magneto motive force FPM generated by the permanent magnet on the armature tooth can be expressed as:
F PM ( x ) = n , odd F n cos [ n p PM 2 π x L p ]
where Fn is the harmonic amplitude, Lp is the primary length, and pPM is the effective pole pair of the permanent magnet.
The Fourier form of the total magnetic conductivity of the generator is:
Λ ( x , t ) = Λ 0 + m = 1 Λ m cos [ m n t 2 π L p ( x v p t x 0 ) ]
where Λ0 is the amplitude of the fundamental wave of magnetic conductivity; Λm is the harmonic amplitude of magnetic conductivity; nt is the number of secondary effective teeth; and vp is the primary speed.
The air gap flux density generated by the permanent magnet at the primary teeth of the generator can be expressed as the product of the magneto motive force and the total magnetic conductivity. According to (1) and (2), the air gap flux density of the generator can be expressed as
B ( x , t ) = F PM ( x ) Λ ( x , t ) = n , odd F n Λ 0 cos [ n p PM 2 π x L p ] + 1 2 n , odd m = 1 F n Λ m cos [ 2 π x L p ( n p PM + m n t ) 2 π m n t ( v p t + x 0 ) L p ] + 1 2 n , odd m = 1 F n Λ m cos [ 2 π x L p ( n p PM m n t ) + 2 π m n t ( v p t + x 0 ) L p ]
The lower the order of the effective harmonic, the higher the amplitude; so in general, n = 1, m = 1 is selected, and the polar logarithm of the effective harmonic at this time can be expressed as
p 1 , 1 = | p PM n t |
It can be seen from the previous analysis that when the number of harmonic poles generated by the armature winding in the air gap is the same as the number of effective harmonic poles generated by the permanent magnet, the fluctuation of the generator output electromagnetic force is the smallest. There is a certain ratio between the generator effective harmonic speed and the generator primary movement speed, as shown in (5).
v p = n t p 1 , 1 v r = G t v r
As shown in Figure 2, the air gap flux density generated by the permanent magnet in the air gap of the effective length of the generator can be obtained by Fourier decomposition of the air gap flux density. The pole number of the permanent magnet is 18, and a large second harmonic component is also generated in the air gap. The air gap flux density of the generator when only the armature windings is considered is shown in Figure 3. It can be clearly seen from the Fourier decomposition that the second harmonic of the magnetic field generated by the armature winding is the main component and produces a higher 18th harmonic. The effective number of secondary teeth in the generator design is 20. Through simulation analysis, it can be seen that the relationship between the three satisfies (4). At the same time, it also proves that the air gap magnetic field of the generator is jointly affected by the permanent magnet and armature winding during operation, and it also proves the correctness of the magnetic field modulation principle.

3. Design of Staggered Tooth Modular Generator

3.1. Structure of Modular LPMVG

A modular structure is proposed to reduce the cogging force of the linear permanent magnet vernier wave generator [10].

3.2. Cogging Force of Actuator Modularization

The edge force of each module of the generator is as follows
{ F A _ e n d = n = 1 F n sin ( 2 n π x τ s ) F B _ e n d = n = 1 F n sin ( 2 n π x τ s + 2 π 3 ) F C _ e n d = n = 1 F n sin ( 2 n π x τ s 2 π 3 )
where n is the number of harmonics, x is the relative position of the secondary and primary teeth, and τ s is the pole pitch of the secondary tooth. Therefore, the total edge cogging force of the LPMVG is the sum of three module cogging forces, and can be expressed by
F total _ e n d = F A _ e n d + F B _ e n d + F C _ e n d

3.3. Modular Simulation Verification

The simulation results of cogging force and total cogging force of each module of the LPMVG are shown in Figure 4. It can be seen that the peak-to-peak cogging force is reduced from 377 N to 135 N, and the cogging force is greatly reduced.
The simulation results are shown in Figure 5, Figure 6 and Figure 7. It can be seen that when the no-load back EMF is basically unchanged, the peak-to-peak cogging force is reduced from 216 N to 135 N, and the waveform distortion rate is changed from 13.06% to 4.85%, which greatly improves the performance of the generator.

3.4. Optimal Design and Analysis of Secondary Staggered Tooth

As shown in Figure 8, the staggered tooth LPMVG was proposed based on the original modular LPMVG in order to lower the peak-to-peak cogging force of the LPMVG. The bilateral secondary tooth is staggered by a certain distance, which causes the primary tooth permanent magnet array to be staggered by a certain phase. The phase difference can be expressed as “ d · π / τ ”. The simulation results of cogging force, no-load back EMF, and output power and efficiency of the generator are shown in Table 1. Finally, considering the output power, no-load back EMF, cogging force, normal force, and efficiency of the generator, the bilateral tooth staggering angle of the generator is selected as 30°.

4. Multi-Objective Optimization of Staggered Tooth Module LPMVG (STMLPMVG)

4.1. Topology and Simulation Variables

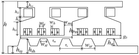
As shown in Figure 9, 11 design variables of the STMLPMVG are presented in this paper, which also includes other constant structural parameters related to the generator. The multi-objective optimization flow chart is shown in Figure 10. The definition, initial value, and variation range of each design variable are shown in Table 2. Table 3 shows the structural parameters of the STMLPMVG that remain unchanged.

4.2. Sensitivity Analysis and Calculation

4.2.1. Determination of Optimization Objective

In order to improve the generator performance, the maximum value of output power and efficiency and the minimum value of electromagnetic force fluctuation coefficient are taken as the optimization objective for the multi-objective optimization. The output power can be expressed as
P 0 = U out I out = 3 U 0 2 I 0 2 = 1.5 U 0 I 0
where Um and Im are the amplitudes of generator voltage and current.
Power generation efficiency is the ratio of output power to input power, which is also an important index to reflect the wave energy generation capacity and the energy conversion efficiency of generators. The generation efficiency formula of the generator is:
η = P P in × 100 % = P P + P Cu + P Fe × 100 %
where Pin is the input power of generator, P is the output power of generator, PCu is the generator copper loss, and PFe is the generator iron loss.
The fluctuation coefficient is the ratio of the peak value of electromagnetic force to the average electromagnetic force. The staggered tooth module LPMVG works in a severe marine environment. The fluctuation coefficient can reflect the reliability of the generator in a difficult environment. It is one of the important indicators of the generator. The formula is defined as follows
γ = F max F min F av
where Fmax is the maximum value of electromagnetic force, Fmin is the minimum value of electromagnetic force, and Fav is the average value of electromagnetic force.

4.2.2. Calculation and Analysis of Sensitivity

There are 11 independent optimization variables of the STMLPMVG. If the BBD orthogonal matrix method is directly used, 177 discrete variables are also required. The simulation time is too long. The sensitivity analysis method is used to reduce the simulation time, increase efficiency, and improve the optimization accuracy of multi-objective optimization.
The sensitivity calculation formula can be expressed as follows
G ( n i ) = g ( n i ) n i = Δ g ( n i ) / g ( n i ) Δ n i / n i
Each design variable has a different effect on the optimization target, and the com-prehensive sensitivity of the motor is calculated by ranking and weighting the importance of the optimization target. The calculation formula of comprehensive sensitivity is as follows [11]
s ( n i ) = λ 1 | G p 0 | + λ 2 | G η | + λ 3 | G F r |
where λ1, λ2, and λ3 are the weight coefficients, and the sum of the three is one. G p 0 , G η , and   G F r are the sensitive factors of the design variable ni to the optimized target output power, generation efficiency, and electromagnetic force fluctuation.
The comprehensive sensitivity value shown in Table 4 and Figure 11 can be obtained according to (12). The design variables of significant sensitivity for a comprehensive sensitivity value greater than 0.4 contain the longitudinal magnetized permanent magnet width, radial magnetized permanent magnet width, permanent magnet thickness, and primary slot width. The comprehensive sensitivity value that is greater than 0.1 and less than 0.4 is taken as the general sensitivity; that is, the tooth width coefficient of the secondary tooth, the height of the primary slot, and the height of the primary slot opening are the design variables of general sensitivity. Finally, the sensitivity value that is less than 0.1 is regarded as insignificant sensitivity. Therefore, the multi-objective optimization algorithm is used to obtain the optimal design value for the significant sensitivity, the single objective optimization method is used to optimize the general sensitivity, and the initial value can be used for the non-significant sensitivity variable without optimization, so as to obtain the final result.

4.3. BBD Orthogonal Experimental Matrix

The Box−Behnken design (BBD) method is a comprehensive DoE method used to establish RS models which are suitable for 2–5 design variables [12]. The BBD method is encoded by three factors, namely −1, 0, and 1, where −1 is the low level factor, 0 is the center point factor, and 1 is the high level factor. There are four significant sensitivity design variables for the STMLPMVG, and the values of design variables at each level are shown in Table 5 [13]. The BBD orthogonal matrix is shown in Table 6. There are 29 experiments in total, and the number of experiments for the four design variables is 34 = 81. It can be seen that the BBD orthogonal matrix can effectively reduce the number of experiments and simulation time [14].

4.4. Surface Response Analysis

The second-order polynomial of the RS model can express as
G ( t ) = a 0 + i = 1 4 a i t i + i = 1 4 a i i t i 2 + i = 1 2 j > i 4 a i j t i t j + ε
where G(t) is the response value and a0, ai, aij, and aii are the regression coefficients.
The fitting function of the optimization objective can be obtained by using the simulation data of the 29 models in Table 6. The second-order fitting function of the output power is
P = 386.12 + 69.32 w v + 95.61 w h + 45.15 h pm + 46.66 w m 0 9.02 w v w h 2.55 w v h pm 1.95 w v w m 0 5.05 w h h pm 5.8 w h w m 0 + 1.21 h pm w m 0 3.52 w v 2 7.06 w h 2 1.05 h pm 2 4.07 w m 0 2
The second-order fitting function of generator efficiency is
η = + 36.76 + 4.82 w v + 16.16 w h + 2.13 h pm + 3.07 w m 0 1.24 w v w h + 0.05 w v h pm + 0.13 w v w m 0 + 0.06 w h h pm + 0.07 w h w m 0 0.16 h pm w m 0 0.22 w v 2 1.92 w h 2 0.23 h pm 2 0.65 w m 0 2
The second-order fitting function of the electromagnetic force fluctuation coefficient γ is
γ = + 31.18 7.04 w v 6.93 w h 1.75 h pm + 0.49 w m 0 + 0.8 w v w h + 0.084 w v h pm 0.16 w v w m 0 + 0.11 w h h pm + 0.026 w h w m 0 0.042 h pm w m 0 + 0.47 w v 2 + 0.44 w h 2 + 0.11 h pm 2 + 0.068 w m 0 2

4.5. Particle Swarm Optimization Algorithm

In order to find the global optimal solutions for the three optimization objectives, the method of Particle Swarm Optimization (PSO) is used to optimize the STMLPMVG [15]. The basic equation of PSO can be expressed by
{ V i d k + 1 = ω V i d k + c 1 r 1 ( P i d k X i d k ) + c 1 r 1 ( Q i d k X i d k ) X i d k + 1 = X i d k + V i d k + 1
where V is the particle velocity, X is the population size, ω is inertia weight, c1 and c2 are acceleration coefficients, r1 and r2 are random numbers of [0, 1], and P and Q are individual and global optimal points.
Through establishing the mathematical model of the STMLPMVG, the fitting curve between the optimization objective and the design variable is obtained, and it is substituted into the optimization objective function which is shown in (18). The global optimal solution set obtained by the particle swarm optimization algorithm is shown in Table 7.
g ( n i ) = ω 1 g P o ( n i ) P o + ω 2 g η ( n i ) η + ω 3 K g K ( n i )

4.6. Single Objective Optimization of General Sensitivity Variables

Figure 12 shows the relationship between output power and efficiency with the tooth width coefficient of the secondary tooth. It can be seen that the generator efficiency basically does not change much, and the output power first increases and then decreases with the tooth width coefficient of the secondary tooth increasing. As shown in Figure 13, the fluctuation coefficient decreases and then increases with the increase of the tooth width coefficient of the secondary tooth. The fluctuation coefficient reaches the minimum point when the tooth width coefficient of the secondary tooth is 0.3. The tooth width coefficient of the secondary tooth is selected as 0.3 through the comprehensive analysis of Equation (18).
Figure 14 shows the relationship between output power and efficiency with the height of the primary slot opening. It can be seen that the efficiency remains basically unchanged with the increase of the height of the primary slot opening, while the output power decreases with the increase of the height of the primary slot opening. Figure 15 shows the relationship between the fluctuation coefficient and the height of the primary slot opening. The fluctuation coefficient generally shows an upward trend with the height of the primary slot opening increasing. To sum up, the height of the primary slot opening is obtained by 6 mm.
As shown in Figure 16, the efficiency increases with the increase of the height of the primary slot, while the output power first increases and then fluctuates with the increase of the height of the primary slot. Figure 17 shows the relationship between the fluctuation coefficient and the height of the primary slot. The fluctuation coefficient first decreases and then increases with the height of the primary slot increasing. To sum up, the height of the primary slot is obtained by 17 mm.

4.7. Final Optimization Results and Comparison

The comparison of design variables and the values of the optimization objectives of the STMLPMVG before and after optimization are shown in Table 8. It can be seen that the amplitude of the load voltage greatly increased after optimization in Figure 18 and Figure 19, while the amplitude of the load current increased. The output power increased from 47.04 W to 75.25 W, and the efficiency of the generator also increased from 78.78% to 82.11%. Figure 20 shows the comparison of electromagnetic force before and after optimization. It can be seen that the electromagnetic force of the optimized STMLPMVG increased from 133 N to 206 N, and the fluctuation coefficient decreased from 0.71 to 0.171.

5. Exoeriment and Analysis Result

A prototype of the STMLPMVG motor based on the optimized parameters is manufactured. The mover, stator, and machine structure of the prototype motor are shown in Figure 21.
Figure 22 present the no-load back EMF waveforms of the STMLPMVG varying with time at a speed of 0.4 m/s. It can be seen from Figure 23 that the experimental result is in accord with the result of the FEM.

6. Conclusions

A novel STMLPMVG for a small-power off-grid wave power generation system was proposed in this paper. The principle of magnetic field modulation was derived, and the correctness of the principle was verified by an analysis of the air gap magnetic density. A comprehensive framework of multi-objective optimization for the STMLPMVG based on a combination of RS models and PSO was proposed. The output power of the STMLPMVG after optimization is increased by 60%, the generation efficiency is increased by 4.2%, and the fluctuation coefficient is reduced by 82.9%. Finally, a prototype of the STMLPMVG was built and the experiment results showed good agreement with the simulation results.

Author Contributions

Conceptualization, M.Z.; Methodology, M.Z.; Software, P.T. and Z.Z.; Validation, P.T.; Formal analysis, P.T., G.Y. and J.Z.; Investigation, H.Z.; Data curation, Z.Z., G.Y. and Y.X.; Writing—original draft, Z.K. Writing—review & editing, Z.K.; Visualization, J.Z.; Supervision, Y.X.; Project administration, H.Z. and J.Z. All authors have read and agreed to the published version of the manuscript.

Funding

This work was supported in part by the National Natural Science Foundation of China under Project 52177032 and the Key Laboratory of Special Machine and High Voltage Apparatus (Shenyang University of Technology), Ministry of Education (KFKT202107).

Data Availability Statement

Not applicable.

Conflicts of Interest

The authors declare no conflict of interest. The funders had no role in the design of the study; in the collection, analyses, or interpretation of data; in the writing of the manuscript; or in the decision to publish the results.

References

  1. Bou-Mosleh, C.; Rahme, P.; Beaino, P.; Mattar, R.; Nassif, E.A. Contribution to clean energy production using a novel wave energy converter: Renewable energy. In Proceedings of the International Conference on Renewable Energies for Developing Countries 2014, Beirut, Lebanon, 26–27 November 2014; pp. 108–111. [Google Scholar]
  2. Qiu, S.; Zhao, W.; Zhang, C.; Shek, J.K.; Wang, H. A Novel Structure of Tubular Staggered Transverse-Flux Permanent-Magnet Linear Generator for Wave Energy Conversion. IEEE Trans. Energy Convers. 2022, 37, 24–35. [Google Scholar] [CrossRef]
  3. Ghaheri, A.; Afjei, E.; Hossein, T. Design optimization of a novel linear transverse flux switching permanent magnet generator for direct drive wave energy conversion. Renew. Energy 2022, 198, 851–860. [Google Scholar] [CrossRef]
  4. Cheng, Y.; Chau, M.; Tong, K. Linear primary permanent magnet vernier machine for wave energy conversion. IET Electr. Power Appl. 2015, 9, 203–212. [Google Scholar]
  5. Huang, L.; Yu, H.; Hu, M.; Zhao, J.; Cheng, Z. A Novel Flux-Switching Permanent-Magnet Linear Generator for Wave Energy Extraction Application. IEEE Trans. Magn. 2011, 47, 1034–1037. [Google Scholar] [CrossRef]
  6. Huang, L.; Yu, H.; Hu, M.; Liu, C.; Yuan, B. Research on a Tubular Primary Permanent-Magnet Linear Generator for Wave Energy Conversions. IEEE Trans. Magn. 2013, 49, 1917–1920. [Google Scholar] [CrossRef]
  7. Zhao, L.; Lu, Q. A Novel Tubular Partitioned Stator Flux-Reversal Permanent Magnet Linear Machine for Direct-Drive Wave Energy Generation. IEEE Trans. Magn. 2019, 55, 7502707. [Google Scholar] [CrossRef]
  8. Du, Y.; Chau, K.T.; Cheng, M.; Fan, Y.; Wang, Y.; Hua, W.; Wang, Z. Design and Analysis of Linear Stator Permanent Magnet Vernier Machines. IEEE Trans. Magn. 2011, 47, 4219–4222. [Google Scholar] [CrossRef]
  9. Zhao, M.; Zhang, Z.; Zhang, H.; Xu, Y.; Zou, J. Design and Optimization of Tubular Linear Vernier Generator for Direct Drive Wave Energy Converter. In Proceedings of the 2021 13th International Symposium on Linear Drives for Industry Applications (LDIA), Wuhan, China, 1–3 July 2021; pp. 1–6. [Google Scholar]
  10. Gao, Y.; Qu, R.; Li, D.; Chen, F. Force Ripple Minimization of a Linear Vernier Permanent Magnet Machine for Direct-Drive Servo Applications. IEEE Trans. Magn. 2017, 53, 7001905. [Google Scholar] [CrossRef]
  11. Zhao, W.; Ma, A.; Ji, J.; Chen, X.; Yao, T. Multiobjective Optimization of a Double-Side Linear Vernier PM Motor Using Response Surface Method and Differential Evolution. IEEE Trans. Ind. Electron. 2020, 67, 80–90. [Google Scholar] [CrossRef]
  12. Lei, G.; Xu, W.; Hu, J.; Zhu, J.; Guo, Y.; Shao, K. Multilevel Design Optimization of a FSPMM Drive System by Using Sequential Subspace Optimization Method. IEEE Trans. Magn. 2014, 50, 7016904. [Google Scholar] [CrossRef]
  13. Lee, S.; Kim, Y.; Lee, K.; Kim, S. Multiobjective Optimization Design of Small-Scale Wind Power Generator With Outer Rotor Based on Box–Behnken Design. IEEE Trans. Appl. Supercond. 2016, 26, 5202605. [Google Scholar] [CrossRef]
  14. Zhu, X.; Yan, B.; Chen, L.; Zhang, R.; Quan, L.; Mo, L. Multi-Objective Optimization Design of a Magnetic Planetary Geared Permanent Magnet Brushless Machine by Combined Design of Experiments and Response Surface Methods. IEEE Trans. Magn. 2014, 50, 8204004. [Google Scholar] [CrossRef]
  15. Feng, Y.; Zhao, J.; Dong, F.; He, Z.; Song, J. Optimal design of permanent magnet linear synchronous generators at multispeed based on particle swarm optimization combined with SN ratio method. IEEE Trans. Energy Convers. 2018, 33, 1943–1954. [Google Scholar]
Figure 1. Bilateral linear permanent magnet vernier generator.
Figure 1. Bilateral linear permanent magnet vernier generator.
Energies 16 03164 g001
Figure 2. Analysis of air gap flux density and harmonic generated by permanent magnet array: (a) Air gap magnetic density (b) Harmonic content in air gap.
Figure 2. Analysis of air gap flux density and harmonic generated by permanent magnet array: (a) Air gap magnetic density (b) Harmonic content in air gap.
Energies 16 03164 g002
Figure 3. Analysis of air gap flux density and its harmonic generated by armature winding: (a) Air gap magnetic density (b) Harmonic content in air gap.
Figure 3. Analysis of air gap flux density and its harmonic generated by armature winding: (a) Air gap magnetic density (b) Harmonic content in air gap.
Energies 16 03164 g003
Figure 4. Modular principle verification diagram.
Figure 4. Modular principle verification diagram.
Energies 16 03164 g004
Figure 5. The waveform of no-load back EMF.
Figure 5. The waveform of no-load back EMF.
Energies 16 03164 g005
Figure 6. The waveform of cogging force.
Figure 6. The waveform of cogging force.
Energies 16 03164 g006
Figure 7. Comparison of harmonic.
Figure 7. Comparison of harmonic.
Energies 16 03164 g007
Figure 8. Staggered tooth bilateral linear permanent magnet vernier generator.
Figure 8. Staggered tooth bilateral linear permanent magnet vernier generator.
Energies 16 03164 g008
Figure 9. Dimension structure of STMLPMVG.
Figure 9. Dimension structure of STMLPMVG.
Energies 16 03164 g009
Figure 10. Multi-objective optimization flow chart.
Figure 10. Multi-objective optimization flow chart.
Energies 16 03164 g010
Figure 11. Sensitivity index of design variables.
Figure 11. Sensitivity index of design variables.
Energies 16 03164 g011
Figure 12. Relationships between output power and efficiency with the tooth width coefficient of the secondary tooth.
Figure 12. Relationships between output power and efficiency with the tooth width coefficient of the secondary tooth.
Energies 16 03164 g012
Figure 13. Relationship between electromagnetic force pulsation coefficients and the tooth width coefficient of the secondary tooth.
Figure 13. Relationship between electromagnetic force pulsation coefficients and the tooth width coefficient of the secondary tooth.
Energies 16 03164 g013
Figure 14. Relationships between output power and efficiency and the height of primary slot opening.
Figure 14. Relationships between output power and efficiency and the height of primary slot opening.
Energies 16 03164 g014
Figure 15. Relationship between electromagnetic force pulsation coefficients and the height of primary slot opening.
Figure 15. Relationship between electromagnetic force pulsation coefficients and the height of primary slot opening.
Energies 16 03164 g015
Figure 16. Relationships between output power and efficiency with the height of primary slot.
Figure 16. Relationships between output power and efficiency with the height of primary slot.
Energies 16 03164 g016
Figure 17. Relationship between electromagnetic force pulsation coefficient and the height of primary slot.
Figure 17. Relationship between electromagnetic force pulsation coefficient and the height of primary slot.
Energies 16 03164 g017
Figure 18. Comparison of load voltage.
Figure 18. Comparison of load voltage.
Energies 16 03164 g018
Figure 19. Comparison of load current.
Figure 19. Comparison of load current.
Energies 16 03164 g019
Figure 20. Comparison of electromagnetic force.
Figure 20. Comparison of electromagnetic force.
Energies 16 03164 g020
Figure 21. Prototype of STMLPMVG: (a) Mover. (b) Stator. (c) Machine structure.
Figure 21. Prototype of STMLPMVG: (a) Mover. (b) Stator. (c) Machine structure.
Energies 16 03164 g021
Figure 22. STMLPMVG no-load back EMF.
Figure 22. STMLPMVG no-load back EMF.
Energies 16 03164 g022
Figure 23. Comparison of waveforms of no-load back-EMF.
Figure 23. Comparison of waveforms of no-load back-EMF.
Energies 16 03164 g023
Table 1. Generator performance at different stagger angles.
Table 1. Generator performance at different stagger angles.
Stagger AngleEMF (V)Cogging Force (N)Output Power (W)Efficiency (%)
49.327130.10650.81678.86
15°49.037124.16949.4978.81
30°4794.07646.86878.88
45°45.57865.8742.62478.84
60°43.07328.17537.14878.69
Table 2. Optimization variables of STMLPMVG.
Table 2. Optimization variables of STMLPMVG.
VariableDefinitionInitial ValueVariation Range
wvLongitudinal permanent magnet length4 mm4~6 mm
whLength of transverse
permanent magnet
3 mm2~4 mm
KbpRatio of secondary tip wst to secondary pole τ s 0.30.2~0.4
KbtRatio of secondary tooth end wsr to secondary pole τ s 0.50.4~0.6
KphRatio of secondary tooth height hst to secondary height hsh0.50.4~0.6
hpmPM thickness4 mm3~5 mm
wmoPrimary slot opening width2 mm1~3 mm
ht0Primary slot opening height10 mm6~12 mm
ht1Primary slot wedge height4 mm3~5 mm
ht2Primary slot height15 mm13~17 mm
hcyPrimary yoke thickness10 mm7~11 mm
Table 3. Constant structural parameters.
Table 3. Constant structural parameters.
Invariant ParameterDefinitionInitial Value
LarEffective length of generator298 mm
τmPrimary slot pitch52.45 mm
τsSecondary pole pitch14.7 mm
g0Air gap width1 mm
Table 4. Sensitivity values of three design variables.
Table 4. Sensitivity values of three design variables.
Variable G P G η G γ S(ni)
wv−0.442-0.038−1.5350.649
wh−0.862−0.039−1.2270.725
Kbp−0.064−0.0010.7860.262
Kbt−0.0330.011−0.0900.044
Kph−0.0320.0060.0760.037
hpm0.880−0.009−0.3020.445
wmo0.385−1.3030.0300.554
ht0−0.274−0.0080.3570.219
ht1−0.111−0.023−0.0400.063
ht20.0070.0320.1150.047
hcy0.0080.0050.0400.017
Table 5. Design variable level value.
Table 5. Design variable level value.
Levelwv (mm)wh (mm)hp (mm)wm0 (mm)
−14341.5
04.53.54.52
15452.5
Table 6. BBD orthogonal test matrix.
Table 6. BBD orthogonal test matrix.
Order NumberwVwhhpmwm0P (W)η (%)γ
14.534.51.547.9778.3420.351
24.53.552.548.3978.3390.308
34.53.54.5241.2378.1290.344
443.54.52.548.5078.650.381
54.53.541.532.4677.550.475
64.544.51.521.7075.740.777
74.53.54.5241.2378.1350.344
84.53.54.5241.0578.0410.35
94.53.542.538.7278.2460.45
1043.54240.3478.4170.566
1143.55250.7278.5480.399
124.545227.0676.270.69
1343.54.51.540.8978.1410.32
1453.54.51.530.8376.950.574
154.53.54.5241.2378.1260.344
16444.5230.3177.310.465
174.53.54.5241.0578.0410.35
184.535259.6578.90.245
194.534248.5178.7820.247
2053.54.52.536.4977.590.475
21534.5251.7278.6470.305
22434.5252.6778.8550.697
23544.5220.3475.860.877
244.53.551.540.9277.80.375
254.544.52.525.5776.470.68
264.534.52.557.6378.9980.228
2753.54230.2777.2570.613
2853.55238.177.440.53
294.544220.9776.090.584
Table 7. Optimization results of design variables and objectives.
Table 7. Optimization results of design variables and objectives.
VariableBefore SolutionAfter Solution
wv (mm)44.5
wh (mm)33
hpm (mm)45
wm0 (mm)22.5
P (W)47.0463.05
η (%)78.7878.97
γ0.710.222
Table 8. Comparison results of the STMLPMVG.
Table 8. Comparison results of the STMLPMVG.
Before SolutionAfter Solution
wv (mm)44.5
wh (mm)33
Kbp0.30.3
Kbt0.50.5
Kph0.50.5
hpm (mm)45
wm0 (mm)22.5
hst (mm)1012
ht0 (mm)106
ht1 (mm)44
ht2 (mm)1517
hcy (mm)1010
P (W)47.0475.25
η (%)78.7882.11
γ0.710.171
Disclaimer/Publisher’s Note: The statements, opinions and data contained in all publications are solely those of the individual author(s) and contributor(s) and not of MDPI and/or the editor(s). MDPI and/or the editor(s) disclaim responsibility for any injury to people or property resulting from any ideas, methods, instructions or products referred to in the content.

Share and Cite

MDPI and ACS Style

Zhao, M.; Kong, Z.; Tang, P.; Zhang, Z.; Yu, G.; Zhang, H.; Xu, Y.; Zou, J. Design and Optimization of Linear Permanent Magnet Vernier Generator for Direct Drive Wave Energy Converter. Energies 2023, 16, 3164. https://doi.org/10.3390/en16073164

AMA Style

Zhao M, Kong Z, Tang P, Zhang Z, Yu G, Zhang H, Xu Y, Zou J. Design and Optimization of Linear Permanent Magnet Vernier Generator for Direct Drive Wave Energy Converter. Energies. 2023; 16(7):3164. https://doi.org/10.3390/en16073164

Chicago/Turabian Style

Zhao, Mei, Zhiquan Kong, Pingpeng Tang, Zhentao Zhang, Guodong Yu, Huaqiang Zhang, Yongxiang Xu, and Jibin Zou. 2023. "Design and Optimization of Linear Permanent Magnet Vernier Generator for Direct Drive Wave Energy Converter" Energies 16, no. 7: 3164. https://doi.org/10.3390/en16073164

APA Style

Zhao, M., Kong, Z., Tang, P., Zhang, Z., Yu, G., Zhang, H., Xu, Y., & Zou, J. (2023). Design and Optimization of Linear Permanent Magnet Vernier Generator for Direct Drive Wave Energy Converter. Energies, 16(7), 3164. https://doi.org/10.3390/en16073164

Note that from the first issue of 2016, this journal uses article numbers instead of page numbers. See further details here.

Article Metrics

Back to TopTop