A Hybrid Method for Prediction of Ash Fouling on Heat Transfer Surfaces
Abstract
:1. Introduction
- By employing the EMD, the denoised cleanliness factor data is decomposed into several intrinsic mode functions (IMFs) and a residual sequence;
- The SVR model is utilized to fit the residual signal, which can capture the long-term cleanliness factor degeneration. Meanwhile, the Gaussian process regression (GPR) model is applied to fit the IMFs separately, which can capture the local fluctuations;
- The predictive property of several machine learning models are investigated, and the results prove that the combined SVR + GPR model outperforms other models;
- For both the one-step- and multistep-ahead cleanliness factor predictions, the proposed hybrid method has high precision and good extrapolating performance.
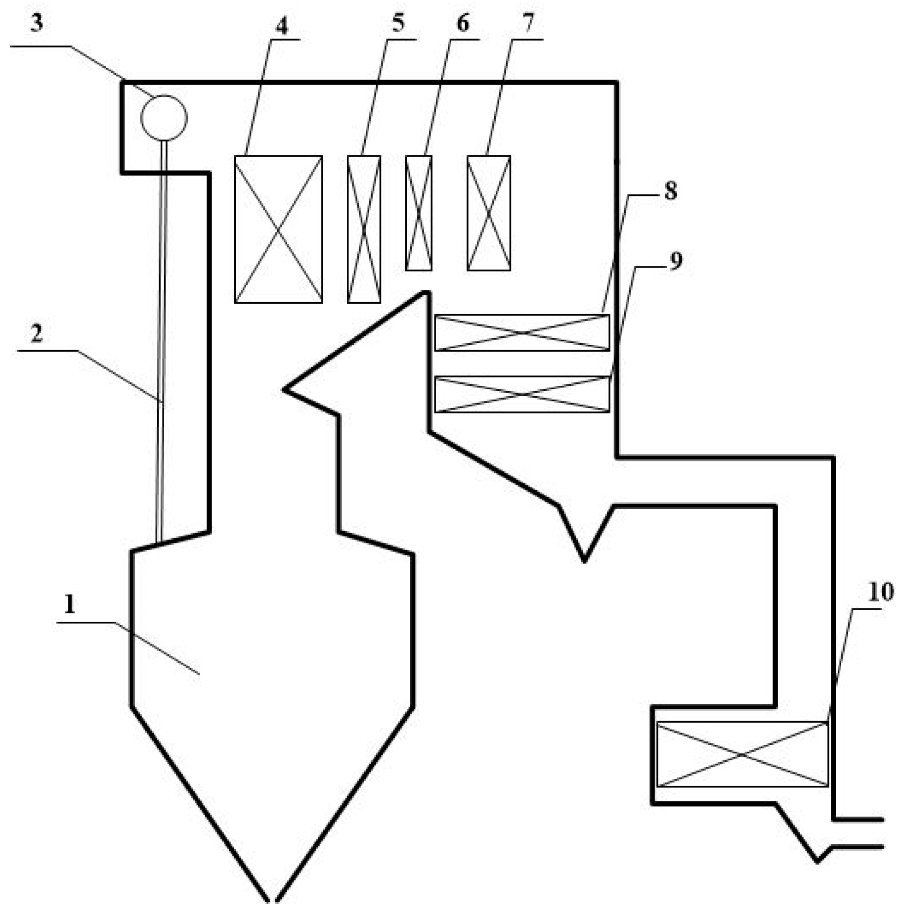
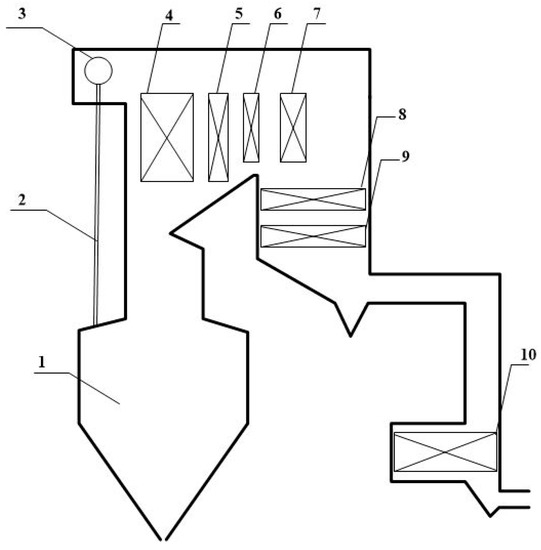
2. Problem Statement and Data Description
3. Techniques
3.1. Empirical Mode Decomposition
- In the total dataset, the number of extrema and the number of zero-crossings must be equal, or at most, different by one;
- At any dot, the envelopes that are defined by the local extrema must produce a zero mean.
- Step 1:
- According to the upper and lower extreme points of the original signal, the upper and lower envelope lines are drawn respectively.
- Step 2:
- Take the mean of the upper and lower envelope and plot the mean envelope.
- Step 3:
- Subtracting the mean envelope from the original signal gives the intermediate signal.
- Step 4:
- Judge whether the intermediate signal meets the above two conditions. If so, the signal is an IMF component. If not, perform step 1 to step 4 analysis again based on this signal. Obtaining IMF components usually requires several iterations.
- Step 5:
- Each time you get an IMF, subtract it from the original signal and repeat the above steps, all the way to the end where the signal is just a monotone sequence or a constant sequence.
3.2. Support Vector Regression
3.3. Gaussian Process Regression
3.4. Overall Structure
- Step 1:
- For data preprocessing, the original cleanliness factor degradation data is denoised by using the wavelet threshold denoising theory. Then, the EMD technique is utilized to decouple the data into several IMFs and a residual. For the model part, the suitable kernel functions are chosen for SVR and GPR, respectively. Initialize the parameters for both the SVR and GPR models.
- Step 2:
- For the residual sequence, train the SVR model to fit the residual signal. For the IMFs, train the GPR models to fit the IMFs separately.
- Step 3:
- Apply the well-trained SVR model to forecast the future residual value, and use the well-trained GPR models to predict the values of each IMF. Combine these results to obtain the predicted cleanliness factor value.
4. Results and Discussions
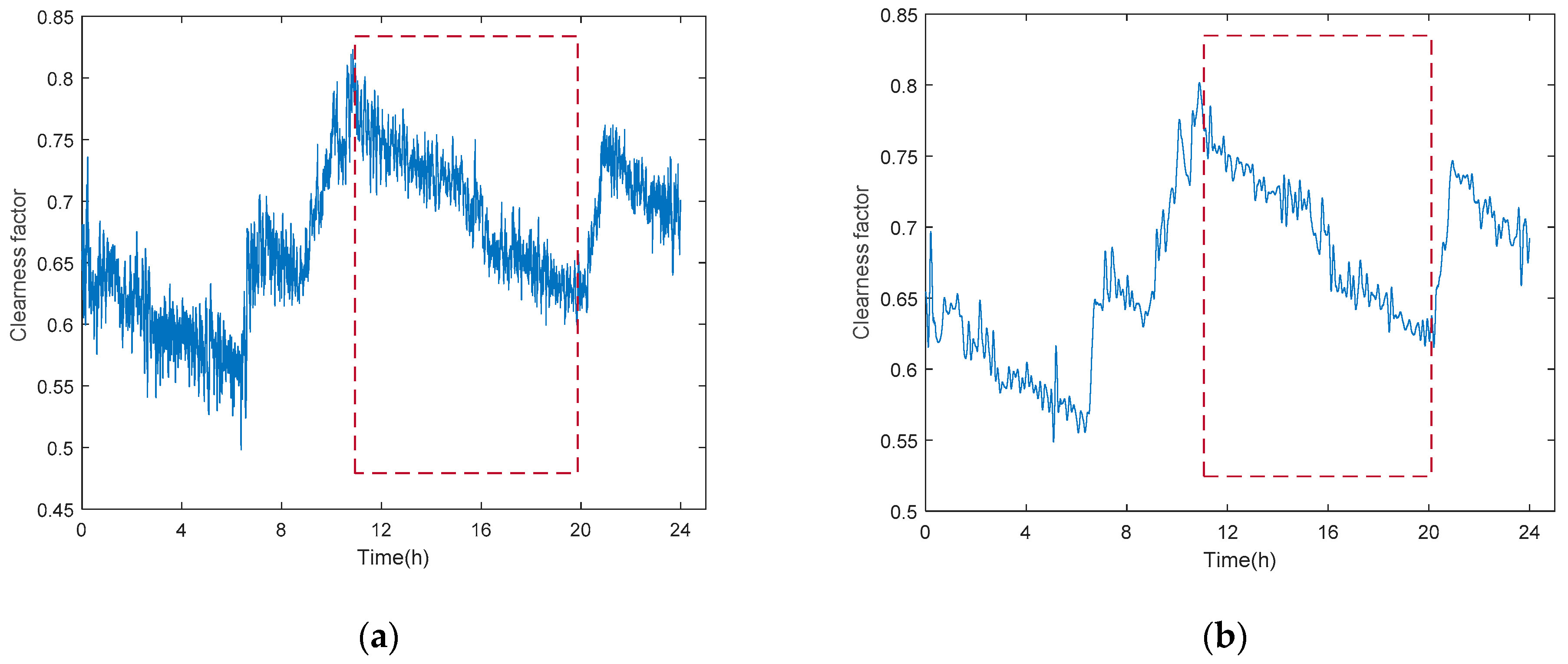
4.1. Preprocessing
4.2. Accuracy Indicators
- Root mean square error (RMSE):
- Mean absolute percentage error (MAPE):
- Mean absolute error (MAE):
4.3. Performance Comparison of Multifarious Models
4.4. Prediction Results
4.4.1. One-Step Prediction
4.4.2. Multistep Prediction
4.5. Discussions
5. Conclusions
- The long-term cleanliness factor degeneration was exactly captured by the SVR, while the local undulations were well expressed by means of GPR, further leading to advanced predicted results;
- Compared with the sole SVR, sole GPR, SVR + EMD and GPR + EMD models, our proposed SVR + GPR model is better than other models;
- In both the one-step- and multistep-ahead cleanliness factor forecasts, the combined SVR + GPR model obtained satisfactory extrapolation capability.
Author Contributions
Funding
Institutional Review Board Statement
Informed Consent Statement
Data Availability Statement
Conflicts of Interest
References
- Mangi, H.N.; Chi, R.; DeTian, Y.; Sindhu, L.; Lijin; He, D.; Ashraf, U.; Fu, H.; Zixuan, L.; Zhou, W.; et al. The ungrind and grinded effects on the pore geometry and adsorption mechanism of the coal particles. J. Nat. Gas Sci. Eng. 2022, 100, 104463. [Google Scholar] [CrossRef]
- Clark, R.; Zucker, N.; Urpelainen, J. The Future of Coal-Fired Power Generation in Southeast Asia. Renew. Sustain. Energy Rev. 2019, 121, 109650. [Google Scholar] [CrossRef]
- Ashraf, U.; Zhang, H.; Anees, A.; Mangi, H.N.; Ali, M.; Zhang, X.; Imraz, M.; Abbasi, S.S.; Abbas, A.; Ullah, Z.; et al. A Core Logging, Machine Learning and Geostatistical Modeling Interactive Approach for Subsurface Imaging of Lenticular Geobodies in a Clastic Depositional System, SE Pakistan. Nat. Resour. Res. 2021, 30, 2807–2830. [Google Scholar] [CrossRef]
- Vo Thanh, H.; Yasin, Q.; Al-Mudhafar, W.J.; Lee, K.-K. Knowledge-based machine learning techniques for accurate prediction of CO2 storage performance in underground saline aquifers. Appl. Energy 2022, 314, 118985. [Google Scholar] [CrossRef]
- Zhang, W.H. Suggestions and Measures for Promoting the Energy Conservation and Emission Reduction of Coal-fired Industrial Boilers. Energy Conserv. 2014, 9, 67–69. [Google Scholar]
- Zhou, K.; Yang, S.; Shen, C.; Ding, S.; Sun, C. Energy conservation and emission reduction of China’s electric power industry. Renew. Sustain. Energy Rev. 2015, 45, 10–19. [Google Scholar] [CrossRef]
- Yan, Q.; Wang, Y.; Baležentis, T.; Sun, Y.; Streimikiene, D. Energy-Related CO2 Emission in China’s Provincial Thermal Electricity Generation: Driving Factors and Possibilities for Abatement. Energies 2018, 11, 1096. [Google Scholar] [CrossRef] [Green Version]
- Li, X. Design of energy-conservation and emission-reduction plans of China’s industry: Evidence from three typical industries. Energy 2020, 209, 118358. [Google Scholar] [CrossRef]
- Harding, N.S.; O’Connor, D.C. Ash deposition impacts in the power industry. Fuel Process. Technol. 2007, 88, 1082–1093. [Google Scholar] [CrossRef]
- Shao, Y.; Wang, J.; Preto, F.; Zhu, J.; Xu, C. Ash Deposition in Biomass Combustion or Co-Firing for Power/Heat Generation. Energies 2012, 5, 5171. [Google Scholar] [CrossRef]
- Valero, A.; Cortés, C. Ash fouling in coal-fired utility boilers. Monitoring and optimization of on-load cleaning. Prog. Energy Combust. Sci. 1996, 22, 189–200. [Google Scholar] [CrossRef]
- Shi, Y.; Li, Q.; Wen, J.; Cui, F.; Pang, X.; Jia, J.; Zeng, J.; Wang, J. Soot Blowing Optimization for Frequency in Economizers to Improve Boiler Performance in Coal-Fired Power Plant. Energies 2019, 12, 2901. [Google Scholar] [CrossRef] [Green Version]
- Zierold, K.M.; Odoh, C. A review on fly ash from coal-fired power plants: Chemical composition, regulations, and health evidence. Rev. Environ. Health 2020, 35, 401–418. [Google Scholar] [CrossRef] [PubMed]
- Shi, Y.; Wen, J.; Cui, F.; Wang, J. An Optimization Study on Soot-Blowing of Air Preheaters in Coal-Fired Power Plant Boilers. Energies 2019, 12, 958. [Google Scholar] [CrossRef] [Green Version]
- Peña, B.; Teruel, E.; Díez, L.I. Soft-computing models for soot-blowing optimization in coal-fired utility boilers. Appl. Soft Comput. 2011, 11, 1657–1668. [Google Scholar] [CrossRef]
- Wen, J.; Shi, Y.; Pang, X.; Jia, J.; Zeng, J. Optimization of Boiler Soot Blowing Based on Hamilton-Jacobi-Bellman Equation. IEEE Access 2019, 7, 20850–20862. [Google Scholar] [CrossRef]
- Li, Q.; Yan, P.; Liu, J.; Shi, Y.; Yu, D. Prediction of Pollution State of Heating Surface in Coal-Fired Utility Boilers. IEEE Access 2020, 8, 206132–206145. [Google Scholar] [CrossRef]
- Chen, B.K.; Yan, W.P.; Zhu, Y.D.; Gao, Z.Y.; Liang, X.J. Prediction of ash fouling on heat transfer surface of coal fired utility boiler. J. North China Electr. Power Univ. 2004, 31, 32–35. [Google Scholar]
- Zheng, S.; Zeng, X.; Qi, C.; Zhou, H. Mathematical modeling and experimental validation of ash deposition in a pulverized-coal boiler. Appl. Therm. Eng. Des. Processes Equip. Econ. 2017, 110, 720–729. [Google Scholar] [CrossRef]
- Tang, S.Z.; Wang, F.L.; Ren, Q.; He, Y.L. Fouling characteristics analysis and morphology prediction of heat exchangers with a particulate fouling model considering deposition and removal mechanisms. Fuel 2017, 203, 725–738. [Google Scholar] [CrossRef]
- Tong, S.; Zhang, X.; Tong, Z.; Wu, Y.; Tang, N.; Zhong, W. Online Ash Fouling Prediction for Boiler Heating Surfaces based on Wavelet Analysis and Support Vector Regression. Energies 2019, 13, 59. [Google Scholar] [CrossRef] [Green Version]
- Shi, W.; Wang, J.; Shi, Y.; Liu, Z. Clustering LS-SVM models for the prediction of unburned carbon content in fly ash. In Proceedings of the 27th Chinese Control and Decision Conference (2015 CCDC), Qingdao, China, 23–25 May 2015; pp. 19–24. [Google Scholar]
- Shi, Y.; Li, M.; Cui, F.; Wen, J.; Zeng, J. A Neural-Network-Based Method for Ash Fouling Prediction of Heat Transfer Surface in Coal-Fired Power Plant Boiler. IEEE Access 2021, 9, 109584–109604. [Google Scholar] [CrossRef]
- Peña, B.; Teruel, E.; Díez, L.I. Towards soot-blowing optimization in superheaters. Appl. Therm. Eng. 2013, 61, 737–746. [Google Scholar] [CrossRef]
- Tang, S.Z.; Li, M.J.; Wang, F.L.; He, Y.L.; Tao, W.Q. Fouling potential prediction and multi-objective optimization of a flue gas heat exchanger using neural networks and genetic algorithms. Int. J. Heat Mass Transf. 2020, 152, 119488. [Google Scholar] [CrossRef]
- Han, J.; van der Baan, M. Empirical mode decomposition for seismic time-frequency analysis. Geophysics 2013, 78, O9–O19. [Google Scholar] [CrossRef]
- Shi, Y.; Wang, J.; Liu, Z. On-line monitoring of ash fouling and soot-blowing optimization for convective heat exchanger in coal-fired power plant boiler. Appl. Therm. Eng. 2015, 78, 39–50. [Google Scholar] [CrossRef]
- Li, Y.; Liu, K.; Foley, A.M.; Zülke, A.; Berecibar, M.; Nanini-Maury, E.; Van Mierlo, J.; Hoster, H.E. Data-driven health estimation and lifetime prediction of lithium-ion batteries: A review. Renew. Sustain. Energy Rev. 2019, 113, 109254. [Google Scholar] [CrossRef]
- Murphy, K.P. Machine Learning: A Probabilistic Perspective; MIT Press: Cambridge, MA, USA, 2012. [Google Scholar]
- Pao-Tsun, L.; Shun-Feng, S.; Tsu-Tian, L. Support vector regression performance analysis and systematic parameter selection. In Proceedings of the 2005 IEEE International Joint Conference on Neural Networks, Montreal, QC, Canada, 31 July–4 August 2005; Volume 872, pp. 877–882. [Google Scholar]
- Carl Edward, R.; Christopher, K.I.W. Subject Index. In Gaussian Processes for Machine Learning; MIT Press: Cambridge, MA, USA, 2005; pp. 244–247. [Google Scholar]
- Samo, Y.-L.K.; Roberts, S.J. p-Markov Gaussian Processes for Scalable and Expressive Online Bayesian Nonparametric Time Series Forecasting. arXiv 2015, arXiv:1510.02830. [Google Scholar]
- Richardson, R.R.; Osborne, M.A.; Howey, D.A. Gaussian process regression for forecasting battery state of health. J. Power Sources 2017, 357, 209–219. [Google Scholar] [CrossRef]
- Datong, L.; Jingyue, P.; Jianbao, Z.; Yu, P. Data-driven prognostics for lithium-ion battery based on Gaussian Process Regression. In Proceedings of the IEEE 2012 Prognostics and System Health Management Conference (PHM-2012 Beijing), Beijing, China, 23–25 May 2012; pp. 1–5. [Google Scholar]
- Liu, K.; Shang, Y.; Ouyang, Q.; Widanage, W.D. A Data-Driven Approach With Uncertainty Quantification for Predicting Future Capacities and Remaining Useful Life of Lithium-ion Battery. IEEE Trans. Ind. Electron. 2021, 68, 3170–3180. [Google Scholar] [CrossRef]











| Methods | SVR | GPR | SVR + EMD | GPR + EMD | SVR + GPR |
|---|---|---|---|---|---|
| RMSE | 0.00163 | 0.00092 | 0.00015 | 0.00020 | 0.00006 |
| MAPE | 0.02503 | 0.02537 | 0.00019 | 0.00022 | 0.00008 |
| MAE | 0.00117 | 0.00067 | 0.00012 | 0.00014 | 0.00005 |
| Devices | Reheater | LTS | HTS |
|---|---|---|---|
| RMSE | 0.00004 | 0.00006 | 0.00002 |
| MAPE | 0.00006 | 0.00009 | 0.00002 |
| MAE | 0.00003 | 0.00005 | 0.00001 |
| Steps | Three-Step | Six-Step | Nine-Step |
|---|---|---|---|
| RMSE | 0.00074 | 0.00174 | 0.00273 |
| MAPE | 0.00067 | 0.00167 | 0.00258 |
| MAE | 0.00044 | 0.00109 | 0.00169 |
| Steps | Three-Step | Six-Step | Nine-Step |
|---|---|---|---|
| RMSE | 0.00043 | 0.00085 | 0.00123 |
| MAPE | 0.00048 | 0.00099 | 0.00146 |
| MAE | 0.00028 | 0.00058 | 0.00086 |
Publisher’s Note: MDPI stays neutral with regard to jurisdictional claims in published maps and institutional affiliations. |
© 2022 by the authors. Licensee MDPI, Basel, Switzerland. This article is an open access article distributed under the terms and conditions of the Creative Commons Attribution (CC BY) license (https://creativecommons.org/licenses/by/4.0/).
Share and Cite
Cui, F.; Qin, S.; Zhang, J.; Li, M.; Shi, Y. A Hybrid Method for Prediction of Ash Fouling on Heat Transfer Surfaces. Energies 2022, 15, 4658. https://doi.org/10.3390/en15134658
Cui F, Qin S, Zhang J, Li M, Shi Y. A Hybrid Method for Prediction of Ash Fouling on Heat Transfer Surfaces. Energies. 2022; 15(13):4658. https://doi.org/10.3390/en15134658
Chicago/Turabian StyleCui, Fangshu, Sheng Qin, Jing Zhang, Mengwei Li, and Yuanhao Shi. 2022. "A Hybrid Method for Prediction of Ash Fouling on Heat Transfer Surfaces" Energies 15, no. 13: 4658. https://doi.org/10.3390/en15134658
APA StyleCui, F., Qin, S., Zhang, J., Li, M., & Shi, Y. (2022). A Hybrid Method for Prediction of Ash Fouling on Heat Transfer Surfaces. Energies, 15(13), 4658. https://doi.org/10.3390/en15134658

