Numerical Investigation on the Performance of Two-Throat Nozzle Ejectors with Different Mixing Chamber Structural Parameters
Abstract
:1. Introduction
2. Numerical Calculation Model
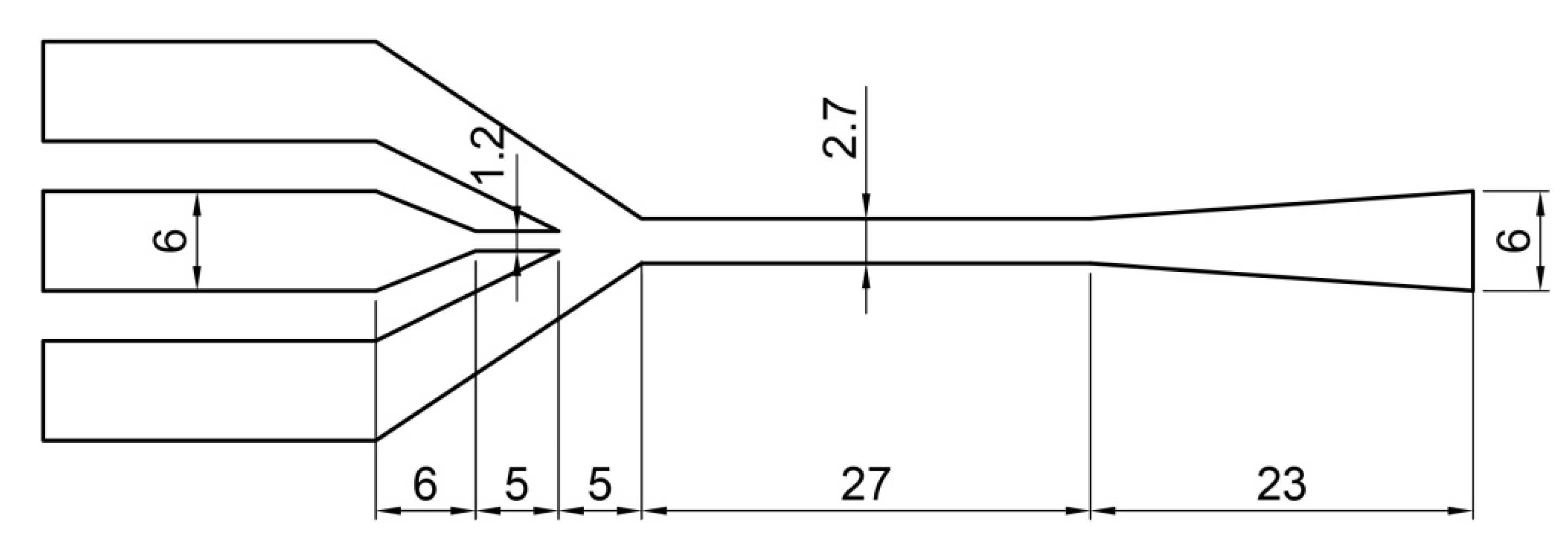
2.1. Physical Model
2.2. Governing Equations
- (1)
- The expansion process of flow kept isentropic.
- (2)
- The ejector inner wall surface was smooth and adiabatic.
- (3)
- The flow eventually kept steady.
- (4)
- The state of secondary inlet flow was ideal-gas.
- (5)
- Both flows were saturated.
2.3. Turbulence Model
2.4. Simulation Settings
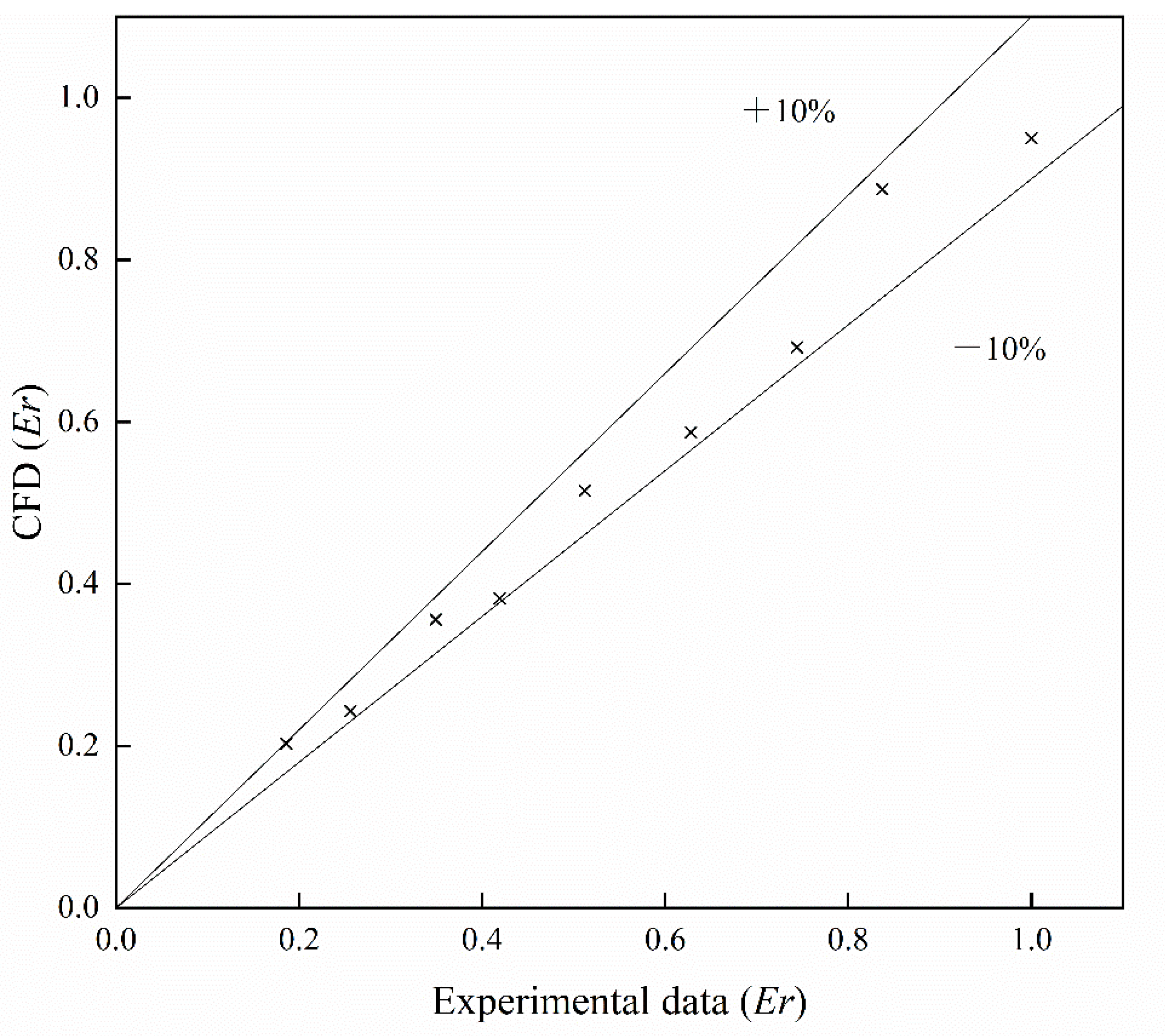
2.5. Grid Independence Test and Simulation Method Validation
3. Results and Discussion
3.1. Effects of Mixing Chamber Diameter on the Performance of Two-Throat Nozzle Ejector
3.2. Effects of Mixing Chamber Length on the Performance of Two-Throat Nozzle Ejector
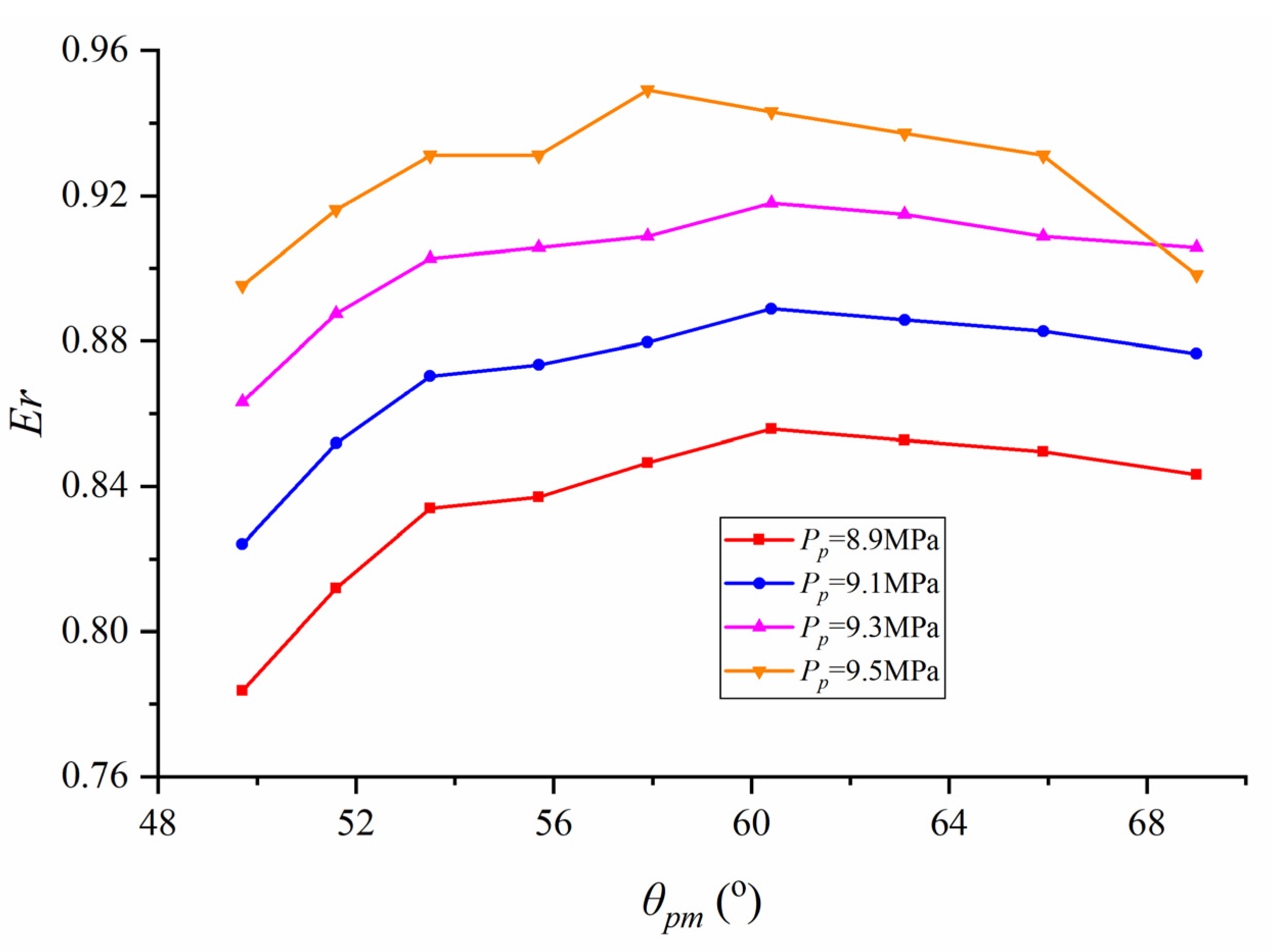
3.3. Effects of Pre-Mixing Chamber Converging Angle on the Performance of Two-Throat Nozzle Ejector
4. Conclusions
- (1)
- The parameter Dm is of great significance in a two-throat nozzle ejector. When the simulated Pp ranges from 8.9 MPa to 9.5 MPa, Er reaches its peak value from 0.85 to 0.97 corresponding to the Dt from 8 mm to 9 mm and there exists a tendency that the optimum Dm increases as Pp rises.
- (2)
- The relationship between Er and Lm should be taken into account when designing a two-throat nozzle ejector. When the maximum Er is obtained, the optimal Lm is in the scope of 64 mm-82 mm with the Pp from 8.9 MPa to 9.5 MPa. The optimal Lm of each curve representing Er increases for the rise of Pp.
- (3)
- The two-throat nozzle ejector performance is sensitive to the changes of θpm. The percentages of increment in Er by changing θpm from 49.7° to 69.0° for 4 sets of Pp are 9.2%, 7.9%, 6.3% and 6.0% respectively, and the optimal θpm hardly changes in response to the variations of Pp.
Author Contributions
Funding
Conflicts of Interest
Nomenclature
| P | Static pressure, MPa |
| T | Static temperature, °C |
| ω | Mass flow rate, kg·s−1 |
| D | Diameter, mm |
| L | Length, mm |
| θ | angel, ° |
| δ | Error, % |
| ρ | Density, kg·m−3 |
| u | Vector velocity, m s−1 |
| E | Total energy |
| τ | viscous stress, Pa |
| t | Time, s |
| Abbreviations | |
| CFD | Computational fluid dynamics |
| Er | Entrainment ratio |
| PF | Primary flow |
| SF | Secondary flow |
| Subscripts | |
| p | Primary flow inlet |
| s | Secondary flow inlet |
| c | Back flow |
| m | Mixing chamber |
| pm | Pre-mixing chamber |
References
- Fu, W.; Liu, Z.; Li, Y.; Wu, H.; Tang, Y. Numerical study for the influences of primary steam nozzle distance and mixing chamber throat diameter on steam ejector performance. Int. J. Therm. Sci. 2018, 132, 509–516. [Google Scholar] [CrossRef]
- Bolaji, B.O.; Huan, Z. Ozone depletion and global warming: Case for the use of natural Refrigerant—A review. Renew. Sustain. Energy Rev. 2013, 18, 49–54. [Google Scholar] [CrossRef]
- Bodys, J.; Smolka, J.; Palacz, M.; Haida, M.; Banasiak, K.; Nowak, A.J.; Hafner, A. Performance of fixed geometry ejectors with a swirl motion installed in a multi-ejector module of a CO2 refrigeration system. Energy 2016, 117, 620–631. [Google Scholar] [CrossRef]
- Gullo, P.; Hafner, A.; Banasiak, K. Transcritical R744 refrigeration systems for supermarket applications: Current status and future perspectives. Int. J. Refrig.-Rev. Int. Du Froid 2018, 93, 269–310. [Google Scholar] [CrossRef]
- Karampour, M.; Sawalha, S. Energy efficiency evaluation of integrated CO2 trans-critical system in supermarkets: A field measurements and modelling analysis. Int. J. Refrig.-Rev. Int. Du Froid 2017, 82, 470–486. [Google Scholar] [CrossRef] [Green Version]
- Rony, R.U.; Yang, H.J.; Krishnan, S.; Song, J. Recent Advances in Transcritical CO2 (R744) Heat Pump System: A Review. Energies 2019, 12, 457. [Google Scholar] [CrossRef] [Green Version]
- Austin, B.T.; Sumathy, K. Transcritical carbon dioxide heat pump systems: A review. Renew. Sustain. Energy Rev. 2011, 15, 4013–4029. [Google Scholar] [CrossRef]
- Jin, Z.Q.; Eikevik, T.M.; Neksa, P.; Hafner, A. Investigation on CO2 hybrid ground-coupled heat pumping system under warm climate. Int. J. Refrig.-Rev. Int. Du Froid 2016, 62, 145–152. [Google Scholar] [CrossRef]
- Yang, J.Y.; Yu, B.B.; Chen, J.P. Improved genetic algorithm-based prediction of a CO2 micro-channel gas-cooler against experimental data in automobile air conditioning system. Int. J. Refrig.-Rev. Int. Du Froid 2019, 106, 517–525. [Google Scholar] [CrossRef]
- Luger, C.; Rieberer, R. Multi-objective design optimization of a rail HVAC CO2 cycle. Int. J. Refrig. 2018, 92, 133–142. [Google Scholar] [CrossRef]
- Kimura de Carvalho, B.Y.; Melo, C.; Pereira, R.H. An experimental study on the use of variable capacity two-stage compressors in transcritical carbon dioxide light commercial refrigerating systems. Int. J. Refrig. 2019, 106, 604–615. [Google Scholar] [CrossRef]
- Mastrullo, R.; Mauro, A.W.; Perrone, A. A model and simulations to investigate the effects of compressor and fans speeds on the performance of CO2 light commercial refrigerators. Appl. Therm. Eng. 2015, 84, 158–169. [Google Scholar] [CrossRef]
- Sian, R.A.; Wang, C.-C. Comparative study for CO2 and R-134a heat pump tumble Dryer—A rational approach. Int. J. Refrig. 2019, 106, 474–491. [Google Scholar] [CrossRef]
- Mancini, F.; Minetto, S.; Fornasieri, E. Thermodynamic analysis and experimental investigation of a CO2 household heat pump dryer. Int. J. Refrig. 2011, 34, 851–858. [Google Scholar] [CrossRef]
- Purohit, N.; Sharma, V.; Fricke, B.; Gupta, D.K.; Dasgupta, M.S. Parametric analysis and optimization of CO2 trans-critical cycle for chiller application in a warm climate. Appl. Therm. Eng. 2019, 150, 706–719. [Google Scholar] [CrossRef]
- Li, Y.; Deng, J.; Ma, L. Experimental study on the primary flow expansion characteristics in transcritical CO2 two-phase ejectors with different primary nozzle diverging angles. Energy 2019, 186, 115839. [Google Scholar] [CrossRef]
- Elbel, S.; Lawrence, N. Review of recent developments in advanced ejector technology. Int. J. Refrig. 2016, 62, 1–18. [Google Scholar] [CrossRef]
- Yadav, S.K.; Murari Pandey, K.; Gupta, R. Recent advances on principles of working of ejectors: A review. Mater. Today Proc. 2021, 45, 6298–6305. [Google Scholar] [CrossRef]
- Li, S.Z.; Li, W.; Liu, Y.J.; Ji, C.; Zhang, J.Z. Experimental Investigation of the Performance and Spray Characteristics of a Supersonic Two-Phase Flow Ejector with Different Structures. Energies 2020, 13, 1166. [Google Scholar] [CrossRef] [Green Version]
- Huang, K.; Guo, X.M.; Zhang, P.L. Influence of Structural Parameters of Two-Throat Nozzle Ejector on Performance of Two-phase Flow Ejector Refrigeration System. In 8th International Conference on Applied Energy; Yan, J., Sun, F., Chou, S.K., Desideri, U., Li, H., Campana, P., Xiong, R., Eds.; Elsevier Science Bv: Amsterdam, The Netherlands, 2017; Volume 105, pp. 5091–5097. [Google Scholar]
- Wang, X.; Wang, L.; Song, Y.; Deng, J.; Zhan, Y. Optimal design of two-stage ejector for subzero refrigeration system on fishing vessel. Appl. Therm. Eng. 2021, 187, 116565. [Google Scholar] [CrossRef]
- Chen, G.; Zhang, R.; Zhu, D.; Chen, S.; Fang, L.; Hao, X. Experimental study on two-stage ejector refrigeration system driven by two heat sources. Int. J. Refrig. 2017, 74, 295–303. [Google Scholar] [CrossRef]
- Chang, Y.J.; Chen, Y.M. Enhancement of a steam-jet refrigerator using a novel application of the petal nozzle. Exp. Therm. Fluid Sci. 2000, 22, 203–211. [Google Scholar] [CrossRef]
- Yang, X.; Long, X.; Yao, X. Numerical investigation on the mixing process in a steam ejector with different nozzle structures. Int. J. Therm. Sci. 2012, 56, 95–106. [Google Scholar] [CrossRef]
- Wang, X.; Yu, J. Experimental investigation on two-phase driven ejector performance in a novel ejector enhanced refrigeration system. Energy Convers. Manag. 2016, 111, 391–400. [Google Scholar] [CrossRef]
- Banu, J.P.; Mani, A. Numerical studies on ejector with swirl generator. Int. J. Therm. Sci. 2019, 137, 589–600. [Google Scholar] [CrossRef]
- Zhou, M.; Wang, X.; Yu, J. Theoretical study on a novel dual-nozzle ejector enhanced refrigeration cycle for household refrigerator-freezers. Energy Convers. Manag. 2013, 73, 278–284. [Google Scholar] [CrossRef]
- Rao, S.M.V.; Jagadeesh, G. Novel supersonic nozzles for mixing enhancement in supersonic ejectors. Appl. Therm. Eng. 2014, 71, 62–71. [Google Scholar] [CrossRef]
- Chen, X.; Omer, S.; Worall, M.; Riffat, S. Recent developments in ejector refrigeration technologies. Renew. Sustain. Energy Rev. 2013, 19, 629–651. [Google Scholar] [CrossRef]
- He, S.; Li, Y.; Wang, R.Z. Progress of mathematical modeling on ejectors. Renew. Sustain. Energy Rev. 2009, 13, 1760–1780. [Google Scholar] [CrossRef]
- Mohamed, S.; Shatilla, Y.; Zhang, T. CFD-based design and simulation of hydrocarbon ejector for cooling. Energy 2019, 167, 346–358. [Google Scholar] [CrossRef]
- Kim, S.; Jeon, Y.; Chung, H.J.; Kim, Y.J.A.T.E. Performance optimization of an R410A air-conditioner with a dual evaporator ejector cycle based on cooling seasonal performance factor. Appl. Therm. Eng. 2018, 131, 988–997. [Google Scholar] [CrossRef]
- Wang, L.; Yan, J.; Wang, C.; Li, X.B. Numerical study on optimization of ejector primary nozzle geometries. Int. J. Refrig.-Rev. Int. Du Froid 2017, 76, 219–229. [Google Scholar] [CrossRef]
- Hou, W.; Wang, L.; Yan, J.; Li, X.; Wang, L. Simulation on the performance of ejector in a parallel hybrid ejector-based refrigerator-freezer cooling cycle. Energy Convers. Manag. 2017, 143, 440–447. [Google Scholar] [CrossRef]
- Nakagawa, M.; Marasigan, A.R.; Matsukawa, T.; Kurashina, A. Experimental investigation on the effect of mixing length on the performance of two-phase ejector for CO2 refrigeration cycle with and without heat exchanger. Int. J. Refrig. 2011, 34, 1604–1613. [Google Scholar] [CrossRef]
- Zhang, H.; Wang, L.; Yan, J.; Li, X.; Wang, L. Performance investigation of a novel EEV-based ejector for refrigerator-freezers. Appl. Therm. Eng. 2017, 121, 336–343. [Google Scholar] [CrossRef]
- Wu, H.; Liu, Z.; Han, B.; Li, Y. Numerical investigation of the influences of mixing chamber geometries on steam ejector performance. Desalination 2014, 353, 15–20. [Google Scholar] [CrossRef]
- Dong, J.; Chen, X.; Wang, W.; Kang, C.; Ma, H. An experimental investigation of steam ejector refrigeration system powered by extra low temperature heat source. Int. Commun. Heat Mass Transf. 2017, 81, 250–256. [Google Scholar] [CrossRef] [Green Version]
- Dong, J.; Hu, Q.; Yu, M.; Han, Z.; Cui, W.; Liang, D.; Ma, H.; Pan, X. Numerical investigation on the influence of mixing chamber length on steam ejector performance. Appl. Therm. Eng. 2020, 174, 115204. [Google Scholar] [CrossRef]
- Guangming, C.; Xiaoxiao, X.; Shuang, L.; Lixia, L.; Liming, T. An experimental and theoretical study of a CO2 ejector. Int. J. Refrig. 2010, 33, 915–921. [Google Scholar] [CrossRef]
- Palacz, M.; Haida, M.; Smolka, J.; Plis, M.; Nowak, A.J.; Banasiak, K. A gas ejector for CO2 supercritical cycles. Energy 2018, 163, 1207–1216. [Google Scholar] [CrossRef]
- Ramesh, A.S.; Sekhar, S.J. Experimental and numerical investigations on the effect of suction chamber angle and nozzle exit position of a steam-jet ejector. Energy 2018, 164, 1097–1113. [Google Scholar] [CrossRef]















| Geometric Objects | Value/mm | Geometric Objects | Value/mm |
|---|---|---|---|
| Nozzle inlet diameter/Dp | 17 | Diameter of the second throat/Dst | 3.4 |
| Suction nozzle diameter/Ds | 34 | Second nozzle outlet diameter/Dso | 3.6 |
| Diameter of the first throat/Dft | 3.6 | Diffuser outlet diameter/Dd | 28 |
| First nozzle outlet diameter/Dfo | 4.8 | Length of diffuser/Ld | 72 |
| Primary flow inlet | Pressure inlet |
| Secondary flow inlet | Pressure inlet |
| Outlet | Pressure outlet |
| Wall | No-slip |
| Solver | Pressure-based |
| Time | Steady |
| Turbulence model | Standard k-ε |
| Near-wall treatment | Standard wall functions |
| Materials | CO2 |
| Pressure-velocity coupling | SIMPLEC |
| Convective terms | Second-order upwind |
| Convergence criteria | 1 × 10−6 |
| Parameters | Uncertainty | Unit |
|---|---|---|
| Temperature | ±0.5 | °C |
| Pressure (refrigerant) | ±0.032 | MPa |
| Mass flow rate (refrigerant) | ±0.001 | Kg·s−1 |
| Pressure | Structural Parameter | ||||
|---|---|---|---|---|---|
| Pp (MPa) | Ps (MPa) | Pc (MPa) | Dm (mm) | Lm (mm) | θpm (°) |
| 8.9~9.5 | 4.1 | 4.7 | 6.0~10.0 | 52~94 | 49.7~69.0 |
Publisher’s Note: MDPI stays neutral with regard to jurisdictional claims in published maps and institutional affiliations. |
© 2021 by the authors. Licensee MDPI, Basel, Switzerland. This article is an open access article distributed under the terms and conditions of the Creative Commons Attribution (CC BY) license (https://creativecommons.org/licenses/by/4.0/).
Share and Cite
Jia, F.; Yang, D.; Xie, J. Numerical Investigation on the Performance of Two-Throat Nozzle Ejectors with Different Mixing Chamber Structural Parameters. Energies 2021, 14, 6900. https://doi.org/10.3390/en14216900
Jia F, Yang D, Xie J. Numerical Investigation on the Performance of Two-Throat Nozzle Ejectors with Different Mixing Chamber Structural Parameters. Energies. 2021; 14(21):6900. https://doi.org/10.3390/en14216900
Chicago/Turabian StyleJia, Fatong, Dazhang Yang, and Jing Xie. 2021. "Numerical Investigation on the Performance of Two-Throat Nozzle Ejectors with Different Mixing Chamber Structural Parameters" Energies 14, no. 21: 6900. https://doi.org/10.3390/en14216900
APA StyleJia, F., Yang, D., & Xie, J. (2021). Numerical Investigation on the Performance of Two-Throat Nozzle Ejectors with Different Mixing Chamber Structural Parameters. Energies, 14(21), 6900. https://doi.org/10.3390/en14216900

