Next Article in Journal
Electric Energy Consumption Prediction by Deep Learning with State Explainable Autoencoder
Next Article in Special Issue
The Impact of Biodiesel Fuel on Ethanol/Diesel Blends
Previous Article in Journal
Impact Transient Characteristics and Selection Method of Voltage Transformer Fuse
Previous Article in Special Issue
Data-Based Sensing and Stochastic Analysis of Biodiesel Production Process
 
 
Font Type:
Arial Georgia Verdana
Font Size:
Aa Aa Aa
Line Spacing:
Column Width:
Background:
Article

Application of the Impedance Spectroscopy as a New Tool for Studying Biodiesel Fuel Aging Processes

by
Krzysztof Biernat
1,*,
Piotr Bocian
2,
Paweł Bukrejewski
1 and
Krzysztof R. Noworyta
2
1
Automotive Industry Institute, Jagiellońska 55, 03-301 Warsaw, Poland
2
Department of Physical Chemistry of Supramolecular Complexes, Institute of Physical Chemistry Polish Academy of Sciences, Kasprzaka 44/52, 01-224 Warsaw, Poland
*
Author to whom correspondence should be addressed.
Energies 2019, 12(4), 738; https://doi.org/10.3390/en12040738
Submission received: 1 February 2019 / Revised: 18 February 2019 / Accepted: 20 February 2019 / Published: 22 February 2019
(This article belongs to the Special Issue Biodiesel Production)

Abstract

:
Fatty acid methyl esters (FAME), which are presently the main component of biodiesel fuels, undergo relatively fast oxidation processes. This behavior prevents long term storage of this fuel. From laboratory practices, it transpires that even after a very short period of storage, the oxidative stability of the biodiesel exceeds the values required by European regulations. Therefore, the goal of this work was to devise a parameter (marker) allowing for fast and convenient identification of the chemical stability of biodiesel. Moreover, we were aiming to devise a marker which can also be used for the evaluation of the chemical stability of other hydrocarbon fuels containing biocomponents. To this end, in the presented study, selected biodiesel samples were subjected to controlled aging processes in laboratory conditions at 95 °C and oxygen flow according to the norm. Then, physico-chemical parameters were selected that are critical from the point of view of the fuel practical application. Those included density, refractive index, oxidative stability and resistance to oxidation. The appropriate physico-chemical properties were measured before and after an aging process conducted for various times. Simultaneously, electrochemical impedance spectroscopy (EIS) studies were performed for all the studied samples yielding the electrical parameters of the sample, including resistance, relaxation time and capacitance. Subsequently, a correlation between the results of the EIS studies and the selected critical parameters has been established. The obtained results indicate that the resistance, relaxation time and capacitance of the studied biodiesel fuel increase with aging time. This indicates the formation of long chain compounds with increased polarity. Interestingly, the electrical parameter changes are faster at the early stages of the aging process. This suggests a change of the oxidation mechanism during prolonged aging. The devised methodology of impedimetric biodiesel testing can be proposed as a fast and inexpensive method of fuel chemical stability evaluation, allowing for estimating the useful storage time of biodiesel in real conditions.

1. Introduction

Aging changes in conventional liquid fuels occurring during their storage (especially prolonged storage) in depots are well known. The evaluation of changes occurring in the fuels becomes more and more important as use of liquid fuels systematically increase. This also means that the amount of fuel stored for longer periods of time increases as well. Independently, the obligation of fulfilling National Reference Goals requires the addition of biocomponents to conventional fuels. In the case of biodiesel, methyl (or ethyl) esters from fatty acids of plant origin or their mixtures at concentrations from 7% (v:v) are routinely added. In general, biofuels are produced from a variety of plant oils or animal fats [1]. They are considered friendly for the environment as they may help in the reduction of greenhouse gas emissions [2]. Furthermore, they offer the advantage of having lower soot and carbon oxide emissions [3,4,5]. At low blending ratios, they can be used as an alternative fuel in diesel engines without any modification. Unfortunately, biodiesels also have some drawbacks, hindering its extensive use [6]. These drawbacks strongly depend on the source of the biodiesel. The major drawbacks of biodiesels are that they can cause injector coking, carbon deposition, oxidation and corrosion of engine parts due to the presence of higher unsaturated fatty acids in its structure [7]. Reports also indicate an increase of NOx emissions during biodiesel use [4,5]. Moreover, some of the biodiesel types show lower oxidative stability and therefore shortened storage life [8].
Technical progress requires stricter observation of fuel quality norms. Stored fuels are, therefore, systematically controlled in order to assure that they fulfill legal requirements. However, an important issue is the stability of biodiesel fuels during storage. Aging is a complex chemical process involving oxidation, radical formation and coupling. As biofuels contain more reactive oxygen containing compounds, they can act as initiators of numerous adverse reactions. Researchers found that biofuels are more prone to oxidation than purely hydrocarbon fuels [9,10]. Notably, the kinematic viscosity, flash point and total base number (TBN) deteriorate significantly in the case of biodiesel fuels [9].
Routine methods for diesel fuel analysis (including biodiesel) are based on studies of their selected physico-chemical parameters, such as the amount of precipitates determining oxidative stability (“PetroOXY”), the density at 15 °C and the refractive index at 20 °C. These methods are standardized and are determined by the appropriate qualitative norms. However, these methods are typically long and cumbersome. They also require dedicated equipment. Therefore, there is a need to develop faster and easier methods for controlling diesel fuel quality.
To this end, various methods of biodiesel composition studies are described in the literature. They rely mainly on ultraviolet and visual spectrophotometry (UV-VIS) and near infrared (NIR) spectrophotometry [11], as well as middle infrared spectrophotometry (MIR) [12]. In order to estimate the amount of biocomponents in diesel oil, dielectric spectroscopy has also been used [13]. Impedance measurements were also applied to estimate the water concentration in the filters of compression–ignition engines [14]. It has also been proposed that the quality of engine oils can be monitored by observing the electric permittivity change at high frequency (above 1 MHz) alternating currents (AC) [15]. Furthermore, impedance changes were used for the determination of engine oil contamination with soot and diesel fuel [16]. Interestingly, a method of continuous monitoring of engine oil density and viscosity by using piezoelectric microresonators has also been developed [17].
Although these methods allow for fast and continuous measurements of various biodiesel fuel parameters, until now they were not used as indicators of the biodiesel aging process. Herein, we describe the first results of studies regarding the influence of the aging process of biodiesel on its impedance spectra. The impedance spectroscopy measurements are widely used for studying electrical effects in solutions, solids or colloids. It has been used in research on a wide range of processes, such as corrosion, adsorption, battery and fuel cell testing, electrode modifications and its parameters (surface roughness and porosity) [18]. Impedance spectra contain a large quantity of information of the system under research. However, the understanding of the various processes depends largely on comparing the obtained results with the correct model, composed typically of a set of electrical circuit components (capacitors, resistors, etc.) which represent given physical or chemical processes [19,20]. In view of the flexibility, power and ease of use of impedance spectroscopy, it has been used in this work for studying the aging processes of biodiesel fuel. Furthermore, attempts to correlate results obtained from the electrochemical impedance spectroscopy (EIS) studies with changes in selected fuel parameters during its aging according to standard methods are described. It has been shown that the devised method allows for sensitive measurements of the aging process.

2. Equipment and Methods

There are important differences in the chemical structure of fatty acid methyl esters (FAME) in comparison with the hydrocarbon components of diesel fuels, as well as differences in the aging processes of both components. For that reason, in the present work, EIS measurements were used for samples of biodiesel fuel containing the minimal amount of FAME required by law, i.e., 7% (v:v). Therefore, samples of the commercial biodiesel fuel with a known concentration of FAME of 6.6% (v:v) designated ST ON 7 were used. The physico-chemical parameters of the samples were measured according to the European norm EN 590:2013.
In order to measure changes in the selected parameters occurring during oxidation, an accelerated aging of the fuel samples was performed.
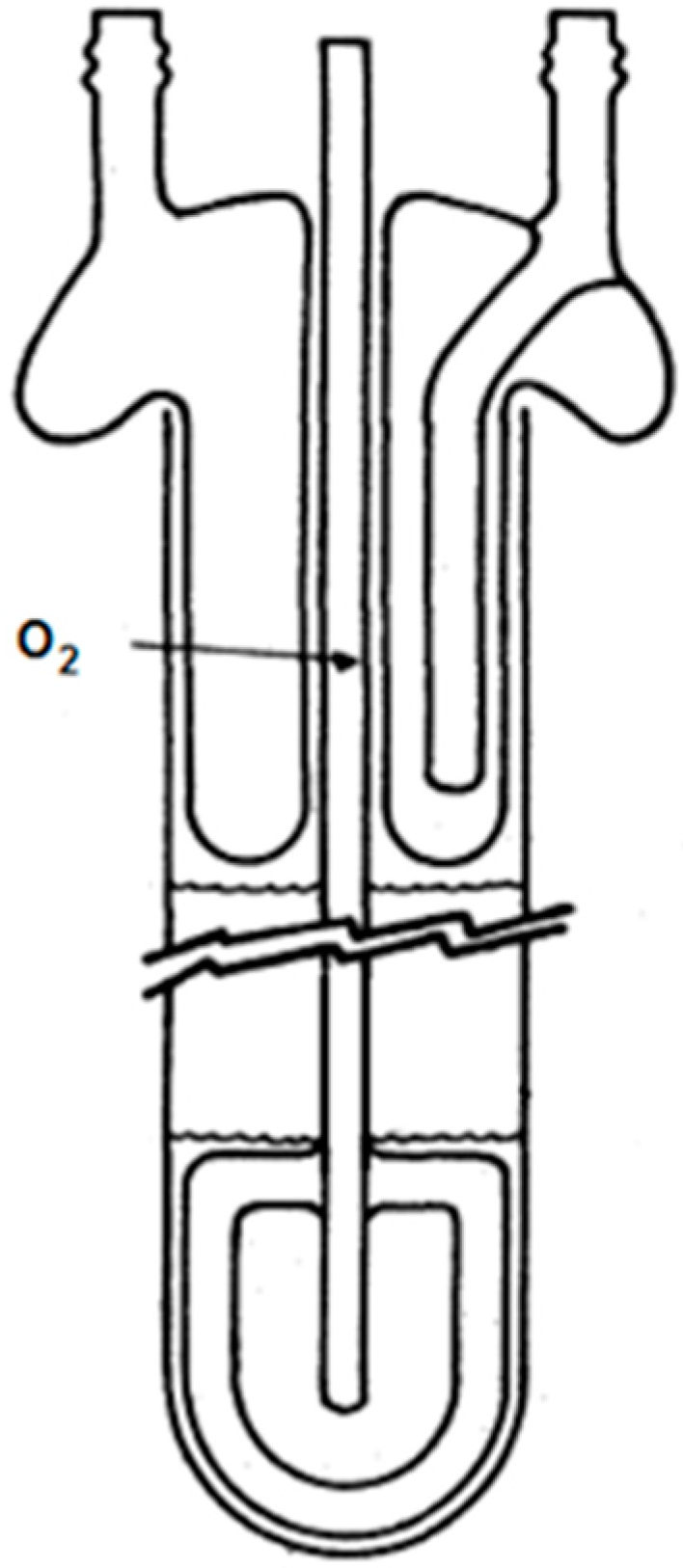
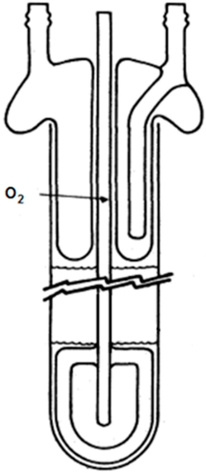
The oxidation process was performed at 95 °C at an oxygen flow rate of 3 L/h. The diesel fuel samples of 400 cm3 each were aged for 66 h by using the apparatus described in the EN ISO 12205 norm (briefly, glass sample tubes equipped with a condenser and oxygen supplying tube (Figure 1)). During the aging process, samples were acquired at given time intervals of 0 h, 3 h, 6 h, 48 h and 66 h. The maximal aging time of the samples was selected on the basis of estimated oxidation stability of the product. On the basis of the literature search and the results of previous research projects performed with the Automotive Industry Institute key parameters, which are important for assuring the quality of fuels during their storage, distribution and exploitation, were selected. Subsequently, selected physico-chemical parameters as well as impedance spectra of the aged fuel samples were measured. A sample before aging, i.e., the sample acquired at time 0 h, has been used as a control.

2.1. Studies of the Selected Physico-Chemical Parameters of the Aged Diesel Fuel

Samples of the biodiesel aged using the same parameters were acquired at given times 0 h, 3 h, 6 h, 48 h and 66 h. Selected physico-chemical parameters of the samples were then measured. The refractive index of the sample at 20 °C was measured using a Abbemat 380 refractometer (Anton Parr, Great Britain) and its density at 15 °C was measured using a DMA 4500M densitometer (Anton Paar, Great Britain) according to the EN ISO 12185 norm. Oxidative stability was measured by using a method of fast oxidation on a small scale (“PetroOXY”) according to the EN 16091 norm. Finally, the resistance to oxidation has been measured by the “Rancimat” method according to the EN 15751 standard. A sample before aging, i.e., the sample acquired at time 0 h, has been used as a control. The results of the measurements are described later in this work.

2.2. Method of Determination of the Biodiesel Aging Stage Using Electrochemical Impedance Spectroscopy Measurements

In order to study the influence of the aging process on the biodiesel sample impedance, 5 mL of the ST ON 7 samples aged for varying lengths of time were placed in the 15 mL cell. Subsequently, a combined two-electrode setup has been placed in the cell. The setup consisted of two platinum electrodes in the form of parallel plates embedded in a glass tube. The area of both electrodes was 0.25 cm2. Their distance was 1.5 mm. A schematic design of the measurement setup has been shown in Figure 2. Then, the electrochemical impedance spectra of the sample was recorded by applying a voltage of 0 V between electrodes and modulating it with a sinusoidal alternating voltage signal with an amplitude of 0.4 V and a frequency in the range of 1 mHz to 3 MHz. The EIS spectra were recorded by using a SP-300 potentiostat (Bio-Logic, France) driven by the EC-Lab version10 software of the same manufacturer.
The EIS spectra for each sample were then processed and analyzed using the same EC-Lab version 10 software. The recorded spectra were subsequently fitted to the electrical model consisting of a resistor in parallel with a capacitor. This procedure allowed us to obtain the selected electrical parameters of the studied sample, namely, resistance, R, relaxation time, τ and capacitance, C. The obtained results were then correlated with the physico-chemical parameters of the aged biodiesel fuel.

3. Results

The recorded impedance spectra of aged biodiesel samples are presented in the form of Nyquist plots, i.e., dependence on the real part of the impedance, Zre, versus the imaginary part of the impedance, Zim (Figure 3). Spectra recorded for the all studied samples show formation of a depressed semicircle in accordance with the model electrical circuit consisting of a capacitor in parallel with a resistor. The results shown indicate that the resistance of the biodiesel fuel even before aging is very large. This is expected of such a non-conductive medium. Importantly, the spectra of oxidatively aged samples clearly show changes with the aging time. The radius of the observed semicircle increases drastically with the aging time. This indicates that the resistance of the biodiesel sample increases significantly after the oxidation process. As the Nyquist plot does not give direct access to the applied alternate voltage frequency, the measured real part, Zre, and the imaginary part, Zim, of the impedance have been presented versus the applied voltage frequency using a semi-logarithmic scale (Figure 4). This allows for drawing conclusions regarding in which applied voltage frequency range the most prominent changes in the impedance take place.
In order to analyze the results in more detail, the parameters of the model circuit mentioned above were fitted to the experimental data. The fitting was performed using EC-Lab software. During the fitting, the resistance of the sample, R, and capacitance of the capacitor formed from the liquid between the electrodes, C, have been obtained for each sample aged for different times. Furthermore, the frequency f0 at which the maximum of the Zim is observed for the semicircle in the Nyquist plot (Figure 3) has also been established. The f0 value can be used for the calculation of the relaxation time of the charge carriers, τ, [21] according to Equation (1).
τ = 1 2 π f 0
where f0 is frequency at which Zim reaches its maximum value.
The obtained parameters are collected in Table 1.
In order to better understand the influence of the aging process on the electrical parameters, the correlation of those parameters with other physico-chemical parameters of the samples aged for the same time has been attempted. The physico-chemical parameters of the aged samples of the biodiesel are presented in Table 2. The shown parameters, which are used for the evaluation of fuel quality, are as follows: amount of precipitate determining oxidative stability (“PetroOXY”), oxidation resistance determined by the “Rancimat” method, refractive index at 20 °C, and density at 15 °C. Dependences of both electrical and standard physico-chemical parameters on the aging time of the sample are summarized in Figure 5 and Figure 6.

4. Discussion

As it has been shown in Figure 3 and Figure 4 that the values of the impedance of biodiesel fuel before the aging process (i.e., from the measurement time 0 h) are in the order of gigaohms, which indicate a very high electrical resistance of the studied liquid. Those values are in accordance with the expected values for viscous and non-polar liquids such as typical diesel fuel with mostly hydrocarbon components. Similar impedance values of gigaohms and even teraohms are observed for biodiesel fuels and their mixtures [16]. In this work, impedance was used to study the influence of known biocomponents on diesel oil parameters.
During an accelerated aging process, an increase of both the real and imaginary part of the impedance is observed as a function of the aging time (Figure 5). This leads to an observed increase of the diameter of the semicircle on the Nyquist plot (Figure 3). For longer aging times, the diameter of the semicircle increases so much that a plateau is almost observed in the used voltage frequency range. In order to gain more information on the studied system, the spectrum of the electrical equivalent circuit has been fitted to the experimental data. That way, the values of sample resistance, R, capacitance, C, and time constant, τ, were obtained. The dependence of those parameters on the fuel aging time is presented in Figure 5 and Table 1. The value of R increases drastically from 43.3 GΩ for non-aged biodiesel fuel to 125.6 GΩ for the fuel aged for 66 h. In the same time, the value of C obtained for the non-aged reference sample is very small and reaches 0.1127 nF. This indicates a small amount of charge carriers in the studied sample [21], which is in accordance with its character. During aging, capacitance increases, reaching a value of 0.1155 nF after 48 h of aging (Figure 3b). During further aging of the biodiesel, a small decrease of C to 0.1151 nF after 66 h is observed. These observed changes suggest that during aging, more polar compounds are formed, leading to an increase of the sample’s electric permittivity and therefore observed capacitance. Constant or slowly decreasing C values after prolonged aging suggest the formation of saturated hydrocarbons with longer chains exhibiting lower dipole moments. This would in consequence lead to a decrease of electric permittivity of the sample.
The relaxation time of the charge carriers determined from the impedance measurements also changes during biodiesel aging (Figure 5b). The value of τ observed for non-aged samples is quite long, reaching almost 5 s. This value increases during aging, reaching almost 16 s after 48 h. After further aging, the τ value remains practically constant. This suggests either increased viscosity or a decrease of polarity during the process. This result corroborates the conclusion that long chain compounds with lower polarity are formed at some point during the aging process.
The Nyquist plot does not explicitly contain the dependence of the impedance on the frequency of the applied alternating voltage. Therefore, in Figure 4, the dependence of the real, Zre, and imaginary, Zim, parts of the impedance on the logarithm of the applied alternating voltage frequency is shown. The obtained results indicate that changes in the biodiesel sample impedance are observed predominantly at low frequencies below 10 Hz. At higher frequencies, small changes in the impedance with aging of the sample are also observed. However, they are relatively small and difficult to interpret. The measurements of the impedance at constant frequency are faster than measurements of the full spectrum. Therefore, analysis of the dependence of the real, Zre, and imaginary, Zim, parts of the impedance at constant frequencies of 30 mHz and 15 mHz, respectively, on the aging time has also been performed. The measured values of Zre and Zim for different aging times of the sample are given in Table 1 and in Figure 5a. The value of both Zre and Zim decreases significantly with the aging time of the sample. This decrease is non-linear with a more pronounced decrease at lower aging times. After approximately 8 h of aging, the changes are much slower. Interestingly, the decrease of Zim is much more pronounced than that of Zre.
In the Figure 6, the dependence of the established physico-chemical indicators of fuel quality on the aging time is shown. It is clear that changes in the oxidative stability (“PetroOXY”) and oxidation resistance (“Rancimat”) (Figure 6a), as well as density at 15°C and refractive index at 20 °C (Figure 6b) depend quite linearly on aging time in the whole studied time scale. However, a faster change of all these indicators is also observed below approximately 8 h of aging time. Interestingly, this correlates with fast changes in the impedance-derived indicators in the same time scale. One can hypothesize that the mechanism of aging changes after approximately 8 h with different processes playing main roles at different aging times.
In the next step of the analysis, the correlation of the parameters obtained from impedance measurements with established physico-chemical indicators of fuel quality has been analyzed. The correlation results are presented in Figure 7 and Figure 8. It is clear that dependence of Zre and Zim on oxidation stability (“PetroOXY”) of the studied samples is similar. With the increase of the biodiesel oxidation stability, these parameters increase linearly up to an oxidation stability of approximately 70 min. Above this value, these parameters increase much faster (Figure 7a). On the other hand, the R values decrease slowly up to an oxidation stability of approximately 70 min, and then decrease much faster. Similar behavior is observed for the discussed electric parameters with oxidation resistance measured by the “Rancimat” method as shown in Figure 7b. In this case, the increase in Zre and Zim values is accelerated above a certain value (around 41 h this time), while the R value decrease is also accelerated above this value of oxidation resistance.
Interestingly, the discussed dependence of the R, Zre, and Zim parameters on the refractive index at 20 °C (Figure 7c) and density at 15 °C (Figure 7d) of the studied ST ON 7 samples exhibits similar behavior. That means one can discern two parts of the plot with different slopes below and above a certain value of the refractive index and density. The Zre and Zim values decrease this time with both refractive index and density, while R values increase with an increase of those parameters. All these observations point out that the electrical parameters of the studied biodiesel are much more sensitive to the changes in biofuel occurring at the early stages of the aging process than established physico-chemical indicators.
Interestingly, dependence is observed for the C and τ parameters, established from the impedance measurements, on the oxidation stability (“PetroOXY”) and oxidation resistance (“Rancimat”) of the studied ST ON 7 samples (Figure 8a,b). Both parameters do not depend strongly on the oxidation stability and oxidation resistance values for lower values of those parameters, but above some critical value, they decrease sharply. As the oxidation stability and oxidation resistance of the biodiesel decrease during aging (Figure 6b), the observed dependence of C and τ suggests the formation of more polar oxidation products leading to an increase of C. Simultaneously, the formed products are more viscous, leading to an increase of τ. In the later aging stages, these changes are much less pronounced. This suggests the formation of long chain products which do not change their polarity and viscosity much.
Both C and τ values change non-linearly with density and refractive index changes of the sample (Figure 8a,b). Both parameters increase relatively fast with an increase of density of the refractive index of the sample, after which they practically reach plateau.
Interestingly, the observed effects are not connected with increased water content in the sample during the aging process. Taking into account the oxidative nature of the accelerated aging, one could expect the formation of small quantities of water during the process. However, control experiments performed on the non-aged samples containing a known water concentration (not shown) showed the opposite behavior of the recorded Nyquist plot. This means that the diameter of the semicircle observed in the Nyquist plot decreased with increased water content in the sample.
The performed measurements indicate that parameters derived from the impedance spectra, that is, Zre, Zim, R, C and τ, change with aging time of the FAME-containing biodiesel. Therefore, they can be used as indicators, allowing estimation of the changes in biofuel parameters and quality during its storage. Importantly, the electrical parameters of the biofuel changes are much more pronounced at the early stages of aging, which allows for early detection of such changes in fuel quality. It is known form the literature that oxidative stability (“PetroOXY”) is an especially convenient indicator, allowing for the estimation of biodiesel usefulness. In this work, it has been shown that on the basis of the changes of impedance spectra or changes of selected values of the impedance measured at constant frequency, one can predict the oxidative stability of biodiesel.

5. Conclusions

It has been shown that the impedance spectra of the studied biodiesel samples containing FAME show important changes during accelerated aging processes. Electrical resistance of the studied biodiesel fuel significantly increases with aging time, and the measured capacitance and relaxation time also increase. These findings indicate the formation of long chain compounds with increased polarity. It is interesting to note that the studied electrical parameter changes are faster at the early stages of the aging process than at the later stages. This suggests a change of the oxidation mechanism during prolonged aging. It is noteworthy that the changes in density, refractive index, oxidative stability and resistance to oxidation with aging also show slightly faster changes at aging times below 10 h. However, the effect is much less pronounced in comparison to what is observed in the case of electrical parameters. It would be, therefore, interesting to study the early stages of oxidation in more detail.

Author Contributions

P.B. (Piotr Bocian) performed impedance measurements, performed aging of the samples and performed measurements of physico-chemical parameters of the samples, P.B. (Paweł Bukrejewski) planned and supervised the fuel sample aging and measurements of their physico-chemical parameters. He also performed data analysis. K.R.N. planned and supervised impedance measurements, performed data analysis and participated in manuscript writing. K.B. supervised overall project, helped with data analysis and write manuscript.

Funding

This research received no external funding.

Acknowledgments

The Authors express their gratitude to P.S. Sharma for helpful discussions and comments.

Conflicts of Interest

The authors declare no conflict of interest.

References

  1. National Renewable Energy Laboratory (NREL). Biodiesel Handling and Use Guide. 2013. Available online: http://www.nrel.gov/vehiclesandfuels/pdfs/43672.pdf (accessed on 24 January 2019).
  2. Noor, M.M.; Wandel, A.P.; Yusaf, T.F. The Simulation of Biogas Combustion in a Mild Burner. J. Mech. Eng. Sci. 2014, 6, 995. [Google Scholar] [CrossRef]
  3. Yusop, A.; Mamat, R.; Yusaf, T.; Najafi, G.; Yasin, M.H.M.; Khathri, A.M. Analysis of Particulate Matter (PM) Emissions in Diesel Engines Using Palm Oil Biodiesel Blended with Diesel Fuel. Energies 2018, 11, 1039. [Google Scholar] [CrossRef]
  4. Yoon, S.; Kim, M.S.; Kim, H.J.; Choi, N.J. Effects of canola oil biodiesel fuel blends on combustion, performance, and emissions reduction in a common rail diesel engine. Energies 2014, 7, 8132–8149. [Google Scholar] [CrossRef]
  5. Rahman, M.M.; Rasul, M.; Hassan, N.M.S.; Hyde, J. Prospects of Biodiesel Production from Macadamia Oil as an Alternative Fuel for Diesel Engines. Energies 2016, 9, 403. [Google Scholar] [CrossRef]
  6. Bhuiya, M.M.K.; Rasul, M.G.; Khan, M.M.K.; Khan, M.M.K.; Azad, A.K.; Hazrat, M.A. Prospects of 2nd generation biodiesel as a sustainable fuel—Part 2: Properties, performance and emission characteristics. Renew. Sustain. Energy Rev. 2016, 55, 1129–1146. [Google Scholar] [CrossRef]
  7. Fazal, M.A.; Haseeb, A.S.M.A.; Masjuki, H.H. Biodiesel feasibility study: An evaluation of material compatibility; performance; emission and engine durability. Renew. Sustain. Energy Rev. 2011, 15, 1314–1324. [Google Scholar] [CrossRef]
  8. Moon, G.; Lee, Y.; Choi, K.; Jeong, D. Emission characteristics of diesel, gas to liquid, and biodiesel-blended fuels in a diesel engine for passenger cars. Fuel 2010, 89, 3840–3846. [Google Scholar] [CrossRef]
  9. Shahabuddin, M.; Kalam, M.A.; Masjuki, H.H.; Bhuiya, M.M.K.; Mofijur, M. An experimental investigation into biodiesel stability by means of oxidation and property determination. Energy 2012, 44, 616–622. [Google Scholar] [CrossRef]
  10. Mofijur, M.; Rasul, M.G.; Hassan, N.M.S.; Masjuki, H.H.; Kalam, M.A.; Mahmudul, H.M. Chapter Fourteen—Assessment of Physical, Chemical, and Tribological Properties of Different Biodiesel Fuels; Rasul, M.G., Azad, A.K., Sharma, S.C., Eds.; Clean Energy for Sustainable Development, Academic Press: Cambridge, MS, USA, 2017; p. 441. [Google Scholar]
  11. de Oliveira, R.R.; de Lima, K.M.G.; Tauler, R.; de Juan, A. Application of correlation constrained multivariate curve resolution alternating least-squares methods for determination of compounds of interest in biodiesel blends using NIR and UV–visible spectroscopic data. Talanta 2014, 125, 233–241. [Google Scholar] [CrossRef] [PubMed]
  12. Guarieiro, L.L.N.; Pinto, A.C.; de Aguiar, P.F.; Ribeiro, N. Determination of biodiesel percentage in biodiesel: Diesel mixtures using mid-infrared spectroscopy. Química Nov 2008, 31, 421–426. [Google Scholar] [CrossRef]
  13. de Souza, J.E.; Scherer, M.D.; Cáceres, J.A.S.; Caires, A.R.L.; M’Peko, J.-C. A close dielectric spectroscopic analysis of diesel/biodiesel blends and potential dielectric approaches for biodiesel content assessment. Fuel 2013, 105, 705–710. [Google Scholar]
  14. Kim, J.-S.; Jang, S.-J. Water Sensor for Diesel Fuel Filter Based on Impedance Measurements. Korean Patent KR 1487338 B1, 28 January 2015. [Google Scholar]
  15. Pérez, A.T.; Hadfield, M. Low-Cost Oil Quality Sensor Based on Changes in Complex Permittivity. Sensors 2011, 11, 10675–10690. [Google Scholar] [CrossRef] [PubMed]
  16. Ulrich, C.; Petersson, H.; Sundgren, H.; Björefors, F.; Krantz-Rülcker, C. Simultaneous Estimation of Soot and Diesel Contamination in Engine Oil using Electrochemical Impedance Spectroscopy. Sens. Actuators B 2007, 127, 613–618. [Google Scholar] [CrossRef]
  17. Toledo, J.; Manzaneque, T.; Hernando-García, J.; Vázquez, J.; Ababneh, A.; Seidel, H.; Lapuerta, M.; Sánchez-Rojas, J.L. Application of quartz tuning forks and extensional microresonators for viscosity and density measurements. Microsyst. Technol. 2014, 20, 945–953. [Google Scholar] [CrossRef]
  18. Randviir, E.P.; Banks, C.E. Electrochemical impedance spectroscopy: An overview of bioanalytical applications. Anal. Methods 2013, 5, 1098–1115. [Google Scholar] [CrossRef]
  19. Prodromidis, M.I. Impedimetric immunosensors—A review. Electrochim. Acta 2010, 55, 4227–4233. [Google Scholar] [CrossRef]
  20. Zoski, C.G. Handbook of Electrochemistry; Elsevier: Amsterdam, The Netherlands, 2007. [Google Scholar]
  21. Lvovich, V.F. Impedance Spectroscopy; Wiley: Hoboken, NJ, USA, 2012. [Google Scholar]
Figure 1. Glass cell used for oxidation of diesel fuels containing fatty acid methyl esters (FAME).
Figure 1. Glass cell used for oxidation of diesel fuels containing fatty acid methyl esters (FAME).
Energies 12 00738 g001
Figure 2. Schematic view of the measurement setup that has been used for electrochemical impedance spectroscopy studies of biodiesel fuel.
Figure 2. Schematic view of the measurement setup that has been used for electrochemical impedance spectroscopy studies of biodiesel fuel.
Energies 12 00738 g002
Figure 3. Impedance spectra of the biodiesel samples aged according to norms recorded at 0 V voltage modified with sinusoidal alternate voltage with amplitude 0.4 V in the frequency range from 10 mHz to 3 MHz. Zim = imaginary part of the impedance; Zre = real part of the impedance.
Figure 3. Impedance spectra of the biodiesel samples aged according to norms recorded at 0 V voltage modified with sinusoidal alternate voltage with amplitude 0.4 V in the frequency range from 10 mHz to 3 MHz. Zim = imaginary part of the impedance; Zre = real part of the impedance.
Energies 12 00738 g003
Figure 4. Curves of (a) imaginary, Zim and (b) real, Zre part of the impedance versus frequency of the applied alternating voltage recorded for the samples of biodiesel fuel ST ON 7 containing FAME recorded after different aging times.
Figure 4. Curves of (a) imaginary, Zim and (b) real, Zre part of the impedance versus frequency of the applied alternating voltage recorded for the samples of biodiesel fuel ST ON 7 containing FAME recorded after different aging times.
Energies 12 00738 g004
Figure 5. Dependence of (a) sample resistance, R, the real part of the impedance, Zre, at 30 mHz and the imaginary part of the impedance, Zim, at 15 mHz, as well as (b) sample capacitance, C, and relaxation time, τ, on the aging time of the studied biodiesel ST ON 7.
Figure 5. Dependence of (a) sample resistance, R, the real part of the impedance, Zre, at 30 mHz and the imaginary part of the impedance, Zim, at 15 mHz, as well as (b) sample capacitance, C, and relaxation time, τ, on the aging time of the studied biodiesel ST ON 7.
Energies 12 00738 g005
Figure 6. Dependence of the (a) oxidative stability (“PetroOXY”) and oxidation resistance (“Rancimat”), as well as (b) density at 15 °C and refractive index at 20 °C on the aging time of the studied biodiesel ST ON 7.
Figure 6. Dependence of the (a) oxidative stability (“PetroOXY”) and oxidation resistance (“Rancimat”), as well as (b) density at 15 °C and refractive index at 20 °C on the aging time of the studied biodiesel ST ON 7.
Energies 12 00738 g006
Figure 7. Correlation of the electrical parameters R, Zre and Zim obtained from the impedance measurements of the physico-chemical parameters of the diesel fuels routinely used for evaluation of the fuel quality. (a) Oxidative stability (“PetroOXY”), (b) oxidation resistance (“Rancimat”), (c) density at 15 °C, and (d) refractive index at 20 °C.
Figure 7. Correlation of the electrical parameters R, Zre and Zim obtained from the impedance measurements of the physico-chemical parameters of the diesel fuels routinely used for evaluation of the fuel quality. (a) Oxidative stability (“PetroOXY”), (b) oxidation resistance (“Rancimat”), (c) density at 15 °C, and (d) refractive index at 20 °C.
Energies 12 00738 g007
Figure 8. Correlation of the relaxation time, τ, and capacitance, C, obtained from the impedance measurements with physico-chemical parameters of the diesel fuels routinely used for evaluation of the fuel quality. (a) Oxidative stability (“PetroOXY”), (b) oxidation resistance (“Rancimat”), (c) density at 15 °C, and (d) refractive index at 20 °C.
Figure 8. Correlation of the relaxation time, τ, and capacitance, C, obtained from the impedance measurements with physico-chemical parameters of the diesel fuels routinely used for evaluation of the fuel quality. (a) Oxidative stability (“PetroOXY”), (b) oxidation resistance (“Rancimat”), (c) density at 15 °C, and (d) refractive index at 20 °C.
Energies 12 00738 g008
Table 1. Dependence of the electrical parameters of the biodiesel calculated from the impedance spectra on the aging time.
Table 1. Dependence of the electrical parameters of the biodiesel calculated from the impedance spectra on the aging time.
Aging Time
(h)
Resistance, R
(GΩ)
Relaxation Time, τ
(s)
Capacitance, C
(nF)
Zre at 30 mHz
(GΩ)
Zim at 15 mHz
(GΩ)
0.043.304.940.11321.8816.62
3.091.3010.750.11417.0245.74
6.0100.3010.750.115015.9950.02
48.0115.6015.920.11614.4256.39
66.0125.6015.920.11513.4760.04
Table 2. Dependence of the selected standard physico-chemical parameters of the biodiesel fuel containing FAME on the aging time.
Table 2. Dependence of the selected standard physico-chemical parameters of the biodiesel fuel containing FAME on the aging time.
Aging Time
(h)
Oxidative Stability
(min)
Oxidation Resistance
(h)
Refractive Index at 20 °CDensity at 15 °C
(kg m−3)
0.075.2043.301.45436825.60
3.070.3042.381.45443825.80
6.068.7040.061.45447825.80
48.060.4036.301.45484826.20
66.055.4031.301.45502826.50

Share and Cite

MDPI and ACS Style

Biernat, K.; Bocian, P.; Bukrejewski, P.; Noworyta, K.R. Application of the Impedance Spectroscopy as a New Tool for Studying Biodiesel Fuel Aging Processes. Energies 2019, 12, 738. https://doi.org/10.3390/en12040738

AMA Style

Biernat K, Bocian P, Bukrejewski P, Noworyta KR. Application of the Impedance Spectroscopy as a New Tool for Studying Biodiesel Fuel Aging Processes. Energies. 2019; 12(4):738. https://doi.org/10.3390/en12040738

Chicago/Turabian Style

Biernat, Krzysztof, Piotr Bocian, Paweł Bukrejewski, and Krzysztof R. Noworyta. 2019. "Application of the Impedance Spectroscopy as a New Tool for Studying Biodiesel Fuel Aging Processes" Energies 12, no. 4: 738. https://doi.org/10.3390/en12040738

APA Style

Biernat, K., Bocian, P., Bukrejewski, P., & Noworyta, K. R. (2019). Application of the Impedance Spectroscopy as a New Tool for Studying Biodiesel Fuel Aging Processes. Energies, 12(4), 738. https://doi.org/10.3390/en12040738

Note that from the first issue of 2016, this journal uses article numbers instead of page numbers. See further details here.

Article Metrics

Back to TopTop