A Person-Centered Approach to Job Insecurity: Is There a Reciprocal Relationship between the Quantitative and Qualitative Dimensions of Job Insecurity?
Abstract
1. Introduction
1.1. Job Insecurity
1.2. Understanding the Relationship between Quantitative and Qualitative Job Insecurity
1.3. Intrapersonal Approach to Job Insecurity
1.4. Present Study
2. Materials and Methods
2.1. Sample and Procedure
2.2. Drop-Out Analysis
2.3. Measurements
2.4. Analysis
3. Results
3.1. Measurement Model and Longitudinal Measurement Invariance
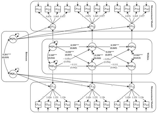
3.2. Test of the Hypotheses: RI-CLPM and Stability of the Model
4. Discussion
4.1. Theoretical Implications
4.2. Limitations and Future Research
5. Conclusions
Author Contributions
Funding
Informed Consent Statement
Data Availability Statement
Conflicts of Interest
Appendix A. Graphical Representation of the between-Person Differences for Quantitative and Qualitative Job Insecurity








References
- Probst, T.M. Countering the Negative Effects of Job Insecurity through Participative Decision Making: Lessons from the Demand-Control Model. J. Occup. Health Psychol. 2005, 10, 320–329. [Google Scholar] [CrossRef] [PubMed]
- Wu, C.H.; Wang, Y.; Parker, S.K.; Griffin, M.A. Effects of Chronic Job Insecurity on Big Five Personality Change. J. Appl. Psychol. 2020, 105, 1308–1326. [Google Scholar] [CrossRef] [PubMed]
- Donnelly, R. Precarious Work in Midlife: Long-Term Implications for the Health and Mortality of Women and Men. J. Health Soc. Behav. 2022, 63, 142–158. [Google Scholar] [CrossRef] [PubMed]
- Guarinoni, M.; Belin, A.; Oulès, L.; Graveling, R.; Crawford, J.; Lietzmann, J.; Said, A.; Konstantinopoulos, G.D.; Dobras, M.; Kaminskas, K.A. Directorate-General for Internal Policies; Policy Department. Economic and Scientific Policy. In Occupational Health Concerns: Stress-Related and Psychological Problems Associated with Work; Publications Office of the European Union, European Parliament, Directorate-General for Internal Policies of the Union: Luxembourg, 2013. [Google Scholar]
- Shoss, M.K. Job Insecurity: An Integrative Review and Agenda for Future Research. J. Manag. 2017, 43, 1911–1939. [Google Scholar] [CrossRef]
- Lee, C.; Huang, G.H.; Ashford, S.J. Job Insecurity and the Changing Workplace: Recent Developments and the Future Trends in Job Insecurity Research. Annu. Rev. Organ. Psychol. Organ. Behav. 2018, 5, 335–359. [Google Scholar] [CrossRef]
- Greenhalgh, L.; Rosenblatt, Z. Job Insecurity: Toward Conceptual Clarity. Acad. Manag. Rev. 1984, 9, 438–448. [Google Scholar] [CrossRef]
- Hellgren, J.; Sverke, M.; Isaksson, K. A Two-Dimensional Approach to Job Insecurity: Consequences for Employee Attitudes and Well-Being. Eur. J. Work Organ. Psychol. 1999, 8, 179–195. [Google Scholar] [CrossRef]
- Jiang, L.; Bazzoli, A.; Jenkins, M.R.; Probst, T.M. Job Insecurity within Higher Education: An Assessment of Measurement Invariance and Global Trends. 2021; in press. [Google Scholar]
- Jiang, L.; Wang, H.; Xu, X. A Resources–Demands Approach to Sources of Job Insecurity: A Multilevel Meta-Analytic Investigation. J. Occup. Health Psychol. 2021, 26, 108–126. [Google Scholar] [CrossRef]
- Tu, Y.; Long, L.; Wang, H.J.; Jiang, L. To Prevent or to Promote: How Regulatory Focus Moderates the Differentiated Effects of Quantitative Versus Qualitative Job Insecurity on Employee Stress and Motivation. Int. J. Stress Manag. 2019, 27, 135–145. [Google Scholar] [CrossRef]
- Jiang, L.; Lawrence, A.; Xu, X. Does a Stick Work? A Meta-Analytic Examination of Curvilinear Relationships between Job Insecurity and Employee Workplace Behaviors. J. Organ. Behav. 2022, 43, 1410–1445. [Google Scholar] [CrossRef]
- de Witte, H.; de Cuyper, N.; Handaja, Y.; Sverke, M.; Näswall, K.; Hellgren, J. Associations between Quantitative and Qualitative Job Insecurity and Well-Being. Int. Stud. Manag. Organ. 2010, 40, 40–56. [Google Scholar] [CrossRef]
- Hobfoll, S.E.; Halbesleben, J.; Neveu, J.-P.; Westman, M. Conservation of Resources in the Organizational Context: The Reality of Resources and Their Consequences. Annu. Rev. Organ. Psychol. Organ. Behav. 2018, 5, 103–128. [Google Scholar] [CrossRef]
- Hobfoll, S.E. Conservation of Resources and Disaster in Cultural Context: The Caravans and Passageways for Resources. Psychiatry Interpers. Biol. Process. 2012, 75, 227–232. [Google Scholar] [CrossRef]
- de Cuyper, N.; van Hootegem, A.; Smet, K.; Houben, E.; de Witte, H. All Insecure, All Good? Job Insecurity Profiles in Relation to Career Correlates. Int. J. Environ. Res. Public Health 2019, 16, 2640. [Google Scholar] [CrossRef]
- Urbanaviciute, I.; Lazauskaite-Zabielske, J.; de Witte, H. Deconstructing Job Insecurity: Do Its Qualitative and Quantitative Dimensions Add Up? Occup. Health Sci. 2021, 5, 415–435. [Google Scholar] [CrossRef]
- Chirumbolo, A.; Urbini, F.; Callea, A.; lo Presti, A.; Talamo, A. Occupations at Risk and Organizational Well-Being: An Empirical Test of a Job Insecurity Integrated Model. Front. Psychol. 2017, 8, 2084. [Google Scholar] [CrossRef]
- Chirumbolo, A.; Callea, A.; Urbini, F. Job Insecurity and Performance in Public and Private Sectors: A Moderated Mediation Model. J. Organ. Eff. 2020, 7, 237–253. [Google Scholar] [CrossRef]
- Callea, A.; lo Presti, A.; Mauno, S.; Urbini, F. The Associations of Quantitative/Qualitative Job Insecurity and Well-Being: The Role of Self-Esteem. Int. J. Stress Manag. 2019, 26, 46–56. [Google Scholar] [CrossRef]
- Nawrocka, S.; de Witte, H.; Brondino, M.; Pasini, M. On the Reciprocal Relationship between Quantitative and Qualitative Job Insecurity and Outcomes. Testing a Cross-Lagged Longitudinal Mediation Model. Int. J. Environ. Res. Public Health 2021, 18, 6392. [Google Scholar] [CrossRef]
- Wunsch, G.; Russo, F.; Mouchart, M. Do We Necessarily Need Longitudinal Data to Infer Causal Relations? Bull. Méthodologie Sociol. 2010, 106, 5–18. [Google Scholar] [CrossRef]
- Griep, Y.; Lukic, A.; Kraak, J.M.; Bohle, S.A.L.; Jiang, L.; Vander Elst, T.; de Witte, H. The Chicken or the Egg: The Reciprocal Relationship between Job Insecurity and Mental Health Complaints. J. Bus. Res. 2021, 126, 170–186. [Google Scholar] [CrossRef]
- Hu, S.; Jiang, L.; Chen, L. Get a Little Help from Your Perceived Employability: Cross-Lagged Relations between Multi-Dimensional Perceived Employability, Job Insecurity, and Work-Related Well-Being. Eur. J. Work. Organ. Psychol. 2022, 31, 880–893. [Google Scholar] [CrossRef]
- Låstad, L.; Vander Elst, T.; de Witte, H. On the Reciprocal Relationship between Individual Job Insecurity and Job Insecurity Climate. Career Dev. Int. 2016, 21, 246–261. [Google Scholar] [CrossRef]
- van Hootegem, A.; Sverke, M.; de Witte, H. Does Occupational Self-Efficacy Mediate the Relationships between Job Insecurity and Work-Related Learning? A Latent Growth Modelling Approach. Work. Stress 2022, 36, 229–250. [Google Scholar] [CrossRef]
- Dormann, C.; Griffin, M.A. Optimal Time Lags in Panel Studies. Psychol. Methods 2015, 20, 489–505. [Google Scholar] [CrossRef]
- Hoffman, L. Longitudinal Analysis Modeling Within-Person Fluctuation and Change; Routledge: London, UK, 2015; ISBN 978-0-41587-602-5. [Google Scholar]
- Morin, A.J.S.; Bujacz, A.; Gagné, M. Person-Centered Methodologies in the Organizational Sciences: Introduction to the Feature Topic. Organ. Res. Methods 2018, 21, 803–813. [Google Scholar] [CrossRef]
- Hoffman, L.; Stawski, R.S. Persons as Contexts: Evaluating Between-Person and Within-Person Effects in Longitudinal Analysis. Res. Hum. Dev. 2009, 6, 97–120. [Google Scholar] [CrossRef]
- de Cuyper, N.; Smet, K.; de Witte, H. I Should Learn to Feel Secure but I Don’t Because I Feel Insecure: The Relationship between Qualitative Job Insecurity and Work-Related Learning in the Public Sector. Rev. Public Pers. Adm. 2022, 42, 760–785. [Google Scholar] [CrossRef]
- Smet, K.; Vander Elst, T.; Griep, Y.; de Witte, H. The Explanatory Role of Rumours in the Reciprocal Relationship between Organizational Change Communication and Job Insecurity: A within-Person Approach. Eur. J. Work. Organ. Psychol. 2016, 25, 631–644. [Google Scholar] [CrossRef]
- de Witte, H. Job Insecurity: Review of the International Literature on Definitions, Prevalence, Antecedents and Consequences. SA J. Ind. Psychol. 2005, 31, 1–6. [Google Scholar] [CrossRef]
- Vander Elst, T.; Richter, A.; Sverke, M.; Näswall, K.; de Cuyper, N.; de Witte, H. Threat of Losing Valued Job Features: The Role of Perceived Control in Mediating the Effect of Qualitative Job Insecurity on Job Strain and Psychological Withdrawal. Work Stress 2014, 28, 143–164. [Google Scholar] [CrossRef]
- Ashford, S.J.; Lee, C.; Bobko, P. Content, Cause, and Consequences of Job Insecurity: A Theory-Based Measure and Substantive Test. Acad. Manag. J. 1989, 32, 803–829. [Google Scholar] [CrossRef]
- Keim, A.C.; Landis, R.S.; Pierce, C.A.; Earnest, D.R. Why Do Employees Worry About Their Jobs? A Meta-Analytic Review of Predictors of Job Insecurity. J. Occup. Health Psychol. 2014, 19, 269–290. [Google Scholar] [CrossRef] [PubMed]
- Sverke, M.; Hellgren, J. The Nature of Job Insecurity: Understanding Employment Uncertainty on the Brink of a New Millennium. Appl. Psychol. 2002, 51, 23–42. [Google Scholar] [CrossRef]
- Fischmann, G.; Sulea, C.; Kovacs, P.; Iliescu, D.; de Witte, H. Qualitative and Quantitative Job Insecurity: Relations with Nine Types of Performance. Psihol. Resur. Um. Rev. Asoc. De. Psihol. Indusstriala Si Organ. 2015, 13, 152–164. [Google Scholar]
- Chirumbolo, A.; Areni, A. Job Insecurity Influence on Job Performance and Mental Health: Testing the Moderating Effect of the Need for Closure. Econ. Ind. Democr. 2010, 31, 195–214. [Google Scholar] [CrossRef]
- van Hootegem, A.; Nikolova, I.; van Ruysseveldt, J.; van Dam, K.; de Witte, H. Hit by a Double Whammy? Trajectories of Perceived Quantitative and Qualitative Job Insecurity in Relation to Work-Related Learning Aspects. Eur. J. Work Organ. Psychol. 2021, 30, 915–930. [Google Scholar] [CrossRef]
- Fischmann, G.; de Witte, H.; Sulea, C.; Vander Elst, T.; de Cuyper, N.; Iliescu, D. Validation of a Short and Generic Qualitative Job Insecurity Scale (QUAL-JIS). Eur. J. Psychol. Assess. 2021, 38, 397–411. [Google Scholar] [CrossRef]
- Vander Elst, T.; de Witte, H.; de Cuyper, N. The Job Insecurity Scale: A Psychometric Evaluation across Five European Countries. Eur. J. Work. Organ. Psychol. 2014, 23, 364–380. [Google Scholar] [CrossRef]
- de Witte, H.; Vander Elst, T.; de Cuyper, N. Job Insecurity, Health and Well-Being. In Sustainable Working Lives; Springer: Dordrecht, The Netherlands, 2015; pp. 109–128. ISBN 978-9-40179-798-6. [Google Scholar]
- Selenko, E.; Batinic, B. Job Insecurity and the Benefits of Work. Eur. J. Work. Organ. Psychol. 2013, 22, 725–736. [Google Scholar] [CrossRef]
- Sarandopoulos, L.; Bordia, P. Resource Passageways and Caravans: A Multi-Level, Multi-Disciplinary Review of the Antecedents of Resources over the Lifespan. Work Aging Retire 2022, 8, 99–116. [Google Scholar] [CrossRef]
- Vander Elst, T.; Näswall, K.; Bernhard-Oettel, C.; de Witte, H.; Sverke, M. The Effect of Job Insecurity on Employee Health Complaints: A within-Person Analysis of the Explanatory Role of Threats to the Manifest and Latent Benefits of Work. J. Occup. Health Psychol. 2016, 21, 65–76. [Google Scholar] [CrossRef]
- Westman, M.; Hobfoll, S.E.; Chen, S.; Davidson, O.B.; Laski, S. Organizational Stress Through the Lens of Conservation of Resources (COR) Theory. Res. Occup. Stress Well Being 2004, 4, 167–220. [Google Scholar] [CrossRef]
- Kinnunen, U.; Mäkikangas, A.; Mauno, S.; de Cuyper, N.; de Witte, H. Development of Perceived Job Insecurity across Two Years: Associations with Antecedents and Employee Outcomes. J. Occup. Health Psychol. 2014, 19, 243–258. [Google Scholar] [CrossRef]
- de Cuyper, N.; Mäkikangas, A.; Kinnunen, U.; Mauno, S.; Witte, H. de Cross-Lagged Associations between Perceived External Employability, Job Insecurity, and Exhaustion: Testing Gain and Loss Spirals According to the Conservation of Resources Theory. J. Organ. Behav. 2012, 33, 770–788. [Google Scholar] [CrossRef]
- Debus, M.E.; König, C.J.; Kleinmann, M. The Building Blocks of Job Insecurity: The Impact of Environmental and Person-Related Variables on Job Insecurity Perceptions. J. Occup. Organ. Psychol. 2014, 87, 329–351. [Google Scholar] [CrossRef]
- Hamaker, E.L.; Kuiper, R.M.; Grasman, R.P. A Critique of the Cross-Lagged Panel Model. Psychol. Methods 2015, 20, 102–116. [Google Scholar] [CrossRef]
- Laursen, B.; Hoff, E. Person-Centered and Variable-Centered Approaches to Longitudinal Data. Merrill Palmer Q. 2006, 52, 377–389. [Google Scholar] [CrossRef]
- Klug, K.; Bernhard-Oettel, C.; Selenko, E.; Sverke, M. Temporal and Person-Oriented Perspectives on Job Insecurity. In Handbook on the Temporal Dynamics of Organizational Behavior; Edward Elgar Publishing: Cheltenham, UK, 2020; pp. 91–104. [Google Scholar]
- Taris, T.W.; Kompier, M.A.J. Cause and Effect: Optimizing the Designs of Longitudinal Studies in Occupational Health Psychology. Work Stress 2014, 28, 1–8. [Google Scholar] [CrossRef]
- Mulder, J.D.; Hamaker, E.L. Three Extensions of the Random Intercept Cross-Lagged Panel Model. Struct. Equ. Model. 2021, 28, 638–648. [Google Scholar] [CrossRef]
- Nelissen, J. Identifying Risks of Employability Enhancement. Ph.D. Thesis, KU Leuven, Leuven, Belgium, 2016. [Google Scholar]
- Enders, C.K.; Bandalos, D.L. The Relative Performance of Full Information Maximum Likelihood Estimation for Missing Data in Structural Equation Models. Struct. Equ. Model. 2001, 8, 430–457. [Google Scholar] [CrossRef]
- Enders, C.K. The Performance of the Full Information Maximum Likelihood Estimator in Multiple Regression Models with Missing Data. Educ. Psychol. Meas. 2001, 61, 713–740. [Google Scholar] [CrossRef]
- Enders, C.K. Applied Missing Data Analysis; Kenny, D.A., Little, T.D., Eds.; Guilford Publications: New York, NY, USA, 2010; ISBN 978-1-60623-639-0. [Google Scholar]
- de Witte, H. Arbeidsethos En Jobonzekerheid: Meting En Gevolgen Voor Welzijn, Tevredenheid En Inzet Op Het Werk. In Van Groep Naar Gemeenschap. Liber Amicorum Prof. dr. Leo Lagrou; Garant: Leuven, Belgium, 2000; pp. 325–350. [Google Scholar]
- Wilms, R.; Lanwehr, R.; Kastenmüller, A. Do We Overestimate the Within-Variability? The Impact of Measurement Error on Intraclass Coefficient Estimation. Front. Psychol. 2020, 11, 825. [Google Scholar] [CrossRef] [PubMed]
- Wilms, R.; Lanwehr, R.; Kastenmüller, A. Always Look on the Bright Side of Life? Exploring the between-Variance and within-Variance of Emotion Regulation Goals. Motiv. Emot. 2021, 45, 235–247. [Google Scholar] [CrossRef]
- Rosseel, Y. Lavaan: An R Package for Structural Equation Modeling. J. Stat. Softw. 2012, 48, 1–36. [Google Scholar] [CrossRef]
- Erreygers, S.; Vandebosch, H.; Vranjes, I.; Baillien, E.; de Witte, H. Positive or Negative Spirals of Online Behavior? Exploring Reciprocal Associations between Being the Actor and the Recipient of Prosocial and Antisocial Behavior Online. New Media. Soc. 2018, 20, 3437–3456. [Google Scholar] [CrossRef]
- Masselink, M.; van Roekel, E.; Hankin, B.L.; Keijsers, L.; Lodder, G.M.A.; Vanhalst, J.; Verhagen, M.; Young, J.F.; Oldehinkel, A.J. The Longitudinal Association Between Self-Esteem and Depressive Symptoms in Adolescents: Separating Between-Person Effects from Within-Person Effects. Eur. J. Pers. 2018, 32, 653–671. [Google Scholar] [CrossRef]
- Brown, T.A. Confirmatory Factor Analysis for Applied Research; Kenny, D.A., Ed.; Guilford Press: New York, NY, USA, 2015. [Google Scholar]
- Weston, R.; Gore, P.A. A Brief Guide to Structural Equation Modeling. Couns. Psychol. 2006, 34, 719–751. [Google Scholar] [CrossRef]
- Hu, L.T.; Bentler, P.M. Cutoff Criteria for Fit Indexes in Covariance Structure Analysis: Conventional Criteria versus New Alternatives. Struct. Equ. Model. 1999, 6, 1–55. [Google Scholar] [CrossRef]
- Lai, K. Confidence Interval for RMSEA or CFI Difference Between Nonnested Models. Struct. Equ. Model. 2020, 27, 16–32. [Google Scholar] [CrossRef]
- Marcoulides, K.M.; Yuan, K.H. New Ways to Evaluate Goodness of Fit: A Note on Using Equivalence Testing to Assess Structural Equation Models. Struct. Equ. Model. 2017, 24, 148–153. [Google Scholar] [CrossRef]
- Little, T.D.; Preacher, K.J.; Selig, J.P.; Card, N.A. New Developments in Latent Variable Panel Analyses of Longitudinal Data. Int. J. Behav. Dev. 2007, 31, 357–365. [Google Scholar] [CrossRef]
- Xiao, Z.; Wu, D.; Liao, Z. Job Insecurity and Workplace Deviance: The Moderating Role of Locus of Control. Soc. Behav. Pers. 2018, 46, 1673–1686. [Google Scholar] [CrossRef]
- Bakker, A.B.; Demerouti, E. The Job Demands-Resources Model: State of the Art. J. Manag. Psychol. 2007, 22, 309–328. [Google Scholar] [CrossRef]
- de Witte, H. Job Insecurity and Psychological Well-Being: Review of the Literature and Exploration of Some Unresolved Issues. Eur. J. Work. Organ. Psychol. 1999, 8, 155–177. [Google Scholar] [CrossRef]
- Jahoda, M. Employment and Unemployment: A Social-Psychological Analysis; Cambridge University Press: Cambridge, UK, 1982. [Google Scholar]
- Dormann, C.; van de Ven, B. Timing in Methods for Studying Psychosocial Factors at Work. In Psychosocial Factors at Work in the Asia Pacific; Dollard, M.F., Shimazu, A., Nordin, R.B., Brough, P., Tuckey, M.R., Eds.; Springer Science & Business Media: Dordrecht, The Netherlands, 2014; pp. 89–116. [Google Scholar]
- Podsakoff, P.M.; MacKenzie, S.B.; Podsakoff, N.P. Sources of Method Bias in Social Science Research and Recommendations on How to Control It. Annu. Rev. Psychol. 2012, 63, 539–569. [Google Scholar] [CrossRef]
- StatBel Workforce Survey 2014. Available online: https://statbel.fgov.be/nl/themas/werk-opleiding/arbeidsmarkt/werkgelegenheid-en-werkloosheid/plus (accessed on 25 August 2020).

| M | SD | 1 | 2 | 3 | 4 | 5 | 6 | 7 | 8 | 9 | 10 | 11 | 12 | 13 | 14 | 15 | ||
|---|---|---|---|---|---|---|---|---|---|---|---|---|---|---|---|---|---|---|
| 1 | Quan T1 | 2.22 | 0.87 | (0.85) | ||||||||||||||
| 2 | Quan T2 | 2.29 | 0.88 | 0.65 *** | (0.86) | |||||||||||||
| 3 | Quan T3 | 2.21 | 0.86 | 0.58 *** | 0.66 *** | (0.87) | ||||||||||||
| 4 | Qual T1 | 2.52 | 1.03 | 0.54 *** | 0.40 *** | 0.36 *** | (0.91) | |||||||||||
| 5 | Qual T2 | 2.57 | 1.00 | 0.41 *** | 0.61 *** | 0.41 *** | 0.61 *** | (0.92) | ||||||||||
| 6 | Qual T3 | 2.58 | 1.03 | 0.37 *** | 0.41 *** | 0.57 *** | 0.60 *** | 0.63 *** | (0.92) | |||||||||
| 7 | Time Frame | 1.20 | 0.40 | 0.05 ** | 0.03 | 0.03 | 0.06 *** | 0.03 | 0.04 | ─ | ||||||||
| 8 | Contract | 1.10 | 0.29 | 0.27 *** | 0.18 *** | 0.20 *** | 0.02 | 0.02 | 0.05 | 0.05 ** | ─ | |||||||
| 9 | Position | 3.59 | 1.46 | −0.01 | −0.01 | 0.00 | 0.03 | 0.01 | 0.02 | −0.01 | 0.07 *** | ─ | ||||||
| 10 | Work Exp (Years) | 18.76 | 11.15 | −0.08 *** | −0.12 *** | −0.11 *** | −0.01 | −0.05 * | −0.08 ** | 0.10 *** | −0.23 *** | −0.05 * | ─ | |||||
| 11 | Org. Tenure (Years) | 11.89 | 10.60 | −0.11 *** | −0.12 *** | −0.13 *** | 0.06 *** | 0.02 | −0.03 | 0.09 *** | −0.25 *** | 0.05 ** | 0.71 *** | ─ | ||||
| 12 | Pos. Tenure (Years) | 7.42 | 8.25 | −0.14 *** | −0.17 *** | −0.15 *** | 0.05 ** | 0.02 | 0.03 | 0.10 *** | −0.18 *** | −0.14 *** | 0.51 *** | 0.63 *** | ─ | |||
| 13 | Gender | 1.55 | 0.50 | −0.05 ** | −0.06 ** | −0.07 ** | −0.06 *** | −0.06 ** | −0.05 | −0.33 *** | −0.10 *** | −0.20 *** | 0.20 *** | 0.11 *** | 0.08 *** | ─ | ||
| 14 | Age | 41.87 | 10.47 | −0.07 *** | −0.12 *** | −0.10 *** | 0.00 | −0.04 | −0.07 ** | 0.14 *** | −0.20 *** | 0.02 | 0.93 *** | 0.68 *** | 0.50 *** | 0.14 *** | ─ | |
| 15 | Education | 7.86 | 2.85 | 0.04 * | 0.07 ** | 0.07 ** | 0.10 *** | 0.10 *** | 0.11 *** | 0.03 | 0.13 *** | 0.71 *** | −0.29 *** | −0.14 *** | −0.20 *** | −0.31 *** | −0.22 *** | ─ |
| Factorial Structure of the Measurement Model | |||||||||||||
|---|---|---|---|---|---|---|---|---|---|---|---|---|---|
| Model No. | Model | χ2 | df | CFI | TLI | RMSEA | SRMR |
Model Comparison No. | Δχ2 | Δdf | p | ΔCFI | ΔRMSEA |
| M1 | 2-factor model | 1994.632 | 213 | 0.961 | 0.949 | 0.048 | 0.051 | ||||||
| M2 | 1-factor model | 9382.963 | 225 | 0.799 | 0.753 | 0.105 | 0.108 | M1 | 7388.331 | 12 | <0.001 | 0.162 | 0.196 |
| M3 | 4-factor model | Non-converged | |||||||||||
| Longitudinal Measurement Invariance of the Hypothesised 33-factor Model | |||||||||||||
| M4 | Metric Invariance | 2014.547 | 225 | 0.961 | 0.952 | 0.046 | 0.051 | M1 | 19.915 | 6 | 0.0687 | 0 | 0.003 |
| M5 | Strong Invariance | 2130.083 | 241 | 0.958 | 0.952 | 0.046 | 0.053 | M4 | 115.536 | 16 | <0.001 | −0.003 | 0 |
| M6 | Strict Invariance | 2259.832 | 257 | 0.956 | 0.953 | 0.046 | 0.053 | M5 | 129.749 | 16 | <0.001 | 0.002 | 0 |
| Analysis of the Alternative Structural Models | |||||||||||||
|---|---|---|---|---|---|---|---|---|---|---|---|---|---|
| Model No. | Model | χ2 | df | CFI | TLI | RMSEA | SRMR | Model Comparison No. | Δχ2 | Δdf | p | ΔCFI | ΔRMSEA |
| M7 | Hypothesised RI-CLPM (unconstrained) | 2218.475 | 254 | 0.957 | 0.953 | 0.046 | 0.052 | ||||||
| M8 | M7 + autoregressive paths constraint equal across time | 2219.153 | 256 | 0.957 | 0.953 | 0.046 | 0.052 | M7 | 0.678 | 2 | 0.713 | 0.000 | 0.000 |
| M9 | M8 + paths from quantitative JI to qualitative JI constrained across time | 2220.55 | 257 | 0.957 | 0.954 | 0.045 | 0.052 | M8 | 1.400 | 1 | 0.237 | 0.000 | 0.001 |
| M10 | M9 + paths from qualitative JI to quantitative JI constrained across time | 2221.26 | 258 | 0.957 | 0.954 | 0.045 | 0.052 | M9 | 0.702 | 1 | 0.402 | 0.000 | 0.000 |
Disclaimer/Publisher’s Note: The statements, opinions and data contained in all publications are solely those of the individual author(s) and contributor(s) and not of MDPI and/or the editor(s). MDPI and/or the editor(s) disclaim responsibility for any injury to people or property resulting from any ideas, methods, instructions or products referred to in the content. |
© 2023 by the authors. Licensee MDPI, Basel, Switzerland. This article is an open access article distributed under the terms and conditions of the Creative Commons Attribution (CC BY) license (https://creativecommons.org/licenses/by/4.0/).
Share and Cite
Nawrocka, S.; De Witte, H.; Pasini, M.; Brondino, M. A Person-Centered Approach to Job Insecurity: Is There a Reciprocal Relationship between the Quantitative and Qualitative Dimensions of Job Insecurity? Int. J. Environ. Res. Public Health 2023, 20, 5280. https://doi.org/10.3390/ijerph20075280
Nawrocka S, De Witte H, Pasini M, Brondino M. A Person-Centered Approach to Job Insecurity: Is There a Reciprocal Relationship between the Quantitative and Qualitative Dimensions of Job Insecurity? International Journal of Environmental Research and Public Health. 2023; 20(7):5280. https://doi.org/10.3390/ijerph20075280
Chicago/Turabian StyleNawrocka, Sonia, Hans De Witte, Margherita Pasini, and Margherita Brondino. 2023. "A Person-Centered Approach to Job Insecurity: Is There a Reciprocal Relationship between the Quantitative and Qualitative Dimensions of Job Insecurity?" International Journal of Environmental Research and Public Health 20, no. 7: 5280. https://doi.org/10.3390/ijerph20075280
APA StyleNawrocka, S., De Witte, H., Pasini, M., & Brondino, M. (2023). A Person-Centered Approach to Job Insecurity: Is There a Reciprocal Relationship between the Quantitative and Qualitative Dimensions of Job Insecurity? International Journal of Environmental Research and Public Health, 20(7), 5280. https://doi.org/10.3390/ijerph20075280

