Association between Presenteeism, Psychosocial Aspects of Work and Common Mental Disorders among Nursing Personnel
Abstract
1. Introduction
2. Materials and Methods
Data Analysis
3. Results
3.1. Sample Description
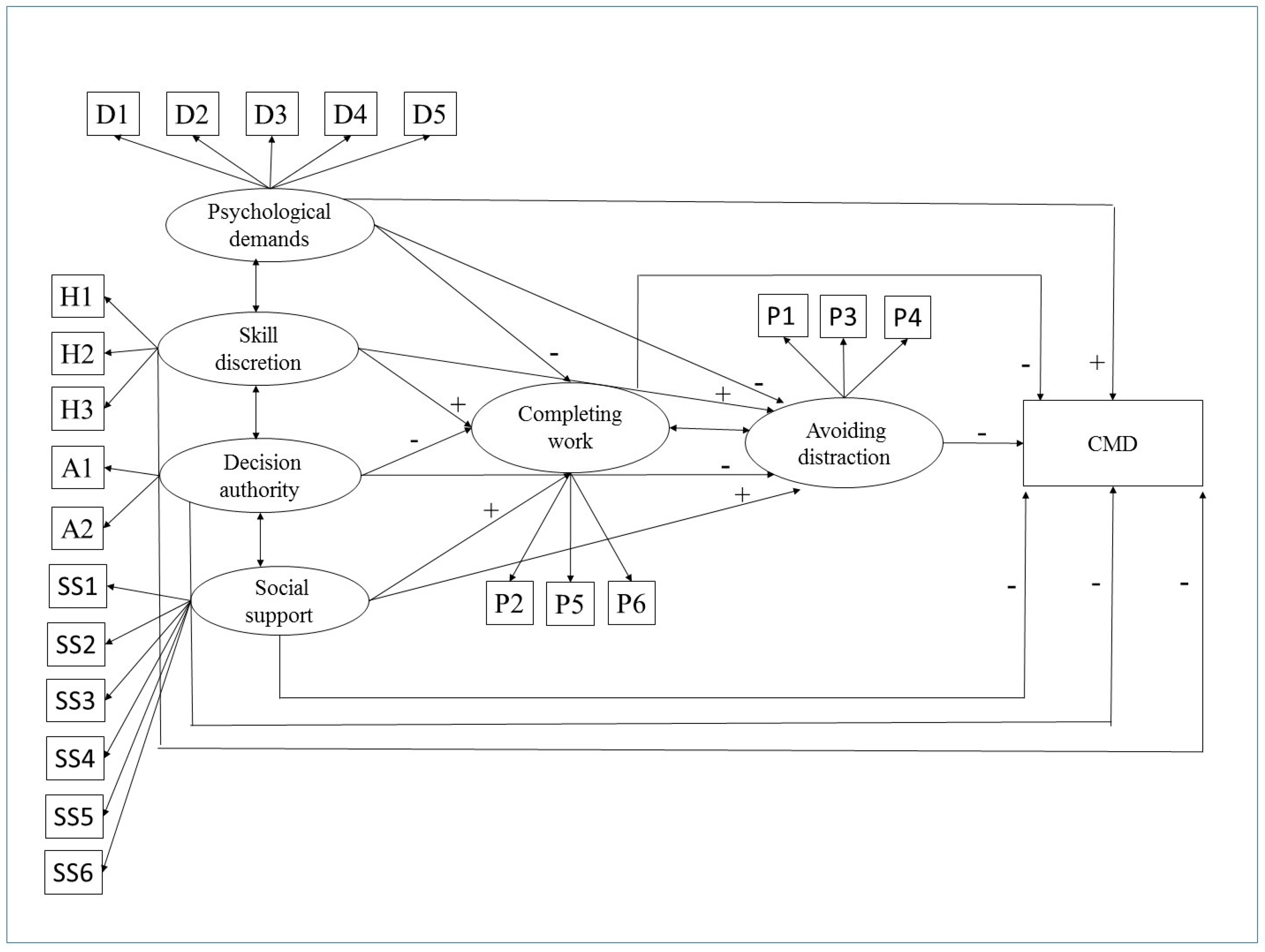
3.2. The Mediating Role of Work Impairment in the Association Between Psychosocial Work Factors and CMD Among Presenteeist Nurses
4. Discussion
5. Conclusions
Author Contributions
Funding
Conflicts of Interest
References
- Koopman, C.; Pelletier, K.R.; Murray, J.F.; Sharda, C.E.; Berger, M.L.; Turpin, R.S.; Hackleman, P.; Gibson, P.; Holmes, D.M.; Bendel, T. Stanford Presenteeism Scale: Health status and employee productivity. J. Occup. Environ. Med. 2002, 44, 14–20. [Google Scholar] [CrossRef] [PubMed]
- Vieira, M.; Oliveira, E.; Souza, N.; Lisboa, M.; Progianti, J.; Costa, C. Nursing presenteeism: Repercussions on workers’ health and patient safety. Rev. Enferm. UERJ 2018, 26, e31107. [Google Scholar] [CrossRef]
- Li, Y.; Zhang, J.; Wang, S.; Guo, S. The effect of presenteeism on productivity loss in nurses: The mediation of health and moderation of general self-efficacy. Front. Psychol. 2019, 10, 1745. [Google Scholar] [CrossRef] [PubMed]
- Gustafsson, K.; Bergström, G.; Marklund, S.; Aboagye, E.; Leineweber, C. Presenteeism as a predictor of disability pension: A prospective study among nursing professionals and care assistants in Sweden. J. Occup. Health 2019, 61, 453–463. [Google Scholar] [CrossRef]
- Skagen, K.; Collins, A.M. The consequences of sickness presenteeism on health and wellbeing over time: A systematic review. Soc. Sci. Med. 2016, 161, 169–177. [Google Scholar] [CrossRef]
- Kinman, G. Sickness presenteeism at work: Prevalence, costs and management. Br. Med. Bull. 2019, 129, 69–78. [Google Scholar] [CrossRef]
- Suzuki, T.; Miyaki, K.; Song, Y.; Tsutsumi, A.; Kawakami, N.; Shimazu, A.; Takahashi, M.; Inoue, A.; Kurioka, S. Relationship between sickness in a cohort of Japanese workers. J. Affect. Disord. 2015, 180, 14–20. [Google Scholar] [CrossRef]
- Whysall, Z.; Bowden, J.; Hewitt, M. Sickness presenteeism: Measurement and management challenges. Ergonomics 2018, 61, 341–354. [Google Scholar] [CrossRef]
- Oliveira, A.; Costa, G.; Fernandes, M.; Gouveia, M.; Rocha, S. Presentismo, factores de riesgo y repercusionesenlasalud de lostrabajadores de enfermería. Avancesen Enfermería presenteeism (WHO-HPQ) with depression and sickness absence due to mental disease. Av. Enferm. 2018, 36, 79–87. [Google Scholar] [CrossRef]
- Janssens, H.; Clays, E.; Clercq, B.; de Bacquer, D.; Casini, A.; Kittel, F.; Braeckman, L. Association between psychosocial characteristics of work and presenteeism: A cross-sectional study. Int. J. Occup. Med. Environ. Health 2016, 29, 331–344. [Google Scholar] [CrossRef]
- Shimabuku, R.H.; Mendonca, H.; Fidelis, A. Presenteísmo: Contribuições do Modelo Demanda-Controle para a compreensão do fenômeno. Cad. Psicol. Soc. Trab. 2017, 20, 65–78. [Google Scholar] [CrossRef]
- Conway, P.M.; Hogh, A.; Rugulies, R.; Hansen, Å.M. Is sickness presenteeism a risk factor for depression? A Danish 2-year follow-up study. J. Occup. Environ. Med. 2014, 56, 595–603. [Google Scholar] [CrossRef] [PubMed]
- Gustafsson, K.; Marklund, S. Consequences of sickness presence and sickness absence on health and work ability: A Swedish prospective cohort study. Int. J. Occup. Med. Environ. Health 2011, 24, 153–165. [Google Scholar] [CrossRef] [PubMed]
- Lui, J.N.M.; Andres, E.B.; Johnston, J.M. Presenteeism exposures and outcomes amongst hospital doctors and nurses: A systematic review. BMC Health Serv. Res. 2018, 18, 985. [Google Scholar] [CrossRef]
- Evans-Lacko, S.; Knapp, M. Global patterns of workplace productivity for people with depression: Absenteeism and presenteeism costs across eight diverse countries. Soc. Psychiatry Psychiatr. Epidemiol. 2016, 51, 1525–1537. [Google Scholar] [CrossRef]
- Araújo, T.M.; Mattos, A.I.S.; Almeida, M.M.G.; Santos, K.O.B. Psychosocial aspects of work and common mental disorders among health workers: Contributions of combined models. Rev. Bras. Epidemiol. 2016, 19, 645–657. [Google Scholar] [CrossRef][Green Version]
- Mattos, A.I.S.; Araújo, T.M.; Almeida, M.M.G. Interaction between demand-control and social support in the occurrence of common mental disorders. Rev. Saude Publica 2017, 51, 48. [Google Scholar] [CrossRef]
- Harvey, S.B.; Modini, M.; Joyce, S.; Milligan-Saville, J.S.; Tan, L.; Mykletun, A.; Mitchell, P.B. Can work make you mentally ill? A systematic meta-review of work-related risk factors for common mental health problems. Occup. Environ. Med. 2017, 74, 301–310. [Google Scholar] [CrossRef]
- Bergström, G.; Bodin, L.; Hagberg, J.; Aronsson, G.; Josephson, M. Sickness presenteeism today, sickness absenteeism tomorrow? A prospective study on sickness presenteeism and future sickness absenteeism. J. Occup. Environ. Med. 2009, 51, 629–638. [Google Scholar] [CrossRef]
- Fernandes, J.C.; Portela, L.F.; Griep, R.H.; Rotenberg, L. Working hours and health in nurses of public hospitals according to gender. Rev. Saude Publica 2017, 51, 63. [Google Scholar] [CrossRef]
- De Moraes Filho, I.M.; De Almeida, R.J. Occupational stress at work in nursing in Brazil: An integrative review. Rev. Bras. Promoç. Saude 2016, 29, 447–454. [Google Scholar] [CrossRef][Green Version]
- Pérez-Francisco, D.H.; Duarte-Clíments, G.; Del Rosario-Melián, J.M.; Gómez-Salgado, J.; Romero-Martín, M.; Sánchez-Gómez, M.B. Influence of Workload on Primary Care Nurses’ Health and Burnout, Patients’ Safety, and Quality of Care: Integrative Review. Healthcare 2020, 8, 12. [Google Scholar] [CrossRef] [PubMed]
- Oliveira, J.F.; Santos, A.M.; Primo, L.S.; Silva, M.R.S.; Domingues, E.S.; Moreira, F.P.; Wiener, C.; Oses, J.P. Job satisfaction and work overload among mental health nurses in the south of Brazil. Ciência Saúde Coletiva 2019, 24, 2593–2599. [Google Scholar] [CrossRef] [PubMed]
- Rainbow, J.G. Presenteeism: Nurse perceptions and consequences. J. Nurs. Manag. 2019, 27, 1530–1537. [Google Scholar] [CrossRef] [PubMed]
- Paschoalin, H.C.; Griep, R.H.; Lisboa, M.T.L.; Mello, D.C.B. Adaptação transcultural e validação para o português brasileiro do Stanford PresenteeismScale para avaliação do presenteísmo. Rev. Lat. Am. Enferm. 2013, 21, 388–395. [Google Scholar] [CrossRef]
- Alves, M.G.M.; Chor, D.; Faerstein, E.; Lopes, C.S.; Werneck, G.L. Short version of the “job stress scale”: A Portuguese-language adaptation. Rev. Saude Publica 2004, 38, 164–171. [Google Scholar] [CrossRef]
- Griep, R.H.; Rotenberg, L.; Vasconcellos, A.G.; Landsbergis, P.; Comaru, C.M.; Alves, M.G. The psychometric properties of demand-control and effort-reward imbalance scales among Brazilian nurses. Int. Arch. Occup. Environ. Health 2009, 82, 163–1172. [Google Scholar] [CrossRef]
- Hökerberg, Y.H.M.; Reichenheim, M.; Faerstein, E.; Passos, S.R.L. Cross-cultural validity of the demand-control questionnaire: Swedish and Brazilian workers. Rev. Saude Publica 2014, 48, 486–496. [Google Scholar] [CrossRef]
- Santos, K.O.B.; Araújo, T.M.; Oliveira, N.F. Factor structure and internal consistency of the Self-Reporting Questionnaire (SRQ-20) in an urban population. Cad. Saude Publica 2009, 25, 214–222. [Google Scholar] [CrossRef]
- Kline, R.B. Principles and Practice of Structural Equation Modeling; The Guilford Press: New York, NY, USA, 1998. [Google Scholar]
- Baltar, V.T.; Xun, W.W.; Johansson, M.; Ferrari, P.; Chuang, S.C.; Relton, C.; Ueland, P.M.; Midttun, Ø.; Slimani, N.; Jenab, M.; et al. A structural equation modelling approach to explore the role of B vitamins and immune markers in lung cancer risk. Eur. J. Epidemiol. 2013, 28, 677–688. [Google Scholar] [CrossRef]
- Baeriswyl, S.; Krause, A.; Elfering, A.; Berset, M. How Workload and Coworker Support Relate to Emotional Exhaustion: The Mediating Role of Sickness Presenteeism. Int. J. Stress Manag. 2017, 24, 52–73. [Google Scholar] [CrossRef]
- Pohling, R.; Buruck, G.; Jungbauer, K.L.; Leiter, M.P. Work-related factors of presenteeism: The mediating role of mental and physical health. J. Occup. Health Psych. 2016, 21, 220–234. [Google Scholar] [CrossRef] [PubMed]
- Li, W.; Moriyama, M.; Cui, Y.; Kazawa, K.; Nakaya, T.; Susanto, T. Presenteeism among Chinese workers in Japan and its relationship with mental health and health-promoting lifestyles. Ind. Health 2020, 58, 35–45. [Google Scholar] [CrossRef] [PubMed]
- Åhlin, J.K.; Rajaleid, K.; Jansson-Fröjmark, M.; Westerlund, H.; Hanson, L.L.M. Job demands, control and social support as predictors of trajectories of depressive symptoms. J. Affect. Disord. 2018, 1, 535–543. [Google Scholar] [CrossRef]
- Aronsson, G.; Theorell, T.; Grape, T.; Hammarström, A.; Hogstedt, C.; Marteinsdottir, I.; Skoog, I.; Träskman-Bendz, L.; Hall, C. A systematic review including meta-analysis of work environment and burnout symptoms. BMC Public Health 2017, 17, 264. [Google Scholar] [CrossRef]
- Portela, L.F.; Kröning, L.C.; Rotenberg, L.; Silva-Costa, A.; Toivanen, S.; Araújo, T.; Griep, R.H. Job Strain and Self-Reported Insomnia Symptoms among Nurses: What about the Influence of Emotional Demands and Social Support? BioMed. Res. Int. 2015, 2015, 8. [Google Scholar] [CrossRef]
- Nieuwenhuijsen, K.; Bruinvels, D.; Frings-Dresen, M. Psychosocial work environment and stress-related disorders, a systematic review. Occup. Med. 2010, 60, 277–286. [Google Scholar] [CrossRef]
- Cho, Y.S.; Park, J.B.; Lee, K.J.; Min, K.B.; Baek, C.I. The association between Korean workers’ presenteeism and psychosocial factors within workplaces. Ann. Occup. Environ. Med. 2016, 28, 41. [Google Scholar] [CrossRef]
- Huff, J.; Ablah, E. Stress and Presenteeism Among Kansas Hospital Employees. J. Occup. Environ. Med. 2016, 58, e368–e369. [Google Scholar] [CrossRef]
- Caers, R.; Akgul, K.L.; Baert, S.; De Feyter, T.; De Couck, M. Too sick or not too sick? The importance of stress and satisfaction with supervisor support on the prevalence of sickness presenteeism. Int. J. Occup. Saf. Ergon. 2019, 4, 1–12. [Google Scholar] [CrossRef]
- Miraglia, M.; Johns, G. Going to work ill: A meta-analysis of the correlates of presenteeism and a dual-path model. J. Occup. Health Psychol. 2016, 21, 261–283. [Google Scholar] [CrossRef] [PubMed]
- Stansfeld, S.; Candy, B. Psychosocial work environment and mental health—A meta-analytic review. Scand J. Work Environ. Health 2006, 32, 443–462. [Google Scholar] [CrossRef] [PubMed]
- Webster, R.K.; Liu, R.; Karimullina, K.; Hall, I.; Amlôt, R.; Rubin, G.J. A systematic review of infectious illness Presenteeism: Prevalence, reasons and risk factors. BMC Public Health 2019, 19, 799. [Google Scholar] [CrossRef]
- Chiu, S.; Black, C.L.; Yue, X.; Greby, S.M.; Laney, A.S.; Campbell, A.P.; Perio, M.A. Working with influenza -like illness: Presenteeism among US health care personnel during the 2014–2015 influenza season. Am. J. Infect. Control 2017, 45, 1254–1258. [Google Scholar] [CrossRef] [PubMed]
- Maben, J.; Bridges, J. Covid-19: Supporting nurses’ psychological and mental health. J. Clin. Nurs. 2020. [Google Scholar] [CrossRef]
- Talevi, D.; Socci, V.; Carai, M.; Carnaghi, G.; Faleri, S.; Trebbi, E.; di Bernardo, A.; Capelli, F.; Pacitti, F. Mental health outcomes of the CoViD-19 pandemic. Riv. Psichiatr. 2020, 55, 137–144. [Google Scholar] [CrossRef]
- Dong, Z.Q.; Ma, J.; Hao, Y.N.; Shen, X.L.; Liu, F.; Gao, Y.; Zhang, L. The social psychological impact of the COVID-19 epidemic on medical staff in China: A cross-sectional study. Eur. Psychiatry 2020, 1–22. [Google Scholar] [CrossRef]
- Fiorini, L.A.; Houdmont, J.; Griffiths, A. Nurses’ perceived work performance and health during presenteeism: Cross-sectional associations with personal and organisational factors. J. Nurs. Manag. 2020. [Google Scholar] [CrossRef]
- Guissi, P.C.; Pinho, M.A.S.Z.; Vieira, I.; Ranali-Neto, F.; Martins, D.A.; Bandini, M.C.D. Psychosocial factors at work and stress among the nursing staff of a sterile services department. Rev. Bras. Med. Trab. 2019, 17, 499–505. [Google Scholar] [CrossRef]
- Mo, Y.; Deng, L.; Zhang, L.; Lang, Q.; Liao, C.; Wang, N.; Qin, M.; Huang, H. Work stress among Chinese nurses to support Wuhan in fighting against COVID-19 epidemic. J. Nurs. Manag. 2020. [Google Scholar] [CrossRef]

| Dimensions of Psychosocial Aspects of Work | Min–Max | Mean | SD | Median | IQR |
|---|---|---|---|---|---|
| Psychological demands | 5–20 | 13 | 2.90 | 13 | 11–15 |
| Skills discretion | 3–12 | 10.33 | 1.65 | 11 | 9–2 |
| Decision authority | 2–8 | 5 | 1.56 | 5 | 4–6 |
| Social support | 8–24 | 20 | 3.09 | 20 | 18–20 |
| Presenteeist Workers | ||||
|---|---|---|---|---|
| Total Sample | No (n = 818) | Yes (n = 400) | p | |
| n (%) | ||||
| Sex | ||||
| Female | 1042 (85.6) | 684 (83.6) | 358 (89.5) | 0.006 |
| Male | 176 (14.4) | 134 (16.4) | 42 (10.5) | |
| Schooling | ||||
| Secondary | 456 (37.4) | 313 (38.3) | 143 (35.8) | 0.395 |
| Higher | 762 (62.6) | 505 (61.7) | 257 (64.3) | |
| Job category | ||||
| Nursing auxiliary/technician | 813 (66.7) | 552 (67.5) | 261 (65.2) | 0.438 |
| Nurse | 405 (33.3) | 266 (32.5) | 139 (34.8) | |
| Mean (SD) | ||||
| Psychological demands | 13.16 (2.89) | 12.94 (2.90) | 13.62 (2.82) | <0.001 |
| Skill discretion | 10.33 (1.65) | 10.32 (1.68) | 10.37 (1.59) | 0.767 |
| Decision authority | 5.14 (1.56) | 5.14 (1.59) | 5.13 (1.52) | 0.746 |
| Social support | 19.84 (3.09) | 20.14 (2.93) | 19.22 (3.31) | <0.001 |
| Common mental disorders | 4.95 (3.87) | 4.19 (3.66) | 6.49 (3.85) | <0.001 |
| Age | 44.06 (11.26) | 44.06(11.53) | 44.07 (10.71) | 0.984 |
| Standardised Estimates (95%CI) | ||
|---|---|---|
| Direct Effects | ||
| Psychological demands → WC | 0.035 | (−0.141; 0.210) |
| Skills discretion → WC | 0.042 | (−0.133; 0.217) |
| Decision authority → WC | −0.183 | (−0.326; −0.040) * |
| Social support → WC | 0.113 | (−0.046; 0.272) |
| Psychological demands → AD | −0.239 | (−0.417; −0.060) * |
| Skills discretion → AD | 0.123 | (−0.052; 0.299) |
| Decision authority → AD | −0.012 | (−0.156; 0.132) |
| Social support → AD | 0.195 | (0.043; 0.348) * |
| Psychological demands → CMD | 0.093 | (−0.057; 0.243) |
| Skills discretion → CMD | 0.015 | (−0.128; 0.158) |
| Decision authority → CMD | −0.054 | (−0.179; 0.071) |
| Social support → CMD | −0.224 | (−0.351; −0.097) * |
| WC → CMD | −0.121 | (−0.227; −0.015) * |
| AD → CMD | −0.202 | (−0.315; −0.090) * |
| Indirect Effects | ||
| Psychological demands → AD → CMD | 0.048 | (0.003; 0.094) * |
| Skills discretion → AD → CMD | −0.025 | (−0.063; 0.013) |
| Decision authority → AD → CMD | 0.002 | (−0.027; 0.032) |
| Social support → AD → CMD | −0.040 | (−0.077; −0.002) * |
| Psychological demands → WC → CMD | −0.004 | (−0.026; 0.017) |
| Skills discretion → WC → CMD | −0.005 | (−0.027; 0.016) |
| Decision authority → WC → CMD | 0.022 | (−0.004; 0.048) |
| Social support → WC → CMD | −0.014 | (−0.036: 0.009) |
| Total Effect (Direct + Indirect) | ||
| Psychological demands → CMD | 0.137 | (−0.013; 0.288) |
| Skills discretion → CMD | −0.015 | (−0.161: 0.131) |
| Decision authority → CMD | −0.030 | (−0.155; 0.096) |
| Social support → CMD | −0.277 | (−0.405; −0.150) * |
© 2020 by the authors. Licensee MDPI, Basel, Switzerland. This article is an open access article distributed under the terms and conditions of the Creative Commons Attribution (CC BY) license (http://creativecommons.org/licenses/by/4.0/).
Share and Cite
Silva-Costa, A.; Ferreira, P.C.S.; Griep, R.H.; Rotenberg, L. Association between Presenteeism, Psychosocial Aspects of Work and Common Mental Disorders among Nursing Personnel. Int. J. Environ. Res. Public Health 2020, 17, 6758. https://doi.org/10.3390/ijerph17186758
Silva-Costa A, Ferreira PCS, Griep RH, Rotenberg L. Association between Presenteeism, Psychosocial Aspects of Work and Common Mental Disorders among Nursing Personnel. International Journal of Environmental Research and Public Health. 2020; 17(18):6758. https://doi.org/10.3390/ijerph17186758
Chicago/Turabian StyleSilva-Costa, Aline, Pollyana C. S. Ferreira, Rosane H. Griep, and Lucia Rotenberg. 2020. "Association between Presenteeism, Psychosocial Aspects of Work and Common Mental Disorders among Nursing Personnel" International Journal of Environmental Research and Public Health 17, no. 18: 6758. https://doi.org/10.3390/ijerph17186758
APA StyleSilva-Costa, A., Ferreira, P. C. S., Griep, R. H., & Rotenberg, L. (2020). Association between Presenteeism, Psychosocial Aspects of Work and Common Mental Disorders among Nursing Personnel. International Journal of Environmental Research and Public Health, 17(18), 6758. https://doi.org/10.3390/ijerph17186758

