Coverage and Lifetime Optimization by Self-Optimizing Sensor Networks †
Abstract
1. Introduction
- An interpretation of a WSN as a multi-agent system represented by a WSN graph with agents representing sensors was proposed;
- A second-order CA-based agents of the multi-agents system making decisions concerning turning on/off their batteries was proposed;
- An interaction between agents is described by principles of a variant of the SPD game;
- A payoff function used by agents in the game, incorporating issues of area coverage and sensors energy spending was proposed;
- A number of experiments have been conducted to find the settings of the payoff function parameters;
- A number of experiments have been conducted to show that the system is able to self-optimize, i.e., to find near-optimal values of external performance criteria represented by the requested coverage and a minimal energy spending only due to local interactions between players, without their knowledge about the current values of the criteria;
- It was also shown that the solutions found by the system fulfill the Pareto optimality principles, and these solutions can be controlled by the corresponding settings of the payoff function parameters.
2. Related Work
3. Coverage and Lifetime Problems in Wireless Sensor Networks
4. Collective Behavior of the Second-Order CA-Based Players in Spatial Prisoner’s Dilemma Game
5. Multi-Agent System for WSN Coverage and Lifetime Optimization
- all–C: always cooperate (turn on battery);
- all–D: always defect (turn off battery).
- (i)
- If he “turns off battery”, then he calculates his local value of coverage . If this value , then he receives reward b and otherwise, some punishment equal to a.
- (ii)
- If he “turns on battery”, then he calculates what his value of (denoted as ) would be if in fact he would have “turned off” his battery. If , then he receives the reward equal to d, and otherwise, a penalty equal to c.
| i-th Agent’s Action | Fulfillment of | |
|---|---|---|
| C: turn on battery | ||
| no | yes | |
| D: turn off battery | ||
| no | yes | |
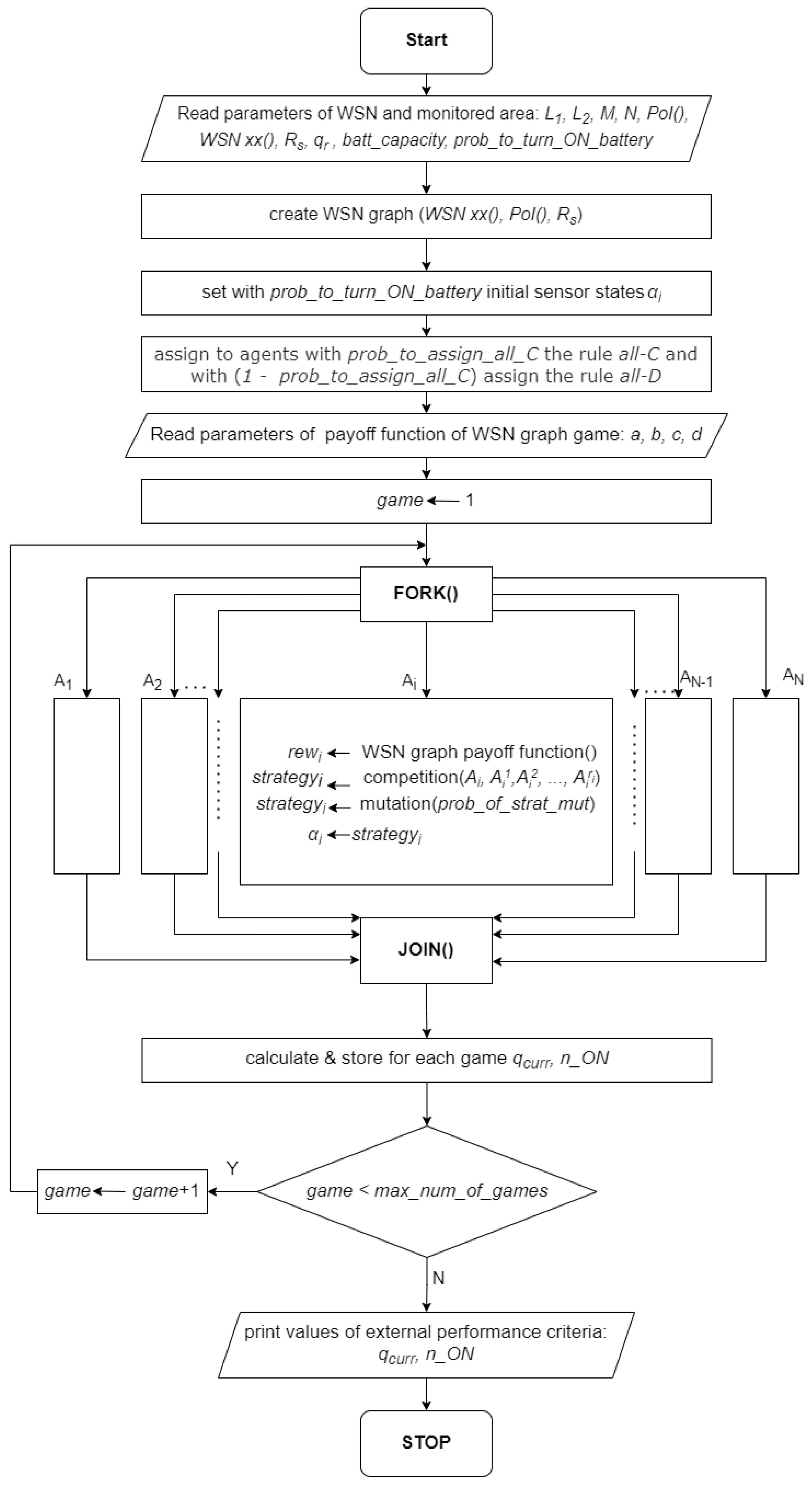
| Algorithm 1: Solving by self-optimization the coverage and lifetime optimization problem. |
|
6. Experimental Results
6.1. Searching of Optimal Parameter Value Settings for the Payoff Function
6.2. Solutions Offered by Self-Organizing System
7. Conclusions and Future Works
Author Contributions
Funding
Institutional Review Board Statement
Informed Consent Statement
Data Availability Statement
Conflicts of Interest
References
- Östberg, P.; Byrne, J.; Casari, P.; Eardley, P.; Anta, A.F.; Forsman, J.; Kennedy, J.; Le Duc, T.; Marino, M.N.; Loomba, R.; et al. Reliable capacity provisioning for distributed cloud/edge/fog computing applications. In Proceedings of the 2017 European Conference on Networks and Communications, EuCNC 2017, Oulu, Finland, 12–15 June 2017; pp. 1–6. [Google Scholar] [CrossRef]
- Cardei, M.; Du, D. Improving Wireless Sensor Network Lifetime through Power Aware Organization. Wirel. Netw. 2005, 11, 333–340. [Google Scholar] [CrossRef]
- Berman, P.; Calinescu, G.; Shah, C.; Zelikovsky, A. Power efficient monitoring management in sensor networks. In Proceedings of the 2004 IEEE Wireless Communications and Networking Conference (IEEE Cat. No.04TH8733), Atlanta, GA, USA, 21–25 March 2004; Voume 4; pp. 2329–2334. [Google Scholar] [CrossRef]
- Manju; Chand, S.; Kumar, B. Genetic algorithm-based meta-heuristic for target coverage problem. IET Wirel. Sens. Syst. 2018, 8, 170–175. [Google Scholar] [CrossRef]
- Musilek, P.; Krömer, P.; Bartoň, T. Review of nature-inspired methods for wake-up scheduling in wireless sensor networks. Swarm Evol. Comput. 2015, 25, 100–118. [Google Scholar] [CrossRef]
- Rathee, M.; Kumar, S.; Gandomi, A.H.; Dilip, K.; Balusamy, B.; Patan, R. Ant Colony Optimization Based Quality of Service Aware Energy Balancing Secure Routing Algorithm for Wireless Sensor Networks. IEEE Trans. Eng. Manag. 2021, 68, 170–182. [Google Scholar] [CrossRef]
- Zhong, J.; Huang, Z.; Feng, L.; Du, W.; Li, Y. A hyper-heuristic framework for lifetime maximization in wireless sensor networks with a mobile sink. IEEE/CAA J. Autom. Sin. 2020, 7, 223–236. [Google Scholar] [CrossRef]
- Seredyński, F.; Kulpa, T.; Hoffmann, R.; Désérable, D. Towards Self–Optimizing Sensor Networks: Game–Theoretic Second–Order CA–Based Approach. In Proceedings of the Cellular Automata: ACRI 2022, Geneva, Switzerland, 12–16 September 2022; Springer: Cham, Switzerland, 2022; pp. 208–219. [Google Scholar] [CrossRef]
- Seredyński, F.; Kulpa, T.; Hoffmann, R. Evolutionary self-optimization of large CA-based multi-agent systems. J. Comput. Sci. 2023, 68, 101994. [Google Scholar] [CrossRef]
- Seredyński, F.; Kulpa, T.; Hoffmann, R. Competition and Cooperation Mechanisms for Collective Behavior in Large Multi-agent Systems. In Proceedings of the Computational Science, ICCS 2022, London, UK, 21–23 June 2022; Groen, D., de Mulatier, C., Paszynski, M., Krzhizhanovskaya, V.V., Dongarra, J.J., Sloot, P.M.A., Eds.; Springer: Cham, Switzerland, 2022; Volume 13351, pp. 610–623. [Google Scholar] [CrossRef]
- Seredyński, F.; Gąsior, J.; Hoffmann, R. The Second Order CA-Based Multi-agent Systems with Income Sharing. In Proceedings of the Cellular Automata, ACRI 2020, Lodz, Poland, 2–4 December 2020; Gwizdalla, T.M., Manzoni, L., Sirakoulis, G.C., Bandini, S., Podlaski, K., Eds.; Springer: Cham, Switzerland, 2020; Volume 12599, pp. 134–145. [Google Scholar] [CrossRef]
- Ishida, Y.; Katsumata, Y. A Note on Space-Time Interplay through Generosity in a Membrane Formation with Spatial Prisoner’s Dilemma. In Proceedings of the Knowledge-Based Intelligent Information and Engineering Systems, KES 2008, Zagreb, Croatia, 3–5 September 2008; Lovrek, I., Howlett, R.J., Jain, L.C., Eds.; Springer: Berlin/Heidelberg, Germany, 2008; Volume 5179, pp. 448–455. [Google Scholar] [CrossRef]
- Gąsior, J.; Seredyński, F.; Hoffmann, R. Towards Self-organizing Sensor Networks: Game-Theoretic ϵ-Learning Automata-Based Approach. In Proceedings of the Cellular Automata, Como, Italy, 17–21 September 2018; Mauri, G., Yacoubi, S.E., Dennunzio, A., Nishinari, K., Manzoni, L., Eds.; Springer: Cham, Switzerland, 2018; Volume 11537, pp. 125–136. [Google Scholar] [CrossRef]
- Hoffmann, R.; Désérable, D.; Seredyński, F. Cellular automata rules solving the wireless sensor network coverage problem. Nat. Comput. 2022, 21, 417–447. [Google Scholar] [CrossRef]
- Yetgin, H.; Cheung, K.T.H.; El-Hajjar, M.; Hanzo, L.H. A Survey of Network Lifetime Maximization Techniques in Wireless Sensor Networks. IEEE Commun. Surv. Tutor. 2017, 19, 828–854. [Google Scholar] [CrossRef]
- Cardei, M.; Thai, M.T.; Li, Y.; Wu, W. Energy-efficient target coverage in wireless sensor networks. In Proceedings of the IEEE 24th Annual Joint Conference of the IEEE Computer and Communications Societies, Miami, FL, USA, 13–17 March 2005; Voume 3; pp. 1976–1984. [Google Scholar] [CrossRef]
- Cheng, M.; Ruan, L.; Wu, W. Achieving minimum coverage breach under bandwidth constraints in wireless sensor networks. In Proceedings of the IEEE 24th Annual Joint Conference of the IEEE Computer and Communications Societies, Miami, FL, USA, 13–17 March 2005; Voume 4; pp. 2638–2645. [Google Scholar] [CrossRef]
- Saadi, N.; Bounceur, A.; Euler, R.; Lounis, M.; Bezoui, M.; Kerkar, M.; Pottier, B. Maximum Lifetime Target Coverage in Wireless Sensor Networks. Wirel. Pers. Commun. 2020, 111, 1525–1543. [Google Scholar] [CrossRef]
- Michalewicz, Z.; Fogel, B. How to Solve It: Modern Heuristics; Springer: Berlin/Heidelberg, Germany, 2004. [Google Scholar] [CrossRef]
- Charr, J.; Deschinkel, K.; Mansour, R.H.; Hakem, M. Optimizing the Lifetime of Heterogeneous Sensor Networks Under Coverage Constraint: MILP and Genetic Based Approaches. In Proceedings of the 2019 International Conference on Wireless and Mobile Computing, Networking and Communications (WiMob), Barcelona, Spain, 21–23 October 2019; pp. 1–6. [Google Scholar] [CrossRef]
- Chen, Y.; Xu, X.; Wang, Y. Wireless sensor network energy efficient coverage method based on intelligent optimization algorithm. Discret. Contin. Dyn. Syst.-S 2019, 12, 887–900. [Google Scholar] [CrossRef]
- Njoya, A.N.; Ari, A.A.A.; Awa, M.N.; Titouna, C.; Labraoui, N.; Effa, J.Y.; Abdou, W.; Guéroui, A.M. Hybrid Wireless Sensors Deployment Scheme with Connectivity and Coverage Maintaining in Wireless Sensor Network. Wirel. Pers. Commun. 2020, 112, 1893–1917. [Google Scholar] [CrossRef]
- Liao, C.; Ting, C. A Novel Integer-Coded Memetic Algorithm for the Set k -Cover Problem in Wireless Sensor Networks. IEEE Trans. Cybern. 2018, 48, 2245–2258. [Google Scholar] [CrossRef] [PubMed]
- Jia, J.; Dong, C.; He, X.; Li, D.; Yu, Y. Sensor scheduling for target coverage in directional sensor networks. Int. J. Distrib. Sens. Netw. 2017, 13, 1–12. [Google Scholar] [CrossRef]
- Jiao, Z.; Zhang, L.; Xu, M.; Cai, C.; Xiong, J. Coverage Control Algorithm-Based Adaptive Particle Swarm Optimization and Node Sleeping in Wireless Multimedia Sensor Networks. IEEE Access 2019, 7, 170096–170105. [Google Scholar] [CrossRef]
- Jawad, H.M.; Jawad, A.M.; Nordin, R.; Gharghan, S.K.; Abdullah, N.F.; Ismail, M.; Abu-AlShaeer, M.J. Accurate Empirical Path-Loss Model Based on Particle Swarm Optimization for Wireless Sensor Networks in Smart Agriculture. IEEE Sens. J. 2020, 20, 552–561. [Google Scholar] [CrossRef]
- He, X.; Fu, X.; Yang, Y. Energy-Efficient Trajectory Planning Algorithm Based on Multi-Objective PSO for the Mobile Sink in Wireless Sensor Networks. IEEE Access 2019, 7, 176204–176217. [Google Scholar] [CrossRef]
- Yue, Y.; Cao, L.; Luo, Z. Hybrid Artificial Bee Colony Algorithm for Improving the Coverage and Connectivity of Wireless Sensor Networks. Wirel. Pers. Commun. 2019, 108, 1719–1732. [Google Scholar] [CrossRef]
- Ari, A.A.A.; Damakoa, I.; Gueroui, A.; Titouna, C.; Labraoui, N.; Kaladzavi, G.; Yenké, B.O. Bacterial Foraging Optimization Scheme for Mobile Sensing in Wireless Sensor Networks. Int. J. Wirel. Inf. Netw. 2017, 24, 254–267. [Google Scholar] [CrossRef]
- Alia, O.M.; Al-Ajouri, A. Maximizing Wireless Sensor Network Coverage With Minimum Cost Using Harmony Search Algorithm. IEEE Sens. J. 2017, 17, 882–896. [Google Scholar] [CrossRef]
- Tsetlin, M.L. Automata Theory and Modeling of Biological Systems; Elsevier: Amsterdam, The Netherlands, 1973. [Google Scholar]
- Narendra, K.S.; Thathachar, M.A.L. Learning Automata: An Introduction; Prentice-Hall, Inc.: Upper Saddle River, NJ, USA, 2012. [Google Scholar]
- Mostafaei, H.; Meybodi, M.R. Maximizing Lifetime of Target Coverage in Wireless Sensor Networks Using Learning Automata. Wirel. Pers. Commun. 2013, 71, 1461–1477. [Google Scholar] [CrossRef]
- Razi, A.; Hua, K.A.; Majidi, A. NQ-GPLS: N-Queen Inspired Gateway Placement and Learning Automata-Based Gateway Selection in Wireless Mesh Network. In Proceedings of the 15th ACM International Symposium on Mobility Management and Wireless Access, Miami Beach, MI, USA, 21–25 November 2017; Association for Computing Machinery: New York, NY, USA, 2017; pp. 41–44. [Google Scholar] [CrossRef]
- Manju; Chand, S.; Kumar, B. Target coverage heuristic based on learning automata in wireless sensor networks. IET Wirel. Sens. Syst. 2018, 8, 109–115. [Google Scholar] [CrossRef]
- de Medeiros, R.P.; Villanueva, J.M.M.; de Macedo, E.C.T. Lifetime Increase for Wireless Sensor Networks Using Cellular Learning Automata. Wirel. Pers. Commun. 2022, 123, 3413–3432. [Google Scholar] [CrossRef]
- Nedić, A.; May, R.M. Distributed Optimization for Control. Annu. Rev. Control Robot. Auton. Syst. 2018, 1, 77–103. [Google Scholar] [CrossRef]
- Trumler, W.; Pietzowski, A.; Satzger, B.; Ungerer, T. Adaptive Self-optimization in Distributed Dynamic Environments. In Proceedings of the First International Conference on Self-Adaptive and Self-Organizing Systems, SASO, Cambridge, MA, USA, 9–11 July 2007; IEEE Computer Society: Washington, DC, USA, 2007; pp. 320–323. [Google Scholar] [CrossRef]
- Cox, C. Self-Optimizing Networks. In An Introduction to LTE: LTE, LTE-Advanced, SAE and 4G Mobile Communications; John Wiley & Sons Ltd.: Hoboken, NJ, USA, 2012. [Google Scholar] [CrossRef]
- Msadek, N.; Ungerer, T. Trustworthy self-optimization for organic computing environments using multiple simultaneous requests. J. Syst. Archit. 2017, 75, 26–34. [Google Scholar] [CrossRef]
- Wolfram, S. A New Kind of Science; Wolfram Medi: Champaign, IL, USA, 2002. [Google Scholar]
- Osborne, M. An Introduction to Game Theory; Oxford University Press: Oxford, UK, 2009. [Google Scholar]
- Tretyakova, A.; Seredyński, F.; Bouvry, P. Graph Cellular Automata approach to the Maximum Lifetime Coverage Problem in wireless sensor networks. Simulation 2016, 92, 153–164. [Google Scholar] [CrossRef]
- Plénet, T.; Yacoubi, S.E.; Raïevsky, C.; Lefèvre, L. Observability of Affine Cellular Automaton Through Mobile Sensors. In Proceedings of the Cellular Automata, Lodz, Poland, 2–4 December 2020; Gwizdałła, T.M., Manzoni, L., Sirakoulis, G.C., Bandini, S., Podlaski, K., Eds.; Springer: Berlin/Heidelberg, Germany, 2021; pp. 36–45. [Google Scholar] [CrossRef]
- Lin, Y.; Wang, X.; Hao, F.; Wang, L.; Zhang, L.; Zhao, R. An on-demand coverage based self-deployment algorithm for big data perception in mobile sensing networks. Future Gener. Comput. Syst. 2018, 82, 220–234. [Google Scholar] [CrossRef]
- Cerruti, U.; Dutto, S.; Murru, N. A symbiosis between cellular automata and genetic algorithms. Chaos Solitons Fractals 2020, 134, 109719. [Google Scholar] [CrossRef]
- Pereira, R.L.; Souza, D.L.; Mollinetti, M.A.F.; Neto, M.T.S.; Yasojima, E.K.K.; Teixeira, O.N.; De Oliveira, R.C.L. Game Theory and Social Interaction for Selection and Crossover Pressure Control in Genetic Algorithms: An Empirical Analysis to Real-Valued Constrained Optimization. IEEE Access 2020, 8, 144839–144865. [Google Scholar] [CrossRef]













| Player’s Action | Opponent’s Action | |
|---|---|---|
| Cooperate (C) | Defect (D) | |
| Cooperate (C) | ||
| Defect (D) | ||
| Parameters of WSN and Monitored Area | Description |
|---|---|
| , | sizes of a monitored area |
| positions of points of interest in the monitored area | |
| M | a number of in the monitored area |
| N | a number of sensors deployed in the monitored area |
| a name of the considered WSN consisting of | |
| sensors | |
| a sensing range of a sensor | |
| batt-capacity | a battery capacity of a sensor |
| a requested coverage of the monitored area | |
| a probability of initial turning ON of a battery | |
| Parameters of a multi-agent system | Description |
| a graph of a multi-agent system corresponding | |
| to with a given and | |
| an agent controlling a sensor | |
| an action of changing a state of his battery: | |
| (battery is turned ON), | |
| (battery is turned OFF) | |
| a strategy (CA rule) currently assigned to | |
| from the set {–C, –D} | |
| neighbors of in WSN graph | |
| a probability of an initial assigning of the strategy | |
| –C to a sensor | |
| a probability of a strategy mutation | |
| Parameters of WSN graph game | Description |
| parameters of payoff function from Table 2 | |
| a reward (payoff) of in a single game | |
| maximal number of single games (iterations) | |
| rewards of depending on a situation | |
| in a local environment of a player | |
| requested coverage for the area monitored by | |
| a current coverage of the area monitored by | |
| External performance criteria (not known for the multi-agent system) | Description |
| a current coverage of the monitored area | |
| a current number of sensors turned ON |
| 0 | 1 | 2 | 3 | 4 | 5 | 6 | 7 | 8 | 9 | 10 | 11 | 12 | 13 | 14 | 15 | |
|---|---|---|---|---|---|---|---|---|---|---|---|---|---|---|---|---|
| a | 0.0 | 0.1 | 0.2 | 0.3 | 0.4 | 0.5 | 0.6 | 0.7 | 0.8 | |||||||
| b | 1.0 | 1.1 | 1.2 | 1.3 | 1.4 | 1.5 | 1.6 | 1.7 | 1.8 | 1.9 | 2.0 | |||||
| c | 0.0 | 0.1 | 0.2 | 0.3 | 0.4 | 0.5 | 0.6 | 0.7 | 0.8 | 0.9 | 1.0 | 1.1 | 1.2 | 1.3 | 1.4 | 1.5 |
| d | 0.5 | 0.6 | 0.7 | 0.8 | 0.9 | 1.0 | 1.1 | 1.2 | 1.3 | 1.4 | 1.5 | 1.6 | 1.7 | 1.8 | 1.9 | 2.0 |
Disclaimer/Publisher’s Note: The statements, opinions and data contained in all publications are solely those of the individual author(s) and contributor(s) and not of MDPI and/or the editor(s). MDPI and/or the editor(s) disclaim responsibility for any injury to people or property resulting from any ideas, methods, instructions or products referred to in the content. |
© 2023 by the authors. Licensee MDPI, Basel, Switzerland. This article is an open access article distributed under the terms and conditions of the Creative Commons Attribution (CC BY) license (https://creativecommons.org/licenses/by/4.0/).
Share and Cite
Seredyński, F.; Kulpa, T.; Hoffmann, R.; Désérable, D. Coverage and Lifetime Optimization by Self-Optimizing Sensor Networks. Sensors 2023, 23, 3930. https://doi.org/10.3390/s23083930
Seredyński F, Kulpa T, Hoffmann R, Désérable D. Coverage and Lifetime Optimization by Self-Optimizing Sensor Networks. Sensors. 2023; 23(8):3930. https://doi.org/10.3390/s23083930
Chicago/Turabian StyleSeredyński, Franciszek, Tomasz Kulpa, Rolf Hoffmann, and Dominique Désérable. 2023. "Coverage and Lifetime Optimization by Self-Optimizing Sensor Networks" Sensors 23, no. 8: 3930. https://doi.org/10.3390/s23083930
APA StyleSeredyński, F., Kulpa, T., Hoffmann, R., & Désérable, D. (2023). Coverage and Lifetime Optimization by Self-Optimizing Sensor Networks. Sensors, 23(8), 3930. https://doi.org/10.3390/s23083930

