PPS: Energy-Aware Grid-Based Coverage Path Planning for UAVs Using Area Partitioning in the Presence of NFZs
Abstract
1. Introduction
- We propose a partitioning method of the area of interest in the presence of NFZs. This method has the advantage of dividing the area into equal subareas. The partition borders in our work are chosen to be on the grid-cell boundaries in order to reduce the percentage of uncovered areas. However, other methods in the literature drop all the cells that are located on the boundaries, which may result in dropping parts of the area to cover, and in reducing the quality of coverage.
- Each partition, or subarea, is mapped into a grid graph. The graph is reduced to a sub-graph in which all the edges are weighted. A filtering technique is implemented to remove insignificant edges and nodes for the favor of getting an optimal path. This technique identifies worthy edges, and refines the selection of the candidate turning points compared to the previous work.
- We improve the turning points selection mechanism, by implementing a new cost function for edges. The defined cost function takes into consideration the edge completion time as well as the coverage rate while moving from one edge to another.
- We present a path planning algorithm that can be applied to areas with exact or approximate cellular decomposition.
2. Related Works
2.1. Grid-Mapping Representation
2.1.1. Exact Cellular Decomposition
2.1.2. Approximate Cellular Decomposition
3. Problem Formulation
- Avoid passing over the NFZs;
- Achieve full coverage of the area of interest;
- Ensure minimum energy consumption, by lowering the number of turns and the completion time.
4. Algorithm Design
4.1. Vertex-Coloring and Key-Assignment
| Algorithm 1 Brown nodes key assignment | ||
|
|
|
| Algorithm 2 Black nodes key assignment | |
|
|
4.2. Edge-Creation
| Algorithm 3 Edge assignment to the nodes | |
|
|
4.3. Edge-Weighting
- -
- If the edge is between two brown nodes u and v and , then .
- -
- If the edge is between two turning points, check if the UAV footprint will be able to cover the surrounding neighboring nodes if it passes over this edge. For this purpose, Equation (4) is used. It represents the border line (denoted ) of the footprint at that edge.
4.4. Path Generation
- Let be the list of vertices. Select the starting point.
- For each brown node , find the first brown successor with which it has the lowest time cost segment. The vertex such that key and .
- Find
- , Find the total time.
- Pick such that
- When reaching an edge with time cost , its value is replaced with the time cost obtained according to selected edges previously, as follows:
- The intermediate nodes on the selected path as well as are added to . The path is built as we move from one edge to another.
- The edges that form the lowest cost are added to . The Algorithm 4 discards from the intermediate nodes unselected neighbors and removes the edges with them.
| Algorithm 4 Path Generation | |
|
|
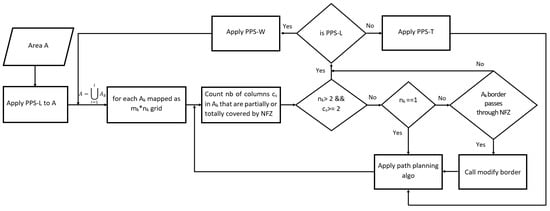
5. Partitioning Method (PPS)
5.1. PPS with Exact Cellular Decomposition
5.2. PPS with Approximate Cellular Decomposition
5.3. Combining Paths between Different Partitions
- We denote and (respectively and ) the start and end nodes of path-1 (respectively path-2) in partition . In each partition , these nodes are selected to form edges with the nearest boundary nodes denote (purple nodes). A connecting edge, denoted , is an edge formed between two nodes and , where and are the graphs representing two partitions and , such that and .
- We sort the edges cost for each partition according to the cost values, to choose the edges with minimum cost.
- If is connected to , then nodes that belong to the connection edge between the partitions are not allowed to perform new connections.
- If a node in belongs to the connecting edge and it is a start node, then the second start node in the same partition (if exists) could not set connections with other partitions.
- If a node in belongs to the connecting edge and it is an end node, then the second end node in the same partition (if exist) could not set connections with other partitions.
- If is connected to and , then and could not have a direct edge connection with each other.
- Alternative 1: in each partition area , apply the joining rules on all start and end nodes in the partition paths.
- Alternative 2: in each partition area , select the path-1. Then, select the start and end node for each partition path-1 and apply the joining rules.
- Alternative 3: in each partition area , select the path-2. Then, select the start and end node for each partition path-2 and apply the joining rules.
- Alternative 4: in each partition area , select the shortest path among path-1 and path-2. Then select the start and end node for each partition path and apply the joining rules.
6. Evaluation and Results
6.1. Evaluation Metrics
6.2. Results
6.2.1. Scenario 1
6.2.2. Scenario 2
- Figure 22a,b represent the CPP done by [19,20], respectively. Both works exclude the border cells, which gives a quality of coverage QoC 72%. Figure 22c shows the CPP in our work.Table 6 shows that the total path’s length in our work is shorter than the paths in [19,20], by 8.02% and 20.18% respectively. In addition, our work lowers the total turning angles by 59.46% over [19] and by 51.03% over [30]. In our work, the completion time is reduced by 31.33% compared to [19], and 31.69% compared to [20]. The gain in energy is 21.90% in our work compared to [19], and 26.65% compared to [20]).
- We use our PPS-L method and we evaluate its performance. Figure 23a,b represent the CPP done by [19,20], respectively. Both works exclude the border cells, which gives a quality of coverage QoC of 72%. Figure 23c shows the CPP in our work and we can notice that achieves 100% of QoC.Table 7 shows that the total path length in our work is shorter by 3.70% than the paths generated by [20]. However, it is higher by 9.87% than the paths obtained by [19]. Our work lowers the total turning angles by 78.37% over [19] and by 73.88% over [20], respectively. Regarding the completion time, it is reduced by 29.52% compared to the time in [19]. It is also reduced by 29.89% compared to [20]. The gain in energy by PPS is 13.14% over [19] and 15.10% over [20].
- Part C: PPS-L versus PPS-W versus PPS-TIn this section, we compare our 3 PPS methods on the area of [19,20] with same NFZ position, to evaluate the performance of each method. Figure 24a–c represents the CPP generated by our work using PPS-L, PPS-W and PPS-T, respectively.Table 8 shows that the total path length in our work using PPS-L is shorter than the paths using PPS-T by 7.72% and greater than PPS-W by 2.81%. PPS-L decreases the total turning angles by 50.00% over PPS-W and by 42.85% over PPS-T. In PPS-L, the completion time is reduced by 10.30% and 14.99% over PPS-W and PPS-T, respectively. The gain in energy is 4.09% and 12.85% over PPS-W and PPS-T, respectively.
6.2.3. Scenario 3
- NFZ located at the top side of the grid:Figure 25a–c shows the CPP obtained by PPS-L, PPS-W and PPS-T, respectively.To evaluate the average performance for the partition methods, we assume that the speed is 9 m/s and rotation rate is 35 degree/sec. Table 9 shows that the PPS-W generated a shorter path than PPS-L and PPS-T by 2.15% and 2.43%, respectively, with lowering the turning angels in PPS-L by 65.41% and 57.14% than in PPS-W and PPS-T, respectively. The average completion time in PPS-L shows a gain by 12.84% and 10.74% against PPS-W and PPS-T, respectively, with lowering the energy by 7.39% and 6.84% against PPS-W and PPS-T, respectively.
- NFZ located at the right side of the grid:Figure 27a–c shows the CPP obtained by PPS-L, PPS-W, PPS-T, respectively.To evaluate the average performance for the partitioning methods, we consider the speed of 9 m/s and rotation rate equal to 35 degree/s. Table 10 shows that PPS-W generates a shorter path than PPS-L and PPS-T. The path is shorter in PPS-W by 13.45% and 4.29%, respectively. PPS-L decreases the turning angles by 65.40% and by 57.14% over PPS-W and PPS-T, respectively. On the other hand, the average completion time in PPS-W shows a gain of 4.37% and 5.95% over PPS-L and PPS-T, respectively. PPS-W also lowers the energy consumption by 7.39% and 5.34% over PPS-L and PPS-T, respectively.
- NFZ located in the middle of the grid: The CPP by PPS-L, PPS-W and PPS-T, are presented in Figure 29a–c, respectively. The PPS-L method was unable to plan the path in subarea 2 since the NFZ covers cells in two columns of the area which divides it into two disjoint areas. To evaluate the average performance of the partitioning methods, we fix the speed to 9 m/s with rotation rate 35 degree/sec.Table 11 shows that PPS-T generates a shorter path than PPS-W with a slight difference of 0.20%. It lowers the turning angles in PPS-T by 22.22% over PPS-W. The average completion time in PPS-T is reduced by 5.22% over PPS-W, with energy saving of 3.53%.
6.2.4. Scenario 4
- Area 1: Figure 32 represents the CPP generated in the work of [16] using O-F and E-F methods, and the obtained CPP in our work.The results in Table 12 shows that the total paths length of our work is shorter than the paths of [16] using O-F and E-F methods by 16.10% and 8.62% respectively, and lowering the summation of the turning angles by 20.00% and 21.57% respectively. In our work the completion time is reduced by 18.34% and 16.38% than paths provided by O-F and E-F, respectively. It also achieves a gain of 17.56% and 13.80% in the consumed energy against paths planned by O-F and E-F respectively.
- Area 2: Figure 33 represents the CPP generated in the works of [16] using O-F and E-F methods, and the obtained CPP in our work.The results in Table 13 show that the total path’s length of our work is shorter than the paths of [16] using O-F and E-F methods by 12.60% and 10.04%, respectively. PPS method lowers the total turning angles by 17.33% in both. In our work the completion time is reduced by 15.14% and 14.01% over O-F and E-F methods, respectively. It achieves a gain of 14.21% and 12.58% in the consumed energy against paths planned by O-F and E-F, respectively.
6.2.5. Scenario 5
7. Conclusions
Author Contributions
Funding
Acknowledgments
Conflicts of Interest
References
- Jiménez López, J.; Mulero-Pázmány, M. Drones for conservation in protected areas: Present and future. Drones 2019, 3, 10. [Google Scholar] [CrossRef]
- Petkovic, S.; Petkovic, D.; Petkovic, A. IoT devices VS. drones for data collection in agriculture. DAAAM Int. Sci. Book 2017, 16, 63–80. [Google Scholar]
- Fotouhi, A.; Qiang, H.; Ding, M.; Hassan, M.; Giordano, L.G.; Garcia-Rodriguez, A.; Yuan, J. Survey on UAV cellular communications: Practical aspects, standardization advancements, regulation, and security challenges. IEEE Commun. Surv. Tutorials 2019, 21, 3417–3442. [Google Scholar] [CrossRef]
- Nam, L.; Huang, L.; Li, X.J.; Xu, J. An Approach for Coverage Path Planning for UAVs. In Proceedings of the 2016 IEEE 14th International Workshop on Advanced Motion Control (AMC), Auckland, New Zealand, 22–24 April 2016; pp. 411–416. [Google Scholar]
- Xue, X.; Lan, Y.; Sun, Z.; Chang, C.; Hoffmann, W.C. Develop an unmanned aerial vehicle based automatic aerial spraying system. Comput. Electron. Agric. 2016, 128, 58–66. [Google Scholar] [CrossRef]
- Van de Voorde, P.; Gautama, S.; Momont, A.; Ionescu, C.M.; De Paepe, P.; Fraeyman, N. The drone ambulance [A-UAS]: Golden bullet or just a blank? Resuscitation 2017, 116, 46–48. [Google Scholar] [CrossRef]
- Bejiga, M.B.; Zeggada, A.; Nouffidj, A.; Melgani, F. A convolutional neural network approach for assisting avalanche search and rescue operations with UAV imagery. Remote Sens. 2017, 9, 100. [Google Scholar] [CrossRef]
- Erdelj, M.; Uk, B.; Konam, D.; Natalizio, E. From the Eye of the Storm: An IoT Ecosystem Made of Sensors, Smartphones and UAVs. Sensors 2018, 18, 3814. [Google Scholar] [CrossRef]
- Erdelj, M.; Król, M.; Natalizio, E. Wireless sensor networks and multi-UAV systems for natural disaster management. Comput. Networks 2017, 124, 72–86. [Google Scholar] [CrossRef]
- Erdelj, M.; Natalizio, E.; Chowdhury, K.R.; Akyildiz, I.F. Help from the sky: Leveraging UAVs for disaster management. IEEE Pervasive Comput. 2017, 16, 24–32. [Google Scholar] [CrossRef]
- Natalizio, E.; Zema, N.; Yanmaz, E.; Pugliese, L.D.P.; Guerriero, F. Take the field from your smartphone: Leveraging UAVs for event filming. IEEE Trans. Mob. Comput. 2019. [Google Scholar] [CrossRef]
- Erdelj, M.; Saif, O.; Natalizio, E.; Fantoni, I. UAVs that fly forever: Uninterrupted structural inspection through automatic UAV replacement. Ad Hoc Networks 2019, 94, 101612. [Google Scholar] [CrossRef]
- Alvear, O.; Calafate, C.T.; Zema, N.R.; Natalizio, E.; Hernández-Orallo, E.; Cano, J.C.; Manzoni, P. A Discretized Approach to Air Pollution Monitoring Using UAV-based Sensing. Mob. Networks Appl. 2018, 23, 1693–1702. [Google Scholar] [CrossRef]
- Beg, A.; Qureshi, A.R.; Sheltami, T.; Yasar, A. UAV-enabled intelligent traffic policing and emergency response handling system for the smart city. Pers. Ubiquitous Comput. 2020. [Google Scholar] [CrossRef]
- Ghaddar, A.; Merei, A. EAOA: Energy-Aware Grid-Based 3D-Obstacle Avoidance in Coverage Path Planning for UAVs. Future Internet 2020, 12, 29. [Google Scholar] [CrossRef]
- Cabreira, T.M.; Ferreira, P.R.; Di Franco, C.; Buttazzo, G.C. Grid-Based Coverage Path Planning with Minimum Energy Over Irregular-Shaped Areas With Uavs. In Proceedings of the 2019 International Conference on Unmanned Aircraft Systems (ICUAS), Atlanta, GA, USA, 11–14 June 2019; pp. 758–767. [Google Scholar]
- Yu, H.; Li, G.; Zhang, W.; Huang, Q.; Du, D.; Tian, Q.; Sebe, N. The Unmanned Aerial Vehicle Benchmark: Object Detection, Tracking and Baseline. Int. J. Comput. Vis. 2019, 128, 1141–1159. [Google Scholar] [CrossRef]
- Goudarzi, S.; Kama, N.; Anisi, M.H.; Zeadally, S.; Mumtaz, S. Data collection using unmanned aerial vehicles for internet of things platforms. Comput. Electr. Eng. 2019, 75, 1–15. [Google Scholar] [CrossRef]
- Barrientos, A.; Colorado, J.; Cerro, J.d.; Martinez, A.; Rossi, C.; Sanz, D.; Valente, J. Aerial remote sensing in agriculture: A practical approach to area coverage and path planning for fleets of mini aerial robots. J. Field Robot. 2011, 28, 667–689. [Google Scholar] [CrossRef]
- Valente, J.; Del Cerro, J.; Barrientos, A.; Sanz, D. Aerial coverage optimization in precision agriculture management: A musical harmony inspired approach. Comput. Electron. Agric. 2013, 99, 153–159. [Google Scholar] [CrossRef]
- Torres, M.; Pelta, D.A.; Verdegay, J.L.; Torres, J.C. Coverage path planning with unmanned aerial vehicles for 3D terrain reconstruction. Expert Syst. Appl. 2016, 55, 441–451. [Google Scholar] [CrossRef]
- Ghaddar, A.; Merei, A. Energy-Aware Grid Based Coverage Path Planning for UAVs. In Proceedings of the SENSORCOMM 2019, The Thirteenth International Conference on Sensor Technologies and Applications, Nice, France, 27–31 October 2019; pp. 34–45. [Google Scholar]
- Ashiqur Rahman, M.; Masum, R.; Anderson, M.; Drager, S.L. Trajectory Synthesis for a UAV Swarm to Perform Resilient Requirement-Aware Surveillance: A Smart Grid-based Study. arXiv 2019, arXiv:1911.02512. [Google Scholar]
- Cabreira, T.M.; Brisolara, L.B.; Ferreira Jr, P.R. Survey on coverage path planning with unmanned aerial vehicles. Drones 2019, 3, 4. [Google Scholar] [CrossRef]
- Balampanis, F.; Maza, I.; Ollero, A. Area partition for coastal regions with multiple UAS. J. Intell. Robot. Syst. 2017, 88, 751–766. [Google Scholar] [CrossRef]
- Ammar, A.; Bennaceur, H.; Châari, I.; Koubâa, A.; Alajlan, M. Relaxed Dijkstra and A* with linear complexity for robot path planning problems in large-scale grid environments. Soft Comput. 2016, 20, 4149–4171. [Google Scholar] [CrossRef]
- Uras, T.; Koenig, S.; Hernández, C. Subgoal Graphs for Optimal Pathfinding in Eight-neighbor Grids. In Proceedings of the Twenty-Third International Conference on Automated Planning and Scheduling, Rome, Italy, 10–14 June 2013. [Google Scholar]
- Coombes, M.; Chen, W.H.; Liu, C. Boustrophedon Coverage Path Planning for UAV Aerial Surveys in Wind. In Proceedings of the 2017 International Conference on Unmanned Aircraft Systems (ICUAS), Miami, FL, USA, 13–16 June 2017; pp. 1563–1571. [Google Scholar]
- Balampanis, F.; Maza, I.; Ollero, A. Area Decomposition, Partition and Coverage with Multiple Remotely Piloted Aircraft Systems Operating in Coastal Regions. In Proceedings of the 2016 International Conference on Unmanned Aircraft Systems (ICUAS), Arlington, VA, USA, 7–10 June 2016; pp. 275–283. [Google Scholar]
- Maza, I.; Ollero, A. Multiple UAV Cooperative Searching Operation Using Polygon Area Decomposition and Efficient Coverage Algorithms. In Distributed Autonomous Robotic Systems 6; Springer: Berlin/Heidelberg, Germany, 2007; pp. 221–230. [Google Scholar]
- Coombes, M.; Fletcher, T.; Chen, W.H.; Liu, C. Decomposition-based mission planning for fixed-wing UAVs surveying in wind. J. Field Robot. 2019. [Google Scholar] [CrossRef]
- Cabreira, T.M.; Di Franco, C.; Ferreira, P.R.; Buttazzo, G.C. Energy-aware spiral coverage path planning for uav photogrammetric applications. IEEE Robot. Autom. Lett. 2018, 3, 3662–3668. [Google Scholar] [CrossRef]
- Black, P.E. Dictionary of Algorithms and Data Structures; National Institute of Standards and Technology Gaithersburg: Gaithersburg, MD, USA, 2004. [Google Scholar]
- Ann, S.; Kim, Y.; Ahn, J. Area allocation algorithm for multiple UAVs area coverage based on clustering and graph method. IFAC-PapersOnLine 2015, 48, 204–209. [Google Scholar] [CrossRef]
- Modares, J.; Ghanei, F.; Mastronarde, N.; Dantu, K. UB-ANC Planner: Energy Efficient Coverage Path Planning with Multiple Drones. In Proceedings of the 2017 IEEE International Conference on Robotics and Automation (ICRA), Singapore, 29 May–3 June 2017; pp. 6182–6189. [Google Scholar]
































| Our Work | [16] | [19] | [20] | [30] | [34] | ||
|---|---|---|---|---|---|---|---|
| Area Cellular decomposition | Approximate | * | * | * | * | * | |
| Exact | * | * | |||||
| Area decomposition Technique | Grid-based | * | * | * | * | * | |
| Grid Sub-division | * | ||||||
| Non-flying zones | Presence of NFZ inside the area | * | * | * | * | * | |
| NFZ located around the area | * | * | * | ||||
| More than one NFZ inside the area | * | ||||||
| Area Partitioning | Provide Partition algorithm | * | * | * | * | * | |
| Exclude partition border cells | * | * | |||||
| Number of UAVs | Single UAV | * | * | ||||
| Multiple UAVs | * | * | * | * | * | ||
| Grid to Graph mapping | Graph representation | * | * | * | * | * | |
| Graph filtering | * | ||||||
| Edges Weighting | Provide cost function for edges | * | * | * | * | ||
| Include coverage ratio in the weight | * | ||||||
| Evaluation Metrics | Energy consumption | * | * | * | |||
| Completion time | * | * | * | * | * | * | |
| Quality of Coverage | * | * | * | ||||
| Notation | Description | Notation | Description |
|---|---|---|---|
| Geographical area | Time needed to move between two vertices | ||
| Sub-area in | Coverage value for an edge | ||
| vertex (,) located on the column | D | Distance between two nodes u and v | |
| Grid column | S | UAV speed | |
| Formed graph | UAV rotation rate | ||
| Set of UAVs | Set of all predecessors between two vertices | ||
| UAV Path | Set of possible simple paths | ||
| Set of turning points | Set of edges along a path | ||
| Turning angles | Direct predecessor of vertex v along the path | ||
| Total path | Direct successor to vertex u along the path | ||
| Grid represented in Graph | All the possible paths between u and v | ||
| Set of vertices/nodes | List of vertices | ||
| Set of edges | Set of edges that form the lowest cost | ||
| Set of colors | l | Number of sub areas in | |
| Edge label | m | The total number of columns | |
| Vertices label | n | The total number of rows | |
| Set of keys | Start node of path | ||
| Sub-column p in major column q | End node of path | ||
| range i of vertices in column j | Connecting edge between two graphs | ||
| Set the min bound for Range i | Energy cost of traversing an edge | ||
| Set the max bound for Range i | Energy cost associated with a feasible turn | ||
| Row of first vertex in | Energy consumption per meter of length | ||
| Row of last vertex in | Energy consumption per degree of turn angle | ||
| Degree (or valency) of a vertex v | Total energy consumed | ||
| Indegree of a vertex v | Number of covered non-zero cells | ||
| Outdegree of a vertex v | Number of the non-zero cells in the area grid |
| From | To | |||
|---|---|---|---|---|
| 1 | edge(2,5) | edge(5,6) | 63 | 2.6 |
| 2 | edge(3,5) | edge(5,6) | 45 | 2 |
| 3 | edge(4,5) | edge(5,6) | 90 | 3.5 |
| 1-2-3-5-6 | 8.207 | |
| 1-2-4-5-6 | 11.207 | |
| 1-2-5-6 | 8.118 |
| (a) Ref. [30] | (b) Our Work | |
|---|---|---|
| Route length [unit] ⊤ | 9422.20 | 9182.56 |
| UAVs speed [unit/s] | 8 | 8 |
| Turns [degree] | 4680 | 2880 |
| Rotation rate [deg/sec] | 30 | 30 |
| Completion-time [sec] | 1333.77 | 1243.45 |
| Energy consumption [KJ] | 1177.71 | 1118.48 |
| (a) Ref. [19] | (b) Ref. [20] | (c) Our Work | |
|---|---|---|---|
| Route length ⊤ in meters | 1339.52 | 1543.46 | 1231.97 |
| UAVs speed [m/s] | 10 | 10 | 10 |
| Turns [degree] | 3330 | 2757 | 1350 |
| Rotation rate [deg/sec] | 30 | 30 | 30 |
| Completion-time [sec] | 244.95 | 246.24 | 168.19 |
| Energy consumption [KJ] | 213.53 | 227.35 | 166.75 |
| (a) Ref. [19] | (b) Ref. [20] | (c) PPS-L | |
|---|---|---|---|
| Route length ⊤ in meters | 1339.52 | 1543.46 | 1486.23 |
| UAVs speed [m/s] | 10 | 10 | 10 |
| Turns [degree] | 3330 | 2757 | 720 |
| Rotation rate [deg/sec] | 30 | 30 | 30 |
| Completion-timein s | 244.95 | 246.24 | 172.623 |
| Energy consumption [KJ] | 213.53 | 227.35 | 185.45 |
| (a) PPS-L | (b) PPS-W | (c) PPS-T | |
|---|---|---|---|
| Route length ⊤ in meters | 1486.23 | 1444.48 | 1610.71 |
| UAVs speed [m/s] | 10 | 10 | 10 |
| Turns [degree] | 720 | 1440 | 1260 |
| Rotation rate [deg/sec] | 30 | 30 | 30 |
| Completion-time [sec] | 172.62 | 192.44 | 203.07 |
| Energy consumption [KJ] | 185.45 | 193.05 | 209.28 |
| (a) PPS-L | (b) PPS-W | (c) PPS-T | |
|---|---|---|---|
| Route length ⊤ in meters | 1433.19 | 1402.29 | 1437.25 |
| UAVs speed [m/s] | 9 | 9 | 9 |
| Turns [degree] | 540 | 1561 | 1260 |
| Rotation rate [deg/sec] | 35 | 35 | 35 |
| Completion-time [sec] | 174.67 | 200.41 | 195.69 |
| Energy consumption [KJ] | 176.17 | 190.23 | 189.09 |
| (a) PPS-L | (b) PPS-W | (c) PPS-T | |
|---|---|---|---|
| Route length ⊤ in meters | 1615.25 | 1397.92 | 1460.65 |
| UAVs speed [m/s] | 9 | 9 | 9 |
| Turns [degree] | 540 | 1561 | 1260 |
| Rotation rate [deg/sec] | 35 | 35 | 35 |
| Completion-time [sec] | 200.07 | 191.32 | 203.44 |
| Energy consumption [KJ] | 200.49 | 184.52 | 194.93 |
| (a) PPS-L | (b) PPS-W | (c) PPS-T | |
|---|---|---|---|
| Route length ⊤ in meters | N/A | 1406.70 | 1403.98 |
| UAVs speed [m/s] | 9 | 9 | 9 |
| Turns [degree] | N/A | 1620 | 1260 |
| Rotation rate [deg/sec] | 35 | 35 | 35 |
| Completion-time [sec] | N/A | 202.58 | 191.99 |
| Energy consumption [KJ] | N/A | 185.07 | 178.53 |
| (a) O-F | (b) E-F | (c) Our Work | |
|---|---|---|---|
| Route length ⊤ in meters | 556.98 | 511.42 | 467.33 |
| UAVs speed [m/s] | 10 | 10 | 10 |
| Turns [degree] | 2250 | 2295 | 1800 |
| Rotation rate [deg/sec] | 30 | 30 | 30 |
| Completion-time [sec] | 130.69 | 127.64 | 106.73 |
| Energy consumption [KJ] | 103.76 | 99.23 | 85.54 |
| (a) O-F | (b) E-F | (c) Our Work | |
|---|---|---|---|
| Route length ⊤ in meters | 582.84 | 566.27 | 509.38 |
| UAVs speed [m/s] | 10 | 10 | 10 |
| Turns [degree] | 2025 | 2025 | 1674 |
| Rotation rate [deg/sec] | 30 | 30 | 30 |
| Completion-time [sec] | 125.78 | 124.12 | 106.74 |
| Energy consumption [KJ] | 102.87 | 100.94 | 88.25 |
© 2020 by the authors. Licensee MDPI, Basel, Switzerland. This article is an open access article distributed under the terms and conditions of the Creative Commons Attribution (CC BY) license (http://creativecommons.org/licenses/by/4.0/).
Share and Cite
Ghaddar, A.; Merei, A.; Natalizio, E. PPS: Energy-Aware Grid-Based Coverage Path Planning for UAVs Using Area Partitioning in the Presence of NFZs. Sensors 2020, 20, 3742. https://doi.org/10.3390/s20133742
Ghaddar A, Merei A, Natalizio E. PPS: Energy-Aware Grid-Based Coverage Path Planning for UAVs Using Area Partitioning in the Presence of NFZs. Sensors. 2020; 20(13):3742. https://doi.org/10.3390/s20133742
Chicago/Turabian StyleGhaddar, Alia, Ahmad Merei, and Enrico Natalizio. 2020. "PPS: Energy-Aware Grid-Based Coverage Path Planning for UAVs Using Area Partitioning in the Presence of NFZs" Sensors 20, no. 13: 3742. https://doi.org/10.3390/s20133742
APA StyleGhaddar, A., Merei, A., & Natalizio, E. (2020). PPS: Energy-Aware Grid-Based Coverage Path Planning for UAVs Using Area Partitioning in the Presence of NFZs. Sensors, 20(13), 3742. https://doi.org/10.3390/s20133742

