Sign in to use this feature.

Years

Between: -

Subjects

remove_circle_outline
remove_circle_outline
remove_circle_outline
remove_circle_outline
remove_circle_outline
remove_circle_outline
remove_circle_outline

Journals

Article Types

Countries / Regions

Search Results (20)

Search Parameters:
Keywords = tremor suppression

Order results
Result details
Results per page
Select all
Export citation of selected articles as:
31 pages, 3338 KB  
Review
Natural Neurobiological Active Compounds in Parkinson’s Disease: Molecular Targets, Signaling Pathways, and Therapeutic Prospects
by Xue Wu, Linao Zhang, Shifang Luo, Qing Li, Jiying Wang, Wentao Chen, Na Zhou, Lingli Zhou, Rongyu Li, Yuhuan Xie, Qinghua Chen and Peixin Guo
Int. J. Mol. Sci. 2026, 27(3), 1301; https://doi.org/10.3390/ijms27031301 - 28 Jan 2026
Viewed by 36
Abstract
Parkinson’s disease (PD) is a progressive neurodegenerative condition with a multifactorial etiology, characterized by dopaminergic neurons being selectively absent in the midbrain. Clinically, PD manifests primarily with core motor symptoms of resting tremor, bradykinesia, and muscle rigidity, and is often accompanied by non-motor [...] Read more.
Parkinson’s disease (PD) is a progressive neurodegenerative condition with a multifactorial etiology, characterized by dopaminergic neurons being selectively absent in the midbrain. Clinically, PD manifests primarily with core motor symptoms of resting tremor, bradykinesia, and muscle rigidity, and is often accompanied by non-motor symptoms including depression, cognitive impairment, and gastrointestinal dysfunction. Among the extensive relevant research, few have explored the precise pathogenic mechanisms underlying PD, and no curative treatment is available. Current pharmacological therapies mainly provide symptomatic relief by enhancing central dopaminergic function or modulating cholinergic activity; however, their long-term efficacy is frequently constrained by waning therapeutic response, drug tolerance, and adverse reactions. Accumulating evidence suggests that several naturally derived neuroactive compounds—such as gastrodin, uncarin, and paeoniflorin—demonstrate significant potential in combating PD. In this systematic review, we examined original research articles published from 2010 to 2025, retrieved from PubMed, Web of Science, and CNKI databases, using predefined keywords of Parkinson’s disease, neuroprotective herbal compounds, traditional medicine, multi-target mechanisms, natural product, autophagy, neuroinflammation, and oxidative stress. Studies were included if they specifically investigated the mechanistic actions of natural compounds in PD models. Conference abstracts, review articles, publications not in English or Chinese, and studies lacking clearly defined mechanisms were excluded. Analysis of the available literature reveals that natural neuroactive compounds may exert anti-PD effects through multiple mechanisms, e.g., inhibiting pathological α-synuclein aggregation, attenuating neuronal apoptosis, suppressing neuroinflammation, mitigating oxidative stress, and restoring mitochondrial dysfunction. This review provides insights that may inform the clinical application of natural bioactive compounds and guide their further development as potential therapeutic candidates against PD. Full article
(This article belongs to the Section Bioactives and Nutraceuticals)
Show Figures

Figure 1

12 pages, 1521 KB  
Case Report
Thyroid Eye Disease Following SARS-CoV-2 Vaccination: Experience of a Case Series
by Alin Abreu Lomba, María Elena Tello-Cajiao, Mónica Morales, Alexander Martínez, Mauricio Andrés Salazar Moreno, David Alexander Vernaza Trujillo, Alice Gaibor-Pazmiño and Juan S. Izquierdo-Condoy
Vaccines 2026, 14(1), 37; https://doi.org/10.3390/vaccines14010037 - 28 Dec 2025
Viewed by 549
Abstract
Background: Thyroid eye disease (TED), or Graves’ orbitopathy, is the most common extra-thyroidal manifestation of Graves’ disease, but it has only rarely been reported after SARS-CoV-2 vaccination. Autoimmune thyroid disease, including subacute thyroiditis and Graves’ disease, has been described following COVID-19 vaccination; we [...] Read more.
Background: Thyroid eye disease (TED), or Graves’ orbitopathy, is the most common extra-thyroidal manifestation of Graves’ disease, but it has only rarely been reported after SARS-CoV-2 vaccination. Autoimmune thyroid disease, including subacute thyroiditis and Graves’ disease, has been described following COVID-19 vaccination; we present a case series of TED occurring shortly after different COVID-19 vaccines to provide clinical data on this potential safety signal. Case presentation: We describe five women (mean age 47 years; range 27–69) who developed TED 3–20 days after COVID-19 vaccination with mRNA or adenoviral vector vaccines, three of whom had pre-existing thyroid disease. Presentations included ocular and retro-orbital pain, exophthalmos, headache, goiter, tremor, depressive symptoms, and, in one case, anterior neck pain and fever. TED severity (ETA/EUGOGO) ranged from mild to severe, with frequent findings of suppressed TSH, elevated thyroid autoantibodies, and inflammatory markers, as well as imaging evidence of exophthalmos, extraocular muscle enlargement, and diffuse or multinodular goiter. Management with intravenous corticosteroids, selenium, levothyroxine adjustment, and/or intramuscular corticosteroids led to improvement in thyroid function and inflammation by 3 months, although mild TED often persisted. Conclusions: This case series supports a temporal association between COVID-19 vaccination and new-onset or exacerbated TED in individuals with autoimmune thyroid disease. Although vaccination benefits outweigh potential risks, clinicians should remain alert to ocular and thyroid symptoms after immunization to ensure timely diagnosis and management. Full article
(This article belongs to the Special Issue 3rd Edition: Safety and Autoimmune Response to SARS-CoV-2 Vaccination)
Show Figures

Figure 1

24 pages, 4391 KB  
Article
A Computational Model of Deep Brain Stimulation for Parkinson’s Disease Tremor and Bradykinesia
by Sandeep Sathyanandan Nair and Srinivasa Chakravarthy
Brain Sci. 2024, 14(6), 620; https://doi.org/10.3390/brainsci14060620 - 20 Jun 2024
Cited by 2 | Viewed by 5215
Abstract
Parkinson’s disease (PD) is a progressive neurological disorder that is typically characterized by a range of motor dysfunctions, and its impact extends beyond physical abnormalities into emotional well-being and cognitive symptoms. The loss of dopaminergic neurons in the substantia nigra pars compacta (SNc) [...] Read more.
Parkinson’s disease (PD) is a progressive neurological disorder that is typically characterized by a range of motor dysfunctions, and its impact extends beyond physical abnormalities into emotional well-being and cognitive symptoms. The loss of dopaminergic neurons in the substantia nigra pars compacta (SNc) leads to an array of dysfunctions in the functioning of the basal ganglia (BG) circuitry that manifests into PD. While active research is being carried out to find the root cause of SNc cell death, various therapeutic techniques are used to manage the symptoms of PD. The most common approach in managing the symptoms is replenishing the lost dopamine in the form of taking dopaminergic medications such as levodopa, despite its long-term complications. Another commonly used intervention for PD is deep brain stimulation (DBS). DBS is most commonly used when levodopa medication efficacy is reduced, and, in combination with levodopa medication, it helps reduce the required dosage of medication, prolonging the therapeutic effect. DBS is also a first choice option when motor complications such as dyskinesia emerge as a side effect of medication. Several studies have also reported that though DBS is found to be effective in suppressing severe motor symptoms such as tremors and rigidity, it has an adverse effect on cognitive capabilities. Henceforth, it is important to understand the exact mechanism of DBS in alleviating motor symptoms. A computational model of DBS stimulation for motor symptoms will offer great insights into understanding the mechanisms underlying DBS, and, along this line, in our current study, we modeled a cortico-basal ganglia circuitry of arm reaching, where we simulated healthy control (HC) and PD symptoms as well as the DBS effect on PD tremor and bradykinesia. Our modeling results reveal that PD tremors are more correlated with the theta band, while bradykinesia is more correlated with the beta band of the frequency spectrum of the local field potential (LFP) of the subthalamic nucleus (STN) neurons. With a DBS current of 220 pA, 130 Hz, and a 100 microsecond pulse-width, we could found the maximum therapeutic effect for the pathological dynamics simulated using our model using a set of parameter values. However, the exact DBS characteristics vary from patient to patient, and this can be further studied by exploring the model parameter space. This model can be extended to study different DBS targets and accommodate cognitive dynamics in the future to study the impact of DBS on cognitive symptoms and thereby optimize the parameters to produce optimal performance effects across modalities. Combining DBS with rehabilitation is another frontier where DBS can reduce symptoms such as tremors and rigidity, enabling patients to participate in their therapy. With DBS providing instant relief to patients, a combination of DBS and rehabilitation can enhance neural plasticity. One of the key motivations behind combining DBS with rehabilitation is to expect comparable results in motor performance even with milder DBS currents. Full article
Show Figures

Figure 1

22 pages, 2864 KB  
Article
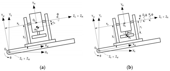
Towards a Modular Pathological Tremor Simulation System Based on the Stewart Platform
by Jair Fajardo and Leonimer Flávio de Melo
Sensors 2023, 23(22), 9020; https://doi.org/10.3390/s23229020 - 7 Nov 2023
Cited by 2 | Viewed by 2474
Abstract
Wearable technologies have aided in reducing pathological tremor symptoms through non-intrusive solutions that aim to identify patterns in involuntary movements and suppress them using actuators positioned at specific joints. However, during the development of these devices, tests were primarily conducted on patients due [...] Read more.
Wearable technologies have aided in reducing pathological tremor symptoms through non-intrusive solutions that aim to identify patterns in involuntary movements and suppress them using actuators positioned at specific joints. However, during the development of these devices, tests were primarily conducted on patients due to the difficulty of faithfully simulating tremors using simulation equipment. Based on studies characterizing tremors in Parkinson’s disease, the development of a robotic manipulator based on the Stewart platform was initiated, with the goal of satisfactorily simulating resting tremor movements in the hands. In this work, a simulator was implemented in a computational environment using the multibody dynamics method. The platform structure was designed in a virtual environment using SOLIDWORKS® v2017 software and later exported to Matlab® R17a software using the Simulink environment and Simscape multibody library. The workspace was evaluated, and the Kalman filter was used to merge acceleration and angular velocity data and convert them into data related to the inclination and rotation of real patients’ wrists, which were subsequently executed in the simulator. The results show a high correlation and low dispersion between real and simulated signals, demonstrating that the simulated mechanism has the capacity to represent Parkinson’s disease resting tremors in all wrist movements. The system could contribute to conducting tremor tests in suppression devices without the need for the presence of the patient and aid in comparing suppression techniques, benefiting the development of new wearable devices. Full article
(This article belongs to the Section Wearables)
Show Figures

Figure 1

14 pages, 10561 KB  
Article
Mapping Pharmacologically Evoked Neurovascular Activation and Its Suppression in a Rat Model of Tremor Using Functional Ultrasound: A Feasibility Study
by Rohit Nayak, Jeyeon Lee, Setayesh Sotoudehnia, Su-Youne Chang, Mostafa Fatemi and Azra Alizad
Sensors 2023, 23(15), 6902; https://doi.org/10.3390/s23156902 - 3 Aug 2023
Cited by 1 | Viewed by 2567
Abstract
Functional ultrasound (fUS), an emerging hemodynamic-based functional neuroimaging technique, is especially suited to probe brain activity and primarily used in animal models. Increasing use of pharmacological models for essential tremor extends new research to the utilization of fUS imaging in such models. Harmaline-induced [...] Read more.
Functional ultrasound (fUS), an emerging hemodynamic-based functional neuroimaging technique, is especially suited to probe brain activity and primarily used in animal models. Increasing use of pharmacological models for essential tremor extends new research to the utilization of fUS imaging in such models. Harmaline-induced tremor is an easily provoked model for the development of new therapies for essential tremor (ET). Furthermore, harmaline-induced tremor can be suppressed by the same classic medications used for essential tremor, which leads to the utilization of this model for preclinical testing. However, changes in local cerebral activities under the effect of tremorgenic doses of harmaline have not been completely investigated. In this study, we explored the feasibility of fUS imaging for visualization of cerebral activation and deactivation associated with harmaline-induced tremor and tremor-suppressing effects of propranolol. The spatial resolution of fUS using a high frame rate imaging enabled us to visualize time-locked and site-specific changes in cerebral blood flow associated with harmaline-evoked tremor. Intraperitoneal administration of harmaline generated significant neural activity changes in the primary motor cortex and ventrolateral thalamus (VL Thal) regions during tremor and then gradually returned to baseline level as tremor subsided with time. To the best of our knowledge, this is the first functional ultrasound study to show the neurovascular activation of harmaline-induced tremor and the therapeutic suppression in a rat model. Thus, fUS can be considered a noninvasive imaging method for studying neuronal activities involved in the ET model and its treatment. Full article
(This article belongs to the Section Biomedical Sensors)
Show Figures

Graphical abstract

13 pages, 2838 KB  
Article
Self-Assembly Nanostructure of Myristoylated ω-Conotoxin MVIIA Increases the Duration of Efficacy and Reduces Side Effects
by Xiufang Ding, Yue Wang, Sida Zhang, Ruihua Zhang, Dong Chen, Long Chen, Yu Zhang, Shi-Zhong Luo, Jianfu Xu and Chengxin Pei
Mar. Drugs 2023, 21(4), 229; https://doi.org/10.3390/md21040229 - 1 Apr 2023
Cited by 7 | Viewed by 2799
Abstract
Chronic pain is one of the most prevalent health problems worldwide. An alternative to suppress or alleviate chronic pain is the use of peptide drugs that block N-type Ca2+ channels (Cav2.2), such as ω-conotoxin MVIIA. Nevertheless, the narrow therapeutic window, [...] Read more.
Chronic pain is one of the most prevalent health problems worldwide. An alternative to suppress or alleviate chronic pain is the use of peptide drugs that block N-type Ca2+ channels (Cav2.2), such as ω-conotoxin MVIIA. Nevertheless, the narrow therapeutic window, severe neurological side effects and low stability associated with peptide MVIIA have restricted its widespread use. Fortunately, self-assembly endows the peptide with high stability and multiple functions, which can effectively control its release to prolong its duration of action. Inspired by this, MVIIA was modified with appropriate fatty acid chains to render it amphiphilic and easier to self-assemble. In this paper, an N-terminal myristoylated MVIIA (Myr-MVIIA, medium carbon chain length) was designed and prepared to undergo self-assembly. The present results indicated that Myr-MVIIA can self-assemble into micelles. Self-assembled micelles formed by Myr-MVIIA at higher concentrations than MVIIA can prolong the duration of the analgesic effect and significantly reduce or even eliminate the side effects of tremor and coordinated motor dysfunction in mice. Full article
(This article belongs to the Special Issue Conotoxin and Conotoxin Analogues: A Pharmacy Cabinet under the Sea)
Show Figures

Graphical abstract

19 pages, 1486 KB  
Article
Analysis of Adaptive Algorithms Based on Least Mean Square Applied to Hand Tremor Suppression Control
by Rafael Silfarney Alves Araújo, Jéssica Cristina Tironi, Wemerson Delcio Parreira, Renata Coelho Borges, Juan Francisco De Paz Santana and Valderi Reis Quietinho Leithardt
Appl. Sci. 2023, 13(5), 3199; https://doi.org/10.3390/app13053199 - 2 Mar 2023
Cited by 8 | Viewed by 3364
Abstract
The increase in life expectancy, according to the World Health Organization, is a fact, and with it rises the incidence of age-related neurodegenerative diseases. The most recurrent symptoms are those associated with tremors resulting from Parkinson’s disease (PD) or essential tremors (ETs). The [...] Read more.
The increase in life expectancy, according to the World Health Organization, is a fact, and with it rises the incidence of age-related neurodegenerative diseases. The most recurrent symptoms are those associated with tremors resulting from Parkinson’s disease (PD) or essential tremors (ETs). The main alternatives for the treatment of these patients are medication and surgical intervention, which sometimes have restrictions and side effects. Through computer simulations in Matlab software, this work investigates the performance of adaptive algorithms based on least mean squares (LMS) to suppress tremors in upper limbs, especially in the hands. The signals resulting from pathological hand tremors, related to PD, present components at frequencies that vary between 3 Hz and 6 Hz, with the more significant energy present in the fundamental and second harmonics, while physiological hand tremors, referred to ET, vary between 4 Hz and 12 Hz. We simulated and used these signals as reference signals in adaptive algorithms, filtered-x least mean square (Fx-LMS), filtered-x normalized least mean square (Fx-NLMS), and a hybrid Fx-LMS–NLMS purpose. Our results showed that the vibration control provided by the Fx-LMS–LMS algorithm is the most suitable for physiological tremors. For pathological tremors, we used a proposed algorithm with a filtered sinusoidal input signal, Fsinx-LMS, which presented the best results in this specific case. Full article
(This article belongs to the Special Issue Wireless Sensor Networks in Smart Environments — 2nd Volume)
Show Figures

Figure 1

20 pages, 2435 KB  
Article
GABA-A Alpha 2/3 but Not Alpha 1 Receptor Subunit Ligand Inhibits Harmaline and Pimozide-Induced Tremor in Rats
by Barbara Kosmowska, Martyna Paleczna, Dominika Biała, Justyna Kadłuczka, Jadwiga Wardas, Jeffrey M. Witkin, James M. Cook, Dishary Sharmin, Monika Marcinkowska and Katarzyna Z. Kuter
Biomolecules 2023, 13(2), 197; https://doi.org/10.3390/biom13020197 - 18 Jan 2023
Cited by 5 | Viewed by 5895
Abstract
Treatment of tremors, such as in essential tremor (ET) and Parkinson’s disease (PD) is mostly ineffective. Exact tremor pathomechanisms are unknown and relevant animal models are missing. GABA-A receptor is a target for tremorolytic medications, but current non-selective drugs produce side effects and [...] Read more.
Treatment of tremors, such as in essential tremor (ET) and Parkinson’s disease (PD) is mostly ineffective. Exact tremor pathomechanisms are unknown and relevant animal models are missing. GABA-A receptor is a target for tremorolytic medications, but current non-selective drugs produce side effects and have safety liabilities. The aim of this study was a search for GABA-A subunit-specific tremorolytics using different tremor-generating mechanisms. Two selective positive allosteric modulators (PAMs) were tested. Zolpidem, targeting GABA-A α1, was not effective in models of harmaline-induced ET, pimozide- or tetrabenazine-induced tremulous jaw movements (TJMs), while the novel GABA-A α2/3 selective MP-III-024 significantly reduced both the harmaline-induced ET tremor and pimozide-induced TJMs. While zolpidem decreased the locomotor activity of the rats, MP-III-024 produced small increases. These results provide important new clues into tremor suppression mechanisms initiated by the enhancement of GABA-driven inhibition in pathways controlled by α2/3 but not α1 containing GABA-A receptors. Tremor suppression by MP-III-024 provides a compelling reason to consider selective PAMs targeting α2/3-containing GABA-A receptors as novel therapeutic drug targets for ET and PD-associated tremor. The possibility of the improved tolerability and safety of this mechanism over non-selective GABA potentiation provides an additional rationale to further pursue the selective α2/3 hypothesis. Full article
(This article belongs to the Special Issue GABA Receptors in Pharmacology and Neurobiology)
Show Figures

Figure 1

25 pages, 584 KB  
Review
Diagnosis and Treatment of Tremor in Parkinson’s Disease Using Mechanical Devices
by Joji Fujikawa, Ryoma Morigaki, Nobuaki Yamamoto, Hiroshi Nakanishi, Teruo Oda, Yuishin Izumi and Yasushi Takagi
Life 2023, 13(1), 78; https://doi.org/10.3390/life13010078 - 27 Dec 2022
Cited by 21 | Viewed by 9412
Abstract
Background: Parkinsonian tremors are sometimes confused with essential tremors or other conditions. Recently, researchers conducted several studies on tremor evaluation using wearable sensors and devices, which may support accurate diagnosis. Mechanical devices are also commonly used to treat tremors and have been actively [...] Read more.
Background: Parkinsonian tremors are sometimes confused with essential tremors or other conditions. Recently, researchers conducted several studies on tremor evaluation using wearable sensors and devices, which may support accurate diagnosis. Mechanical devices are also commonly used to treat tremors and have been actively researched and developed. Here, we aimed to review recent progress and the efficacy of the devices related to Parkinsonian tremors. Methods: The PubMed and Scopus databases were searched for articles. We searched for “Parkinson disease” and “tremor” and “device”. Results: Eighty-six articles were selected by our systematic approach. Many studies demonstrated that the diagnosis and evaluation of tremors in patients with PD can be done accurately by machine learning algorithms. Mechanical devices for tremor suppression include deep brain stimulation (DBS), electrical muscle stimulation, and orthosis. In recent years, adaptive DBS and optimization of stimulation parameters have been studied to further improve treatment efficacy. Conclusions: Due to developments using state-of-the-art techniques, effectiveness in diagnosing and evaluating tremor and suppressing it using these devices is satisfactorily high in many studies. However, other than DBS, no devices are in practical use. To acquire high-level evidence, large-scale studies and randomized controlled trials are needed for these devices. Full article
(This article belongs to the Section Physiology and Pathology)
Show Figures

Figure 1

14 pages, 391 KB  
Article
Using Deep Learning for Task and Tremor Type Classification in People with Parkinson’s Disease
by Ghazal Farhani, Yue Zhou, Mary E. Jenkins, Michael D. Naish and Ana Luisa Trejos
Sensors 2022, 22(19), 7322; https://doi.org/10.3390/s22197322 - 27 Sep 2022
Cited by 16 | Viewed by 4015
Abstract
Hand tremor is one of the dominating symptoms of Parkinson’s disease (PD), which significantly limits activities of daily living. Along with medications, wearable devices have been proposed to suppress tremor. However, suppressing tremor without interfering with voluntary motion remains challenging and improvements are [...] Read more.
Hand tremor is one of the dominating symptoms of Parkinson’s disease (PD), which significantly limits activities of daily living. Along with medications, wearable devices have been proposed to suppress tremor. However, suppressing tremor without interfering with voluntary motion remains challenging and improvements are needed. The main goal of this work was to design algorithms for the automatic identification of the tremor type and voluntary motions, using only surface electromyography (sEMG) data. Towards this goal, a bidirectional long short-term memory (BiLSTM) algorithm was implemented that uses sEMG data to identify the motion and tremor type of people living with PD when performing a task. Moreover, in order to automate the training process, hyperparamter selection was performed using a regularized evolutionary algorithm. The results show that the accuracy of task classification among 15 people living with PD was 84±8%, and the accuracy of tremor classification was 88±5%. Both models performed significantly above chance levels (20% and 33% for task and tremor classification, respectively). Thus, it was concluded that the trained models, based on using purely sEMG signals, could successfully identify the task and tremor types. Full article
(This article belongs to the Special Issue Wearable Biomedical Devices and Sensors)
Show Figures

Figure 1

11 pages, 932 KB  
Article
Does Cup-Grip Type Affect Tremor among People with Essential Tremor?
by Navit Roth and Sara Rosenblum
Sensors 2021, 21(23), 7797; https://doi.org/10.3390/s21237797 - 23 Nov 2021
Cited by 1 | Viewed by 3028
Abstract
Essential tremor (ET) is a movement disorder that may cause functional disability in daily activities, such as drinking from a cup or drawing. This study aims to characterize effects of varied cup-grip types and measured axes on the actual performance of people with [...] Read more.
Essential tremor (ET) is a movement disorder that may cause functional disability in daily activities, such as drinking from a cup or drawing. This study aims to characterize effects of varied cup-grip types and measured axes on the actual performance of people with ET and find correlations between cup-grip type and measured axes, and spiral drawing measures. Participants (20 with ET and 18 controls) held a cup of water in a steady position in three grip types and drew a spiral. The cup acceleration was measured by the cup triaxial accelerometer, analyzed in X, Y and Z axes (directions); deviation of the measured acceleration from the desired steady position acceleration was computed. Significant group differences were found for outcome measures in all grip types. Among participants with ET, significantly higher measured values were found in the cup’s horizontal plane (X and Y axes) compared to the vertical direction (Z axis) and for on-the-handle versus around-the-cup grips in the X and Y axes. Significant correlations were found between this grip’s measures and spiral-drawing actual performance measures, indicating the measurement axis and grip type may affect actual performance. These findings may support the future development of assistive devices for tremor suppression and personalized supportive therapy. Full article
(This article belongs to the Section Biomedical Sensors)
Show Figures

Figure 1

26 pages, 12528 KB  
Article
Towards Essential Hand Tremor Suppression via Pneumatic Artificial Muscles
by Vasileios Skaramagkas, George Andrikopoulos and Stamatis Manesis
Actuators 2021, 10(9), 206; https://doi.org/10.3390/act10090206 - 26 Aug 2021
Cited by 10 | Viewed by 5119
Abstract
Essential tremor (ET) is one of the most common movement disorders and can occur unexpectedly and develop indefinitely to any population unit. According to the recorded statistics of people suffering from ET, the disorder affects 5% of people worldwide, thus creating an ever-increasing [...] Read more.
Essential tremor (ET) is one of the most common movement disorders and can occur unexpectedly and develop indefinitely to any population unit. According to the recorded statistics of people suffering from ET, the disorder affects 5% of people worldwide, thus creating an ever-increasing need to investigate ways for its suppression and treatment. In this article, we investigate the capability of Pneumatic Artificial Muscles (PAMs) to reduce or even suppress ET leading to the relief of the sufferers. In our work, we designed and constructed two iterations of a glovelike setup and attempted to explore the possibility of suppressing ET on different parts of the hand by exerting force on the index finger and metacarpal region. For both glove iterations, we established an experimental protocol based on the adjustment of a force controller. Finally, we evaluated exhaustively the performance of our setup under multiple motion scenarios with the participation of an ET-diagnosed volunteer. Full article
(This article belongs to the Special Issue Soft Actuators for Artificial Muscles)
Show Figures

Figure 1

18 pages, 3466 KB  
Article
Developing an Assisting Device to Reduce the Vibration on the Hands of Elders
by Hieu Phan Van and Ha Quang Thinh Ngo
Appl. Sci. 2021, 11(11), 5026; https://doi.org/10.3390/app11115026 - 29 May 2021
Cited by 11 | Viewed by 4441
Abstract
In our society, elderly people are one of the most vulnerable classes. At present, aging in the population is becoming a more and more serious issue. This might lead to several diseases related to aging such as Parkinson’s disease. From the viewpoint of [...] Read more.
In our society, elderly people are one of the most vulnerable classes. At present, aging in the population is becoming a more and more serious issue. This might lead to several diseases related to aging such as Parkinson’s disease. From the viewpoint of assistive techniques, a device for disadvantaged groups should be created to lessen some of the inconveniences in their lives. Therefore, in this paper, a wearable mechanism to suppress axial vibration is proposed for people who suffer from unexpected tremors in their daily lives. Some investigations on Parkinson’s patients were carried out to infer their characteristics. A dynamic model of the gyroscopic system was then analyzed to formulate interactive torques in the working space. The control input was quantified concerning balancing the system state from the kinetic energy and using the feedback linearization technique. The framework of the proposed device was then described via mechanical analysis and prototype design. To validate the effectiveness of our approach, the system’s mathematical dynamics were simulated in a MATLAB environment. In a frequency range of 2–6 Hz, the system response adapted well to axial tremors. Our hardware in the proposed design was tested in different test scenarios such as in non-gyro- and gyro-based tremor suppression for real-world applications. Hand tremors were measured using wearable equipment with various levels of amplitude. From these results, it is clear that our method could have an effectiveness of up to 92.6%, which is considerably better than that in the non-gyro case. Hence, this innovative mechanism is expected to be employed in the fields of medical assistance, health care services, and robotics. Full article
(This article belongs to the Section Acoustics and Vibrations)
Show Figures

Figure 1

22 pages, 2036 KB  
Review
Medical Devices for Tremor Suppression: Current Status and Future Directions
by Jiancheng Mo and Ronny Priefer
Biosensors 2021, 11(4), 99; https://doi.org/10.3390/bios11040099 - 30 Mar 2021
Cited by 50 | Viewed by 17333
Abstract
Tremors are the most prevalent movement disorder that interferes with the patient’s daily living, and physical activities, ultimately leading to a reduced quality of life. Due to the pathophysiology of tremor, developing effective pharmacotherapies, which are only suboptimal in the management of tremor, [...] Read more.
Tremors are the most prevalent movement disorder that interferes with the patient’s daily living, and physical activities, ultimately leading to a reduced quality of life. Due to the pathophysiology of tremor, developing effective pharmacotherapies, which are only suboptimal in the management of tremor, has many challenges. Thus, a range of therapies are necessary in managing this progressive, aging-associated disorder. Surgical interventions such as deep brain stimulation are able to provide durable tremor control. However, due to high costs, patient and practitioner preference, and perceived high risks, their utilization is minimized. Medical devices are placed in a unique position to bridge this gap between lifestyle interventions, pharmacotherapies, and surgical treatments to provide safe and effective tremor suppression. Herein, we review the mechanisms of action, safety and efficacy profiles, and clinical applications of different medical devices that are currently available or have been previously investigated for tremor suppression. These devices are primarily noninvasive, which can be a beneficial addition to the patient’s existing pharmacotherapy and/or lifestyle intervention. Full article
Show Figures

Figure 1

9 pages, 3163 KB  
Article
Thalamic Deep Brain Stimulation in Essential Tremor Plus Is as Effective as in Essential Tremor
by Julia K. Steffen, Hannah Jergas, Jan N. Petry-Schmelzer, Till A. Dembek, Tabea Thies, Stefanie T. Jost, Haidar S. Dafsari, Josef Kessler, Jochen Wirths, Gereon R. Fink, Veerle Visser-Vandewalle and Michael T. Barbe
Brain Sci. 2020, 10(12), 970; https://doi.org/10.3390/brainsci10120970 - 11 Dec 2020
Cited by 15 | Viewed by 3193
Abstract
The new essential tremor (ET) classification defined ET-plus (ET-p) as an ET subgroup with additional neurological signs besides action tremor. While deep brain stimulation (DBS) is effective in ET, there are no studies specifically addressing DBS effects in ET-p. 44 patients with medication-refractory [...] Read more.
The new essential tremor (ET) classification defined ET-plus (ET-p) as an ET subgroup with additional neurological signs besides action tremor. While deep brain stimulation (DBS) is effective in ET, there are no studies specifically addressing DBS effects in ET-p. 44 patients with medication-refractory ET and thalamic/subthalamic DBS implanted at our center were postoperatively classified into ET and ET-p according to preoperative documentation. Tremor suppression with DBS (stimulation ON vs. preoperative baseline and vs. stimulation OFF), measured via the Fahn–Tolosa–Marin tremor rating scale (TRS), stimulation parameters, and the location of active contacts were compared between patients classified as ET and ET-p. TRS scores at baseline were higher in ET-p. ET-p patients showed comparable tremor reduction as patients with ET, albeit higher stimulation parameters were needed in ET-p. Active electrode contacts were located more dorsally in ET-p of uncertain reason. Our data show that DBS is similarly effective in ET-p compared to ET. TRS scores were higher in ET-p preoperatively, and higher stimulation parameters were needed for tremor reduction compared to ET. The latter may be related to a more dorsal location of active electrode contacts in the ET-p group of this cohort. Prospective studies are warranted to investigate DBS in ET-p further. Full article
(This article belongs to the Special Issue Deep Brain Stimulation in Essential Tremor)
Show Figures

Figure 1

Back to TopTop