Sign in to use this feature.

Years

Between: -

Subjects

remove_circle_outline
remove_circle_outline
remove_circle_outline
remove_circle_outline
remove_circle_outline

Journals

Article Types

Countries / Regions

Search Results (41)

Search Parameters:
Keywords = composite deck slabs

Order results
Result details
Results per page
Select all
Export citation of selected articles as:
26 pages, 5613 KB  
Article
Insulation Strategies to Enhance Fire Resistance in Composite Slabs with Reduced Carbon Emissions
by Otavio G. N. Ribeiro, Paulo A. G. Piloto and Gustavo de M. S. Gidrão
J. Compos. Sci. 2025, 9(9), 497; https://doi.org/10.3390/jcs9090497 - 12 Sep 2025
Viewed by 902
Abstract
Composite slabs have gained popularity in modern high-rise construction due to their superior load-bearing capacity and reduced self-weight. The vulnerability of the unprotected steel deck under fire conditions poses serious challenges, as the rapid reduction in steel strength and stiffness can compromise structural [...] Read more.
Composite slabs have gained popularity in modern high-rise construction due to their superior load-bearing capacity and reduced self-weight. The vulnerability of the unprotected steel deck under fire conditions poses serious challenges, as the rapid reduction in steel strength and stiffness can compromise structural resistance and accelerate fire spread. This study presents a comprehensive numerical simulation to assess the fire behaviour of a novel composite slab and a new proposal for a simplified method. Three insulation techniques are investigated: a steel shield for the thinner part, a steel shield with the cavity filled with mineral wool, and a mineral wool plate applied from below. The simplified method is proposed to evaluate the fire resistance using new empirical coefficients, recalibrated within the framework of the prEN 1994-1-2 to allow for precise temperature predictions in steel components under standard fire. The numerical model, validated against experimental results, shows that the steel shield insulation extends the time to reach critical temperatures by approximately 25%. In contrast, mineral wool insulation proved to be substantially more effective by reducing temperatures in the UPPER 2 region by up to 89% compared to uninsulated slabs, after 60 min of fire exposure. This significant temperature reduction increases the load-bearing capacity during 60 min of fire exposure by 29%, also resulting in a potential reduction of approximately 22% in carbon emissions. The findings underscore and highlight the potential of these insulation systems to enhance the overall safety and resilience of composite slabs under fire, offering valuable insights for structural fire design. Full article
Show Figures

Figure 1

20 pages, 7172 KB  
Article
Flexural Behavior of Engineered Cementitious Composites (ECC) Slabs with Different Strength Grades
by Fengjiang Qin, Yang Han, Xinyan Wei, Xuejun Wang, Zhigang Zhang and Xiaoyue Zhang
Materials 2025, 18(9), 2047; https://doi.org/10.3390/ma18092047 - 30 Apr 2025
Cited by 8 | Viewed by 923
Abstract
Engineering Cementitious Composites (ECC) has gained significant attention in civil engineering due to its excellent tensile strength, crack width control capability, and remarkable ductility. This study examines the influence of the ECC strength and reinforcement on the flexural behavior of ECC slabs through [...] Read more.
Engineering Cementitious Composites (ECC) has gained significant attention in civil engineering due to its excellent tensile strength, crack width control capability, and remarkable ductility. This study examines the influence of the ECC strength and reinforcement on the flexural behavior of ECC slabs through four-point flexural tests. The results demonstrate that ECC is well suited for flexural applications. During flexural tests, the fibers within the ECC provide a bridging effect, allowing the ECC in the tensile zone to sustain a load while developing a dense network of fine microcracks at failure. This characteristic significantly enhances the crack resistance of ECC slabs. Despite the relatively low flexural capacity of unreinforced ECC slabs, they achieve 59.2% of the capacity of reinforced ECC slabs with a reinforcement ratio of 1.02%, demonstrating the potential for using unreinforced ECC in low-load-bearing applications. Further findings reveal that high-strength ECC (HSECC) not only improves the flexural capacity of unreinforced ECC slabs but also maintains excellent ductility, enabling a better balance between the load-bearing capacity and deformation ability. However, while reinforcement enhances both the flexural capacity and energy absorption, an excessively high reinforcement ratio significantly compromises ductility. Additionally, this study proposes a simplified calculation method for the flexural capacity of ECC slabs based on the axial force and moment equilibrium, providing theoretical support for their design and application. Due to their excellent flexural behavior, ECC slabs exhibit significant potential for use in flexural components such as bridge deck slabs and link slabs in simply supported beam bridges. With continued research and optimization, their application in engineering practice is expected to become more widespread, thereby improving the cracking resistance and durability of concrete structures. Full article
Show Figures

Figure 1

30 pages, 9452 KB  
Article
Influence of Girder Flaring on Load Effect in Girders of Composite Steel Bridges
by Faress Hraib and Sami W. Tabsh
Appl. Sci. 2025, 15(9), 4674; https://doi.org/10.3390/app15094674 - 23 Apr 2025
Viewed by 748
Abstract
A flared or splayed girder bridge is a structure made up of a concrete slab on girders with linearly varying spacing along the length. For such an irregular bridge, the girder distribution factors in the AASHTO LRFD Bridge Design Specifications are not applicable. [...] Read more.
A flared or splayed girder bridge is a structure made up of a concrete slab on girders with linearly varying spacing along the length. For such an irregular bridge, the girder distribution factors in the AASHTO LRFD Bridge Design Specifications are not applicable. In lieu of using a refined method of analysis, the study at hand proposes a simple approach for computing the dead and live load effect in the girders. To do so, fifteen composite steel girder bridges are analyzed by the finite element method to determine the influence of the girder flaring angle, girder spacing, number of girders, deck slab thickness, span length, girder stiffness, and presence of cross-bracing on the load distribution within the bridge. This study showed that the tributary width concept is a reliable approach for determining the dead load effect on the splayed girders, especially for the case of shored construction. The girder distribution factors for flexure in the AASHTO specifications can be reasonably utilized for such irregular bridges if the girder spacing at the location of each truck axle is considered, leading to a maximum of 14% difference on the conservative side between the AASHTO approach and the finite element analysis. On the other hand, the lever rule can provide a good estimate of the live load distribution among the splayed girders when subjected to shear, as the maximum safe deviation from the finite element outcome in this situation is less than 10%. Full article
Show Figures

Figure 1

24 pages, 5436 KB  
Article
Static Behavior of Post-Installed High-Strength Large-Bolt Shear Connector with Fabricated Hybrid Fiber-Reinforced Concrete/Ordinary Concrete Deck
by Yuliang He, Junjie Li, Wujian He, Qiangqiang Wu, Yiqiang Xiang and Ying Yang
Materials 2025, 18(5), 1091; https://doi.org/10.3390/ma18051091 - 28 Feb 2025
Viewed by 649
Abstract
Recent research indicates that high-strength bolts could be more effectively and efficiently used to connect steel girders and fabricated decks or retrofit existing composite girders than headed studs. To reduce the number of bolt shear connectors and, thus, further accelerate the construction of [...] Read more.
Recent research indicates that high-strength bolts could be more effectively and efficiently used to connect steel girders and fabricated decks or retrofit existing composite girders than headed studs. To reduce the number of bolt shear connectors and, thus, further accelerate the construction of composite girders, high-strength large bolts could be an excellent alternative, resulting in greater concrete stress below the bolt. Also, hybrid fiber-reinforced concrete (HFRC) has better tensile ductility and strength than that of ordinary concrete (OC). Therefore, this study tried to design eighteen push-out test specimens, including different configurations of bolt shear connectors, to investigate the static properties of post-installed, high-strength, large-bolt shear connectors with fabricated HFRC/OC slabs. The experimental results indicated that the capacity and initial stiffness of a high-strength large through-bolt shear connector was the smallest. The fiber might enhance the capacity and initial stiffness of bolt shear connectors. Increasing the bolt diameter can significantly enhance the initial stiffness and load-bearing capacity, while the clearance of the bolt hole had a great influence on the capacity, initial stiffness, and slippage of the post-installed high-strength large-bolt shear connector. Finally, the capacity equation and slip behavior of post-installed, high-strength, large-bolt shear connector with fabricated HFRC deck were obtained using the regression method, which could provide the reference for their design. Full article
Show Figures

Figure 1

17 pages, 8713 KB  
Article
Flexural Behavior of Concrete-Filled Steel Tube Beams Composite with Concrete Slab Deck
by Salam Maytham AlObaidi, Mohammed Abbas Mousa, Aqil M. Almusawi, Muhaned A. Shallal and Saif Alzabeebee
Infrastructures 2024, 9(10), 187; https://doi.org/10.3390/infrastructures9100187 - 17 Oct 2024
Cited by 1 | Viewed by 2397
Abstract
Concrete-filled steel tube (CFST) beams have shown their flexural effectiveness in terms of stiffness, strength, and ductility. On the other hand, composite bridge girders demand durable and ductile girders to serve as tension members, while the concrete deck slab resists the compression stresses. [...] Read more.
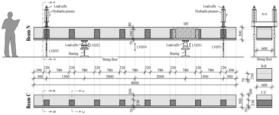
Concrete-filled steel tube (CFST) beams have shown their flexural effectiveness in terms of stiffness, strength, and ductility. On the other hand, composite bridge girders demand durable and ductile girders to serve as tension members, while the concrete deck slab resists the compression stresses. In this study, six composite CFST beams with concrete slab decks with a span of 170 cm were investigated under a four-point bending test. The main variables of the study were the compressive strength of the concrete deck, the size of CFST beams, and the composite mechanism between the CFST girder and the concrete deck. The results showed that the flexural strength and ductility of the composite system increased by 20% with increasing concrete compressive strength. The study revealed that the higher-strength concrete slab deck enabled the CFST beam to exhibit improved flexural behavior with reduced deflections and enhanced resistance to cracking. The findings also highlighted the importance of considering the interactions between the steel tube and concrete slab deck in determining the flexural behavior of the composite system revealed by strain distribution along the composite beam profile as determined using the digital image correlation DIC technique, where a 40% increase in the flexural strength was obtained when a channel section was added to the joint of the composite section. Full article
Show Figures

Figure 1

20 pages, 7356 KB  
Article
Structural Behaviour and Mechanical Characteristics of BlueDeck Profiled Steel Sheeting for Use in Composite Flooring Systems
by Harry Far, Shami Nejadi and Suleiman A. Al-Hunaity
Buildings 2024, 14(10), 3204; https://doi.org/10.3390/buildings14103204 - 9 Oct 2024
Cited by 1 | Viewed by 1422
Abstract
The BlueDeck profiled steel sheeting system offers an innovative composite flooring solution, integrating high-strength steel sheets with reinforced concrete to form a unified structure. This study aimed to evaluate the development of full composite action, the ultimate bearing capacity, and the flexural stiffness [...] Read more.
The BlueDeck profiled steel sheeting system offers an innovative composite flooring solution, integrating high-strength steel sheets with reinforced concrete to form a unified structure. This study aimed to evaluate the development of full composite action, the ultimate bearing capacity, and the flexural stiffness of the system. A comprehensive experimental programme involving 18 four-point bending tests and 6 shear tests was conducted to quantify the mechanical interaction between the steel deck and concrete slab. This study specifically examined bending capacity and vertical deflection, comparing the results with predictions from AS/NZS 2327. It was found that the system consistently achieved full composite action, with composite specimens demonstrating higher flexural stiffness and load-bearing capacity as the concrete depth increased. For example, specimens with 200 mm slab depths exhibited a 60% improvement in ultimate capacity compared to those with 150 mm slabs, while those with 175 mm depths saw a 27% increase. Additionally, the BlueDeck system showed an 81% improvement in de-bonding resistance in thicker slabs. The experimental results exceeded the bending moment and deflection limits prescribed by AS/NZS 2327, confirming that the system is structurally sound for use in buildings. This study provides quantitative evidence supporting the system’s compliance with Australian standards, highlighting its potential for improving construction efficiency through reduced material use, while maintaining structural integrity under imposed loads. Full article
(This article belongs to the Section Building Structures)
Show Figures

Figure 1

20 pages, 41489 KB  
Article
Flexural Behavior of Self-Compacting PVA-SHCC Bridge Deck Link Slabs
by Haiyang Luan, Yingfang Fan and Yin Wang
Buildings 2024, 14(8), 2469; https://doi.org/10.3390/buildings14082469 - 10 Aug 2024
Cited by 4 | Viewed by 1259
Abstract
This paper studied the flexural behavior of bridge deck link slabs made with polyvinyl alcohol–strain-hardening cementitious composites (PVA-SHCC). The tensile and flexural properties of the self-compacting PVA-SHCC with four volume fractions, i.e., 0%, 1%, 1.5%, and 2%, were evaluated first. Next, using the [...] Read more.
This paper studied the flexural behavior of bridge deck link slabs made with polyvinyl alcohol–strain-hardening cementitious composites (PVA-SHCC). The tensile and flexural properties of the self-compacting PVA-SHCC with four volume fractions, i.e., 0%, 1%, 1.5%, and 2%, were evaluated first. Next, using the similarity theory, composite models with a geometric similarity ratio of 1:5 were designed to represent the bridge deck with the link slabs. The models considered three materials for link slabs, including concrete, cement mortar, and self-compacting PVA-SHCC, and two different curing ages at 7 and 56 days. Bending tests were performed to investigate the flexural behavior of the models. Based on the fractal theory, the cracking characteristics of the models with different types of link slabs were compared, and the relationship between fractal dimensions and the flexural behavior of the models was studied. Numerical models were built to correlate with the results from the bending tests. It was illustrated that the flexural behavior of the self-compacting PVA-SHCC link slab is better than that of concrete and cement mortar link slabs, where the crack initiation and propagation can be postponed. The results can provide theoretical support and design guidance for the self-compacting PVA-SHCC bridge deck. Full article
(This article belongs to the Section Building Materials, and Repair & Renovation)
Show Figures

Figure 1

23 pages, 6235 KB  
Article
Flexural Behavior of the Composite Girder of a Prestressed Segmental UHPC Channel and a Reinforced Conventional Concrete Deck
by Yicong Chen, Jialiang Zhou, Baochun Chen, Jiazhan Su and Camillo Nuti
Buildings 2023, 13(12), 3132; https://doi.org/10.3390/buildings13123132 - 18 Dec 2023
Cited by 2 | Viewed by 1637
Abstract
The present study was conducted to clarify the flexural behaviors of the Composite Girders of a Prestressed Segmental Ultra-High-Performance Concrete (UHPC) Channel and a Reinforced Conventional Concrete Deck (PSUC-RCCD). The girders can be used as bridge superstructures with the advantages of structural efficiency, [...] Read more.
The present study was conducted to clarify the flexural behaviors of the Composite Girders of a Prestressed Segmental Ultra-High-Performance Concrete (UHPC) Channel and a Reinforced Conventional Concrete Deck (PSUC-RCCD). The girders can be used as bridge superstructures with the advantages of structural efficiency, cost-effectiveness, and easy construction. A total of five specimens were tested. Three of them were PSUC-RCCD specimens, including two semi-segmental girders (the channel beams were composed of five segments with dry-joints) and one integral girder (the channel beams were integral ones without dry-joints). The two other specimens were P-UHPC girders composed of PSUC and UHPC deck slabs; one was semi-segmental and the other was integral. The flexural behaviors of the specimens were investigated, including the load-displacement curves, crack distribution, cracking moments, and ultimate flexural capacity. The study compared the influence of the segment number and deck material on the flexural behaviors of semi-segmental girders and introduced and validated methods for calculating the cracking moment and flexural capacity of both semi-segmental and integral sections in PSUC-RCCD and P-UHPC girders. The results show that the entire loading process of all the specimens can be classified into the elastic phase, the cracks development phase, and the failure phase. Compared to the integral girders, the number of segments has little effect on the flexural behavior of the semi-segmental girders, but it has a significant effect on the cracking moments. The cracking moments of the semi-segmental girders is only 0.58~0.60 of the integral girders. Reducing the strength of the deck slab by changing the material from UHPC to CC does not significantly affect their flexural behaviors. Based on the test results, this work proposes a method for predicting the cracking moment and flexural capacity of the semi-segmental girders, the results of which fit well with the test results, and it is applicable in the structural design of such members. Full article
(This article belongs to the Special Issue Advances in Steel–Concrete Composite Structural Systems)
Show Figures

Figure 1

22 pages, 8207 KB  
Article
Study on Shear Resistance and Structural Performance of Corrugated Steel–Concrete Composite Deck
by Shijie Guo, Xuan He, Hao He, Zhijie Li, Yong Zeng, Hongmei Tan and Jianting Zhou
Appl. Sci. 2023, 13(18), 10112; https://doi.org/10.3390/app131810112 - 8 Sep 2023
Cited by 2 | Viewed by 1680
Abstract
This study looks into a new composite bridge deck structure that employs a corrugated steel plate as the base. The goal is to address the shortcomings of traditional deck-bearing capacity, stiffness, and stress performance. Specifically, this study investigates the shear performance and slip [...] Read more.
This study looks into a new composite bridge deck structure that employs a corrugated steel plate as the base. The goal is to address the shortcomings of traditional deck-bearing capacity, stiffness, and stress performance. Specifically, this study investigates the shear performance and slip characteristics of this structure. To achieve this, the study analyzes the shear behavior and slip tendencies of the composite bridge deck. The study focuses on the role of shear studs and PBL (Perfobond Leiste) perforated steel plates as essential components for shear connections. The shear performance of the composite deck is analyzed based on the structure of shear connection keys such as shear studs and PBL perforated steel plates. The advantages of composite decks in terms of stiffness, self-weight, load-bearing capacity, shear resistance, slip resistance, etc., are discussed to provide a theoretical reference for practical engineering applications. The shear resistance of shear stud shear keys is investigated through shear push-out experiments, and the shear resistance of shear studs is investigated through finite element simulations based on the ABAQUS 2020 finite element software. The results showed that the shear load capacity of the shear studs increased with the increase in the height-to-diameter ratio for different diameters of the shear studs, and the range of increases was from 2% to 23%. However, when the diameter of the shear stud exceeded 22 mm, the ultimate shear capacity of the shear stud increased with the increase in the height-to-diameter ratio, and the magnitude of the increase slowed down. For the actual design of the composite deck, it is recommended to maintain a shear stud height-to-diameter ratio within the range of 9 to 12. When using a composite deck with a PBL open-hole steel plate, the maximum longitudinal slip at the plate end and within the span is only 0.28 mm and 0.0158 mm, respectively. These values are 31% and 36% lower than those of the composite deck with a peg shear key. Additionally, the vertical peeling within the span of the PBL open-hole steel plate is merely 0.46 mm, showing a 21% reduction compared to that of the shear studs. It can be seen that the PBL perforated steel plates are more effective than the shear studs in resisting slip and peel. Full article
Show Figures

Figure 1

18 pages, 4801 KB  
Article
Intrinsic Properties of Composite Double Layer Grid Superstructures
by Shahrokh Maalek, Reza Maalek and Bahareh Maalek
Infrastructures 2023, 8(9), 129; https://doi.org/10.3390/infrastructures8090129 - 25 Aug 2023
Cited by 6 | Viewed by 2695
Abstract
This paper examined the opportunities of composite double-layer grid superstructures in short-to-medium span bridge decks. It was empirically shown here that a double-layer grid deck system in composite action with a thin layer of two−way reinforced concrete slab introduced several structural advantages over [...] Read more.
This paper examined the opportunities of composite double-layer grid superstructures in short-to-medium span bridge decks. It was empirically shown here that a double-layer grid deck system in composite action with a thin layer of two−way reinforced concrete slab introduced several structural advantages over the conventional composite plate-girder superstructure system. These advantages included improved seismic performance, increased structural rigidity, reduced deck vibration, increased failure capacity, and so on. Optimally proportioned space grid superstructures were found to be less prone to progressive collapse, increasing structural reliability and resilience, while reducing the risk of sudden failure. Through a set of dynamic time-series experiments, considerable enhancement in load transfer efficiency in the transverse direction under dynamic truck loading was gained. Furthermore, the multi-objective generative optimization of the proposed spatial grid bridge (with integral variable depth) using evolutionary optimization methods was examined. Finally, comprehensive discussions were given on: (i) mechanical properties, such as fatigue behavior, corrosion, durability, and behavior in cold environments; (ii) health monitoring aspects, such as ease of inspection, maintenance, and access for the installation of remote monitoring devices; (iii) sustainability considerations, such as reduction of embodied Carbon and energy due to reduced material waste, along with ease of demolition, deconstruction and reuse after lifecycle design; and (iv) lean management aspects, such as support for industrialized construction and mass customization. It was concluded that the proposed spatial grid system shows promise for building essential and sustainable infrastructures of the future. Full article
Show Figures

Figure 1

21 pages, 9903 KB  
Article
Experimental Study on the Flexural Behaviors of Prestressed Segmental Ultra–High–Performance Concrete Channels and Reinforced Conventional Concrete Deck Composite Girders
by Yicong Chen, Jialiang Zhou, Fangzhi Guo, Baochun Chen and Camillo Nuti
Buildings 2023, 13(7), 1841; https://doi.org/10.3390/buildings13071841 - 20 Jul 2023
Cited by 3 | Viewed by 1713
Abstract
Flexural testing on two prestressed segmental ultra–high–performance concrete channels and reinforced conventional concrete deck composite girders (PSUC–RCCD) was carried out. One was made up of four segments with dry joints, and the other was formed of one channel beam without a dry joint. [...] Read more.
Flexural testing on two prestressed segmental ultra–high–performance concrete channels and reinforced conventional concrete deck composite girders (PSUC–RCCD) was carried out. One was made up of four segments with dry joints, and the other was formed of one channel beam without a dry joint. Both of them poured a conventional concrete deck slab on site. The mechanical behaviors of the girders, including the whole loading process, the crack pattern, and the failure mode were investigated and compared. The effect of the number of segments and the steel fiber volume fraction of UHPC on the bending behavior of the PSUC–RCCD girder was explored using the finite element method. This study showed that the loading process of semi-segmental and integral girders is similar; the whole loading process of the girders can be divided into the elastic phase, crack development, and the failure phase. The only notable difference between the two girders was the stage of crack development; specifically, after cracking, the stiffness of the semi-segmental girder reduced rapidly, while the “bridging effect” of the steel fibers in the integrated girder caused a slow reduction in rigidity. The flexural cracks in the semi-segmental girder were significantly less than those in the integral girder in terms of the number of cracks, and were present only at the joints. The finite element analysis showed that the number of segments had little influence on the flexural capacity of the girders, but the girders with even numbers of segments cracked earlier than those with odd segments. Increasing the steel fiber volume fraction in UHPC (ultra–high–performance concrete) had a small effect on the cracking load of the semi-segmental girders but enhanced its ultimate flexural capacity. Based on this experiment, a calculated method for estimating the flexural capacity of semi-sectional girders was proposed. The calculated values were in good agreement with the experimental and finite element values. In the preliminary design, the flexural capacity of the semi-segmental section could be estimated by multiplying the flexural capacity of the integral section by a resistance factor of 0.95. Full article
Show Figures

Figure 1

25 pages, 64797 KB  
Article
Deck Slab Elements for the Accelerated Construction of Steel–Concrete Composite Bridges
by Franz Untermarzoner, Johann Kollegger, Michael Rath, Kerstin Gaßner and Tobias Huber
Appl. Sci. 2023, 13(13), 7825; https://doi.org/10.3390/app13137825 - 3 Jul 2023
Cited by 2 | Viewed by 9551
Abstract
Various methods have been developed to produce deck slabs for steel–concrete composite bridges. Usually, the deck slabs are cast with in situ concrete using a formwork carriage, resulting in construction progress of 15 to 25 m of deck slab per week. A new [...] Read more.
Various methods have been developed to produce deck slabs for steel–concrete composite bridges. Usually, the deck slabs are cast with in situ concrete using a formwork carriage, resulting in construction progress of 15 to 25 m of deck slab per week. A new construction method was developed at the Institute of Structural Engineering (TU Wien), which enables the swift erection of the concrete deck slab. This method employs precast deck slab elements with reinforced concrete cross-beams which span in the transverse direction. With this new construction method, producing up to two deck slab sections of 15–25 m per day becomes possible. Further, the performance of novel reinforcement detailing required for the precast deck slab elements is investigated by structural testing. The experiments consist of eight load-bearing tests on four specimens which represent sections of the element during casting and after completion. The investigated parameters in series 1 are the length and spacing of loops, used for protruding longitudinal bars enclosure. In series 2, the enclosure of the shear reinforcement and the height of the cross beams are varied. The results show that the targeted bending capacity could be reached in all tests with no signs of premature failure due to detailing reasons. Based on the experimental results, the feasibility of the new approach is shown and recommendations for detailing are given. Full article
(This article belongs to the Section Civil Engineering)
Show Figures

Figure 1

16 pages, 6907 KB  
Article
Optimization of Construction Process and Determination of Intermediate Cable Forces for Composite Beam Cable-Stayed Bridge
by Ersen Huang, Hongjun Ke and Huanhuan Hu
Appl. Sci. 2023, 13(9), 5738; https://doi.org/10.3390/app13095738 - 6 May 2023
Cited by 6 | Viewed by 2729
Abstract
This paper presents a comprehensive study of the Xiangsizhou Bridge, a double-tower double-cable steel–concrete composite girder cable-stayed bridge located in Pingnan, Guangxi, China. A finite element model of the full-bridge spatial truss system was established using a dual main beam simulation of the [...] Read more.
This paper presents a comprehensive study of the Xiangsizhou Bridge, a double-tower double-cable steel–concrete composite girder cable-stayed bridge located in Pingnan, Guangxi, China. A finite element model of the full-bridge spatial truss system was established using a dual main beam simulation of the steel–concrete composite girder. To obtain the initial reasonable bridge state, the minimum bending energy method was employed, followed by optimization of the state using the unknown load coefficient method to attain the final reasonable completion state. This paper proposes an innovative construction scheme for the erection of the main girders, which is designed to address the issue of excessive tensile stresses in the bridge deck slabs that can arise in conventional construction schemes. This scheme can save about 4 months of construction time and shorten the construction cycle of main beam erection by 60%. Furthermore, the study derived and verified a formula for the intermediate cable force during the construction process, which demonstrated its effectiveness. This study provides practical value for the design and construction of similar bridges. Full article
(This article belongs to the Special Issue Advanced Technologies for Bridge Design and Construction)
Show Figures

Figure 1

35 pages, 7347 KB  
Article
Theoretical and Numerical Investigation of Damage Sensitivity of Steel–Concrete Composite Beam Bridges
by Zhibo Guo, Jianqing Bu, Jiren Zhang, Wenlong Cao and Xiaoming Huang
Buildings 2023, 13(5), 1109; https://doi.org/10.3390/buildings13051109 - 22 Apr 2023
Cited by 7 | Viewed by 2462
Abstract
To investigate the sensitivity of the overall mechanical performance of steel–concrete composite beam bridges (SCCBBs) to different types of damage, this paper proposes a method of analyzing the sensitivity of SCCBBs to damage based on the extremely randomized trees (ET) algorithm in machine [...] Read more.
To investigate the sensitivity of the overall mechanical performance of steel–concrete composite beam bridges (SCCBBs) to different types of damage, this paper proposes a method of analyzing the sensitivity of SCCBBs to damage based on the extremely randomized trees (ET) algorithm in machine learning. A steel–concrete composite continuous beam bridge was used as the engineering basis, and the finite element method was used to analyze the changes in the static and dynamic response of the bridge caused by seven types of damage. The proposed SCCBB damage sensitivity analysis theory was used to explore the sensitivity factors of the seven types of damage. The results show that microcracks in steel beams have the most significant impact on the mechanical performance sensitivity of SCCBBs, followed by the concrete slab stiffness degradation and bridge deck breakage. The sensitivity of the damage caused by transverse diaphragms and bridge pier stiffness degradation is relatively low, while the sensitivity of stud fractures and bearing damage is minimal. The impact factors of damage sensitivity were 0.51, 0.19, 0.13, 0.08, 0.05, 0.03 and 0.01. This research can provide a reference for the damage classification of SCCBBs with multiple damage interlacing. Full article
(This article belongs to the Special Issue Steel-Concrete Composite Structures: Design and Construction)
Show Figures

Figure 1

12 pages, 4098 KB  
Article
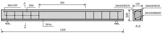
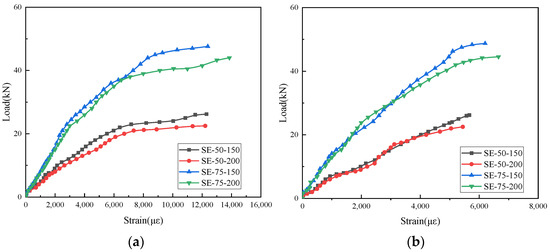
An Experimental Study on the Flexural Performance of a Steel-ECC Composite Bridge Deck Sheet in the Negative Moment Zone
by Zhuoyi Chen, Shengqi Wang, Zhenhai Zeng and Chuanxi Li
Appl. Sci. 2023, 13(6), 3777; https://doi.org/10.3390/app13063777 - 16 Mar 2023
Cited by 4 | Viewed by 2079
Abstract
This paper seeks to solve the problem of orthotropic anisotropic steel deck pavement being prone to damage and fatigue, and to study the negative moment performance of steel-ECC concrete composite deck slabs. In this work, four groups of eight specimens were designed for [...] Read more.
This paper seeks to solve the problem of orthotropic anisotropic steel deck pavement being prone to damage and fatigue, and to study the negative moment performance of steel-ECC concrete composite deck slabs. In this work, four groups of eight specimens were designed for the negative moment four-point bending test study, which included four variables of two ECC slab thicknesses and two bolt spacings. By analyzing the damage mode, crack distribution characteristics, bending load capacity, load-deflection curve, and load-strain curve, the effects of different ECC slab thicknesses and bolt spacings on the bending performance, deformation capacity, and cracking behavior of the steel-ECC composite bridge deck were investigated. The test showed that the combined structure of the ECC and steel plate showed good integrity and good ductility under a negative bending moment, and the damage mode of the member was pure bending of a section of the ECC with concrete cracking damage. When the thickness of the ECC plate increased from 50 mm to 75 mm, the ultimate flexural load capacity of the specimen increased by 92.6%, and when the distance between bolts was reduced from 200 mm to 150 mm, the ultimate flexural load capacity of the specimen increased by 13.4%. The increase in the ECC layer thickness increases the ultimate bearing capacity of the specimen significantly, and the decrease in the bolt spacing increases the ultimate bearing capacity of the specimen less. Full article
Show Figures

Figure 1

Back to TopTop