Abstract
Ethylene production via oxidative coupling of methane (OCM) represents an interesting route for natural gas upscaling, being the focus of intensive research worldwide. Here, OCM developments are analysed in terms of kinetic mechanisms and respective applications in chemical reactor models, discussing current challenges and directions for further developments. Furthermore, some thermodynamic aspects of the OCM reactions are also revised, providing achievable olefins yields in a wide range of operational reaction conditions. Finally, OCM catalysts are reviewed in terms of respective catalytic performances and thermal stability, providing an executive summary for future studies on OCM economic feasibility.
1. Introduction
The oxidative coupling of methane (OCM) represents an interesting alternative process for producing ethylene, typically manufactured in steam-crackers from naphtha [,]. Here, OCM developments are critically revised in terms of kinetic mechanisms and respective applications towards chemical reactor modelling and design, discussing current challenges and directions for further research. Furthermore, thermodynamic aspects of the OCM reactions are also discussed, providing achievable olefins yields in a wide range of reaction conditions. Finally, OCM catalysts are revised in terms of the respective catalytic performances and thermal stability, providing an executive summary for future studies on OCM economic feasibility.
This work is organised as follows: Section 2 presents a bibliometric analysis of OCM scientific publications and patents, highlighting geographic, chronological and topic distributions; Section 3 revises OCM reaction and kinetic models, critically analysing chemical reactor modelling approaches; Section 4 summarises thermodynamic aspects of the OCM reactions and presents original calculations for extents of reaction, focusing on presenting maximum ethylene yields in a wide range of temperatures, pressures and feed compositions; Section 5 discusses OCM catalysts, summarising their performances and main features; Section 6 briefly discusses sustainability aspects of the OCM reactions; and, finally, Section 7 presents the main conclusions and opportunities for future work.
2. An Overview of OCM Scientific Publications and Patents
This section summarises the geographic and chronological distribution of OCM scientific publications and patents from approximately the last forty years of development of the OCM process, in order to identify the main industrial players and assess the technological development stage of OCM as a field of investigation. An extracted sample of scientific publications and patents is also analysed in relation to their topic distribution to identify the main areas of interest and areas which have been seemingly overlooked.
An initial search for publications was conducted using the ‘all databases’ option in the “Web of Science” platform, using two sets of keywords to keep the search as general as possible. The two sets of keywords were composed of three words: (a) oxidative, methane and coupling; and four words: (b) oxidative, methane, coupling and ethylene. The initial search period was defined between 1980 and 2020.
From this initial search, 2581 and 794 results were found for keyword sets (a) and (b), respectively, at the original time of the search (April 2020), which represent the total number of publications including scientific and patent publications. A search conducted using the same method with the keyword ‘OCM’ resulted in a similar value (2727 results between 1980 and 2020). It is important to note that the total number of manuscripts and patents in the analysed database has been updated since then, based on references cited by downloaded manuscripts and patents, new articles published in scientific journals and patents deposited in patent databases.
Based on these numbers, it is possible to speculate that the OCM technology is not completely mature, when compared to the number of search results that can be found for established industrial processes. For instance, 27,678 and 15,574 search results were found when the keywords ‘hydrocarbon cracking’ and ‘methane reforming’ were used for independent searches in the same period, respectively.
Despite the less substantial total number of search results when compared to the more traditional processes of hydrocarbon conversion, OCM technology has been the focus of a growing number of studies since 2007, as illustrated in Figure 1, where the chronological distributions of search results obtained for keyword sets (a) and (b) are plotted. As one can observe in Figure 1, OCM publications exhibit a bimodal distribution, with a maximum around 1994, followed by a reduction towards the late 1990s and early 2000 and an exponential increase from 2007 to recent years, which strongly correlates with the production volume of shale gas in the U.S., as illustrated in Figure 2, where the chronological distribution obtained for keyword set (a) is compared to the U.S. shale gas production, and the trends in prices of West Texas Intermediate (WTI) crude oil and Henry Hub natural gas.

Figure 1.
Chronological distributions of search results using the keyword sets (a): oxidative, methane and coupling; and (b): oxidative, methane, coupling and ethylene.

Figure 2.
Comparison between the chronological distribution of search results using the keyword set (a) (oxidative, methane and coupling) and the prices of WTI crude oil (in USD per barrel) [] and Henry Hub natural gas (in USD per million BTU) []; and the production of U.S. shale gas (in billion ft3 per day) [].
Even though it might be expected that higher oil prices could encourage the development of cheaper alternative processes to the conventional cracking of ethane and/or heavier hydrocarbons to produce ethylene, the relationship between WTI crude oil prices and search results does not seem obvious. Instead, it is the price of natural gas that seems to more pronouncedly affect the efforts dedicated to OCM development, in combination with the increased production of shale gas, as previously mentioned.
The above relationship also makes sense when the geographical distribution of search results is considered, as shown in Figure 3, which illustrates how the U.S. appears to dominate the interest in the OCM technology, concentrating the highest number of search results obtained for keyword sets (a) and (b). Figure 3 further illustrates the rank of search results up to the ninth country position, which embraces 73 and 66% of the total number of search results for keywords in sets (a) and (b), respectively, from which the U.S., China, Germany, Japan and Russia represent the five countries that have dedicated the most effort towards the development of OCM technologies.

Figure 3.
Geographical distributions of search results using the keyword sets (a): oxidative, methane and coupling; and (b): oxidative, methane, coupling and ethylene. Plotted countries represent 73 and 66% of the total number of search results for keyword sets (a) and (b), respectively.
It is important to note that the above analysis was performed using the ‘all databases’ option from the “Web of Science” platform, meaning that analysed distributions include search results from scientific publications, conference proceedings, reviews and patents. Therefore, to further evaluate the main players interested in the OCM technologies, the chronological and geographical distributions of search results were evaluated using the output number of files from two additional searches performed using the keyword sets (a) and (b), with the search database narrowed to contain only patent-related files, using the ‘Derwent Innovations Index’ database from the “Web of Science” platform. Based on this analysis, the positive influence of the increase in natural gas production on the number of patents can be further assessed, as shown in Figure 4, which illustrates how the number of filed patents has been continuously increasing during the last decade, in concomitant agreement with the values of U.S. shale gas (Figure 2).

Figure 4.
Chronological distributions of patent search results between 1994 and 2020 obtained using the keyword sets (a): oxidative, methane and coupling; and (b): oxidative, methane, coupling and ethylene.
The total number of patents, equal to 284 and 154 for keyword sets (a) and (b), respectively, also supports the previously suggested lack of maturity of the OCM technology, when compared to the numbers of patents filed on established industrial processes in the same period, as suggested by the number of results found while using the search words ‘hydrocarbon cracking’ and ‘methane reforming’, which resulted in 8442 and 2326 documents, respectively.
Based on the obtained data, the American companies Siluria Technologies Inc. and Lummus Technology (the latter having recently taken ownership of the former) have so far been the leaders in protecting their OCM developments, presenting a total of 30 patents during the last decade, followed by the Saudi Arabian Sabic Global Technologies, the Chinese Sinopec and the related China Petroleum & Chemical Corporation, the German Linde Group, and the Dutch Shell (Figure 5). Whereas the leadership on OCM intellectual property protection from American companies can be easily associated with the country’s largest worldwide production of natural gas, oil and natural gas liquids (NGL) (which includes ethane, liquified petroleum gas, LPG, and naphtha separated from the production of natural gas) [], the driving forces behind the interest from Saudi Arabian companies cannot be directly associated with its natural gas production, which represented only 2.9% of the world share in 2018 (compared to 21.5% from the U.S., 4.2% from China and 17.3% from Russia in the same year) [], but rather seem to be influenced by the country’s second largest worldwide production of oil and natural gas liquids. This makes sense when the challenges of OCM industrial implementation are considered, as will be discussed throughout this review, since the process integration with existing plants of hydrocarbon conversion, such as ethane crackers, could provide economic benefits.

Figure 5.
Filed patent distribution per assignee between 2010 and 2020, from the search using the ‘Derwent Innovations Index’ database from the “Web of Science” platform and keyword set (b). For clarity, assignees with fewer than 5 filed patents were omitted. Numbers represent 69% of the total number of searched patents.
What Are OCM Scientific Publications and Patents about?
One of the main aims of the present review is the evaluation of the distribution of topics discussed in the published materials, in order to identify areas that have been receiving significant attention or have been seemingly overlooked by the technical communities. Thus, an extracted sample of the scientific papers (containing 120 papers published between 2016 and 2020) and patents (containing 121 deposits filed between 2010 and 2020) obtained from the search using keyword set (b) (ethylene, methane, oxidative, coupling) was evaluated in relation to the main focus of analysis.
Based on the evaluated scientific papers, seven different main subject streams have been identified: (1) modelling of the OCM process, embracing phenomenological and empirical mathematical descriptions of reactors and respective chemical kinetics [,,,,,,,,,,,,,,,], but also involving theoretical analyses of mechanistic models [,,,,,,]; (2) economic evaluation of actual OCM commercial implementations, involving the analysis of capital and operational costs [,,,,,]; (3) assessment of environmental impacts, mainly involving the analysis of CO2 emissions []; (4) development of new and/or improved catalysts for the production of ethylene from OCM reactions [,,,,,,,,,,,,,,,,,,,,,,,,,,,,,,,,,,,,,,]; (5) development of alternative processes for CH4 conversion into ethylene and/or other products, including, for instance, the non-oxidative coupling of methane [,,]; (6) investigation of downstream purification strategies [,,], concerning mainly the separation of products from the OCM reactor output stream; and finally, (7) the design, optimisation and development of OCM reactors for ethylene production, including the analysis of distinct reactor concepts (such as chemical looping [,,,], fluidized bed [] and membrane reactors [], in addition to the conventional packed-bed reactors []) [,], the analysis of different feed compositions (including different oxidants or levels of inert dilution) [,], and experimental studies performed to optimise reactor performance through the investigation of the impact of reaction operational conditions on the ethylene yields [,,,].
Among the main identified subjects, the development of new catalysts for the OCM reaction seems to constitute the focus of most scientific publications, representing the subject of almost half of the assessed papers, as illustrated in Figure 6, which presents the obtained distribution of topics for scientific publications. In contrast, the remaining subjects have received less attention, with only 20% of mentioned subjects focusing on the mathematical description of the OCM process.

Figure 6.
Distribution of topics in the extracted sample of scientific papers, containing 120 manuscripts published between 2016 and 2020.
From the extracted sample of filed patents, a different focus was identified, as illustrated in Figure 7, which presents the topic distribution among the main four identified subject streams. In this case, nearly half of the subjects were related to process flow diagrams, translating ideas of actual OCM process implementations, whereas only 27.8% of the mentioned topics described innovations in catalyst development. In addition, a significant part of the filed patents (almost 20%) proposes the use of OCM to produce other final products, rather than ethylene, such as ethylene oxide, liquid fuels, synthesis gas, poly-alpha-olefins, propylene, propanal, ethylbenzene, among others, therefore illustrating attempts to integrate OCM reactions with other processes. Finally, a smaller number of patents (2.4%) describes alternative processes for methane coupling, involving non-oxidative routes.

Figure 7.
Distribution of topics in the extracted sample of patents, containing 121 patents filed between 2010 and 2020).
Among the filed patents related to process flow diagrams focused on ethylene production, five sub-streams of subjects could be identified, as illustrated in Figure 8. These sub-streams included: (1) downstream separation, involving analyses of pressure swing adsorption units or absorption towers, in addition to the conventional cryogenic distillation for separating CH4 and olefins; (2) reactor development, involving analyses of fluidized bed reactors and special configurations for packed-bed reactors, including distinct catalyst bed configurations, specific distribution of catalytic layers, dilution of the catalytic bed with inert solids and the use of multi-stage adiabatic reactors; (3) OCM process flow diagrams, dealing with analyses of process design alternatives, including recycling and the use of distinct separation systems for purification of the OCM output reactor stream; (4) feeding systems and feed compositions, involving analyses of alternatives for mixing of reactants, spatial positioning of feed streams in the reactor vessel, investigation of different reactant feed compositions, and addition of water, CO2, CO and chlorine radical precursors in the conventional CH4 and O2 feed streams; and, finally, (5) energy recovery, focusing on process ideas for utilising the heat produced in the OCM reactor for either adjusting the reactor feed mixture temperature and/or producing steam vapour.

Figure 8.
Distribution of subjects among extracted sample of patents related to OCM flow diagrams for ethylene production.
The analysis of topic distribution among scientific publications and patents interestingly suggests the distinct perspectives of the scientific community and industrial sector, in which the former seems to be concentrating efforts on the development of improved catalysts, while the latter seems to be trying to find solutions for engineering problems related to process implementation, in terms of downstream separation and reactor design. Therefore, this analysis provides some evidence for the need for further scientific studies concerning engineering aspects of the overall process implementation.
3. OCM Reactions and Kinetic Models
The oxidative coupling of methane (OCM) involves the conversion of methane mainly into ethane in the presence of oxygen and a suitable heterogeneous catalyst at high temperatures (reaction 1, Table 1).

Table 1.
Possible global reactions involved in the OCM reaction mechanism [,].
Ethane can be dehydrogenated to ethene via catalytic heterogeneous or thermal gas-phase oxidation (reactions 2 and 3). Partial and complete methane oxidation reactions are the main competitive pathways leading to CO and CO2 (reactions 4–6). Consecutive reactions account for CO conversion to CO2 (reaction 7), and ethene oxidation to CO (reaction 8). Moreover, the water–gas shift reaction (in both directions, reactions 9 and 10) and ethene steam reforming (reaction 11) have also been reported as important pathways [].
The actual fundamental steps of the reaction mechanism described in Table 1 can be very complex, and both catalyst surface and gas-phase reactions must be taken into account to describe the overall kinetics through a model that can remain valid within a wide range of reaction conditions, enabling the more involved industrial reactor design [,,,]. It has been discussed that current kinetic models are not able to fully describe available experimental datasets, indicating that models proposed so far may be incomplete [,]. In spite of that, pioneering developments on OCM catalytic kinetic models made use of experiments performed in operational regions where gas-phase reactions could be minimised and thus neglected []. Similarly, gas-phase reaction kinetics have initially been investigated in the absence of catalysts [,].
3.1. Kinetics in the Absence of Catalyst
One of the pioneering studies regarding the OCM gas-phase reaction network in the absence of a heterogeneous catalyst was described by Zanthoff and Baerns []. These authors compiled a model involving a set of 164 elementary free-radical reactions and used kinetic constants obtained from the combustion literature. Later, dedicated experimental measurements, regression, sensitivity and parameter contribution analyses allowed for the reduction in the reaction network to 33 elementary free-radical reactions (reactions 1-33, Table 2), in accordance with a study that investigated OCM gas-phase reactions at atmospheric pressure, between 600 and 850 °C, using methane to oxygen feed ratios between 4 and 10 with different inert dilution levels, and spatial times between 0.1 and 1.9 m3·s·mol−1 [].

Table 2.
Gas-phase reaction mechanism, as proposed by Chen et al. [] for describing OCM reactions in the absence of catalysts and at atmospheric pressure.
However, the reaction network described in Table 2 was not suitable for describing experimental observations at higher pressure conditions up to nearly 1000 kPa [], leading to the development of a modified and expanded reaction network where some of the reactions from Table 2 were removed and additional steps were included. The modifications accounted for the effect of pressure and the production of propane and propene, resulting in a system of 38 elementary free-radical reactions []. For instance, reactions No 11, 16, 20, 25 and 30 from Table 2 were not present in the updated model, which presented reactions No 1–6 summarised in Table 3 instead, in addition to reactions No 7–10, which involved the formation of propane and propene.

Table 3.
Additional gas-phase reaction steps (in respect to Table 2), as proposed by Chen at al. [], for describing OCM reactions in the absence of catalysts and under pressures up to 1000 kPa.
The effect of pressure on the reaction rates involving unimolecular reactions was accounted for using Equation (1), where CM represents the weighted sum of the concentration of all molecular species and ku, k and k∞ are reaction rate constants. Thus, at low pressure conditions, the reaction order was increased by one due to the influence of CM, while this effect was less important at higher pressure conditions.
The mechanism based on the reaction steps presented in Table 2 and Table 3 is constituted by an initiation step (reaction 1, Table 2), methyl radical production reactions (reactions 2–5), methyl radical oxidation steps (reactions 6–8), methyl radical coupling to ethane (reaction 9), radical decomposition reactions that lead to CO and CO2 and involve methanal as an intermediary (reactions 10, 12–15, Table 2 and reactions 1–4, Table 3), ethane oxidation reactions that lead to ethene (reactions 17–19, 21–22, Table 2), ethene oxidation reactions that lead to acetylene (reactions 23–24, 26–29, Table 2), additional methyl radical production steps (reactions 31, Table 2), transfer reactions between oxygen and hydrogen radicals (reactions 32–33, Table 2 and reactions 5–6, Table 3) and, finally, reactions involving the formation of propane and its following dehydrogenation to propene (reactions 7–10, Table 3).
According to a contribution analysis performed with the model developed at atmospheric pressure, when the importance of a given reaction step for the consumption or production rate of a given species could be assessed, the methyl radical production originates mainly from hydrogen abstraction from methane by radicals (reaction steps No 2, 4 and 5, Table 2), whereas the initiation step involving molecular oxygen does not play an important role []. Moreover, the consumption of methyl radicals is mostly driven by reactions that result in the CO precursors CH3O● and CH2O (reaction steps No 6–8, Table 2) and return to methane (reactions No 2, 12 and 19, Table 2). This would be the main reason for unselective oxidation, as the reaction leading to ethane production (No 9, Table 2) would account for only 33% of the methyl radical consumption.
The updated kinetic model for the OCM gas-phase reaction system comprised thirteen differential equations, one for each molecule j (O2, H2O, H2O2, H2, CH4, CH2O, CO, CO2, C2H2, C2H4, C2H6, C3H8, C3H6), and assumed that the reactor behaviour could be described by a plug-flow model at steady state, Equation (2), where temperature and pressure gradients could be neglected. In Equation (2), Fj is the molar flow rate of compound j, dt is the reactor inner diameter, vij is the stoichiometric coefficient of compound j at reaction i, and ri is the reaction rate of reaction i, described according to Equation (3). In Equation (3), ki and k-i are the rate constants of the forward and backward reaction, respectively, Cj is the molar concentration of the species j and αij represents the stoichiometric factor of the reactants. Radical concentrations were defined with the help of the quasi steady-state approximation [].
The reaction network used to describe the OCM kinetics in the absence of catalyst was later modified and expanded from 38 [] to 39 [] reaction steps, although these modifications would not significantly change previous model interpretations. Modified reaction steps (reactions 7, 9 and 10 in Table 3) were re-written considering the presence of a collision partner, M, while the additional included step further accounted for the formation of ethyl radicals from ethane, Equation (4).
These pioneering studies contributed to the understanding of the effects of operational variables on achievable values of conversions and products distribution. For instance, CH4 conversions have been shown to reach up to approximately 33%, depending on the O2 feed composition (Figure 9). However, higher spatial times can lead to a reduction in ethene and ethane selectivities, while CO and CO2 productions can increase considerably, Figure 10a. The linear effect of temperature, in turn, has also been shown to be positive for increasing CH4 and O2 conversions and CO and CO2 selectivities, whereas ethene and ethane selectivities are reduced (Figure 10b).

Figure 9.
Effect of spatial time on experimental CH4 conversion for different feed compositions at atmospheric pressure and in the absence of catalyst [,]. The maximum temperature across the reactor ranged between 790 and 826 °C at the analysed conditions. Spatial time is defined as the ratio between the reactor volume and the inlet molar flow rate of CH4.

Figure 10.
Effect of spatial time on carbon selectivities at 790 °C and CH4:O2:He = 10:1:0 (a) and effect of maximum reactor temperature on C2 and COx (S) selectivities and CH4 and O2 conversions (XCH4 and XO2) at CH4:O2:He of 10:1:0 and spatial time of 1.9 m3·s·mol-1 (b), at atmospheric pressure and in the absence of catalyst [,].
Higher pressures were reported to promote CH4 and O2 conversions, as shown in Figure 11a, while its effect on selectivities of carbonaceous products was less pronounced and depended on O2 conversion, Figure 11b. These results suggest that C2 yields might be increased at higher pressures, as higher methane conversions can be achieved while keeping C2 selectivity nearly constant, at least for conditions of high oxygen conversions. A similar effect of pressure was reported by Ekstrom et al. [] and Beck et al. [], who showed the beneficial effect of pressure for C2 and C3 yields in the presence of catalyst up to 10 bar.

Figure 11.
(a): Pressure effect on O2 (∆, ▲) and CH4 (●, ○) conversions at 817 °C and inlet CH4/O2 molar ratio equal to 10 (empty symbols) and equal to 5 (filled symbols). (b): Carbon selectivities for C2H4 (●, ○), C2H6 (■, □), CO (◊, ♦), and CO2 (∆, ▲) at 1 atm and 827 °C (filled symbols and solid lines), and at 4 atm at 805 °C (empty symbols), for inlet CH4/O2 molar ratio equal to 4 []. Continuous lines are for visualisation only.
3.2. Kinetics in the Presence of Catalyst
In the presence of catalyst, and assuming that gas-phase reactions are not significant (as suggested by experiments performed in the absence of catalyst), a one-dimensional, pseudo-homogeneous plug-flow model embracing 10 reaction steps, as presented in Table 4, was able to fairly well describe experimental data obtained over a La2O3/CaO catalyst in a catalytic packed-bed reactor []. The model was built using experimental data acquired under pressure between 1 and 1.3 atm, maximum axial reactor temperature between 700 and 955 °C, inlet CH4/O2 molar ratio between 5 and 10, CH4 conversion between 1 and 32% and O2 conversion between 15–100%. The whole model contained 52 parameters which were estimated with a total of 135 experiments. According to the authors, the main drawback of this model lies in the assumption that gas-phase reactions are negligible, limiting its application to reactors with small gas-phase volumes.

Table 4.
Reaction steps considered in the kinetic model proposed by Stction steps considered in the kinetic model proposed by Stansch et al. [] to describe OCM in the presence of a La2O3/CaO catalyst.
Figure 12 shows the effect of spatial time on CH4 and O2 conversions, and main carbon containing products yields, at 700 and 830 °C, over a La2O3/CaO catalyst []. No further increase in the CH4 conversion with spatial time was observed when O2 was completely consumed. Moreover, ethane yield behaviour supported the hypothesis that ethane is a primary product, as evidenced by the observation of a smooth maximum as a function of spatial time (Figure 12b). Ethene is also suggested as an intermediate compound, as its yield is levelled off. Finally, CO and CO2 were also assumed to be primary products. CO yield goes through a maximum at higher temperatures, indicating its likely conversion to CO2, Figure 12c. The catalytic conversion of CO into CO2 was also supported by experiments performed with CO and O2 in the feed only, over a Li/MgO catalyst [].

Figure 12.
Effect of spatial time on (a) CH4 and O2 conversion at 700 (▲, ■) and 830 °C (▼, ●); (b) C2H4 and C2H6 yields at 700 (■, ●) and 830 °C (▲, ▼); and (c) CO2 and CO yields at 700 (■, ▼) and 830 °C (●, ▲). Inlet CH4:O2:N2 feed composition equal to 70:10:20 vol% [].
Based on kinetic parameter estimates, the increase in C2 selectivity with reaction temperature has been rationalised as being due to the higher activation energy for ethane formation, when compared to activation energies for CO and CO2 formations from CH4 []. However, the positive effect of temperature on C2 selectivity has also been reported as being due to the decrease in the rate of formation of carbon oxides from the decomposition of methyl peroxy radicals (such as CH3OO●) at the catalyst surface, which would be less favoured at higher temperatures [].
Furthermore, steam-reforming reactions of CH4 and C2H6 were ruled out by experiments performed using only methane and water, and ethane and water as feed over the La2O3/CaO catalyst. Even at high temperatures (tested between 800 and 880 °C) and spatial times, methane conversion was negligible, whereas ethane was converted mainly into ethene, indicating its conversion to ethene via dehydrogenation. Conversely, a feed comprising only ethene and water produced mainly CO and CO2, suggesting that ethene might be converted by steam reforming (Table 4, reaction 8) and implying the importance of water–gas shift reactions in the mechanism (Table 4, reaction 9–10). The rate of C2 formation was observed to increase linearly with the methane partial pressure, whereas it passed through a maximum as a function of the O2 partial pressure. On the other hand, increasing both CH4 and O2 partial pressures caused a positive linear effect on the rate of COx formation [].
Moreover, experiments performed with the co-feeding of CH4, O2 and CO2 showed that the increase in the CO2 partial pressure (whereas keeping CH4 and O2 partial pressures constant) in the feed was harmful to C2 formation rates over a La2O3/CaO catalyst, as shown in Figure 13a []. A similar effect from the co-feeding of CH4, O2 and CO2 was also reported over a Li/MgO catalyst []. The authors further verified that the reaction of CH4 with CO2 to CO could be promoted at OCM reaction conditions, by performing reactions using only CH4 and CO2 as feed (the importance of gas-phase methane dry reform was ruled out based on experiments performed in the absence of the catalyst). The effect of CO2 was evaluated while keeping the partial pressures of CH4 and O2 and total pressure constant, by using helium as balance gas []. Thus, the CO2 effect was not related to total pressure or methane partial pressure effects. In line with results from previous studies [,], the increase in the CO2 partial pressure resulted in lower methane conversions, as shown in Figure 13b, and lower formation rates of C2 and COx products (not shown).

Figure 13.
(a): Effect of CO2 partial pressure on C2 formation rates over a La2O3/CaO catalyst at 700 (■) and 800 °C (●) (pCH4, pO2 and pN2 equal to 51, 7.3 and 42.7 kPa, respectively) []. (b): Effect of CO2 partial pressure on CH4 conversion at 700 (■), 750 (●) and 800 °C (▲) over Li/MgO catalyst with pCH4, pO2 and ptot equal to 0.2, 0.01 and 1 atm, respectively []. Continuous lines are for visualisation only.
Therefore, it has been concluded that CO2 might be adsorbed on catalyst active sites, resulting in an inhibiting effect on C2 formation []. For instance, the competition between CO2 and O2 for the same surface active sites was proposed to explain the rate of ethane formation (Table 4, reaction 2) and the inhibiting effect of CO2 was also taken into account in oxidation reactions (Table 4, reactions 1, 3, 4, 5 and 6) []. This hypothesis is in line with previous suggestions [], as it has been verified that the C2 selectivity can remain constant with the increase in the CO2 feed partial pressure (even though reaction rates were reduced), indicating a possible common CH4 activation site for both C2 and COx species, which would be poisoned by CO2.
Following the kinetic model proposed by Stansch et al. [], an extended model in which the presence of gas-phase reactions was also considered has also been proposed []. This approach initially considered 10 catalytic reaction steps, being further expanded to 14 [] and finally to 26 [] catalytic reaction steps, which were coupled to the system of 39 gas-phase reaction steps described in Section 3.1. Table 5 illustrates the 26 catalytic reaction steps as proposed by these authors. In this table, a catalytic surface site is represented by ‘*’, while active oxygen species are represented by ‘O*’. According to this reaction network, the formation of methyl radicals is believed to occur in accordance with the Eley–Rideal mechanism, where gas-phase methane reacts with oxygen active species at the catalyst surface, reaction 2, Table 5 [,,,,].

Table 5.
Catalytic surface reaction steps as proposed by Kechagiopoulos et al. [].
This approach would also imply a unique identity for oxygen active species, which would be produced from the dissociative adsorption of O2. Indeed, the dissociative adsorption of O2 over MgO, Li-MgO and Sn-Li-MgO catalysts has been demonstrated by experiments involving isotopes of O2. According to these experiments, the switch from a gas feed containing 16O2 to a gas feed containing 18O2 over a catalytic bed at steady-state conditions at 750 °C allowed for the observation of 16O18O species by mass spectrometry, supporting the dissociative adsorption hypothesis [].
However, the participation of oxygen active species from catalyst surfaces has also been demonstrated. In this case, CH4 pulse experiments performed in the absence of O2 have proven the production of CH3● radicals and CO over Sm2O3 and CH3● radicals, CO and CO2 over MgO catalysts at 450 and 550 °C, respectively [].
Broadly, the above general reaction network has been supported by experimental studies conducted at atmospheric pressures. For instance, the degradation of C2 compounds involving catalytic surface steps is in agreement with the positive effect that short spatial times have on C2 selectivities [,]. However, the type of reactor where the above reaction network occurs can also play a very important role to explain the process outputs. For this reason, modelling approaches used to describe OCM reactors are discussed in the following sections.
3.3. Modelling Approaches for OCM Reactors
Different reactors have been considered for the OCM process, including fluidized bed (FBR) [,,], membrane (MR) [,,] and packed-bed (PBR) reactors [,,,,,,,,], with their advantages, drawbacks and catalytic performances being recently reviewed by Cruellas et al. []. As stressed by these authors, PBR and FBR represent the most common configurations used to perform OCM studies, due to their wide use in the chemical industry, easy scaling-up, easy heat management (in the case of fluidized bed reactors), and wide availability on a laboratory scale.
Indeed, the present analysis focused on the modelling and simulation of OCM reactors and found that the great majority (48% of a sample of 30 scientific publications) of available studies was dedicated to PBR, while FBR and MR were investigated in 26 and 9% of the analysed studies, respectively, with the remaining 17% being related to other reactor types, including gas–solid vortex reactors (GSVR) and spouted bed reactors (Figure 14a). The developed models were based mainly on the homogeneous (or pseudo-homogeneous) kinetic approach, considering that this approach is simpler and more suitable to describe OCM reactions than more complex heterogeneous models (Figure 14b). It was also possible to verify that the large majority of these works used the kinetic mechanism developed by Stansch et al. [] (Table 4) as a reference, due to its simplicity and applicability (Figure 14c), whereas distinct types of catalysts have been considered (Figure 14d). Regarding the energy balances, most studies assumed that reactions were performed in adiabatic or isothermal mode, which can constitute a major drawback for the interpretation of large-scale industrial reactors and somewhat hide the important heat transfer effects that take place in the catalyst bed. In the next sections, some of these models and their characteristic features are discussed.

Figure 14.
Distributions of types of reactors (a), models (b), kinetic mechanisms (c) and catalysts (d) used in modelling studies. Percentages have been calculated from a sample of 30 papers.
3.3.1. Modelling Approaches for Packed-Bed Reactors
As introduced in Section 3.3, PBR has been one of the most investigated OCM reactor types and its modelling approaches can be classified according to the phenomena in the reactor and catalyst scale. For instance, one- or two-dimensional models are usually applied when significant radial gradients of concentration and/or temperature are considered absent or present, respectively, whereas pseudo-homogeneous or heterogeneous models are often employed to describe one or more phases in the system, usually associated with the absence or presence of concentration and/or temperature gradients inside catalyst particles [,].
Pioneering studies on the modelling of OCM PBRs considered an isothermal, heterogeneous model at steady-state conditions, where mass balances described the external gas phase and the gas phase contained within the catalyst pores []. These authors showed the importance of considering mass transport limitations for the proper reactor description of reaction events even when no significant concentration gradients were present for stable compounds, such as main reactants and products. Due to the high reactivity of radical intermediates, significant concentration gradients of radical species could be expected to develop, so that the neglection of gradients might result in erroneous predictions of C2 selectivity [,]. However, temperature gradients and pressure drops were considered unimportant.
The model proposed by Couwenberg et al. [,], briefly illustrated by Equations (5) and (6), where εb, Fv, As, Di, De,i and εc represent bed porosity, volumetric flow rate, reactor cross-sectional area, molecular diffusion coefficient, effective internal diffusion coefficient and catalyst porosity, respectively, represented a great advance when compared to previous and simpler models, such as the one proposed by Stansch et al. []. For the first time, concentration gradients of molecular and radical species between the inner catalyst particle and the bulk reactor gas phase were explicitly considered in a model which simultaneously coupled the distinct reaction networks occurring at the gas phase, Ri,g, and catalytic surface, Ri,c. In this model, the gas-phase reaction network was considered to follow the mechanism involving the 39 reaction steps as described in Section 3.1, while the reaction network on the catalyst surface was described using 10 reaction steps for which kinetic parameters were either estimated with available experimental data or calculated from physico-chemical relationships [].
However, while this approach allowed for a good description of experimental observations within the range of conditions used in the regression analysis (which involved pressures between 1.1 and 1.5 atm), the predicted catalytic performance was unable to describe conversion levels at higher pressure conditions, as illustrated in Figure 15. As mentioned previously, the description of the reaction network on the catalyst surface was later extended from 10 to 14 [], and later to 26 elementary steps [], as described in Table 5.

Figure 15.
CH4 (●, purple line) and O2 (▲, green line) experimental conversion and model prediction (lines) []. Reaction conditions were 712 °C, CH4/O2 molar ratio of 4 and spatial time equal to 1 kg·s·mol−1, using a Sn/Li/MgO catalyst.
Further model improvements included the explicit consideration of the effects of temperature, pressure and gas composition on the previously mentioned molecular and effective internal diffusion coefficients, Di and De,i, as illustrated by Equations (7) and (8) [], where Di,j is the molecular diffusion coefficient of component i in j; Mi and Mj are the molecular weights of compounds i and j; Σvi represents the sum of atomic diffusion volumes for the atoms of the molecule i; xi is the molar fraction of the component i; Nmol and Nrad are the total number of molecules and radicals, respectively, and τc is the catalyst pellet tortuosity.
It is interesting to note that this modelling approach, initially built from experimental observations using Li/MgO and Sn-doped Li/MgO catalysts [], was also applied to, and able to explain experimental data from Sr/La2O3 [], La-Sr/CaO and Na-Mn-W/SiO2 catalysts [,]. However, the investigated pressure conditions were limited to values below 1.9 atm.
Additional modelling approaches have also been reported. For instance, Valadkhani et al. [] considered a transient, one-dimensional pseudo-homogeneous model with axial mixing to describe mass and energy balances for reacting species, where the reaction network involved up to 10 steps, similar to the ones proposed by Stansch et al. [], and reaction rate equations were described by power law relationships. However, while a good agreement between model simulations and experimental catalytic performances obtained over a Na-Mn-W/SiO2 catalyst was reported, pressure conditions were also limited to values below 2 atm. In another study [], a steady-state, two-dimensional pseudo-homogeneous model with axial mixing was used to describe mass and energy balances. Using reaction networks such as the one suggested by Stansch et al. [], the authors were also able to validate their model with experimental observations, although this validation was limited to atmospheric pressure conditions.
Further OCM PBR developments have explored experimentally the feasibility of operation under autothermal conditions, by using the feed as coolant []. However, to understand reactor performance behaviour under this operational mode, an analysis of the multiple steady states of the OCM reaction network is necessary. Unfortunately, due to the complexity of the reactor fluid dynamic and kinetics, there is no unequivocal theoretical study available in the literature showing these complex nonlinear behaviours for real OCM reactors, even though efforts have been dedicated to explain involved phenomena using ideal reactor models, such as plug flow reactors (PFR), continuously stirred tank reactors (CSTR) and lumped thermal reactors (LTR) [,,,,].
For instance, as an attempt to demonstrate the existence of multiple steady states, bifurcation analyses considering CSTR, LTR and PFR reactor configurations have been reported by Vandewalle et al. []. The authors showed that only CSTR and LTR reactors present regions with multiple steady states and hysteresis, although the LTR reactor presented the best performance (higher CH4 conversion with lower feed temperature). Although this study indicated the potential feasibility of autothermal operation, it must be noted that the considered reactor models present significant simplifications, as they neglect the occurrence of mass and energy radial gradients, and that validation of simulated autothermal conditions and resulting catalytic performance has yet to be confirmed experimentally. Therefore, further studies on this area are greatly needed, as previously pointed out by Sarsani et al. [].
3.3.2. Modelling Approaches for Fluidized Bed Reactors
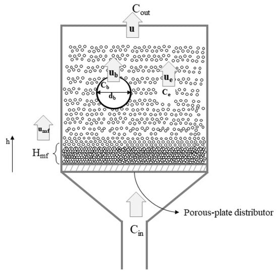
Fluidized bed reactors (FBRs) have been proposed as an alternative OCM reactor concept in order to facilitate the management of produced heat and avoid thermal runaway [,,]. Additionally, according to Pannek and Mleczko [], comparable or higher CH4 conversions and C2 selectivities could be achieved in a FBR when compared with the more usual PBR configuration, although these results could be strongly influenced by operational conditions.
To describe this reactor, as illustrated in Figure 16, one must observe that the gaseous stream flows through the bed in the emulsion in the form of bubbles. Pannek and Mleczko [] considered a model which was based on the two-phase theory of fluidization and in accordance with the bubble assemblage model (BAM) [], assuming a constant emulsion porosity.

Figure 16.
Illustration of a fluidized bed reactor [].
The minimum fluidization velocity (umf), the bed height at minimum fluidized velocity (Hmf), the bubble diameter (db), bubble growth and bubble velocity were calculated with empirical correlations. The fluidized bed was discretised into several domains along the distance above the gas distributor, represented by h in Figure 16. In each of these domains the bubble and emulsion phases were modelled as perfectly mixed reactors. For the reaction network, both gas-phase [] and catalytic surface reaction steps [] were considered. Main model equations are briefly illustrated by Equations (9) and (10) [], where F and f are the volumetric fraction of gas in the bubble and emulsion phases, respectively; Ci is the reactant concentration in phase i; Di is the axial dispersion coefficient in phase i; u is the superficial gas velocity; F0 is the gas interchange coefficient per unit of volume of gas bubble; Fs is the volumetric fraction of solid in the bubble phase; γ is the throughflow factor, which represents the flows through the emulsion phase; ue is the superficial gas velocity in the emulsion phase; and the subscripts “b” and “e” represent the bubble and emulsion phases, respectively.
Pannek and Mleczko [] showed through simulations that C2 selectivities were affected by mass transfer limitations between the phases and that, as expected, C2 selectivities and yields can be a function of temperature and gas velocity.
In another study, computational fluid dynamics (CFD) simulation tools were used to study the reactor performance and reactions pathways []. In this case, the authors coupled the CFD description of fluid–solid flow with the ten steps of the catalytic reaction network, as proposed by Stansch et al. []. Their simulations were carried out using the Euler–Euler (EE) model approach based on the kinetic theory of granular flow. In the EE approach, both gas and solid phases are interpenetrating fluids []. For each gas and solid phase, the model comprises momentum conservation equations, which are linked by interphase momentum transfer, energy conservation equations, including a radiative heat transfer between the reactor wall and the feed, and mass conservation equations for each compound. The authors showed that their results of C2 selectivity and methane conversion agreed well with available experimental data, and that mass transfer limitations between phases can significantly affect the reaction pathways.
3.3.3. Modelling Approaches for Membrane Reactors
Membrane reactor configurations, which can allow for the separation of CH4 and O2 feed streams, have attracted significant attention, as the limited contact between O2 and CH4 and achievable low oxygen concentrations can limit methane conversion, increasing selectivity to ethane and ethylene [,,,,,]. In this case, the reactor design comprises two concentric tubes that are separated by a membrane, as presented in Figure 17. The most common type of membranes used in OCM processes include porous and dense membranes. These two groups are subject to different gas permeation mechanisms, following the Knudsen diffusion and the mixed electron/ion conduction in porous and dense membranes, respectively []. In some cases, a catalyst is coated on the membrane wall and reaction occurs at the membrane surface, as illustrated in Figure 18.

Figure 17.
Membrane reactor configuration [].

Figure 18.
Catalytic membrane reactor configuration [].
Holst et al. [] proposed a two-dimensional, pseudo-homogeneous model to describe the OCM packed-bed membrane reactor (PBMR), which used a generic ceramic membrane and a catalyst bed of La2O3/CaO. The model comprised steady-state mass, energy, and momentum balances, as illustrated by Equations (11)–(13), where boundary conditions accounted for the flux through the membrane for the reactor tube and shell (not shown) and the ten elementary steps of the reaction network developed by Stansch et al. [] were used to represent the net reaction rates. In Equations (11)–(13), Ci is the concentration of reactant i; uz is the superficial velocity in the z axis (Figure 18); Dr is the effective diffusion coefficient in the r axis; Ri,j is the reaction rate for component i in reaction j; T is the temperature; cp is the heat capacity; λr is the heat transfer coefficient in the radial direction; ΔHRj is the reaction enthalpy of reaction j; P is the pressure; ρg and εk are the gas density and bed porosity, respectively; Re is the Reynolds number; and dk is the catalyst pellet size.
Good agreement between the experimental data and simulations was observed (for CH4/O2 feed molar ratio of 2, at 1.1 bar and inlet temperature of 750 °C) and the authors concluded that fast OCM reactions can cause concentration gradients due to oxygen depletion in the vicinity of the membrane [].
Onoja et al. [] proposed a different approach, where the optimisation of the axial thickness of the membrane was carried out to maximise the C2 selectivity. A two-dimensional, steady-state model coupled with the kinetic mechanism proposed originally by Stansch et al. [] was employed to describe mass and energy balances in the tube phase, in accordance with Equations (14) and (15).
Additionally, no reactions were assumed to take place in the membrane itself, which was based on its inherent contribution to mass and energy balances through the permeation flux, Ji, Equations (16) and (17), where Ci is the concentration of reactant i; uz-tube and uz-shell are the superficial velocity in the tube and shell, respectively; Der is the effective bulk diffusivity of gas mixture; Ri,j is the reaction rate for component i in reaction j; T is the temperature; cp is the heat capacity; λer is the effective radial thermal conductivity; ΔHRj is the reaction enthalpy of reaction j; dt is the tube diameter; and Ua is the overall heat transfer coefficient through the membrane.
In a first analysis, the authors compared the performance of a conventional packed-bed reactor (PBR) with the performance of a membrane reactor (MR) without varying the membrane thickness. Simulations performed at 1 bar and 800 °C indicated that larger catalytic bed lengths could be required in an MR to achieve similar methane conversion when compared with a PBR. However, a yield of 11.63% and C2 selectivity of 47.86% were achieved in the MR in opposition to 8.28% and 29.86%, respectively, obtained with the PBR. By using the variable thickness membrane reactor (VTMR) configuration, C2 selectivities and yields of nearly 60% and 14% could be achieved, respectively. Interestingly, these authors have also shown how the VTMR could allow for the minimisation of hot spot formation, as the increase in membrane thickness along the axial direction could contribute to managing O2 permeation flux and its consumption rate, resulting in a smoother axial temperature profile when compared to MR and PBR configurations, as illustrated in Figure 19 []. However, although these results seem very promising, simulations have yet to be validated by experimental observations.

Figure 19.
Simulated temperature profiles for PBR, MR and VTMR in adiabatic operation (adapted from []).
Furthermore, although membrane reactors seem quite attractive for OCM due to their higher C2 selectivity and the reduction in inlet air separation costs, some drawbacks should be noted, such as the costs associated with the use of membranes, difficulties in reaction heat management, the appropriate sealing of membrane packs and the membrane long-term stability. In addition, membrane catalytic activity can itself become a limiting factor for OCM yields [].
3.4. Thermal Effects
As discussed in the previous sections, OCM reaction networks and associated kinetic constants estimated for packed-bed reactors have been mostly obtained assuming the occurrence of negligible temperature gradients in the catalytic bed. However, it has been shown experimentally that this assumption is hardly achieved due to the formation of hot spots [,,]. Typically, a fast increase in temperature is observed as CH4 and O2 enter the reactor, due to fast rates of exothermic oxidation reactions, as illustrated in Figure 20. As O2 is consumed along the reactor length, temperature tends to stabilise [,]. The difference between the nominal reactor temperature and the maximum axial catalytic bed temperature in PBRs has also been shown to depend on both the inlet gas flow composition and gas flow velocity [,], as shown in Figure 20.

Figure 20.
PBR axial temperature profile as a function of catalytic bed reactor (1.0 mL) length measured over a Mn/Na2WO4/SiO2 catalyst at CH4/O2 feed molar ratio of 5 (□), 7 (●), and 10 (■) []. Open circles (○) represent profiles obtained when only O2 was fed into the reactor.
To minimise the effects associated with hot spots in packed-bed reactors, efforts have been dedicated to evaluate strategies for heat management, including the dilution of the feed stream with inert gases [] and water steam [], and the dilution of the catalytic bed with inert solids []. However, the effectiveness of these strategies and their economic implications at actual high-pressure industrial operation conditions must still be evaluated.
4. Thermodynamic Considerations
This section presents a detailed analysis about the behaviour of OCM mixtures at equilibrium conditions. Although previous reports have discussed thermodynamic aspects of the OCM reaction system [], there has been no extensive evaluation of equilibrium compositions in a wide range of reaction conditions, taking into account the impact of pressure, CH4/O2 feed molar ratio, temperature, the presence of inert gases, and the co-feeding of ethane, CO2 and H2O on the resultant thermodynamic ethene yield. For instance, Geerts et al., (1990) [] reported the equilibrium thermodynamics of methane pyrolysis and its oxidation, presenting equilibrium compositions for the OCM reaction as cumulative molar fractions for different temperatures at a single fixed condition of CH4/O2 feed molar ratio and pressure.
More recently, Gibbs energies for four global oxidative reactions at 800 °C and 1 atm have been reported [], highlighting their negative magnitudes and therefore their thermodynamic feasibility. Equilibrium carbon-based selectivity distributions for different CH4/O2 feed ratios at 800 °C and 1 atm in the presence [] and the absence [] of solid graphite formation have also been considered, indicating the formation of coke as predominant at high CH4/O2 feed ratios (above 4), while CO was the most favoured carbon-containing gaseous product. Similarly, equilibrium molar-based selectivity distributions for a large range of temperatures, at 1 bar and CH4/O2 feed molar ratio equal to 9 [] and 4 [], have also been discussed, illustrating the high thermodynamic compositions of H2 and CO obtained at typical OCM temperatures between 700 and 1000 °C.
Thermodynamic constraints also impose the maximum conversion that can be achieved at a certain condition of temperature, pressure and initial reactants composition []. Thus, it is possible to estimate the maximum yield of a desired product that can be obtained at the ideal selectivity reached under the kinetic regime. In this aspect, efforts have been dedicated to estimate an upper bound for the C2 yield [,], given the importance of this information for analysing the economic feasibility of the industrial OCM process implementation.
Surprisingly, and to the best of our knowledge, no upper bound based exclusively on thermodynamic constraints has been discussed in a wide range of reaction conditions. Thus, this section aims to expand the current understanding on the equilibrium behaviour of the OCM system by assessing the impact of pressure, CH4/O2 feed molar ratio, temperature, the presence of inert content, and the co-feeding of ethane and CO2 on the resulting thermodynamic ethene yield. As thermodynamic effects may also affect kinetic regimes to some extent, through, for instance, equilibrium constants within reaction rate equations, we hope to shed more light into the understanding of this complex reaction system.
Thermodynamic calculations were performed with help of the Gibbs energy minimisation method, using the ‘GPREC—Gas-phase reaction equilibrium calculator’ [] and the ‘ThermoSolver’ software version 1.0 []. Unless otherwise stated, yields and selectivities have been defined in carbon bases (see Section S1 in the Supplementary Materials) and equilibrium compositions have been investigated assuming the presence of eight compounds, which included CH4, O2, CO, CO2, H2, H2O, C2H6, and C2H4. As will be shown later, the formation of additional compounds, such as propene, propane and acetylene, can be neglected at the equilibrium due to their low thermodynamic yields. In addition, this study also neglected the formation of coke to calculate the maximum achievable thermodynamic yield. Table S1 in the Supplementary Materials summarises standard Gibbs energies in increasing order at 900 °C and standard reaction enthalpies for possible global OCM reactions, which will be further discussed in the following sections.
4.1. The Effect of Temperature and CH4/O2 Feed Ratio on Equilibrium Compositions
The effect of temperature and CH4/O2 feed molar ratio at 1 bar is illustrated in Figure 21a–f, where the ethene yield (a), CH4 conversion (b), and carbon-based selectivity for C2H4 (c), CO (d) and CO2 (e) are plotted as functions of temperature between 700 and 950 °C for CH4/O2 feed molar ratios ranging between 1.5 and 9. In the present study, the CH4/O2 feed molar ratio was varied while keeping the total number of mols of reactants constant.

Figure 21.
Effect of the CH4/O2 feed ratio and temperature at 1 bar on the ethene yield (a), CH4 conversion (b), carbon-based selectivity for C2H4 (c), CO (d), and CO2 (e), and molar-based selectivity distribution at the CH4/O2 feed molar ratio of 9 (f). Feed composition contained CH4 and O2 only and was varied while keeping the total number of added mols constant.
As one can see in Figure 21a, the thermodynamic temperature window for ethene production lies above 700 °C, with ethene yields increasing with the continuous increase in temperature and CH4/O2 feed molar ratio. Similar behaviour is verified for the combined ethene and ethane yields, presented in Figure S1 of the Supplementary Materials. In contrast, CH4 conversion presents only a slight increase with the increase in temperature for the same CH4/O2 feed molar ratio, Figure 21b, while a more pronounced reduction in conversion is observed with the continuous increase in the CH4/O2 feed molar ratio. Thus, higher ethene yields observed with the continuous increase in temperature for a fixed CH4/O2 feed molar ratio should result from a change in the product’s selectivity distribution, as illustrated in Figure 21c–e. Indeed, as temperature is increased, exothermic oxidation reactions that lead to CO and CO2 formation are unfavoured, while the endothermic dehydrogenation of ethane can be promoted (Table S1). It is also interesting to note the complex behaviour of CO selectivity, which presents a point of maximum as a function of temperature that also depends on the CH4/O2 feed molar ratio, Figure 21d. For higher feed oxygen contents (CH4/O2 feed molar ratios smaller than 3), CO selectivity increases with temperature, whereas at lower oxygen contents, the selectivity is reduced. In this case, the less exothermic character of oxidation reactions that lead to CO, when compared to the ones that lead to CO2, plays a role: as CO2 formation is more largely unfavoured with the temperature increase, the CO selectivity can increase.
Figure 21f also illustrates the molar-based selectivity distribution at the CH4/O2 feed molar ratio equal to 9 at 1 bar as a function of temperature. As previously pointed out [,], thermodynamic equilibrium does not favour ethene production in the OCM reaction network, as CO and H2 are the most favoured gaseous products, stressing the need for the process to operate under a kinetic regime.
4.2. The Effect of Inert Dilution and Pressure
The effect of feed composition dilution and pressure at 900 °C is illustrated in Figure 22a–c, where CH4 conversion (a), ethene yield (b) and carbon-based selectivity distribution (c) are presented as functions of the inert composition. In the present study, the CH4/O2 feed molar ratio was kept constant and equal to 9, while also keeping constant the total number of mols in the feed. Thus, the increase in the inert content could also be translated as the reduction in the partial pressures of CH4 and O2.

Figure 22.
Effect of the inert composition and pressure at the CH4/O2 feed ratio equal to 9 and 900 °C on the methane conversion (a); ethene yield (b); and carbon-based selectivity distribution at 1 bar (c). Feed composition comprised CH4, O2 and N2 only and inert composition was varied while keeping the total number of added mols and the CH4/O2 feed ratio constant.
Higher inert contents promote CH4 conversion, Figure 22a, resulting in larger ethene yields, Figure 22b, while also increasing ethene carbon-based selectivity, Figure 22c. The increase in conversion with more diluted feed compositions can be more easily understood when the stoichiometry of OCM reactions is considered, as illustrated in Table S1. In this case, the higher number of mols among most reactions products favours the forward reaction at higher inert contents, as the probability of molecular collisions among the smaller number of reactant mols is higher when compared to the number of collisions required for the backward reaction []. This very same molecular explanation can be used to explain the reduction in CH4 conversion at higher total pressure conditions (Figure 22a) as the backward reaction direction is promoted in this case.
In line with the above discussion, the change in the distribution of carbon-based products selectivity with the inert content can be related to the favouring of ethane dehydrogenation at more diluted conditions. A similar behaviour of the products selectivity distribution can be verified at 5 bar (not shown) when the inert content is changed, exhibiting, however, a less pronounced change in CO and ethene selectivity, which changed from 96.8 and 2.3% in the absence of N2 to 79 and 21% in the presence of 95% of the inert in the feed, respectively.
It is interesting to note that the effect of an inert composition agrees with kinetic observations in respect to ethene selectivities (Figure 11), as lower CH4 and O2 partial pressures promote ethene selectivity. However, the thermodynamic effect of total pressure on CH4 conversion is contrary to the effect observed under a catalytic kinetic regime. In this case, higher total pressures lead to increased methane conversions (respecting thermodynamic limits), likely due to increased rates of gas-phase reaction rates.
4.3. The Combined Effect of Temperature, CH4/O2 Feed Ratio and Inert Composition
The effect of operation variables including temperature, CH4/O2 feed molar ratio and inert composition on equilibrium compositions was combined in Figure 23, where ethene yields are plotted as a function of methane conversion. In this figure, each line connected by geometric symbols represents a condition of equal temperature and inert composition, while values of ethene yield and methane conversion are changed as a result of different CH4/O2 feed molar ratios, represented by the diagonal straight lines.

Figure 23.
Thermodynamic ethene yield as a function of CH4 conversion at 1 bar and different conditions of temperature, CH4/O2 feed molar ratio and inert concentration. Feed composition was varied while keeping the total number of mols of reactants constant.
For the same temperature and inert composition, higher thermodynamic ethene yields are achieved as the O2 content is decreased, despite the resulting lower methane conversions. As the O2 is reduced, oxidation reactions involving O2 can be suppressed, leading to an increase in the ethene selectivity, as previously illustrated in Figure 21c. Figure 23 illustrates that the maximum achievable thermodynamic ethene yield at each condition of temperature and inert composition is closely related to the point at which methane conversion can be performed solely by pyrolysis, assuming no coke formation, as previously reported [], as in this case the undesirable formation of CO and CO2 can be avoided.
While Figure 23 illustrates how the thermodynamic ethene yield is limited by CH4 conversion as the O2 content is reduced, one should also note that even in an ideal scenario where OCM reactions can be performed and simultaneously suppress coke, CO and CO2 formation, the thermodynamic ethene yield would still be limited by CH4 conversion, as illustrated in Figure 24.

Figure 24.
Thermodynamic CH4 conversion and ethene yield as a function of temperature at the CH4/O2 feed molar ratio equal to 9, and pressures of 1 and 10 bar. Equilibrium composition was calculated assuming the presence of the following six compounds: CH4, O2, H2, H2O, C2H6 and C2H4.
Figure 24 illustrates methane conversions and ethene yields as functions of temperature at 1 and 10 bar, calculated by assuming a reactant feed composition comprising only CH4 and O2 at the CH4/O2 feed molar ratio equal to 9, and assuming the presence of six compounds, which included CH4, O2, H2, H2O, C2H6 and C2H4. As the formation of CO and CO2 was assumed to be null, the difference between CH4 conversion and ethene yield represents the yield towards ethane (not shown). As one can see, even in this case methane conversions are far from 100%.
4.4. Effect of Co-Feeding Ethane and CO2
Several works have investigated the kinetic aspects of separately co-feeding ethane and CO2 along with CH4 and O2 mixtures in the OCM reactor, either in the presence or absence of heterogeneous catalysts [,]. This section evaluates the thermodynamic benefits and drawbacks associated with these approaches.
4.4.1. Co-Feeding of Ethane
It has been shown that the addition of C2H6 into the CH4 and O2 feed mixtures can lead to an increase in ethene yields both in the presence and absence of catalyst, with the increase being more pronounced when ethane dehydrogenation is performed without any catalyst [,]. However, while ethene yield is increased, CH4 conversion is reduced and can even cease in the presence of catalyst, while it can slightly increase in its absence, depending on the ethane composition [,]. Thus, the present study also evaluated the thermodynamics effect of co-feeding ethane into the OCM reactor in a wide range of operational conditions.
As illustrated in Figure 25a,b, which presents ethene yield as a function of temperature at a CH4/O2 feed molar ratio equal to 9 and pressure of 1 (a) and 10 (b) bar for different ethane feed compositions ranging between 0 and 30 mol%, the co-feeding of ethane increases thermodynamic ethene yields in significant amounts.

Figure 25.
Effect of co-feeding C2H6 on: (a,b) carbon-based C2H4 yield as a function of temperature at the CH4/O2 feed molar ratio equal to 9 and pressure of 1 (a) and 10 (b) bar; (c) CH4 conversion as a function of temperature at the CH4/O2 molar feed ratio equal to 9 and pressure of 1 bar; and (d) equilibrium molar distribution as a function of C2H6 feed composition at 900 °C, 1 bar and CH4/O2 molar feed ratio equal to 9. C2H6 composition in the feed was varied while keeping the total number of mols and the CH4/O2 feed molar ratio constant. C2H4 yield was calculated considering both CH4 and C2H6 in the feed (see Equation (A5) in the Supplementary Materials).
While CH4 and C2H6 as reactants can compete for O2, leading to a reduction in the CH4 conversion, as illustrated in Figure 25c, both ethane oxidation and pyrolysis can produce CH4 [], resulting in the net increase in the CH4 composition with the ethane feed composition, as illustrated in Figure 25d (right axis), and, thus, in artificially negative methane conversion values, purposely omitted in Figure 25c. Figure 25d also illustrates the equilibrium molar distribution among remaining compounds as a function of ethane feed composition at 900 °C, 1 bar and CH4/O2 molar feed ratio equal to 9, where both CO and H2 compositions are reduced at higher ethane feed composition conditions. While the reduction in CO composition can be associated with the preferential ethane oxidation, which can reduce O2 availability for oxidising CH4, the reduction in H2 composition can be either associated with its consumption in reactions involving the formation of CH4 or its lower production through ethane dehydrogenation.
4.4.2. Co-Feeding of CO2
Research has long aimed to evaluate the potential feasibility of recycling OCM produced CO2 into the catalytic OCM reactor. As discussed in the previous section, the co-feeding of CO2 with CH4 and O2 mixtures over catalytic OCM reactors has been demonstrated to result in significantly lower methane conversions and ethene yields, a fact usually associated with the competitive adsorption of CO2 and O2 on catalyst active sites [,,,]. However, it has also been suggested that the co-feeding of CO2 can play a role in improving catalyst stability [] and even present a positive impact on ethene yield, either through its interaction with the catalyst surface [] or by enabling changes in CH4 and O2 diffusivities when used as a diluent, which could create local environments of higher CH4/O2 molar ratios within the catalyst bed []. Indeed, in an excellent review covering the advances in catalyst development for the CO2-OCM process [], the authors summarise how different reducibility features from catalytic systems, such as CeO2/ZnO and SrMnO2.5 oxides, could result in improved performances in C2 formation. In this mechanism, CO2 would decompose at the catalyst surface, forming CO and an oxygen active site, and this step would involve CO2 oxidising a reduced metal, such as Zn+1 or Mn2+.
Despite previous works on the thermodynamic aspects of methane dry reforming [], involving reactant mixtures of CH4 and CO2, which indicated the preferential thermodynamic production of CO and H2 over ethene and ethane, to the best of our knowledge, the effect of CO2 co-feeding with CH4 and O2 mixtures on thermodynamic ethene yields in a wide range of OCM operational conditions has not been reported. Thus, one objective of the present study was the investigation of the thermodynamic effects of CO2 co-feeding.
Figure 26a shows thermodynamic ethene yields as a function of temperature at 1 bar for different feed mixtures of CO2, CH4 and O2, where the CO2 composition was varied between 0 and 30 mol% while the CH4/O2 molar ratio was kept constant and equal to 9. As one can see, the use of CO2 as a diluent results in lower thermodynamic ethene yields, driven by a shift in the products selectivity distribution, as illustrated in the molar composition distribution at 900 °C in Figure 26c, towards the increased formation of CO and H2, which also can boost thermodynamic CH4 conversions, as illustrated in Figure 26b. Thus, while CO2 recycling can be favourable for the production of synthesis gas (as previously stated []), any observed positive effects of CO2 co-feeding on ethene yields should not result from thermodynamic effects.

Figure 26.
Effect of co-feeding CO2 on carbon-based ethene yield (a) and CH4 conversion (b) as a function of temperature at the CH4/O2 molar feed ratio equal to 9 and pressure of 1 bar; and (c) equilibrium molar distribution as a function of CO2 feed composition at 900 °C, 1 bar and CH4/O2 molar feed ratio equal to 9. CO2 composition in the feed was varied while keeping the total number of mols and the CH4/O2 feed molar ratio constant. Ethene yield was calculated considering both methane and CO2 in the feed.
4.5. The Importance of Considering Additional Products on Equilibrium Compositions
The effect of the operation variables temperature, pressure, inert composition, CH4/O2 feed ratio and co-feeding on equilibrium compositions has so far been analysed assuming the existence of eight compounds: CH4, O2, CO, CO2, H2, H2O, C2H6, and C2H4. In this section, this group is expanded in order to assess the impact of the formation of additional compounds, including propene, propane and acetylene, on equilibrium compositions, as these compounds have been reported as constituents in stream flows, exemplifying the outlet of OCM reactors designed to produce up to 1000 kt per year of polymer-grade ethylene [].
As illustrated in Figure 27, no significant changes in CH4 conversions and C2H4 selectivities could be verified after the inclusion of propane, propene, and acetylene in the thermodynamic calculations, as these compounds are not favoured at equilibrium. Therefore, previously observed operational variable effects can be considered the same when these compounds are present in the reacting system as co-products.

Figure 27.
CH4 conversion and C2H4 selectivity (in C%) as a function of temperature at 9 bar and CH4/O2 feed molar ratio of 9. Reactant composition comprised CH4 and O2 only. Equilibrium compositions were calculated assuming the initial group of eight compounds (including CH4, O2, CO, CO2, H2, H2O, C2H6, and C2H4) and an expanded group containing eleven compounds in which propane, propene and acetylene were added.
5. Active OCM Catalysts
According to the generally accepted kinetic mechanism, the main role of a catalyst in ethene formation is to assist the generation of methyl radicals, CH3●, by either homolytic or heterolytic C-H bond cleavage in the CH4 molecule [], as illustrated in Figure 28.

Figure 28.
Simplified illustration of CH4 activation via homolytic and heterolytic routes involving different active sites on a metal oxide catalyst surface.
The activation of methane via homolytic scission is believed to involve O− active species, which act as Lewis acid [,]. These active species can be created by either the doping of metal oxides with dopants capable of promoting the creation of lattice oxygen vacancies, which may enable the formation of O− species in the vicinities of O2− lattice oxygen, and/or by the adsorption of molecular oxygen on Lewis base centres on the catalyst surface, which can lead to the formation of electrophilic O− species depending on the amount of charge exchanged [,]. Unfortunately, the adsorption of molecular O2 can also lead to the formation of weakly bounded nucleophilic O2− species, believed to be involved in the conversion of CH4, C2H6 and C2H4 to oxygenated compounds [,]. On the other hand, CH4 activation via a heterolytic route would involve a Lewis acid–base pair centre on the catalyst surface, such as M2+−O2−, resulting in the formation of a hydroxyl group and a methyl anion, which would then desorb as a methyl radical after losing an electron. Moreover, the catalyst surface would also be involved in radicals quenching by promoting termination reactions which reduce the concentration of radicals, leading to unselective pathways [].
While the mechanism and nature of active sites is still in debate, as illustrated by the fact that several catalyst properties, such as surface oxide reducibility [], acid–base properties [,], metal oxide–support interactions and morphology, may play an important role in C2 formation, as recently reviewed []. This section aims to quantitatively review and compare the catalytic performances of OCM heterogeneous catalysts. By focusing on quantitative aspects of catalytic performance, we hope to provide an overview that can contribute to future analyses of OCM economic viability at an industrial scale. Catalysts in this section have been organised in terms of the number of metals that constitute the oxide. Thus, it will be shown in the next sections that there are many different metal combinations which are OCM active.
5.1. Monometallic Oxides
Many single metal oxides have demonstrated OCM activity, including MgO, CaO, BaO, SrO, Al2O3, Fe2O3, Sm2O3, La2O3, Nd2O3, ZrO2, Nd2O3, Nb2O5 and Gd2O3. Their efficiency in activating CH4 and O2 has been correlated with their surface acid–base and/or redox properties [,].
In order to better understand the relationship between single oxides basicity and their OCM activity, La2O3, Nd2O3, ZrO2, and Nb2O5 were evaluated individually by Kús et al. []. These authors found La2O3 and Nd2O3 oxides to be more active and C2 selective when compared to ZrO2 and Nb2O5. The results were well correlated with the total basicity of the evaluated catalysts, which was measured by CO2 temperature-programmed desorption (CO2-TPD) experiments and by reactions of 2-butanol conversion. Interestingly, La2O3 presented the highest total basicity, CH4 conversion and C2 selectivity. More recently, a comparison among single lanthanoid oxides further confirmed the findings of Kús et al. [,].
C2 selectivity over monometallic oxides can be observed to fluctuate around 32.3 ± 1.5%, as illustrated in Figure 29a, while C2 yield and CH4 conversion vary and reach up to approximately 14 and 40%, respectively. In this figure, 54 experimental data points for C2 yields as a function of CH4 conversion, collected over monometallic oxide catalysts, including MgO, CaO, BaO, SrO, Al2O3, Fe2O3, Sm2O3, La2O3, Nd2O3, ZrO2, Nd2O3, Nb2O5 and Gd2O3, at different OCM reaction conditions [,,,,,,,], indicate that despite differences in catalyst chemical composition, an average selectivity could be calculated. Obviously, while a linear increase in yield with conversion was expected, a similar average slope among catalysts with different catalytic properties could indicate that effects other than kinetics could be limiting catalytic performance.

Figure 29.
C2 yields as a function of CH4 conversion over monometallic oxides (a) and C2 yields for different catalysts after reaction times (time on stream (TOS)) longer than 16 h (b). Data sourced from [,,,,,,,]. Dashed circle indicates data from La2O3 nanowires [].
Moreover, Figure 29b summarises C2 yields obtained after reaction times longer than 16 h, suggesting that the assessment of thermal stability among different monometallic oxides deserves further attention. For instance, Arndt et al. [] demonstrated how different catalyst preparation methodologies could significantly impact the thermal stability of obtained oxides, which despite presenting similar selectivities to C2, could be more active for longer.
5.2. Bimetallic Oxides
Alkali-metal-doped basic oxides have shown promising catalytic performance for C2 selectivities in the OCM process. However, the evaporation of alkali metals at high temperature is reported as a cause of catalyst deactivation []. For instance, Li-doped MgO (Li/MgO) oxide has been a classic catalyst used in OCM reaction studies [,,], this system receiving great attention due to its high initial selectivity and activity towards C2 compounds []. However, its stability has been proved to be limited due to Li volatility [,].
In an attempt to improve the thermal stability of Li-doped MgO catalysts, different catalyst preparation procedures have been investigated, using different lithium loadings []. However, regardless of the synthesis preparation method, catalyst activity has been observed to significantly reduce with reaction times, resulting in recommendations against the use of Li/MgO systems for industrial applications.
The doping of CaO with alkali metals has also been reported to improve the catalytic performance towards C2 compounds when compared with the single oxides (including Li-CaO, Na-CaO, K-CaO, Rb-CaO, Cs-CaO) []. These authors further investigated the effect of the doping metal composition on the catalytic performance, by testing two alkali metal to Ca ratios, as illustrated in Figure 30a. However, unlike the findings from Kús et al. [], no clear relationship between catalyst surface basicity and catalytic performance could be quantified, as illustrated in Figure 30b, where the linear correlation coefficient between surface basicity, in mol∙m2, and CH4 conversion, C2 selectivity and C2 yield are plotted as a function of reaction conditions. As can be seen, the obtained correlations are all below 0.4, suggesting a weak or non-existent relationship.

Figure 30.
(a) C2 yield for different bimetallic catalysts obtained at 700 °C and CH4/O2 of 4.0. In the figures, r denotes the alkali metal to Ca ratio. (b) Linear correlation coefficient between surface basicity, in mol∙m2, and CH4 conversion (■), C2 selectivity (●) and C2 yield (▲) as a function of reaction conditions ((i): 700 °C, CH4/O2 of 4.0; (ii): 750 °C, CH4/O2 of 4.0; (iii): 750 °C, CH4/O2 of 8.0. Data sourced from [].
A similar lack of clear relationship between catalyst properties, such as surface basicity and specific area and catalytic performance, was reported for La-doped CaO catalysts prepared from different sources of starting materials [], leading the authors to conclude that surface acidity could also be important in the OCM mechanism, even though surface acidity was not characterised.
In contrast, a clear relationship between CH4 conversion, C2 selectivity and surface basicity was reported for catalysts based on Sr-Al mixed oxides []. In this study, the authors demonstrated how tailoring the Sr/Al atomic ratio could allow for improving C2 selectivities and yields, as illustrated in Figure 31, as Sr atoms substituted on the amorphous fraction of the Al2O3 oxide could contribute to the formation of both oxygen vacancies and oxygen electrophilic species through O2 adsorption on Lewis base centres, supporting therefore that CH4 activation could occur via a homolytic route (Figure 28). However, an increase in the ratio between AlIV/AlVI species with Sr composition was also observed, and thus a contribution from acid–base pairs through a heterolytic route could not be ruled out. The Sr/Al-1.25 catalyst would, in addition, be able to keep its catalytic performance without significant signs of deactivation for 48 h at 810 °C [].

Figure 31.
Sr/Al atomic ratio effect on catalytic performance. Reactions were performed at 810 °C, CH4/O2 equal to 5, and total flow of 130 mL∙min-1 [].
The concentration of basic sites was also demonstrated to correlate with C2 yields over Sm2O3/MgO, TbOx/MgO, CeO2/MgO and PrOy/MgO systems [], according to measurements of CO2-TPD. In this case, the volume of CO2 desorbed at around 360 °C followed the order of Sm2O3/MgO > TbOx/MgO > PrOy/MgO > MgO > CeO2/MgO, which was similar to the order of obtained C2 yields between 500 and 800 °C.
Catalytic systems based on Sr-doped La2O3 [,,] have also been reported as promising, with more recent findings supporting their high concentration of basic sites [,]. However, catalytic stability seems to be limited to reaction times up to 30 h, with longer stability up to 60 h being demonstrated upon the doping of Sr/La2O3 with zirconium [].
Besides the distinct chemical properties obtained from different combinations of metal oxides, morphological properties have also been demonstrated to exert an important role in the OCM process, as demonstrated by the advent of nanocatalysts showing catalytic advantages when compared to their bulk powder counterparts [,]. For instance, nanocatalysts have been demonstrated to be active at lower reaction temperatures [,], a fact which has been associated with their larger surface area and well-defined surface structure []. Improved thermal stability has also been suggested as a potential advantage due to higher levels of surface organisational stoichiometry, which could minimise the likelihood of deactivation due to particles sintering and metal agglomeration [,]. In this context, the development of nanocatalysts with particular morphologies, such as nanofibers and nanowires, has been receiving great attention, in particular due to the large surface-to-volume ratios achievable with these systems, enabling higher fractions of atoms to be located at the surface, and thus increasing the availability of active sites. However, as pointed by Yunarti et al. [], typical high OCM temperatures may negatively impact the above-mentioned morphological features, minimising their catalytic advantages.
Experimental data obtained over bimetallic oxides are organised in Figure 32, where C2 yields are plotted as a function of the CH4 conversion. This figure includes experimental data obtained over catalysts based on promoted or supported alkaline earth metal oxides, including K/MgO [], Li/MgO [,,,], Ba/MgO [], Na/MgO, Rb/MgO, Cs/MgO [], Li/CaO, Na/CaO, K/CaO, Rb/CaO, Cs/CaO [], La2O3/CaO [], Sm2O3/MgO, TbOx/MgO, CeO2/MgO and PrOy/MgO [] (Figure 32a); lanthanoids metal oxides, such as LaAlO3, LaGaO3, LaInO3 [], Sr/La2O3 [,,], La2O3-CeO [,] (Figure 32b); and transition or post-transition metal oxides, including SrTiO3, Sr2TiO4 [], Mn/TiO2, Mo/TiO2, Cr/TiO2, Co/TiO2 [] and SrO-Al2O3 [,] mixed oxides (Figure 32c).

Figure 32.
Experimental C2 yields as a function of CH4 conversion for bimetallic oxides: (a) promoted or supported alkaline earth metal oxides, (b) involving lanthanoids metal oxides, and (c) transition or post-transition metal oxides. Data sources are indicated in the text.
It can be observed that CH4 conversions are typically lower than 30% and that the maximum experimental C2 yields fluctuate around 15–20%. When overall C2 yields are evaluated as a function of the methane conversion, a similar mean C2 selectivity approximately equal to 53% can be calculated, indicating that bimetallic oxides could present an overall similar catalytic performance, with C2 yield being a function of CH4 conversion. In addition, with only a few exceptions, we have verified experimental CH4 conversions to be far from equilibrium, as illustrated in Figure S2a–c in the Supplementary Materials, suggesting that similar C2 selectivities could not be explained by global thermodynamic equilibrium.
As discussed in Section 4 and illustrated in Figure 24, the maximum achievable thermodynamic yield corresponds to conditions in which CO and CO2 formation can be suppressed, in which case the thermodynamic C2 yield approaches CH4 conversion. Therefore, if observed experimental CH4 conversions would be assumed as approaching the maximum C2 thermodynamic yield, it would be possible to verify that experimental yields could be further increased in most cases if the formation of CO and CO2 could be avoided, as illustrated in Figure 33. Additionally, the above could also suggest that ethane and ethene formation could indeed be affected by a thermodynamic factor, since experimental C2 yields are not so far from this hypothetical maximum achievable in the absence of CO and CO2. Thus, ethane and ethene formation reactions could be at the vicinity of a ‘pseudo-equilibrium’ state, in which the formation of CO and CO2 would represent the lowest limiting surface steps.

Figure 33.
Comparison between experimental C2 yield and hypothetical maximum C2 achievable yield (in the absence of CO and CO2 and at the same level of experimental methane conversion) for bimetallic oxides: (a) promoted or supported alkaline earth metal oxides, (b) involving lanthanoids metal oxides, and (c) transition or post-transition metal oxides.
5.3. Trimetallic Oxides
A wide variety of trimetallic oxide catalysts have also been investigated for ethene production from OCM, including Ba-substituted LaInO3 perovskites [], alkali or alkaline metal (Li, Na, Ca or Mg)-doped lanthanoid oxides (Sm2O3, TbOx, CeO2, and PrOy) supported on MgO [], substituted titanates SrTiO3 and Sr2TiO4, promoted with Mg, Ca, Ba, Pb and Al [], structured rings and monoliths based on bismuth-yttrium-samarium oxide [] and Mg-Na-doped La2O3 nanowires [].
Figure 34 summarises the ranges of CH4 conversion and C2 yields reported over these catalytic systems, in which it can be noted that most of the conversions and yields are concentrated in the range below 30 and 20%, respectively, and that an average C2 selectivity of 54 ± 1.2% can describe reasonably well overall catalytic performances, in agreement with the average C2 selectivity calculated for bimetallic systems, Section 5.2.

Figure 34.
Experimental C2 yields as a function of methane conversion for trimetallic oxides. Data sources are indicated in the text.
CH4 conversions higher than 30% at C2 yield levels of 20–25% have been reported over structured rings and monoliths based on bismuth-yttrium-samarium oxide []. According to these authors, the superior activity of the monolith-like structured catalytic reactor would relate to its organised flow pattern, which can contribute to more efficient interaction between reactants and the catalyst surface, as also concluded by others []. More recently, La2Ce1.5Ca0.5O7 oxides have also been reported to reach similar catalytic performances, with demonstrated thermal stability for up to 100 h [].
Ba-substituted LaInO3 catalytic activity has been rationalized to result from the production of active oxygen species upon Ba addition []. For alkali or alkaline metal (Li, Na, Ca or Mg)-doped lanthanoid oxides (Sm2O3, TbOx, CeO2, and PrOy) supported on nanoparticles MgO catalysts [], Li-TbOx/MgO and Na-TbOx/MgO systems have demonstrated the most promising performances, albeit presenting poor thermal stability in a 30 h-long reaction test at 700 °C, with a CH4/O2 feed molar ratio equal to 4 and reactant stream diluted in nitrogen. Interestingly, the catalytic activity observed at 700 °C for the Li, Na, Ca or Mg-doped TbOx/n-MgO systems could be well explained by its correlation with the distribution of basic sites per unit of surface area, as illustrated in Figure S3 in the Supplementary Materials. For substituted titanates SrTiO3 and Sr2TiO4, promoted with Mg, Ca, Ba, Pb and Al [], a positive effect of these metal additions on the initial SrTiO3 and Sr2TiO4 materials has also been observed. In particular, Mg addition demonstrated the best improvement in C2 yield, which could also be associated with the resultant increase in the concentration of basic sites, as suggested by CO2 adsorption experiments followed by infrared spectroscopic analysis.
Finally, it is also interesting to compare the catalytic activity reported over Mg-Na-doped La2O3 nanowire oxides [], prepared using a biological template, reported as the key factor for the final oxide morphology, and a slow multi-step calcination procedure. In this case, Mg and Na addition resulted in only minor improvement in C2 selectivity at the cost of slightly lower CH4 conversions, affording similar C2 yields between the Mg-Na-doped (11–15%) and monometallic La2O3 (13–15%) nanowire oxides.
5.4. Multimetallic Oxides
In the search for more efficient catalysts, multi-component systems have also been explored. By using computer-aided design with an artificial neural network, Huang et al. (2001, 2003) [,] reported an optimal chemical composition for a catalytic system constituted by Na, Mn, Zr, S, W and P supported on SiO2. According to these authors’ results, the optimised catalysts would be able to achieve selectivities towards C2 compounds as high as 70% even at CH4 conversion levels of 35%, at nearly 800 °C and using a reactant stream of CH4 and O2 with no diluent. However, their thermal stability for long reaction times was not reported.
Another example involves Na-Co-doped LiMnMgB and undoped LiMnMgB oxide systems [], for which high selectivities (64–68%) at relatively high CH4 conversion levels (24–29%) have also been reported. In this case, the main advantage in doping the LiMnMgB system seems to have been the resultant higher activity at lower temperatures, affording a C2 yield increase from 1 to 12% between the undoped and doped system at 750 °C [].
However, to the best of our knowledge, multimetallic catalyst systems comprising Me-W-Mn-O/SiO2, in which Me stands for Na or Ce, and TiO2-doped Na-W-Mn-O/SiO2, represent some of the few catalytic systems for which thermal stability has been shown to endure for up to 500 and 1000 h [,,,]. Not surprisingly, these catalysts have been extensively investigated in an attempt to understand the reasons for their outstanding stability and identify active sites [,]. However, as noted previously 181, the identity of active sites associated with these systems remains under debate [,], with more recent findings suggesting sodium oxide species as active sites which would remain stable due to ‘synergistic’ effects between Na2WO4 and Mn7SiO12 phases [].
In addition, several studies have explored the impact of different preparation procedures [,,,,], alternative supports to SiO2 [,,,], dopants [] and the substitution of Na [,,,,,] or Mn [] by different elements in the above-mentioned system. Incipient wetness impregnation was suggested to produce a more active catalyst when compared to sol-gel synthesis for athe same chemical composition in a study involving Na-W-Mn-O/SiO2 []. In contrast, sol-gel synthesis was indicated as the most suitable method for obtaining higher ethylene yields when compared to impregnation or physical mixing in a study involving Li-W-Mn-O/SiO2 []. According to these authors [], the high degree of homogenisation enabled by the sol-gel method would be responsible for the formation of a highly crystalline structure, which would be important to obtain higher C2 yields, even though similar catalytic performances were observed for catalysts prepared by physical mixing, which presented poor crystallinity. More recently, the preparation of core–shell structures has been claimed to result in more C2-selective Na-W-Mn-O/SiO2 catalysts due to a greater dispersion of active components, even though reported selectivities could not be regarded as statistically different from bulk Na-W-Mn-O/SiO2 catalysts [].
The evaluation of alternative supports to SiO2 has in general confirmed SiO2 as the most promising support for this catalytic system [,,,], as further illustrated in Figure 35, which was compiled from data reported by [,,,,,,,], where reports in a molar base [,,] were excluded. In addition, it was demonstrated that the use of ordered mesoporous silica, as opposed to commercial silica gel, could improve catalytic performance by enabling better dispersion of active sites on the catalyst surface, as suggested by energy-dispersive X-ray spectroscopy (EDX) mapping measurements, even after the collapse of the mesoporous structure upon thermal treatment around 750 °C [,].

Figure 35.
Experimental C2 yield as a function of CH4 conversion reported over Na-W-Mn-O/support catalysts at different OCM reaction conditions [,,,,,,,]. The continuous black line denotes the slope where selectivity is 55%.
The doping of the Na-W-Mn-O/SiO2 catalyst with Pt, Ir and Rh has also been reported to improve catalyst reducibility, as suggested by H2 temperature-programmed reduction experiments (H2-TPR), resulting in a shift in the product selectivity distribution in which smaller amounts of CO and CO2 compounds were observed at 750 °C []. More recently, high-throughput screening has also been applied to assess the effect of substituting Na or Mn by different elements in the above-mentioned system in a wide range of reaction operational conditions [], further supporting previous indications that the best catalytic performance is associated with the Na-W-Mn-O/SiO2 system [].
Finally, it is interesting to note that most promising catalytic performances, as illustrated in Figure 35, could still be described by an average C2 selectivity approximately equal to 55 ± 20%, with slightly higher selectivities being observed at lower CH4 conversions.
6. Environmental Concerns: Can OCM Be Sustainable?
OCM has been described as one of the most promising routes to convert methane into more valuable hydrocarbons [,,]. However, economic feasibility analyses have shown that greater C2 yields are needed to enable profit []. For this reason, many efforts focused on optimising C2 yields have been made, as also shown in previous sections. In contrast, little attention has been focused on addressing the huge amounts of CO and CO2 produced. As a matter of fact, OCM implementation should only be encouraged if produced CO and CO2 can be realistically recycled in the process or managed by alternative solutions.
Prospects for CO2 utilisation can be broadly divided into two main process categories. The first involves the direct consumption of CO2, for example, its use in the production of food, beverages, and chemicals. The second class of processes involves its conversion into other compounds. However, although such applications exist, their viable scales are still small and, therefore, they have a small impact on current global CO2 emissions [,,]. Additional pathways and their associated challenges are discussed in [].
Therefore, integrating OCM with an ethane cracker could represent an alternative for reutilising the CO and CO2 produced, although not necessarily representing a complete solution. In this case, OCM-generated CO and CO2 could be coupled with H2 from ethane cracking in a methanation reactor for producing methane. In addition, this approach can present the advantage of energy savings, as the heat produced in the methanation reactor could be used as supply in endothermic ethane dehydrogenation []. However, questions arise on the impact of the impurities present in OCM output streams on the stability and performance of methanation catalysts. Clearly, more studies must be carried out in this area to prove the technical and economic feasibility of these integrations.
7. Conclusions and Outlook
The present review on the oxidative coupling of methane for ethylene production has highlighted important challenges to be addressed if OCM technology is to be implemented at an industrial scale. Firstly, the proposed bibliometric analysis of OCM scientific publications and patents indicated that the focuses of academic and industrial research have been distinct, with the former concentrating efforts towards catalyst development and the latter being concerned with broader aspects of process flow diagrams. Therefore, further scientific studies to support the industrial focus on optimising OCM flow diagrams seem to be needed.
Secondly, the proposed analysis of OCM reactions and kinetics, involving chemical reactor modelling approaches, suggests that further studies are greatly needed to enable the prediction (and thus optimisation) of catalytic performances at reaction conditions of industrial interest (involving high pressures), despite the significant advances in the understanding of kinetic mechanisms and the modelling of catalytic activity. Additionally, how experimental studies have indicated the existence of different active sites on OCM catalyst surfaces was discussed, including, for instance, different oxygen active species. Despite this, the kinetic models developed so far have considered a unique entity to represent existing active catalyst sites. Moreover, the fact that both simpler (involving 10 catalytic reaction steps) and more complex (involving 26 catalytic reaction steps) kinetic models can well represent catalytic performances at atmospheric conditions suggests that kinetic descriptions can be improved and that further studies are urgently needed for discriminating among OCM kinetic models and, thus, determining the most suitable one for reactor and process design.
The analysis of chemical reactor modelling approaches also suggests the lack of consensus on the importance of describing mass and energy balances in the reactor and catalyst scale, as the vast majority of scientific papers concerning modelling studies (58% of a sample of 30 papers) reports a preference for the use of homogeneous or pseudo-homogeneous models, despite undeniable previous research on the importance of considering concentration gradients of radical intermediate species inside catalyst particles. Thus, further studies are needed for developing heterogenous and two-dimensional models that can embrace mass and energy transport among the distinct reactor phases simultaneously. These models could then be applied for assessing the feasibility of autothermal operation, which could represent a great technological breakthrough for OCM operation.
Furthermore, the proposed review on some thermodynamic aspects of the OCM reactions stressed how maximum ethylene yields are limited by CH4 thermodynamic conversions, although favoured by high inert feed compositions and high temperatures (above 850 °C). As thermodynamics favour H2 and CO formation at typical OCM conditions, it appears that economic feasibility should be pursued while integrating OCM with alternative processes.
Finally, the analysis of OCM active catalysts and their performances suggests that a common average selectivity of approximately 55% can be observed among promising catalytic materials, despite operating far from global thermodynamic equilibrium, indicating that OCM catalytic performance may be affected (and limited) by thermodynamic factors, further supporting the need for additional studies on OCM kinetic models, as already mentioned. However, the review also stresses the need for further assessments on catalyst stability at reaction conditions of industrial interest, as thermal stability has been largely overlooked, despite its fundamental importance for OCM industrial feasibility.
Supplementary Materials
The following are available online at https://www.mdpi.com/article/10.3390/pr9122196/s1, Section S1: Yields and Selectivities definitions, Table S1: Standard Gibbs energies in increasing order at 900 °C and standard reaction enthalpies for global OCM reactions, Figure S1: Effect of the CH4/O2 feed ratio and temperature at 1 bar on the combined ethene and ethane (C2) yield, Figure S2: Comparison between experimental and equilibrium CH4 conversions for bimetallic oxides, Figure S3: Relationship between C2 yield and basicity distribution per unit of surface area.
Author Contributions
Conceptualisation, S.D.R.; Methodology, S.D.R.; Formal Analysis, S.D.R.; Investigation, S.D.R.; Visualisation, S.D.R.; Writing—original draft preparation, S.D.R. and T.B.F.; Writing—review and editing, S.D.R., J.C.P., M.S., T.B.F. and N.J.C.d.J.; funding acquisition: J.C.P. All authors have read and agreed to the published version of the manuscript.
Funding
The authors thank CNPq (Conselho Nacional de Desenvolvimento Científico e Tecnológico, Brazil), CAPES (Coordenação de Aperfeiçoamento de Pessoal de Nível Superior), FAPERJ (Fundação Carlos Chagas Filho de Apoio à Pesquisa do Estado do Rio de Janeiro, Brazil) and BRASKEM S.A. for financial support and scholarships. The APC has been waived.
Data Availability Statement
All collected data are presented in this work.
Conflicts of Interest
The authors declare no conflict of interest.
References
- Da Ros, S.; Jones, M.D.; Mattia, D.; Pinto, J.C.; Schwaab, M.; Noronha, F.B.; Kondrat, S.A.; Clarke, T.C.; Taylor, S.H. Ethanol to 1,3-Butadiene Conversion by Using ZrZn-Containing MgO/SiO2 Systems Prepared by Co-Precipitation and Effect of Catalyst Ccidity Modification. ChemCatChem 2016, 8, 2376–2386. [Google Scholar] [CrossRef]
- Da Ros, S.; Jones, M.D.; Mattia, D.; Schwaab, M.; Noronha, F.B.; Pinto, J.C. Modelling the Effects of Reaction Temperature and Flow Rate on the Conversion of Ethanol to 1,3-Butadiene. Appl. Catal. A Gen. 2017, 530, 37–47. [Google Scholar] [CrossRef]
- EIA. Petroleum & Other Liquids, WTI Spot Price. Available online: www.eia.gov/dnav/pet/hist/rwtcA.htm (accessed on 4 August 2021).
- EIA. Henry Hub Natural Gas Spot Price (Dollars per Million Btu). Available online: www.eia.gov/dnav/ng/hist/rngwhhda.htm (accessed on 4 August 2021).
- EIA. Natural Gas: Dry Shale Gas Production Estimates by Play. Available online: https://www.eia.gov/naturalgas/data.php#production (accessed on 4 August 2021).
- BP British Petrolium. BP Statistical Review of World Energy 2019 Report. Available online: https://www.bp.com/content/dam/bp/business-sites/en/global/corporate/pdfs/energy-economics/statistical-review/bp-stats-review-2019-full-report.pdf (accessed on 4 August 2021).
- Ohyama, J.; Nishimura, S.; Takahashi, K. Data Driven Determination of Reaction Conditions in Oxidative Coupling of Methane via Machine Learning. ChemCatChem 2019, 11, 4307–4313. [Google Scholar] [CrossRef]
- Miyazato, I.; Nishimura, S.; Takahashi, L.; Ohyama, J.; Takahashi, K. Data-Driven Identification of the Reaction Network in Oxidative Coupling of the Methane Reaction via Experimental Data. J. Phys. Chem. Lett. 2020, 11, 787–795. [Google Scholar] [CrossRef]
- Ghareghashi, A.; Sarrafi, A.; Ghader, S. The Effect of Heat Transfer on Products of a Thermally Coupled Shell and Tube Reactor Consisting of Two Processes: Steam Reforming of Methane and Oxidative Coupling of Methane. Chem. Eng. Process. Process Intensif. 2018, 133, 263–277. [Google Scholar] [CrossRef]
- Li, D.; Baslyman, W.S.; Sarathy, S.M.; Takanabe, K. Impact of OH Radical Generator Involvement in the Gas-Phase Radical Reaction Network on the Oxidative Coupling of Methane—A Simulation Study. Energy Technol. 2019, 8, 1900563. [Google Scholar] [CrossRef]
- Yancy-Caballero, D.M.; Biegler, L.T.; Guirardello, R. Large-Scale DAE-Constrained Optimization Applied to a Modified Spouted Bed Reactor for Ethylene Production from Methane. Comput. Chem. Eng. 2018, 113, 162–183. [Google Scholar] [CrossRef]
- Mohammadi, Y.; Penlidis, A. “Optimulation” in Chemical Reaction Engineering: Oxidative Coupling of Methane as a Case Study. Ind. Eng. Chem. Res. 2018, 57, 8664–8678. [Google Scholar] [CrossRef]
- Wiyaratn, W.; Manundawee, S.; Arpornwichanop, A.; Assabumrungrat, S.; Watanapa, A.; Worawimut, C. Two-Dimensional Mathematical Modeling of the Oxidative Coupling of Methane in a Membrane Reactor. Eng. J. 2016, 20, 17–33. [Google Scholar] [CrossRef]
- Manundawee, S.; Arpornwichanop, A.; Assabumrungrat, S.; Wiyaratn, W. Two-Dimensional Modeling of the Oxidative Coupling of Methane in a Fixed Bed Reactor: A Comparison among Different Catalysts. Eng. J. 2017, 21, 77–99. [Google Scholar] [CrossRef][Green Version]
- Lomonosov, V.; Gordienko, Y.; Ponomareva, E.; Sinev, M. Kinetic Conjugation Effects in Oxidation of C1-C2 Hydrocarbons: Experiment and Modeling. Chem. Eng. J. 2019, 370, 1210–1217. [Google Scholar] [CrossRef]
- Alexiadis, V.I.; Serres, T.; Marin, G.B.; Mirodatos, C.; Thybaut, J.W.; Schuurman, Y. Analysis of Volume-to-surface Ratio Effects on Methane Oxidative Coupling Using Microkinetic Modeling. AIChE J. 2018, 64, 2603–2611. [Google Scholar] [CrossRef]
- Alexiadis, V.I.; Chaar, M.; van Veen, A.; Muhler, M.; Thybaut, J.W.; Marin, G.B. Quantitative Screening of an Extended Oxidative Coupling of Methane Catalyst Library. Appl. Catal. B Environ. 2016, 199, 252–259. [Google Scholar] [CrossRef]
- Obradović, A.; Thybaut, J.W.; Marin, G.B. Oxidative Coupling of Methane: Opportunities for Microkinetic Model-Assisted Process Implementations. Chem. Eng. Technol. 2016, 39, 1996–2010. [Google Scholar] [CrossRef]
- Karakaya, C.; Zhu, H.; Loebick, C.; Weissman, J.G.; Kee, R.J. A Detailed Reaction Mechanism for Oxidative Coupling of Methane over Mn/Na2WO4/SiO2 Catalyst for Non-Isothermal Conditions. Catal. Today 2018, 312, 10–22. [Google Scholar] [CrossRef]
- Pirro, L.; Obradović, A.; Vandegehuchte, B.D.; Marin, G.B.; Thybaut, J.W. Model-Based Catalyst Selection for the Oxidative Coupling of Methane in an Adiabatic Fixed-Bed Reactor. Ind. Eng. Chem. Res. 2018, 57, 16295–16307. [Google Scholar] [CrossRef]
- Sun, Z.; Kota, A.; Sarsani, S.; West, D.H.; Balakotaiah, V. Bifurcation Analysis of Methane Oxidative Coupling without Catalyst. Chem. Eng. J. 2018, 343, 770–788. [Google Scholar] [CrossRef]
- Liu, Z.; Ho Li, J.P.; Vovk, E.; Zhu, Y.; Li, S.; Wang, S.; Van Bavel, A.P.; Yang, Y. Online Kinetics Study of Oxidative Coupling of Methane over La2O3 for Methane Activation: What Is behind the Distinguished Light-off Temperatures? ACS Catal. 2018, 8, 11761–11772. [Google Scholar] [CrossRef]
- Chaudhari, V.; Dutta, K.; Li, C.J.; Kopyscinski, J. Mechanistic Insights of Methane Conversion to Ethylene over Gallium Oxide and Gallium Nitride Using Density Functional Theory. Mol. Catal. 2020, 482, 110606. [Google Scholar] [CrossRef]
- Pirro, L.; Mendes, P.S.F.; Paret, S.; Vandegehuchte, B.D.; Marin, G.B.; Thybaut, J.W. Descriptor-Property Relationships in Heterogeneous Catalysis: Exploiting Synergies between Statistics and Fundamental Kinetic Modelling. Catal. Sci. Technol. 2019, 9, 3109–3125. [Google Scholar] [CrossRef]
- Luo, L.; You, R.; Liu, Y.; Yang, J.; Zhu, Y.; Wen, W.; Pan, Y.; Qi, F.; Huang, W. Gas-Phase Reaction Network of Li/MgO-Catalyzed Oxidative Coupling of Methane and Oxidative Dehydrogenation of Ethane. ACS Catal. 2019, 9, 2514–2520. [Google Scholar] [CrossRef]
- Parishan, S.; Nowicka, E.; Fleischer, V.; Schulz, C.; Colmenares, M.G.; Rosowski, F.; Schomäcker, R. Investigation into Consecutive Reactions of Ethane and Ethene Under the OCM Reaction Conditions over MnxOy–Na2WO4/SiO2 Catalyst. Catal. Lett. 2018, 148, 1659–1675. [Google Scholar] [CrossRef]
- Noon, D.; Zohour, B.; Bae, A.; Seubsai, A.; Senkan, S. Effects of Ir-Doping on the Transition from Oxidative Coupling to Partial Oxidation of Methane in La2O3-CeO2 Nanofiber Catalysts: Spatial Concentration and Temperature Profiles. RSC Adv. 2017, 7, 26783–26789. [Google Scholar] [CrossRef]
- Schmack, R.; Friedrich, A.; Kondratenko, E.V.; Kraehnert, R.; Polte, J.; Werwatz, A. A Meta-Analysis of Catalytic Literature Data Reveals Property-Performance Correlations for the OCM Reaction. Nat. Commun. 2019, 10, 441. [Google Scholar] [CrossRef]
- Lomonosov, V.I.; Sinev, M.Y. Oxidative Coupling of Methane: Mechanism and Kinetics. Kinet. Catal. 2016, 57, 647–676. [Google Scholar] [CrossRef]
- Penteado, A.T.; Kim, M.; Godini, H.R.; Esche, E.; Repke, J.U. Techno-Economic Evaluation of a Biogas-Based Oxidative Coupling of Methane Process for Ethylene Production. Front. Chem. Sci. Eng. 2018, 12, 598–618. [Google Scholar] [CrossRef]
- Ortiz-Espinoza, A.P.; Noureldin, M.M.B.; El-Halwagi, M.M.; Jiménez-Gutiérrez, A. Design, Simulation and Techno-Economic Analysis of Two Processes for the Conversion of Shale Gas to Ethylene. Comput. Chem. Eng. 2017, 107, 237–246. [Google Scholar] [CrossRef]
- Cruellas, A.; Heezius, J.; Spallina, V.; van Sint Annaland, M.; Medrano, J.A.; Gallucci, F. Oxidative Coupling of Methane in Membrane Reactors; A Techno-Economic Assessment. Processes 2020, 8, 247. [Google Scholar] [CrossRef]
- Godini, H.R.; Azadi, M.; Penteado, A.; Khadivi, M.; Wozny, G.; Repke, J.U. A Multi-Perspectives Analysis of Methane Oxidative Coupling Process Based on Miniplant-Scale Experimental Data. Chem. Eng. Res. Des. 2019, 151, 56–69. [Google Scholar] [CrossRef]
- Cruellas, A.; Bakker, J.J.; van Sint Annaland, M.; Medrano, J.A.; Gallucci, F. Techno-Economic Analysis of Oxidative Coupling of Methane: Current State of the Art and Future Perspectives. Energy Convers. Manag. 2019, 198, 111789. [Google Scholar] [CrossRef]
- Spallina, V.; Velarde, I.C.; Jimenez, J.A.M.; Godini, H.R.; Gallucci, F.; Van Sint Annaland, M. Techno-Economic Assessment of Different Routes for Olefins Production through the Oxidative Coupling of Methane (OCM): Advances in Benchmark Technologies. Energy Convers. Manag. 2017, 154, 244–261. [Google Scholar] [CrossRef]
- Dutta, K.; Chaudhari, V.; Li, C.J.; Kopyscinski, J. Methane Conversion to Ethylene over GaN Catalysts. Effect of Catalyst Nitridation. Appl. Catal. A Gen. 2020, 595, 117430. [Google Scholar] [CrossRef]
- Kirik, N.P.; Anshits, N.N.; Rabchevskii, E.V.; Solov’ev, L.A.; Anshits, A.G. Effect of HF Modification on the Catalytic Properties of Ferrospheres in the Oxidative Coupling of Methane. Kinet. Catal. 2019, 60, 196–204. [Google Scholar] [CrossRef]
- Xu, J.; Zhang, Y.; Liu, Y.; Fang, X.; Xu, X.; Liu, W.; Zheng, R.; Wang, X. Optimizing the Reaction Performance of La2Ce2O7-Based Catalysts for Oxidative Coupling of Methane (OCM) at Lower Temperature by Lattice Doping with Ca Cations. Eur. J. Inorg. Chem. 2019, 2019, 183–194. [Google Scholar] [CrossRef]
- Fei, C.; Jian, Y.; Liang, Y.; Jun, Z.; Huahua, Z.; Huanling, S.; Lingjun, C. Influence of the Composition/Texture of Solid Acid WO3/TiO2-Supported Lithium-Manganese Catalysts on the Oxidative Coupling of Methane. Wuli Huaxue Xuebao Acta Phys. Chim. Sin. 2019, 35, 1027–1036. [Google Scholar] [CrossRef]
- Cheng, F.; Yang, J.; Yan, L.; Zhao, J.; Zhao, H.; Song, H.; Chou, L. Impact of Chloride Ions on the Oxidative Coupling of Methane over Li/SnO2 Catalyst. React. Kinet. Mech. Catal. 2018, 125, 675–688. [Google Scholar] [CrossRef]
- Haneda, M.; Katsuragawa, Y.; Nakamura, Y.; Towata, A. Promoting Effect of Cerium Oxide on the Catalytic Performance of Yttrium Oxide for Oxidative Coupling of Methane. Front. Chem. 2018, 6, 581. [Google Scholar] [CrossRef]
- Peng, L.; Xu, J.; Fang, X.; Liu, W.; Xu, X.; Liu, L.; Li, Z.; Peng, H.; Zheng, R.; Wang, X. SnO2 Based Catalysts with Low-Temperature Performance for Oxidative Coupling of Methane: Insight into the Promotional Effects of Alkali-Metal Oxides. Eur. J. Inorg. Chem. 2018, 2018, 1787–1799. [Google Scholar] [CrossRef]
- Oh, S.C.; Xu, J.; Tran, D.T.; Liu, B.; Liu, D. Effects of Controlled Crystalline Surface of Hydroxyapatite on Methane Oxidation Reactions. ACS Catal. 2018, 8, 4493–4507. [Google Scholar] [CrossRef]
- Li, Z.; Wang, S.; Hong, W.; Zou, S.; Xiao, L.; Fan, J. Intelligent Optimization of Na−Mn−W/SiO2 Catalysts for the Oxidative Coupling of Methane. ChemNanoMat 2018, 4, 487–495. [Google Scholar] [CrossRef]
- Nadezhda, P.K.; Natalia, N.A.; Evgenii, V.R.; Leonid, A.S. The Activity of the HF-Modified Ferrospheres in Oxidative Coupling of Methane. J. Sib. Fed. Univ. Chem. 2018, 11, 347–360. [Google Scholar] [CrossRef]
- Nipan, G.D. Specific Phase Transformations of K/W/Mn/SiO2 Composite Catalyst. Inorg. Mater. 2018, 54, 96–101. [Google Scholar] [CrossRef]
- Ogihara, H.; Imai, N.; Yoshida-Hirahara, M.; Kurokawa, H. Direct Dehydrogenative Conversion of Methane to Hydrogen, Nanocarbons, Ethane, and Ethylene on Pd/SiO2 Catalysts. Chem. Lett. 2020, 49, 236–239. [Google Scholar] [CrossRef]
- Hayek, N.S.; Lucas, N.S.; Warwar Damouny, C.; Gazit, O.M. Critical Surface Parameters for the Oxidative Coupling of Methane over the Mn-Na-W/SiO2 Catalyst. ACS Appl. Mater. Interfaces 2017, 9, 40404–40411. [Google Scholar] [CrossRef] [PubMed]
- Nipan, G.D. Melt-Assisted Phase Transformations of A/W/Mn/SiO2 (A = Li, Na, K, Rb, Cs) Composite Catalysts. Inorg. Mater. 2017, 53, 553–559. [Google Scholar] [CrossRef]
- Wang, P.; Zhao, G.; Wang, Y.; Lu, Y. MnTiO3-Driven Low-Temperature Oxidative Coupling of Methane over TiO2-Doped Mn2O3-Na2WO4/SiO2 Catalyst. Sci. Adv. 2017, 3, e1603180. [Google Scholar] [CrossRef] [PubMed]
- Nipan, G.D.; Buzanov, G.A.; Zhizhin, K.Y.; Kuznetsov, N.T. Phase States of Li(Na,K,Rb,Cs)/W/Mn/SiO2composite Catalysts for Oxidative Coupling of Methane. Russ. J. Inorg. Chem. 2016, 61, 1689–1707. [Google Scholar] [CrossRef]
- Elkins, T.W.; Roberts, S.J.; Hagelin-Weaver, H.E. Effects of Alkali and Alkaline-Earth Metal Dopants on Magnesium Oxide Supported Rare-Earth Oxide Catalysts in the Oxidative Coupling of Methane. Appl. Catal. A Gen. 2016, 528, 175–190. [Google Scholar] [CrossRef]
- Colmenares, M.G.; Simon, U.; Yildiz, M.; Arndt, S.; Schomaecker, R.; Thomas, A.; Rosowski, F.; Gurlo, A.; Goerke, O. Oxidative Coupling of Methane on the Na2WO4-MnxOy Catalyst: COK-12 as an Inexpensive Alternative to SBA-15. Catal. Commun. 2016, 85, 75–78. [Google Scholar] [CrossRef]
- Yildiz, M.; Aksu, Y.; Simon, U.; Otremba, T.; Kailasam, K.; Göbel, C.; Girgsdies, F.; Görke, O.; Rosowski, F.; Thomas, A.; et al. Silica Material Variation for the MnxOy-Na2WO4/SiO2. Appl. Catal. A Gen. 2016, 525, 168–179. [Google Scholar] [CrossRef]
- Anshits, A.G.; Bayukov, O.A.; Kondratenko, E.V.; Anshits, N.N.; Pletnev, O.N.; Rabchevskii, E.V.; Solovyov, L.A. Catalytic Properties and Nature of Active Centers of Ferrospheres in Oxidative Coupling of Methane. Appl. Catal. A Gen. 2016, 524, 192–199. [Google Scholar] [CrossRef]
- Sollier, B.M.; Gómez, L.E.; Boix, A.V.; Miró, E.E. Oxidative Coupling of Methane on Cordierite Monoliths Coated with Sr/La2O3 Catalysts. Influence of Honeycomb Structure and Catalyst-Cordierite Chemical Interactions on the Catalytic Behavior. Appl. Catal. A Gen. 2018, 550, 113–121. [Google Scholar] [CrossRef]
- Igenegbai, V.O.; Almallahi, R.; Meyer, R.J.; Linic, S. Oxidative Coupling of Methane over Hybrid Membrane/Catalyst Active Centers: Chemical Requirements for Prolonged Lifetime. ACS Energy Lett. 2019, 4, 1465–1470. [Google Scholar] [CrossRef]
- Pirro, L.; Mendes, P.S.F.; Vandegehuchte, B.D.; Marin, G.B.; Thybaut, J.W. Catalyst Screening for the Oxidative Coupling of Methane: From Isothermal to Adiabatic Operation: Via Microkinetic Simulations. React. Chem. Eng. 2020, 5, 584–596. [Google Scholar] [CrossRef]
- Igenegbai, V.O.; Meyer, R.J.; Linic, S. In Search of Membrane-Catalyst Materials for Oxidative Coupling of Methane: Performance and Phase Stability Studies of Gadolinium-Doped Barium Cerate and the Impact of Zr Doping. Appl. Catal. B Environ. 2018, 230, 29–35. [Google Scholar] [CrossRef]
- Garcia-Fayos, J.; Lobera, M.P.; Balaguer, M.; Serra, J.M. Catalyst Screening for Oxidative Coupling of Methane Integrated in Membrane Reactors. Front. Mater. 2018, 5, 1–11. [Google Scholar] [CrossRef]
- Oh, S.C.; Wu, Y.; Tran, D.T.; Lee, I.C.; Lei, Y.; Liu, D. Influences of Cation and Anion Substitutions on Oxidative Coupling of Methane over Hydroxyapatite Catalysts. Fuel 2016, 167, 208–217. [Google Scholar] [CrossRef]
- Farrell, B.L.; Linic, S. Oxidative Coupling of Methane over Mixed Oxide Catalysts Designed for Solid Oxide Membrane Reactors. Catal. Sci. Technol. 2016, 6, 4370–4376. [Google Scholar] [CrossRef]
- Zhao, M.; Ke, S.; Wu, H.; Xia, W.; Wan, H. Flower-like Sr-La2O3 Microspheres with Hierarchically Porous Structures for Oxidative Coupling of Methane. Ind. Eng. Chem. Res. 2019, 58, 22847–22856. [Google Scholar] [CrossRef]
- Seubsai, A.; Tiencharoenwong, P.; Kidamorn, P.; Niamnuy, C. Synthesis of Light Hydrocarbons via Oxidative Coupling of Methane over Silica-Supported Na2WO4-Tio2 Catalyst. Eng. J. 2019, 23, 169–182. [Google Scholar] [CrossRef]
- Yıldız, M. Mesoporous TiO2-Rutile Supported MnxOy-Na2WO4: Preparation, Characterization and Catalytic Performance in the Oxidative Coupling of Methane. J. Ind. Eng. Chem. 2019, 76, 488–499. [Google Scholar] [CrossRef]
- Kwon, G.; Shin, D.; Jeong, H.; Sahoo, S.K.; Lee, J.; Kim, G.; Choi, J.; Kim, D.H.; Han, J.W.; Lee, H. Oxidative Methane Conversion to Ethane on Highly Oxidized Pd/CeO2 Catalysts Below 400 °C. ChemSusChem 2020, 13, 677–681. [Google Scholar] [CrossRef] [PubMed]
- Özdemir, H.; Öksüzömer, M.A.F.; Ali Gürkaynak, M. Studies on Oxidative Coupling of Methane Using Sm2O3-Based Catalysts. Chem. Eng. Commun. 2019, 206, 48–60. [Google Scholar] [CrossRef]
- Matsumoto, T.; Saito, M.; Ishikawa, S.; Fujii, K.; Yashima, M.; Ueda, W.; Motohashi, T. High Catalytic Activity of Crystalline Lithium Calcium Silicate for Oxidative Coupling of Methane Originated from Crystallographic Joint Effects of Multiple Cations. ChemCatChem 2020, 12, 1968–1972. [Google Scholar] [CrossRef]
- Cheng, F.; Yang, J.; Yan, L.; Zhao, J.; Zhao, H.; Song, H.; Chou, L.J. Enhancement of La2O3 to Li-Mn/WO3/TiO2 for Oxidative Coupling of Methane. J. Rare Earths 2020, 38, 167–174. [Google Scholar] [CrossRef]
- Bosch, C.E.; Poulston, S.; Collier, P.; Thybaut, J.W.; Marin, G.B. Exploring Microemulsion-Prepared Lanthanum Catalysts for Natural Gas Valorisation. Johnson Matthey Technol. Rev. 2019, 63, 265–276. [Google Scholar] [CrossRef]
- Lee, B.J.; Hur, Y.G.; Kim, D.H.; Lee, S.H.; Lee, K.Y. Non-Oxidative Aromatization and Ethylene Formation over Ga/HZSM-5 Catalysts Using a Mixed Feed of Methane and Ethane. Fuel 2019, 253, 449–459. [Google Scholar] [CrossRef]
- Jones, A.S.; Alfonso, N.; Hagelin-Weaver, H.E. Transition-Metal Doped, Magnesium Oxide-Supported Terbium Oxides as Catalysts for the Oxidative Coupling of Methane. Polyhedron 2019, 170, 602–611. [Google Scholar] [CrossRef]
- Chukeaw, T.; Sringam, S.; Chareonpanich, M.; Seubsai, A. Screening of Single and Binary Catalysts for Oxidative Coupling of Methane to Value-Added Chemicals. Mol. Catal. 2019, 470, 40–47. [Google Scholar] [CrossRef]
- Kolesnichenko, N.V.; Ezhova, N.N.; Snatenkova, Y.M. Lower Olefins from Methane: Recent Advances. Russ. Chem. Rev. 2020, 89, 191–224. [Google Scholar] [CrossRef]
- Gao, Y.; Neal, L.; Ding, D.; Wu, W.; Baroi, C.; Gaffney, A.M.; Li, F. Recent Advances in Intensified Ethylene Production—A Review. ACS Catal. 2019, 9, 8592–8621. [Google Scholar] [CrossRef]
- Scapinello, M.; Delikonstantis, E.; Stefanidis, G.D. The Panorama of Plasma-Assisted Non-Oxidative Methane Reforming. Chem. Eng. Process. Process Intensif. 2017, 117, 120–140. [Google Scholar] [CrossRef]
- García, L.; Poveda, Y.A.; Rodríguez, G.; Esche, E.; Godini, H.R.; Wozny, G.; Repke, J.U.; Orjuela, Á. Adsorption Separation of Oxidative Coupling of Methane Effluent Gases. Mini-Plant Scale Experiments and Modeling. J. Nat. Gas Sci. Eng. 2019, 61, 106–118. [Google Scholar] [CrossRef]
- Bachman, J.E.; Reed, D.A.; Kapelewski, M.T.; Chachra, G.; Jonnavittula, D.; Radaelli, G.; Long, J.R. Enabling Alternative Ethylene Production through Its Selective Adsorption in the Metal-Organic Framework Mn2(: M -Dobdc). Energy Environ. Sci. 2018, 11, 2423–2431. [Google Scholar] [CrossRef]
- Penteado, A.; Esche, E.; Salerno, D.; Godini, H.R.; Wozny, G. Design and Assessment of a Membrane and Absorption Based Carbon Dioxide Removal Process for Oxidative Coupling of Methane. Ind. Eng. Chem. Res. 2016, 55, 7473–7483. [Google Scholar] [CrossRef]
- Parishan, S.; Littlewood, P.; Arinchtein, A.; Fleischer, V.; Schomäcker, R. Chemical Looping as a Reactor Concept for the Oxidative Coupling of Methane over the MnxOy-Na2WO4/SiO2 Catalyst, Benefits and Limitation. Catal. Today 2018, 311, 40–47. [Google Scholar] [CrossRef]
- Fleischer, V.; Simon, U.; Parishan, S.; Colmenares, M.G.; Görke, O.; Gurlo, A.; Riedel, W.; Thum, L.; Schmidt, J.; Risse, T.; et al. Investigation of the Role of the Na2WO4/Mn/SiO2 Catalyst Composition in the Oxidative Coupling of Methane by Chemical Looping Experiments. J. Catal. 2018, 360, 102–117. [Google Scholar] [CrossRef]
- Chung, E.Y.; Wang, W.K.; Nadgouda, S.G.; Baser, D.S.; Sofranko, J.A.; Fan, L.S. Catalytic Oxygen Carriers and Process Systems for Oxidative Coupling of Methane Using the Chemical Looping Technology. Ind. Eng. Chem. Res. 2016, 55, 12750–12764. [Google Scholar] [CrossRef]
- Fleischer, V.; Littlewood, P.; Parishan, S.; Schomäcker, R. Chemical Looping as Reactor Concept for the Oxidative Coupling of Methane over a Na2WO4/Mn/SiO2 Catalyst. Chem. Eng. J. 2016, 306, 646–654. [Google Scholar] [CrossRef]
- Bayanak, M.; Azimi, A. Investigation of Activity and Selectivity of Redox Catalysts in Oxidative Coupling of Methane in Fluidized Bed Reactor. J. Fundam. Appl. Sci. 2016, 8, 397. [Google Scholar] [CrossRef]
- Aseem, A.; Harold, M.P. C2 Yield Enhancement during Oxidative Coupling of Methane in a Nonpermselective Porous Membrane Reactor. Chem. Eng. Sci. 2018, 175, 199–207. [Google Scholar] [CrossRef]
- Liang, W.; Sarsani, S.; West, D.; Mamedov, A.; Lengyel, I.; Perez, H.; Lowrey, J. Performance Improvement for a Fixed-Bed Reactor with Layered Loading Catalysts of Different Catalytic Properties for Oxidative Coupling of Methane. Catal. Today 2018, 299, 60–66. [Google Scholar] [CrossRef]
- Han, Q.; Tanaka, A.; Matsumoto, M.; Endo, A.; Kubota, Y.; Inagaki, S. Conversion of Methane to C2 and C3 Hydrocarbons over TiO2/ZSM-5 Core-Shell Particles in an Electric Field. RSC Adv. 2019, 9, 34793–34803. [Google Scholar] [CrossRef]
- Sato, A.; Ogo, S.; Takeno, Y.; Takise, K.; Seo, J.G.; Sekine, Y. Electric Field and Mobile Oxygen Promote Low-Temperature Oxidative Coupling of Methane over La1-XCaxAlO3-δ Perovskite Catalysts. ACS Omega 2019, 4, 10438–10443. [Google Scholar] [CrossRef] [PubMed]
- Zhang, Y.; Cho, Y.; Yamaguchi, A.; Peng, X.; Miyauchi, M.; Abe, H.; Fujita, T. CO2 Oxidative Coupling of Methane Using an Earth-Abundant CaO-Based Catalyst. Sci. Rep. 2019, 9, 15454. [Google Scholar] [CrossRef]
- Hayek, N.S.; Khlief, G.J.; Horani, F.; Gazit, O.M. Effect of Reaction Conditions on the Oxidative Coupling of Methane over Doped MnOx-Na2WO4/SiO2 Catalyst. J. Catal. 2019, 376, 25–31. [Google Scholar] [CrossRef]
- Valadkhani, A.; Shahrokhi, M.; Pishvaie, M.R.; Zarrinpashneh, S. Simulation and Experimental Studies of Methane Oxidative Coupling Reaction in a Bench Scale Fixed Bed Reactor. Energy Sources Part A Recover. Util. Environ. Eff. 2013, 35, 1418–1426. [Google Scholar] [CrossRef]
- Stansch, Z.; Mleczko, M.; Baerns, L. Comprehensive Kinetics of Oxidative Coupling of Methane over the La2O3/CaO Catalyst. Ind. Eng. Chem. Res. 1997, 36, 2568–2579. [Google Scholar] [CrossRef]
- Couwenberg, P.M.; Chen, Q.; Marin, G.B. Kinetics of a Gas-Phase Chain Reaction Catalyzed by a Solid: The Oxidative Coupling of Methane over Li/MgO-Based Catalysts. Ind. Eng. Chem. Res. 1996, 35, 3999–4011. [Google Scholar] [CrossRef]
- Simon, Y.; Baronnet, F.; Côme, G.M.; Marquaire, P.M. Detailed Mechanism of the Oxidative Coupling of Methane. Stud. Surf. Sci. Catal. 2004, 147, 571–576. [Google Scholar] [CrossRef]
- Sinev, M.Y.; Fattakhova, Z.T.; Lomonosov, V.I.; Gordienko, Y.A. Kinetics of Oxidative Coupling of Methane: Bridging the Gap between Comprehension and Description. J. Nat. Gas Chem. 2009, 18, 273–287. [Google Scholar] [CrossRef]
- Chen, Q.; Hoebink, J.H.B.J.; Marin, G.B. Kinetics of the Oxidative Coupling of Methane at Atmospheric Pressure in the Absence of Catalyst. Ind. Eng. Chem. Res. 1991, 30, 2088–2097. [Google Scholar] [CrossRef]
- Chen, Q.; Couwenberg, P.M.; Marin, G.B. Effect of Pressure on the Oxidative Coupling of Methane in the Absence of Catalyst. AIChE J. 1994, 40, 521–535. [Google Scholar] [CrossRef]
- Zanthoff, H.W.; Baerns, M. Oxidative Coupling of Methane in the Gas Phase. Kinetic Simulation and Experimental Verification. Ind. Eng. Chem. Res. 1990, 29, 2–10. [Google Scholar] [CrossRef]
- Chen, Q.; Couwenberg, P.M.; Marin, G.B. The Oxidative Coupling of Methane with Cofeeding of Ethane. Catal. Today 1994, 21, 309–319. [Google Scholar] [CrossRef][Green Version]
- Ekstrom, A.; Regtop, R.; Bhargava, S. Effect of Pressure on the Oxidative Coupling Reaction of Methane. Appl. Catal. 1990, 62, 253–269. [Google Scholar] [CrossRef]
- Beck, B.; Fleischer, V.; Arndt, S.; Hevia, M.G.; Urakawa, A.; Hugo, P.; Schomäcker, R. Oxidative Coupling of Methane—A Complex Surface/Gas Phase Mechanism with Strong Impact on the Reaction Engineering. Catal. Today 2014, 228, 212–218. [Google Scholar] [CrossRef]
- Al-Zahrani, S.; Song, Q.; Lobban, L.L. Effects of CO2 during Oxidative Coupling of Methane over Li/MgO: Mechanisms and Models. Ind. Eng. Chem. Res. 1994, 33, 251–258. [Google Scholar] [CrossRef]
- Choudhary, V.R.; Rane, V.H.; Pandit, M.Y. Comparison of Alkali Metal Promoted MgO Catalysts for Their Surface Acidity/Basicity and Catalytic Activity/Selectivity in the Oxidative Coupling of Methane. J. Chem. Technol. Biotechnol. 1997, 68, 177–186. [Google Scholar] [CrossRef]
- Sun, J.; Thybaut, J.W.; Marin, G.B. Microkinetics of Methane Oxidative Coupling. Catal. Today 2008, 137, 90–102. [Google Scholar] [CrossRef]
- Kechagiopoulos, P.N.; Thybaut, J.W.; Marin, G.B. Oxidative Coupling of Methane: A Microkinetic Model Accounting for Intraparticle Surface-Intermediates Concentration Profiles. Ind. Eng. Chem. Res. 2014, 53, 1825–1840. [Google Scholar] [CrossRef]
- Nibbelke, R.H.; Scheerová, J.; De Croon, M.H.J.M.; Marin, G.B. The Oxidative Coupling of Methane over MgO-Based Catalysts: A Steady-State Isotope Transient Kinetic Analysis. J. Catal. 1995, 106–119. [Google Scholar] [CrossRef]
- Buyevskaya, M.O.V.; Rothaemel, M.; Zanthoff, H.W.; Baerns, M. Transient Studies on Reactions Steps in the Oxidative Coupling of Methane over Catalytic Surfaces of MgO and Sm2O3. J. Catal. 1994, 146, 346–357. [Google Scholar] [CrossRef]
- Luo, L.; Tang, X.; Wang, W.; Wang, Y.; Sun, S.; Qi, F.; Huang, W. Methyl Radicals in Oxidative Coupling of Methane Directly Confirmed by Synchrotron VUV Photoionization Mass Spectroscopy. Sci. Rep. 2013, 3, 1625. [Google Scholar] [CrossRef] [PubMed]
- Schwach, P.; Pan, X.; Bao, X. Direct Conversion of Methane to Value-Added Chemicals over Heterogeneous Catalysts: Challenges and Prospects. Chem. Rev. 2017, 117, 8497–8520. [Google Scholar] [CrossRef] [PubMed]
- Kuś, S.L.S.; Otremba, M.; Taniewski, M. The Catalytic Performance in Oxidative Coupling of Methane and the Surface Basicity of La2O3, Nd2O3, ZrO2 and Nb2O5. Fuel 2003, 82, 1331–1338. [Google Scholar] [CrossRef]
- Arndt, S.; Simon, U.; Heitz, S.; Berthold, A.; Beck, B.; Görke, O.; Epping, J.D.; Otremba, T.; Aksu, Y.; Irran, E.; et al. Li-Doped MgO from Different Preparative Routes for the Oxidative Coupling of Methane. Top. Catal. 2011, 54, 1266–1285. [Google Scholar] [CrossRef]
- Pannek, U.; Mleczko, L. Comprehensive Model of Oxidative Coupling of Methane in a Fluidized-Bed Reactor. Chem. Eng. Sci. 1996, 51, 3575–3590. [Google Scholar] [CrossRef]
- Jašo, S.; Arellano-Garcia, H.; Wozny, G. Oxidative Coupling of Methane in a Fluidized Bed Reactor: Influence of Feeding Policy, Hydronamics and Rector Geometry. Chem. Eng. J. 2011, 171, 255–271. [Google Scholar] [CrossRef]
- Salehi, M.S.; Askarishahi, M.; Godini, H.R.; Schomäcker, R.; Wozny, G. CFD Simulation of Oxidative Coupling of Methane in Fluidized-Bed Reactors: A Detailed Analysis of Flow-Reaction Characteristics and Operating Conditions. Ind. Eng. Chem. Res. 2016, 55, 1149–1163. [Google Scholar] [CrossRef]
- Holst, N.; Jašo, S.; Godini, H.R.; Glöser, S.; Arellano-Garcia, H.; Wozny, G.; Steinbach, J. Two-Dimensional Model for Oxidative Coupling of Methane in a Packed-Bed Membrane Reactor. Chem. Eng. Technol. 2012, 35, 294–301. [Google Scholar] [CrossRef]
- Godini, H.R.; Xiao, S.; Kim, M.; Holst, N.; Jašo, S.; Görke, O.; Steinbach, J.; Wozny, G. Experimental and Model-Based Analysis of Membrane Reactor Performance for Methane Oxidative Coupling: Effect of Radial Heat and Mass Transfer. J. Ind. Eng. Chem. 2014, 20, 1993–2002. [Google Scholar] [CrossRef]
- Onoja, O.P.; Wang, X.; Kechagiopoulos, P.N. Influencing Selectivity in the Oxidative Coupling of Methane by Modulating Oxygen Permeation in a Variable Thickness Membrane Reactor. Chem. Eng. Process. Process Intensif. 2019, 135, 156–167. [Google Scholar] [CrossRef]
- Couwenberg, P.M.; Chen, Q.; Marin, G.B. Irreducible Mass-Transport Limitations during a Heterogeneously Catalyzed Gas-Phase Chain Reaction: Oxidative Coupling of Methane. Ind. Eng. Chem. Res. 1996, 35, 415–421. [Google Scholar] [CrossRef]
- Yaghobi, N.; Ghoreishy, M.H.R. Oxidative Coupling of Methane in a Fixed Bed Reactor over Perovskite Catalyst: A Simulation Study Using Experimental Kinetic Model. J. Nat. Gas Chem. 2008, 17, 8–16. [Google Scholar] [CrossRef]
- Sun, Z.; West, D.H.; Balakotaiah, V. Bifurcation Analysis of Catalytic Partial Oxidations in Laboratory-Scale Packed-Bed Reactors with Heat Exchange. Chem. Eng. J. 2019, 377. [Google Scholar] [CrossRef]
- Sun, Z.; West, D.H.; Gautam, P.; Balakotaiah, V. Scale-up Analysis of Autothermal Operation of Methane Oxidative Coupling with La2O3/CaO Catalyst. AIChE J. 2020, 66, e16949. [Google Scholar] [CrossRef]
- Zhang, Z.; Ji, S. Numerical Simulation of Particle/Monolithic Two-Stage Catalyst Bed Reactor with Beds-Interspace Distributed Dioxygen Feeding for Oxidative Coupling of Methane. Comput. Chem. Eng. 2016, 90, 247–259. [Google Scholar] [CrossRef]
- Vandewalle, L.A.; Van de Vijver, R.; Van Geem, K.M.; Marin, G.B. The Role of Mass and Heat Transfer in the Design of Novel Reactors for Oxidative Coupling of Methane. Chem. Eng. Sci. 2019, 198, 268–289. [Google Scholar] [CrossRef]
- Cruellas, A.; Melchiori, T.; Gallucci, F.; van Sint Annaland, M. Advanced Reactor Concepts for Oxidative Coupling of Methane. Catal. Rev. Sci. Eng. 2017, 59, 234–294. [Google Scholar] [CrossRef]
- Froment, G.; Bischoff, K.; De Wilde, J. Chemical Reactor Analysis and Design, 2nd ed.; Wiley Subscription Services, Inc., A Wiley Company: New York, NY, USA, 2011. [Google Scholar]
- Alexiadis, V.I.; Thybaut, J.W.; Kechagiopoulos, P.N.; Chaar, M.; Van Veen, A.C.; Muhler, M.; Marin, G.B. Oxidative Coupling of Methane: Catalytic Behaviour Assessment via Comprehensive Microkinetic Modelling. Appl. Catal. B Environ. 2014, 150–151, 496–505. [Google Scholar] [CrossRef]
- Sarsani, S.; West, D.; Liang, W.; Balakotaiah, V. Autothermal Oxidative Coupling of Methane with Ambient Feed Temperature. Chem. Eng. J. 2017, 328, 484–496. [Google Scholar] [CrossRef]
- Vandewalle, L.A.; Lengyel, I.; West, D.H.; Van Geem, K.M.; Marin, G.B. Catalyst Ignition and Extinction: A Microkinetics-Based Bifurcation Study of Adiabatic Reactors for Oxidative Coupling of Methane. Chem. Eng. Sci. 2019, 199, 635–651. [Google Scholar] [CrossRef]
- Dautzenberg, F.M.; Schlatter, J.C. Catalyst and Reactor Requirements for the Oxidative Coupling of Methane. Catal. Today 1992, 13, 503–5r09. [Google Scholar] [CrossRef]
- Kato, K.; Wen, C.Y. Bubble Assemblage Model for Fluidized Bed Catalytic Reactors. Chem. Eng. Sci. 1969, 24, 1351–1369. [Google Scholar] [CrossRef]
- Mleczko, L.; Schweer, D.; Durjanova, Z.; Andorf, R.; Baerns, M. Reaction Engineering Approaches to the Oxidative Coupling of Methane to C2+ Hydrocarbons. Stud. Surf Sci. Catal. 1992, 81, 155–164. [Google Scholar]
- Uglietti, R.; Bracconi, M.; Maestri, M. Coupling CFD-DEM and Microkinetic Modeling of Surface Chemistry for the Simulation of Catalytic Fluidized Systems. React. Chem. Eng. 2018, 3, 527–539. [Google Scholar] [CrossRef]
- Cruellas, A.; Melchiori, T.; Gallucci, F.; van Sint Annaland, M. Oxidative Coupling of Methane: A Comparison of Different Reactor Configurations. Energy Technol. 2019, 8, 1900148. [Google Scholar] [CrossRef]
- Pak, S.; Lunsford, J.H. Thermal Effects during the Oxidative Coupling of Methane over Mn/Na2WO4/SiO2 and Mn/Na2WO4/MgO Catalysts. Appl. Catal. A Gen. 1998, 168, 131–137. [Google Scholar] [CrossRef]
- Noon, D.; Zohour, B.; Senkan, S. Oxidative Coupling of Methane with La2O3-CeO2 Nanofiber Fabrics: A Reaction Engineering Study. J. Nat. Gas Sci. Eng. 2014, 18, 406–411. [Google Scholar] [CrossRef]
- Lee, J.Y.; Jeon, W.; Choi, J.W.; Suh, Y.W.; Ha, J.M.; Suh, D.J.; Park, Y.K. Scaled-up Production of C2 Hydrocarbons by the Oxidative Coupling of Methane over Pelletized Na2WO4/Mn/SiO2 Catalysts: Observing Hot Spots for the Selective Process. Fuel 2013, 106, 851–857. [Google Scholar] [CrossRef]
- Liu, H.; Wang, X.; Yang, D.; Gao, R.; Wang, Z.; Yang, J. Scale up and Stability Test for Oxidative Coupling of Methane over Na2WO4-Mn/SiO2 Catalyst in a 200 Ml Fixed-Bed Reactor. J. Nat. Gas Chem. 2008, 17, 59–63. [Google Scholar] [CrossRef]
- Geerts, J.W.M.H.; Chen, Q.; van Kasteren, J.M.N.; van der Wiele, K. Thermodynamics and Kinetic Modeling of the Homogeneous Gas Phase Reactions of the Oxidative Coupling of Methane. Catal. Today 1990, 6, 519–526. [Google Scholar] [CrossRef]
- Farrell, B.L.; Igenegbai, V.O.; Linic, S. A Viewpoint on Direct Methane Conversion to Ethane and Ethylene Using Oxidative Coupling on Solid Catalysts. ACS Catal. 2016, 6, 4340–4346. [Google Scholar] [CrossRef]
- Thybaut, J.W.; Marin, G.B.; Mirodatos, C.; Schuurman, Y.; Van Veen, A.C.; Sadykov, V.A.; Pennemann, H.; Bellinghausen, R.; Mleczko, L. A Novel Technology for Natural Gas Conversion by Means of Integrated Oxidative Coupling and Dry Reforming of Methane. Chem. Ingenieur Tech. 2014, 86, 1855–1870. [Google Scholar] [CrossRef]
- Koretsky, M.D. Engineering and Chemical Thermodynamics, 2nd ed.; John Wiley & Sons, Inc.: Hoboken, NJ, USA, 2013. [Google Scholar]
- Su, Y.S.; Ying, J.Y.; Green, W.H. Upper Bound on the Yield for Oxidative Coupling of Methane. J. Catal. 2003, 218, 321–333. [Google Scholar] [CrossRef]
- Scheid, A.J.; Barbosa-Coutinho, E.; Schwaab, M.; Salau, N.P.G. GPREC—Gas-Phase Reaction Equilibrium Calculator. Computer program in Fortran/Matlab, registered in the Brazilian National Institute of Intellectual Property (INPI), under No BR 51 2017 001692 5.
- Barnes, C.; Koretsky, M.D. ThermoSolver; John Wiley & Sons, Inc.: Hoboken, NJ, USA, 2003. [Google Scholar]
- Machocki, A.; Denis, A. Simultaneous Oxidative Coupling of Methane and Oxidative Dehydrogenation of Ethane on the Na+/CaO Catalyst. Chem. Eng. J. 2002, 90, 165–172. [Google Scholar] [CrossRef]
- Snytnikov, V.N.; Mishchenko, T.I.; Snytnikov, V.N.; Malykhin, S.E.; Avdeev, V.I.; Parmon, V.N. Autocatalytic Gas-Phase Dehydrogenation of Ethane. Res. Chem. Intermed. 2012, 38, 1133–1147. [Google Scholar] [CrossRef]
- Korf, S.J.; Roos, J.A.; De Bruijn, N.A.; Van Ommen, J.G.; Ross, J.R.H. Influence of CO2 on the Oxidative Coupling of Methane over a Lithium Promoted Magnesium Oxide Catalyst. J. Chem. Soc. Chem. Commun. 1987, 19, 1433–1434. [Google Scholar] [CrossRef]
- Thum, L.; Rudolph, M.; Schomäcker, R.; Wang, Y.; Tarasov, A.; Trunschke, A.; Schlögl, R. Oxygen Activation in Oxidative Coupling of Methane on Calcium Oxide. J. Phys. Chem. C 2019, 123, 8018–8026. [Google Scholar] [CrossRef]
- Sarsani, V.S.R.; West, D.; Lengyel, I. Method for Producing Hydrocarbons by Oxidative Coupling of Methane with a Heavy Diluent. U.S. Patent 2017/0057889 A1, 2 March 2017. [Google Scholar]
- Cai, X.; Hu, Y.H. Advances in Catalytic Conversion of Methane and Carbon Dioxide to Highly Valuable Products. Energy Sci. Eng. 2019, 7, 4–29. [Google Scholar] [CrossRef]
- Istadi Amin, N.A.S. Co-Generation of C2 Hydrocarbons and Synthesis Gases from Methane and Carbon Dioxide: A Thermodynamic Analysis. J. Nat. Gas Chem. 2005, 14, 140–150. [Google Scholar]
- Rafique, H.A.; Vuddagiri, S.; Radaelli, G.; Scher, E.C.; McCormick, J.; Cizeron, J. Oxidative Coupling of Methane Implementation for Olefin Production. U.S. Patent 9352295B2, 31 May 2016. [Google Scholar]
- Iwamoto, M.; Lunsford, J.H. Surface Reactions of Oxygen Ions. 5. Oxidation of Alkanes and Alkenes by O2− on MgO. J. Phys. Chem. 1980, 84, 3079–3084. [Google Scholar] [CrossRef]
- Kumar, G.; Lau, S.L.J.; Krcha, M.D.; Janik, M.J. Correlation of Methane Activation and Oxide Catalyst Reducibility and Its Implications for Oxidative Coupling. ACS Catal. 2016, 6, 1812–1821. [Google Scholar] [CrossRef]
- Zavyalova, U.; Holena, M.; Schlögl, R.; Baerns, M. Statistical Analysis of Past Catalytic Data on Oxidative Methane Coupling for New Insights into the Composition of High-Performance Catalysts. ChemCatChem 2011, 3, 1935–1947. [Google Scholar] [CrossRef]
- Gambo, Y.; Jalil, A.A.; Triwahyono, S.; Abdulrasheed, A.A. Recent Advances and Future Prospect in Catalysts for Oxidative Coupling of Methane to Ethylene: A Review. J. Ind. Eng. Chem. 2018, 59, 218–229. [Google Scholar] [CrossRef]
- Schucker, R.C.; Derrickson, K.J.; Ali, A.K.; Caton, N.J. Identification of the Optimum Catalyst and Operating Conditions for Oxidative Coupling of Methane: Activity and Selectivity of Alkaline Earth-Doped Lanthanides. Ind. Eng. Chem. Res. 2020, 59, 18434–18446. [Google Scholar] [CrossRef]
- Gao, Z.; Zhang, J.; Wang, R. Formation of Hydrogen in Oxidative Coupling of Methane over BaCO3 and MgO Catalysts. J. Nat. Gas Chem. 2008, 17, 238–241. [Google Scholar] [CrossRef]
- Rane, V.H.; Chaudhari, S.T.; Choudhary, V.R. Oxidative Coupling of Methane over La-Promoted CaO Catalysts: Influence of Precursors and Catalyst Preparation Method. J. Nat. Gas Chem. 2010, 19, 25–30. [Google Scholar] [CrossRef]
- Baidya, T.; Van Vegten, N.; Verel, R.; Jiang, Y.; Yulikov, M.; Kohn, T.; Jeschke, G.; Baiker, A. SrO·Al2O3 Mixed Oxides: A Promising Class of Catalysts for Oxidative Coupling of Methane. J. Catal. 2011, 281, 241–253. [Google Scholar] [CrossRef]
- Yunarti, R.T.; Lee, M.; Hwang, Y.J.; Choi, J.W.; Suh, D.J.; Lee, J.; Kim, I.W.; Ha, J.M. Transition Metal-Doped TiO2 Nanowire Catalysts for the Oxidative Coupling of Methane. Catal. Commun. 2014, 50, 54–58. [Google Scholar] [CrossRef]
- Simon, U.; Arndt, S.; Otremba, T.; Schlingmann, T.; Görke, O.; Dinse, K.P.; Schomäcker, R.; Schubert, H. Li/MgO with Spin Sensors as Catalyst for the Oxidative Coupling of Methane. Catal. Commun. 2012, 18, 132–136. [Google Scholar] [CrossRef]
- Scher, E.C.; Zurcher, F.R.; Cizeron, J.M.; Schammel, W.P.; Tkachenko, A.; Karshtedt, D.; Nyce, G. Nanowire Catalysts. U.S. Patent Application WO2011/149996A2, 1 December 2011. [Google Scholar]
- Rane, V.H.; Chaudhari, S.T.; Choudhary, V.R. Influence of Alkali Metal Doping on Surface Properties and Catalytic Activity/Selectivity of CaO Catalysts in Oxidative Coupling of Methane. J. Nat. Gas Chem. 2008, 17, 313–320. [Google Scholar] [CrossRef]
- Arndt, S.; Laugel, G.; Levchenko, S.; Horn, R.; Baerns, M.; Scheffler, M.; Schlögl, R.; Schomäcker, R. A Critical Assessment of Li/MgO-Based Catalysts for the Oxidative Coupling of Methane. Catal. Rev. Sci. Eng. 2011, 53, 424–514. [Google Scholar] [CrossRef]
- Song, J.; Sun, Y.; Ba, R.; Huang, S.; Zhao, Y.; Zhang, J.; Sun, Y.; Zhu, Y. Monodisperse Sr-La2O3 Hybrid Nanofibers for Oxidative Coupling of Methane to Synthesize C2 Hydrocarbons. Nanoscale 2015, 7, 2260–2264. [Google Scholar] [CrossRef] [PubMed]
- Galadima, A.; Muraza, O. Revisiting the Oxidative Coupling of Methane to Ethylene in the Golden Period of Shale Gas: A Review. J. Ind. Eng. Chem. 2016, 37, 1–13. [Google Scholar] [CrossRef]
- He, Y.; Yang, B.; Cheng, G. On the Oxidative Coupling of Methane with Carbon Dioxide over CeO2/ZnO Nanocatalysts. Catal. Today 2004, 98, 595–600. [Google Scholar] [CrossRef]
- Noon, D.; Seubsai, A.; Senkan, S. Oxidative Coupling of Methane by Nanofiber Catalysts. ChemCatChem 2013, 5, 146–149. [Google Scholar] [CrossRef]
- Kolmakov, A.; Moskovits, M. Chemical Sensing and Catalysis By One-Dimensional Metal-Oxide Nanostructures. Annu. Rev. Mater. Res. 2004, 34, 151–180. [Google Scholar] [CrossRef]
- Chinta, S.; Thorman, J.; Butler, J.; Rives, T. Process for the Oxidative Coupling. U.S. Patent 8912381B2, 29 June 2009. [Google Scholar]
- Tanaka, K.; Sekine, Y.; Inoue, J.; Araki, H.; Matsukata, M.; Kikuchi, E. Oxidative Coupling of Methane over Ba-Incorporate LaInO3 Perovskite Catalyst. J. Jpn. Pet. Inst. 2012, 55, 71–72. [Google Scholar] [CrossRef]
- Ivanov, D.V.; Isupova, L.A.; Gerasimov, E.Y.; Dovlitova, L.S.; Glazneva, T.S.; Prosvirin, I.P. Oxidative Methane Coupling over Mg, Al, Ca, Ba, Pb-Promoted SrTiO3 and Sr2TiO4: Influence of Surface Composition and Microstructure. Appl. Catal. A Gen. 2014, 485, 10–19. [Google Scholar] [CrossRef]
- Ghose, R.; Hwang, H.T.; Varma, A. Catalysts for Oxidative Coupling of Methane and Solution Combustion Method for the Production of the Same. U.S. Patent 9610565 B2, 4 April 2017. [Google Scholar]
- Othman, N.H.; Wu, Z.; Li, K. Micro-Structured Bi1.5Y0.3Sm0.2O3-Alpha Catalysts for Oxidative Couplinf of Methane. AIChE J. 2015, 61, 3451–3458. [Google Scholar] [CrossRef]
- Huang, K.; Chen, F.-Q.; Lu, D.-W. Artificial Neural Network-Aided Design of Multi-Component Catalyst for Methane Oxidative Coupling. Appl. Catal. A Gen. 2001, 219, 61–68. [Google Scholar] [CrossRef]
- Huang, K.; Zhan, X.L.; Chen, F.Q.; Lü, D.W. Catalyst Design for Methane Oxidative Coupling by Using Artificial Neural Network and Hybrid Genetic Algorithm. Chem. Eng. Sci. 2003, 58, 81–87. [Google Scholar] [CrossRef]
- Cizeron, J.M.; Scher, E.C.; Zurcher, F.R.; Schammel, W.P.; Nyce, G.; Rumplecker, A.; McCormick, J.; Alcid, M.; Gamoras, J.; Rosenberg, D.; et al. Catalysts for Petrochemical Catalysis. U.S. Patent 2013/0023709A1, 24 January 2013. [Google Scholar]
- Dedov, A.G.; Loktev, A.S.; Nipan, G.D.; Dorokhov, S.N.; Golikov, S.D.; Spesivtsev, N.A.; Moiseev, I.I. Oxidative Coupling of Methane to Form Ethylene: Effect of the Preparation Method on the Phase Composition and Catalytic Properties of Li-W-Mn-O-SiO2 Composite Materials. Pet. Chem. 2015, 55, 163–168. [Google Scholar] [CrossRef]
- Zhang, B.; Wang, J.; Chou, L.; Song, H.; Zhao, J.; Yang, J.; Li, S. Effective and Stable CeO2-W-Mn/SiO2 Catalyst for Methane Oxidation to Ethylene and Ethane. Stud. Surf. Sci. Catal. 2007, 167, 237–242. [Google Scholar] [CrossRef]
- Arndt, S.; Otremba, T.; Simon, U.; Yildiz, M.; Schubert, H.; Schomäcker, R. Mn-Na 2WO 4/SiO2 as Catalyst for the Oxidative Coupling of Methane. What Is Really Known? Appl. Catal. A Gen. 2012, 425, 53–61. [Google Scholar] [CrossRef]
- Werny, M.J.; Wang, Y.; Girgsdies, F.; Schlögl, R.; Trunschke, A. Fluctuating Storage of the Active Phase in a Mn-Na2WO4/SiO2 Catalyst for the Oxidative Coupling of Methane. Angew. Chem. Int. Ed. 2020, 59, 14921–14926. [Google Scholar] [CrossRef]
- Liu, W.C.; Ralston, W.T.; Melaet, G.; Somorjai, G.A. Oxidative Coupling of Methane (OCM): Effect of Noble Metal (M = Pt, Ir, Rh) Doping on the Performance of Mesoporous Silica MCF-17 Supported MnxOy-Na2WO4 Catalysts. Appl. Catal. A Gen. 2017, 545, 17–23. [Google Scholar] [CrossRef]
- Gordienko, Y.; Usmanov, T.; Bychkov, V.; Lomonosov, V.; Fattakhova, Z.; Tulenin, Y.; Shashkin, D.; Sinev, M. Oxygen Availability and Catalytic Performance of NaWMn/SiO2 Mixed Oxide and Its Components in Oxidative Coupling of Methane. Catal. Today 2016, 278, 127–134. [Google Scholar] [CrossRef]
- Simon, U.; Görke, O.; Berthold, A.; Arndt, S.; Schomäcker, R.; Schubert, H. Fluidized Bed Processing of Sodium Tungsten Manganese Catalysts for the Oxidative Coupling of Methane. Chem. Eng. J. 2011, 168, 1352–1359. [Google Scholar] [CrossRef]
- Nguyen, T.N.; Nhat, T.T.P.; Takimoto, K.; Thakur, A.; Nishimura, S.; Ohyama, J.; Miyazato, I.; Takahashi, L.; Fujima, J.; Takahashi, K.; et al. High-Throughput Experimentation and Catalyst Informatics for Oxidative Coupling of Methane. ACS Catal. 2020, 10, 921–932. [Google Scholar] [CrossRef]
- Yildiz, M.; Simon, U.; Otremba, T.; Aksu, Y.; Kailasam, K.; Thomas, A.; Schomäcker, R.; Arndt, S. Support Material Variation for the MnxOy-Na2WO4/SiO2 Catalyst. Catal. Today 2014, 228, 5–14. [Google Scholar] [CrossRef]
- Ha, J.M.; Suh, D.J.; Choi, J.W.; Yoon, Y.H.; Yang, G.S.; Jeon, W. Catalyst for Oxidative Coupling of Methane, Method for Preparing the Same, and Method for Oxidative Coupling Reaction of Methane Using the Same. U.S. Patent 2013178680A1, 11 July 2013. [Google Scholar]
- Ji, S.; Xiao, T.; Li, S.; Chou, L.; Zhang, B.; Xu, C.; Hou, R.; York, A.P.E.; Green, M.L.H. Surface WO4 Tetrahedron: The Essence of the Oxidative Coupling of Methane over M-W-Mn/SiO2 Catalysts. J. Catal. 2003, 220, 47–56. [Google Scholar] [CrossRef]
- Park, L.H.; Jo, Y.R.; Choi, J.W.; Suh, D.J.; Song, K.H.; Ha, J.M. SiO2@MnO: X@Na2WO4@SiO2core-Shell-Derived Catalyst for Oxidative Coupling of Methane. RSC Adv. 2020, 10, 37749–37756. [Google Scholar] [CrossRef]
- Shi, J.; Yao, L.; Hu, C. Effect of CO2 on the Structural Variation of Na2WO4/Mn/SiO2 Catalyst for Oxidative Coupling of Methane to Ethylene. J. Energy Chem. 2015, 24, 394–400. [Google Scholar] [CrossRef]
- Yildiz, M.; Aksu, Y.; Simon, U.; Kailasam, K.; Goerke, O.; Rosowski, F.; Schomacker, R.; Thomas, A.; Arndt, S. Enhanced Catalytic Performance of MnxOy–Na2WO4/SiO2 for the Oxidative Coupling of Methane Using an Ordered Mesoporous Silica Support. Chem. Commun. 2014, 50, 14440–14442. [Google Scholar] [CrossRef] [PubMed]
- Karakaya, C.; Kee, R.J. Progress in the Direct Catalytic Conversion of Methane to Fuels and Chemicals. Prog. Energy Combust. Sci. 2016, 55, 60–97. [Google Scholar] [CrossRef]
- Thiruvenkataswamy, P.; Eljack, F.T.; Roy, N.; Mannan, M.S.; El-Halwagi, M.M. Safety and Techno-Economic Analysis of Ethylene Technologies. J. Loss Prev. Process Ind. 2016, 39, 74–84. [Google Scholar] [CrossRef]
- Huang, C.H.; Tan, C.S. A Review: CO2 Utilization. Aerosol Air Qual. Res. 2014, 14, 480–499. [Google Scholar] [CrossRef]
- Song, C. Global Challenges and Strategies for Control, Conversion and Utilization of CO2 for Sustainable Development Involving Energy, Catalysis, Adsorption and Chemical Processing. Catal. Today 2006, 115, 2–32. [Google Scholar] [CrossRef]
- Chauvy, R.; De Weireld, G. CO2 Utilization Technologies in Europe: A Short Review. Energy Technol. 2020, 8, 2000627. [Google Scholar] [CrossRef]
- Hepburn, C.; Adlen, E.; Beddington, J.; Carter, E.A.; Fuss, S.; Mac Dowell, N.; Minx, J.C.; Smith, P.; Williams, C.K. The Technological and Economic Prospects for CO2 Utilization and Removal. Nature 2019, 575, 87–97. [Google Scholar] [CrossRef] [PubMed]
- Radaelli, G.; Rafique, H.A.; Vuddagiri, S.; Scher, E.C.; McCormick, J.; Cizeron, J.; Patel, B.; Lakhapatri, S. Efficient Oxidative Coupling of Methane Processes and Systems. U.S. Patent Application 2016/0272557A1, 22 September 2016. [Google Scholar]
Publisher’s Note: MDPI stays neutral with regard to jurisdictional claims in published maps and institutional affiliations. |
© 2021 by the authors. Licensee MDPI, Basel, Switzerland. This article is an open access article distributed under the terms and conditions of the Creative Commons Attribution (CC BY) license (https://creativecommons.org/licenses/by/4.0/).