Abstract
The design of an indicator electrode made of carbon paste of ergonomic design for the voltammetric determination of a number of substances of inorganic and organic origin is described. The electrode is made of a graphite rod with a diameter of 6 mm and a length of 70 mm, covered with insulation, and having a cavity filled with an electroactive carbon-containing material at the end of the rod. The characteristic features of the proposed electrode—the insulating shell of the housing made of shrink tubing and the electrolytic coating of the cavity surface with a conductive metal film—make it possible to simplify the design of the electrode and increase mechanical strength, extend the service life of the electrode, and also provide the possibility of volumetric and surface modifications with an economical consumption of modifying reagents. Examples of the use of an indicator electrode modified with mercury and bismuth films and volumetrically modified with manganese dioxide nanoparticles in the analysis of food, beverages, natural objects for the content of heavy metal ions, pharmaceuticals for the content of hydrogen peroxide, and vitamins of groups B and C are given. The simplicity of making the developed indicator electrode from carbon paste and its mechanical strength and cost-effectiveness when using expensive and scarce modifiers allow us to recommend it for use in voltammetric analysis and the creation of various biosensor systems.
1. Introduction
Voltammetry as a method of analysis has, over the years of its existence, followed a long evolutionary path full of hopes, disappointments, and triumphs. Conceived at the beginning by J. Geyrovsky as a polarographic method for the determination of heavy metals using a mercury-dripping electrode, voltammetry has now acquired modern features and has taken its place among the physico-chemical methods of analysis, making it a strong competitor [1,2].
This was facilitated not only by the expansion of the theoretical foundations of the method, but also by original engineering and technical solutions. So, the dripping mercury electrode was replaced by solid electrodes, first mercury film, and then modified electrodes [3,4]. The application design of voltammetric analysis has also changed; devices have appeared that provide various modes of potential scanning: linear, square-wave, differential-pulse, and cyclic, which has significantly expanded the scope of the method, including the determination of microconcentrations of substances of inorganic and organic origin.
At the same time, the main problem of electroanalytics remains the possibility of obtaining a stable and reproducible result under the selected conditions of removing the voltammogram of the analytical signal.
Considering the fact that the formation of the electrode response in the electrochemical system occurs at the interface of the electrode-solution phases, the success of measuring the analytical signal, which is determined by its magnitude and reproducibility, will depend on the correct choice of the electrode, i.e., the nature of the material, the state of its surface, the presence of modifying substances, etc. As a result, considerable attention should be paid to the material of the electrodes, methods of their chemical and physical modification, methods of regeneration, and expansion of the working area of potentials.
From this point of view, carbon-containing materials, for example, graphite and glass carbon, are excellent materials for the construction of electrodes for voltammetric analysis. It is the combination of mechanical, chemical, and electrical properties of these materials that makes it possible to create electrodes with specified sensitivity and selectivity parameters [3].
The 60–70 years of the last century were the time of the creation and widespread use of carbon paste electrodes. The main idea in creating carbon-paste electrodes was to produce an electroactive paste consisting of a mixture of graphite powder and binder [5], which, as a rule, uses non-drying oils [6]. This paste was filled with a glass or teflon tube, inside of which there was a metal piston that simultaneously acted as a piston for pushing a portion of carbon-containing paste out of the tube and an electrical contact for connection to the measuring device.
Modification of the surface of the carbon-paste electrodes with a mercury film obtained by the ex- or in situ method made it possible to abandon the dripping mercury electrode.
Since then, many designs of carbon paste electrodes have been proposed for various variants of voltammetric analysis [7]. These electrodes have found their application in the analysis of a number of inorganic and organic substances. An example is a recent review [8].
However, most of these devices, despite satisfactory metrological parameters of analytical signal measurements, had a limited service life, and the electroactive paste was prepared almost daily. This, especially in cases of manufacturing and using modified electrodes, leads to overspending on scarce and expensive modifiers that are part of carbon-containing pastes.
The aim of this work is to present a new ergonomic design of a carbon-paste electrode for voltammetric analysis and to demonstrate its capabilities.
2. Experimental Section
The main task that the authors of this article faced was to simplify the design of solid electrodes designed for voltammetric measurements, increase the reliability of their operation, and expand the range of carbon-containing composite materials with economical consumption of the modifiers included in their composition.
An electrode was manufactured, the design features of which are described in detail in our previous works [9,10]. As a prototype, when applying for a patent, we used patent No. 1315884 USSR [11], in particular, the second option for manufacturing an indicator electrode.
The carbon-containing paste was prepared by mixing fine graphite powder obtained by grinding the same material as the blanks themselves with molten paraffin in a ratio of 50:50% (wt.).
Volumetric modification of the composite mixture, in accordance with the task, was carried out by introducing a modifier reagent into the molten carbon-containing paste with thorough mixing.
The molten modified carbon-containing mass was placed in the hole of the electrode blank. At the same time, the volume of paste placed in the well is only 0.05–0.1 cm3. The electrochemical behavior of the manufactured electrodes in the presence of the analyzed substances was studied by removing voltamperometric curves in a glass 3-electrode cell using a universal polarograph PU-1 and a potentiostat-galvanostat P-40X.
3. Results and Discussion
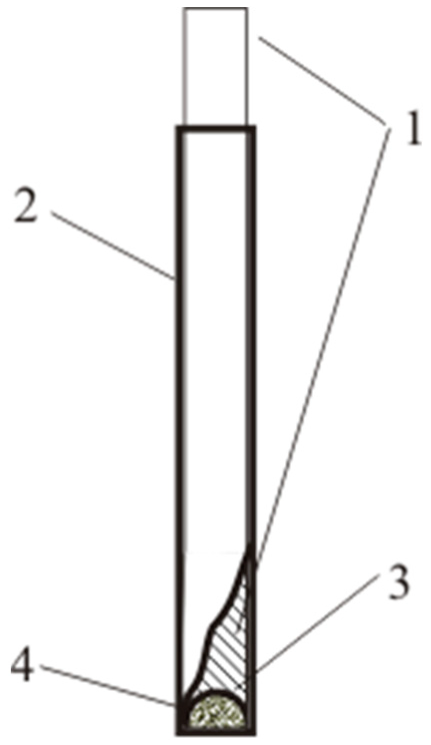
Figure 1 shows the proposed electrode.
Figure 1.
Coal paste electrode for voltammetric analysis. 1—Graphite rod electrode housing; 2—Insulating sheath from heat shrink tube; 3—Metal film electrolytically deposited on the surface of the hole; 4—Electroactive carbon-containing composition.
A distinctive feature of the voltammetric sensor proposed by us is the absence of moving parts in the form of a piston pushing out the paste, constriction rings, and gaskets, which are present in the prototype [11]. This clearly indicates a simplification of the design. The mechanical strength of the electrode is provided by a reinforcing shrink tube, which is also an insulating material. The presence of a hole for the carbon paste at the end of the electrode with a volume of only 0.05 mL makes it possible to economically consume the modified carbon-containing composite material, which is especially valuable when choosing and optimizing the method of modifying the surface or volume of the carbon paste electrode. At the same time, the electrical resistance of such an electrode is significantly less than that of others used in voltammetry, which makes it possible to broadly measure the current range of the measuring device. These facts determine the ergonomics of the proposed electrode.
The efficiency of the electrode and the possibility of its use in the analysis of inorganic and organic substances are illustrated by the following examples.
Example 1. Determination of a group of heavy metals by the inversion stripping voltammetry method from a carbon paste electrode modified with a mercury film.
The developed mercury-film graphite electrode was used to determine cadmium, lead, and copper ions in environmental objects, beverages, and food products using the additive method. Preparation for the analysis of samples was carried out in accordance with GOST 33824-2016 and GOST 31866-2012.
Table 1 shows some of the results of the analysis.
Table 1.
The results of the determination of Cd, Pb, and Cu in food, soil, and natural waters by inversion stripping voltammetry (n = 3; p = 0.95; background 0.2 M HCl + 10−4 M Hg+2, Eaccum. −1.1 V, τ = 20 s, sweep speed 50 mv/s).
The detection limit for these heavy metals, as for most inversion stripping voltammetry methods, is n × 10−8 – n × 10−9 mol/dm3 [12]. With an increase in the accumulation time and the scanning speed of the potential, the detection limit will decrease [13]. As can be seen from Table 1, only in a few cases is there an excess of permissible standards for cadmium and lead, which is most likely due to the anthropogenic impact on the environment in these provinces.
Example 2. Making an electrode made of carbon paste modified with a bismuth film.
The electrode is made similarly to the one described above, except that the coating of the surface of the well was carried out by applying a silver film by electrolysis.
Modification by bismut was carried out by the ex situ method from a 0.001 m bismuth (III) nitrate solution in 0.2 M hydrochloric acid at –0.5 V relative to the silver chloride electrode for 5 min (300 s). The resulting electrode was washed three times with bi-distilled water. In this case, the bi-modified electrode was coated with a dark matte film.
Figure 2 shows a voltammogram of a modified electrode in a solution containing cadmium and lead ions.
Figure 2.
Voltammograms showing the dependence of the analytical signal on the increasing contents of Cd2+ and Pb2+ in model solutions with concentrations of 25, 50, 75, 100, 125, and 150 μg/dm3. Conditions: Eelect. = –1.2 B; accumulation time 60 s; potential sweep rate ν = 50 mV/s.
The results of the study are shown in Table 2.
Table 2.
Evaluation of the accuracy of determining the concentration of Cd2+ and Pb2+ ions in model solutions.
The conducted studies have shown the fundamental possibility of using the proposed carbon-paste electrode, whose surface is modified with a bismuth film, in the analysis of real objects.
Example 3. Determination of vitamin B2 using a carbon paste electrode modified by a bismuth film.
The same Bi-modified electrode was used to determine vitamin B2 using the cyclic voltammetry technique [14]. To confirm the practical application of the developed method, a comparison was made between the experimental results obtained and the declared vitamin B2 content given in the description of the pharmaceutical. Three samples of vitamin B2 were examined:
Sample A: Multivitamin syrup for children, PIKOVIT®, LLC “KRKA PHARMA”, containing 1 mg B2 in 5 mL.
Sample B: Riboflavin-mononucleotide solution for injection, 1% 1 ml, Pharmstandard-Ufa Vita, Russia.
Sample C: Bentavit Valenta Pharmaceuticals JSC (Russia) in tablets of 100 mg vitamin B2.
The control method was the fluorescent method for determining B2.
Table 3 shows the results of the determination of vitamin B2 in these samples.
Table 3.
The results of the determination of vitamin B2 in the pharmaceutical products of a voltammetric with Bi-modified electrode and fluorometric methods *.
As can be seen, both methods have shown reliable results for analytical parameters. The values of the relative standard deviation s for the mean value of the three measurements ranged from 0.247 to 0.833 when quantifying riboflavin using the proposed sensor and from 0.145 to 1.07 using the fluorescence method, demonstrating the good accuracy of these methods.
Example 4. The use of a carbon paste electrode, volumetrically modified with manganese dioxide, in the determination of riboflavin (vitamin B2). In the work, methodological approaches and modes of voltammogram removal were used, as indicated in [15].
The electrode was prepared as described above. Volumetric modification of the electrode with manganese dioxide was carried out by introducing 10% of the total mass of a mixture of finely ground MnO2 into a molten mixture of graphite powder and paraffin [16]. Cyclic voltammograms were taken without mixing the solution at a potential scan rate of 0.01–0.5 V/s. To do this, voltammograms of the background electrolyte with a certain pH value were first taken. Then a standard sample with a known riboflavin content or an analyzed sample was introduced into the electrochemical cell. Voltammograms were recorded in the scanning range of potentials −0.5–+0.5 V. Differential pulse voltammetry with optimized parameters in the potential range from −0.5 V to +0.3 V was used for quantitative evaluation.
Figure 3 and Figure 4 show cyclic and differential pulse voltammograms in the presence of increasing amounts of vitamin B2.
Figure 3.
Cyclic voltammograms of 0.1 mM riboflavin in a Britton–Robins buffer solution with pH 2 on a carbon-containing electrode modified with manganese dioxide at different scanning speeds. Inset: dependence of the magnitude of the peak current of oxidation of vitamin B2 as a function of v1/2.
Figure 4.
Differential-pulse voltammograms of vitamin B2 at various concentrations on a carbon-containing electrode modified with manganese dioxide. Conditions: background electrolyte—Britton-Robins buffer with pH 2; differential pulse mode; potential sweep speed of 100 mV/s. Inset: dependence of the analytical signal I, μA, on the logarithm of the concentration of vitamin B2, mmol/L.
Example 5. Determination of hydrogen peroxide using a carbon paste electrode volumetrically modified with manganese dioxide nanoparticles.
The paper [17] describes the process of synthesizing manganese dioxide nanoparticles and their modification of the volume of coal paste. The reaction was used as a precursor for the production of MnO2 nanoparticles:
3MnCl2 + 2KMnO4 + 2H2O = 5MnO2 + 2KCl + 4HCl
The proof of successful modification was microscopic and X-ray dispersion studies, which showed the production of MnO2 nanoparticles with sizes of 20–55 nm.
Its electrochemical behavior in the presence of hydrogen peroxide was studied on a manufactured MnO2/C composite electrode. Cyclic voltammograms were taken in the range of −0.1–+1.0 V in buffer solutions with different pH values at different potential scanning speeds.
The results of the experiment are illustrated in Figure 5 and Figure 6, which show cyclic voltammograms on a MnO2/C composite electrode and testing of this electrode in the amperometric mode for determining hydrogen peroxide.
Figure 5.
Cyclic voltammograms on a MnO2/C composite electrode in a background solution (0.25 M phosphate buffer with a pH of 7.0) are a dashed curve in a 0.5 mM hydrogen peroxide solution. Scanning speed: 50 mV/s.
Figure 6.
Amperometric response observed on the MnO2/C composite electrode with the sequential introduction of 0.25 mM H2O2 additives into the background electrolyte at a holding working potential of +0.72 V relative to the saturated Ag/AgCl electrode.
The linear response of the electrode signal is observed in the range of concentrations of hydrogen peroxide (0.1–3.0 mM). The detection limit calculated by the 3σ method, taking into account the slope of the graph, is 0.03 mM.
Thus, the examples given prove the operability of the proposed electrode for the determination of inorganic and organic substances in a wide range of detectable contents using various voltammetry techniques. At the same time, the electrode has a simple design, is reliable in operation, and is economical when using modifying agents.
4. Conclusions
A carbon-paste electrode of ergonomic design has been developed for conducting voltammetric measurements. The characteristic features of the manufactured electrode are that its body is made of a graphite rod of spectral purity and is covered with an insulating shell made of a shrink tube. At the end of the rod, there is a cavity of a hemispherical or conical shape, the surface of which is electrolytically coated with a copper or silver film that improves the conductive properties of the electrode and the adhesion of the electroactive carbon-containing paste filling it with the electrode body.
The positive effect is achieved by simplifying the design of the electrode, improving mechanical strength, extending service life, and allowing for volumetric and surface modification with economical consumption of reagents and modifiers.
The electrode has been tested in various versions of voltammetry to determine a number of substances of inorganic and organic origin, which have shown that the metrological parameters of measurements in sensitivity and reproducibility of results are not inferior to those described in the literature or are in agreement with them.
Author Contributions
The idea and writing of the paper, D.A.; Sensor manufacturing and experiment, S.A.; Experiment and results processing, Isakova, D.I. All authors have read and agreed to the published version of the manuscript.
Funding
This research received no external funding.
Institutional Review Board Statement
Not applicable.
Informed Consent Statement
Not applicable.
Data Availability Statement
Data are contained within the paper.
Conflicts of Interest
The authors declare no conflict of interest.
References
- Budnikov, G.K.; Evtyugin, G.A.; Maystrenko, V.N. Modified Electrodes for Voltammetry in Chemistry, Biology and Medicine; Binom. Laboratoriya znaniy: Moscow, Russia, 2012; 416p. (In Russian) [Google Scholar]
- Scholz, F. (Ed.) Electroanalytical Methods. Theory and Practice; Binom. Laboratoriya znaniy: Moscow, Russia, 2006; 326p. (In Russian) [Google Scholar]
- Isakova, D.T.; Aronbaev, S.D.; Aronbaev, D.M. Modified carbon-containing electrodes in electroanalysis: Past, present and future. Austr. J. Tech. Nat. Sci. 2022, 36–41. [Google Scholar] [CrossRef]
- Švancara, I.; Vytřas, K.; Barek, J.; Zima, J. Carbon Paste Electrodes in Modern Electroanalysis. Anal. Chem. 2001, 31, 311–345. [Google Scholar] [CrossRef]
- Budnikov, G.K.; Maystrenko, V.N.; Murinov, Y.I. Voltammetry with Modified Ultramicroelectrodes; Nauka: Moscow, Russia, 1994; 239p. (In Russian) [Google Scholar]
- Nechepasova, D.I. Classification of fat oils. Int. J. Exp. Educ. 2014, 1–2, 82–183. (In Russian) [Google Scholar]
- Budnikov, G.K. Fundamentals of Modern Electrochemical Analysis; Mir. Binom. Laboratoriya znanii: Moscow, Russia, 2003; 592p. (In Russian) [Google Scholar]
- Yang, Z.; Zhang, X.; Guo, J. Functionalized Carbon-Based Electrochemical Sensors for Food and Alcoholic Beverage Safety. Appl. Sci. 2022, 12, 9082. [Google Scholar] [CrossRef]
- Aronbaev, D.M.; Aronbaev, S.D.; Normative, G.Z.; Isakova, D.T. Indicator carbon-paste electrode for voltammetric analysis. Ind. Lab. Diagn. Mater. 2020, 2, 5–14. [Google Scholar] [CrossRef]
- Aronbaev, D.M.; Aronbaev, S.D.; Narmayeva, G.Z.; Nasimov, A.M.; Vasina, S.M.; Isakova, D.T.; Zhuraeva, S.B. Electrode for Voltammetric Analysis. Patent of Uzbekistan No. FAP 01505, G01N 27/48. Publ.06.30.2022. Foydali Model. Rasm. Ahb. 2020, 6, 86. (In Russian) [Google Scholar]
- Troshenkov, A.M.; Kamenev, A.I. Coal-Paste Electrode for Voltammetric Analysis. Patent USSR No. 1315884. G01N 27/48, 6 July 1987. (In Russian). [Google Scholar]
- Dedkova, D.A.; Lukashov, S.V. Investigation of parameters of voltammetric determination of heavy metals in aqueous solutions. Int. J. Appl. Fundam. Res. 2021, 82–87. Available online: https://applied-research.ru/ru/article/view?id=13335 (accessed on 8 November 2023). (In Russian).
- Yang, F.; Liu, P.; Hao, T.; Guo, Z. Fast-scan anode Inversion Voltammetry for Pb(II) detection at the Picomolar Level. Electrochemistry 2019, 55, 358–365. [Google Scholar]
- Aronbaev, S.D.; Narmaeva, G.Z.; Aronbaev, D.M. Study of the behavior of a carbon-graphite electrode modified with a bismuth film in the voltammetric determination of vitamin B2. Univers. Him. Biol. Elektron. Nauchn. Zhurn. 2019. Available online: http://7universum.com/ru/nature/archive/item/6974 (accessed on 8 November 2023). (In Russian).
- Mehmeti, E.; Stanković, D.; Chaiyo, S.; Švorc, L.; Kalcher, K. Manganese dioxide-modified carbon paste electrode for voltammetric determination of riboflavin. Microchim. Acta 2016, 183, 1619–1624. [Google Scholar] [CrossRef] [PubMed]
- Aronbaev, D.M.; Aronbaev, S.D.; Narmaeva, G.Z.; Isakova, D.T. Synthesis and study of the nanocomposite MnO2/C. Austr. J. Tech. Nat. Sci. 2020, 40–46. [Google Scholar] [CrossRef]
- Aronbaev, D.; Aronbaev, S.; Narmaeva, G.; Vasina, S.; Isakova, D.; Shertaeva, A. Electrode on the Basis of Spectral Coal Modified by Nanoparticles of Manganese Dioxide and Its Application for Determination of Hydrogen Peroxide international. J. Innov. Res. Sci. Eng. Technol. IJIRSET 2020, 9, 9802–9811. [Google Scholar]
Disclaimer/Publisher’s Note: The statements, opinions and data contained in all publications are solely those of the individual author(s) and contributor(s) and not of MDPI and/or the editor(s). MDPI and/or the editor(s) disclaim responsibility for any injury to people or property resulting from any ideas, methods, instructions or products referred to in the content. |
© 2023 by the authors. Licensee MDPI, Basel, Switzerland. This article is an open access article distributed under the terms and conditions of the Creative Commons Attribution (CC BY) license (https://creativecommons.org/licenses/by/4.0/).





