Next Article in Journal
Roles of Deep Learning in Optical Imaging
Previous Article in Journal
An Asymmetric Optical Cryptosystem Using Physically Unclonable Functions in the Fresnel Domain
 
 
Font Type:
Arial Georgia Verdana
Font Size:
Aa Aa Aa
Line Spacing:
Column Width:
Background:
Proceeding Paper

Monitoring the Condition of a Patient with Parkinson’s Disease †

Department of Computer Science and Engineering, Saint Petersburg Electrotechnical University LETI, St. Petersburg 197022, Russia
*
Author to whom correspondence should be addressed.
Presented at the 15th International Conference “Intelligent Systems” (INTELS’22), Moscow, Russia, 14–16 December 2022.
These authors contributed equally to this work.
Eng. Proc. 2023, 33(1), 10; https://doi.org/10.3390/engproc2023033010
Published: 23 May 2023
(This article belongs to the Proceedings of 15th International Conference “Intelligent Systems” (INTELS’22))

Abstract

Currently, interest in the development of Internet-of-Things technologies is increasingly penetrating the field of clinical medicine. This paper provides an overview of the use of Internet-of-Things technologies in medical practice using the Scopus database of publications. The classification of publications on the topic of research directions with promising development trends has been performed. With this in mind, the concept of the architecture of a system for monitoring the condition of a patient with Parkinson’s disease is presented. The necessary hardware and software solutions have been developed, taking into account the needs in order to more effectively adjust treatment and monitor the course of the disease. To more accurately determine the state of progression of the patient’s disease, tests have been designed and developed to assess overall emotional and physical well-being. For the most effective correction and control of drug therapy, a prototype of a drug administration device with four compartments for a drug has been designed, each compartment of which is individually controlled by a specially developed Bluetooth data transmission protocol. Access to each compartment is individual, which ensures the versatility of the device for taking several medications throughout the day. The practical application of the solution has also shown the relevance of its use in the task of studying the course of Parkinson’s disease as well as for monitoring the condition of a patient with existing concomitant diseases and the degree of their influence on the course of the underlying disease.

1. Introduction

According to the World Health Organization, 35 per 100,000 people suffer from Parkinson’s disease in the world. According to experts, this figure may increase and represents an acute social and economic problem due to the high cost of treatment, disability and the decrease in the quality of life. On the other hand, the use of E-health technology is becoming more common in the field of healthcare and clinical research due to the convergence of mobile and wireless technologies, which allows continuous monitoring of chronically ill patients, better care and feedback, shorter hospitalization time, increased medical capacity and reduced cost of medical services.
We conducted a search for the publication activity of research aimed at E-health in the Scopus database and analyzed a representative sample of publications based on 10,668 keywords and 499 publications over the period of 2016–2021 using VOSviewer software, which allowed us to identify the main areas of IoT in medicine.
Direction Health care: allows you to trace the following associative links relevant to the protection of public health.
Direction Internet in medicine (number of entries—643 publications): concerns the cycle of organizational activity and interaction for research, storage and transfer of medical data. The following sections were highlighted in publications related to the Internet:
Direction Telemedicine: the use of computer and telecommunication technologies for the exchange of medical information. It is one of the fastest growing segments of healthcare in the world. The following sections are highlighted:
The main directions of publication activity and analysis of relevant works: Some studies were grouped according to a specific feature, e.g., wearable devices, reviews in the field of IoT development and technological innovations in medicine, possible solutions and implemented projects and systems.
Consider research related to wearable devices [1,2,3]: The paper [1] discusses consumer trends in wearable electronics, commercial and new devices, as well as production methods. In [2], it is proposed to look at skin-like electronics by reviewing several recent reports on various strategies for using materials and methodologies for integrating stretchable conductive and semiconductor nanomaterials that are used as electrodes and active layers in stretchable sensors, transistors, multiplexed matrices and integrated circuits. The first part of the review [3] briefly discusses issues related to the use of smart wearable devices, including technologies, users, technology-related activities and the consequences of using technologies. The second part of this review is devoted to the risks of using smart wearable devices.
Works that address the areas of IT development and technological innovation [4,5,6,7]: The review [4] describes four main areas of interest for respiratory care: pulse oximetry, pulmonary ventilation, activity tracking and air quality assessment. While some issues still need to be addressed, smart wearable technologies provide unique opportunities for the future of personalized respiratory medicine. While some challenges remain to be solved, intelligent wearable technologies offer unique opportunities for the future of personalized respiratory medicine. The article [5] analyzes the state of the Internet of Things in the medical environment, demonstrating an expanded range of healthcare applications based on IoT. Considerations are presented regarding data-mining applications, such as forecasting, classification and clustering of risks, which are considered fundamental problems for ensuring the accuracy of assistance processes. Digital innovations are changing medicine, and hemodynamic monitoring will not be an exception. The study [6] describes technological and digital innovations that are likely to change hemodynamic monitoring over the next 5–10 years. The paper [8] provides an overview of the common problems faced by wearable technology in the transition from a new device to an effective, functioning and reliable clinical tool for modern medicine. The publication [7] presents the results of a study focused on the analysis of modern definitions of the digital double (DT), a study of the main characteristics that DT should possess, and the study of areas in which DT applications are currently used.
Research in the field of home health care [9,10]: The article [9] examines home healthcare technologies that are currently being used to improve this situation by reminding users about medication schedules, remotely monitoring and updating new patient medical data, which can be performed by a doctor via the Internet. The conclusion of the work [10] shows that the use of a wearable monitoring system and remote monitoring of health status in everyday life improved diabetes control in middle-aged employees of the company. Research aimed at solutions or at finding solutions to improve IoT systems in medicine includes that addressing architecture [11,12], hardware [13,14], projects and systems [15,16].
Publications describing architectural solutions: In [11], the structure of a cloud healthcare system based on digital-twin healthcare (CloudDTH) is proposed. CloudDTH aims to achieve interaction and convergence between medical physical and virtual spaces. Accordingly, a new concept of digital-twin healthcare (DTH) is proposed and discussed. An energy-efficient architecture of the Internet of Medical Things “from fog to cloud” is proposed in [12] to optimize energy consumption. The proposed architecture uses Bluetooth-enabled biosensors since Bluetooth technology is energy efficient and also helps to enable sleep and wake modes.
Works describing hardware components for the implementation of systems: In [13], an attempt is made to study the hardware components necessary for the development of wearable devices that are used in the developing context of the Internet of Medical Things (IoMT). This means that they can be used to monitor diseases by capturing biosignals. From a practical point of view, the medical health monitoring system in hospital wards was developed using a CC2430 microcontroller, a human information sensor, as well as microelectronics and modern wireless communication technologies. The results of the experiment confirmed the reliability of the network node and the accuracy of data transmission. It is concluded that the medical monitoring system basically meets the design requirements set out in [14].
Research aimed at describing the development and implementation of systems: One paper [10] describes in detail the development and implementation of a system that improves commercial CGMS by adding Internet-of-Things (IoT) capabilities to them, which allows remote monitoring of patients and, thus, can warn users about potentially dangerous situations. The proposed system uses smartphones to collect blood-glucose values from CGM and then sends them to the remote monitoring system. A practical example presented in [16] concerns the design of a WSN (Wireless Sensor Network) in the concept of the Internet of Things in terms of the service life of the system. A hierarchical routing methodology was approved and showed energy efficiency. Simulation results showed that the chosen method prolongs the service life of the WSN in comparison with other clustering schemes studied.
The presented review shows that the patient’s interaction with electronic resources and timely response to deviations from indicators makes it possible to promptly adjust the prescribed treatment. However, these works do not solve the problem of operational control over the condition of a patient with Parkinson’s disease with the possibility of therapy correction and require the introduction of a software and hardware platform for calculating the indicators necessary for remotely monitoring the dynamics and prognosis of the patient’s condition, which makes the development relevant.

2. System Architecture Concept

Means of remotely monitoring involve assessment of the patient’s condition outside the medical institution; therefore, there is a need to endow the software and hardware complex with the following functions: collection, systematization and storage of individual indicators of the patient’s condition; analysis and prediction of the patient’s condition based on the data obtained; and correction of the received therapy.
Using this approach, it is possible to present the stages of parameter measurement and assessment of the patient’s current condition in the form of the following steps:
  • Determination of the necessary minimum of indicators of the functioning of the body systems from the set X = ( x 1 ,   x 2 ,   ,   x n ) critical for each disease;
  • Evaluation of the current indicator x i ( t i ) of the patient’s condition through direct measurements;
  • Determination of dynamic x i ( t i 1 ,   t t ) changes in the indicators for a given period of time;
  • Trend calculation T t indicator x i ( t i ) to eliminate high-frequency noise ξ ( t i ) and random variations e ( t i ) ;
  • Verification of criteria for deviation from the physiological state by evaluating deviations from the trend T ( t i 1 ,   t t ) and making a decision about the presence of an exacerbation by comparing the obtained indicators with the threshold ones according to formal criteria while checking the correctness of the obtained values;
  • Formation of a control effect according to changes in a group of parameters by correcting the therapy.
Observation of changes in parameter values over time allows us to obtain time series reflecting the dynamics of the patient’s conditions. However, it should be borne in mind that the formation of parameters for each indicator and the construction of a forecast requires large time resources and is complicated by the need to take into account deviations of the indicator from the average value.
The modern development of remote-monitoring technologies should be based on the individual characteristics of the patient (personalized medicine), assessment of the quality of the patient’s registration of the obtained indicators and methods of evaluating the results obtained. To implement this approach, a hardware and software complex is proposed, consisting of a device for measuring indicators and an information system that provides storage, processing and analysis of indicators, developed in accordance with the concept of a service-oriented architecture and implemented using services. The architecture of the platform consists of the following levels:
Client level: allows systematization of collection and provides measurement of patient indicators on a sensor or mobile device or centrally on a server.
Corporate level: allows authentication of the user and evaluation of his current state.
The level of integration of the system processes: interaction between corporate levels of various systems is provided.

3. Practical Implementation for Monitoring the Condition of a Patient with Parkinson’s Disease

Parkinson’s disease is a disease of the nervous system, consisting mainly in tremors—involuntary and uncontrolled movements of the musculoskeletal system. The disease is common: from 1% of people aged 60 years and up to 4% of people over the age of 85 years are affected [8]. Parkinson’s disease is considered incurable, so all means are aimed at relieving symptoms. An urgent and important task is to monitor the patient’s condition, which includes: assessment of general well-being, marking of medication intake, manifestation of dyskinesia and performing tests characterizing the dynamics of the disease. This allows doctors to adjust the course of treatment and medication intake; to investigate the behavior and nature of the course of the disease, it is advisable to purposefully collect these data using a mobile application that implements the functionality necessary for data collection.
The use of the mobile application allows users to generate a report on the patient’s condition, which opens by default upon successful identification or when the application is launched in the case of completed identification, as shown in Figure 1.
The user can make a report of his general well-being using the buttons “Good”, “Normal” and “Bad”, as well as send verification of taking medications or manifestations of dyskinesia by clicking on the buttons “Medications taken” and “Dyskinesia”, respectively. In the dialog that appears by clicking, the user can specify whether the action was performed at that moment or not. In the case of refusal, the user is asked to choose the exact time. Both actions work identically to each other, so Figure 2 and Figure 3 show the result of an attempt to send verification of taking medications.
The user forms a description of his own well-being in as much detail as possible in the form of various tests presented in Figure 4.
According to the parameters studied during testing, it is possible to determine the accuracy of typing on the phone’s keyboard keys, the speed of hand work and the most frequent typos, as well as the accuracy, time and number of clicks. The collected data allow us to assess the degree and severity of hand tremors. However, if necessary, the user can describe his own well-being by voice. When passing the test, audio samples are recorded in PCM format (pulse width modulation, i.e., raw data from the microphone), which are then converted to WAV (WAVE) format using a specially written algorithm by adding a special header to the beginning of the file with a description of the audio track parameters. According to the audio file, the emotional state of a person and his well-being and mood are further determined.
Events are time-configurable notifications on the user’s mobile phone that arrive at a strictly specified time. Note the following types of events: taking medications (daily), checking the condition (daily), performing tests (daily) and visiting a doctor (once). The “Doctor’s visit” event requires the choice of the date and time of the visit and also has the ability to send data about the course of the disease to the doctor’s email.
Competent and timely medication intake helps to improve the overall effectiveness of the course of medication. Taking medications requires entering the time of taking the medication and the duration of taking the medication (Figure 5 and Figure 6). In addition, the user, together with the hardware component of the complex, can configure the module compartment with the medicine.
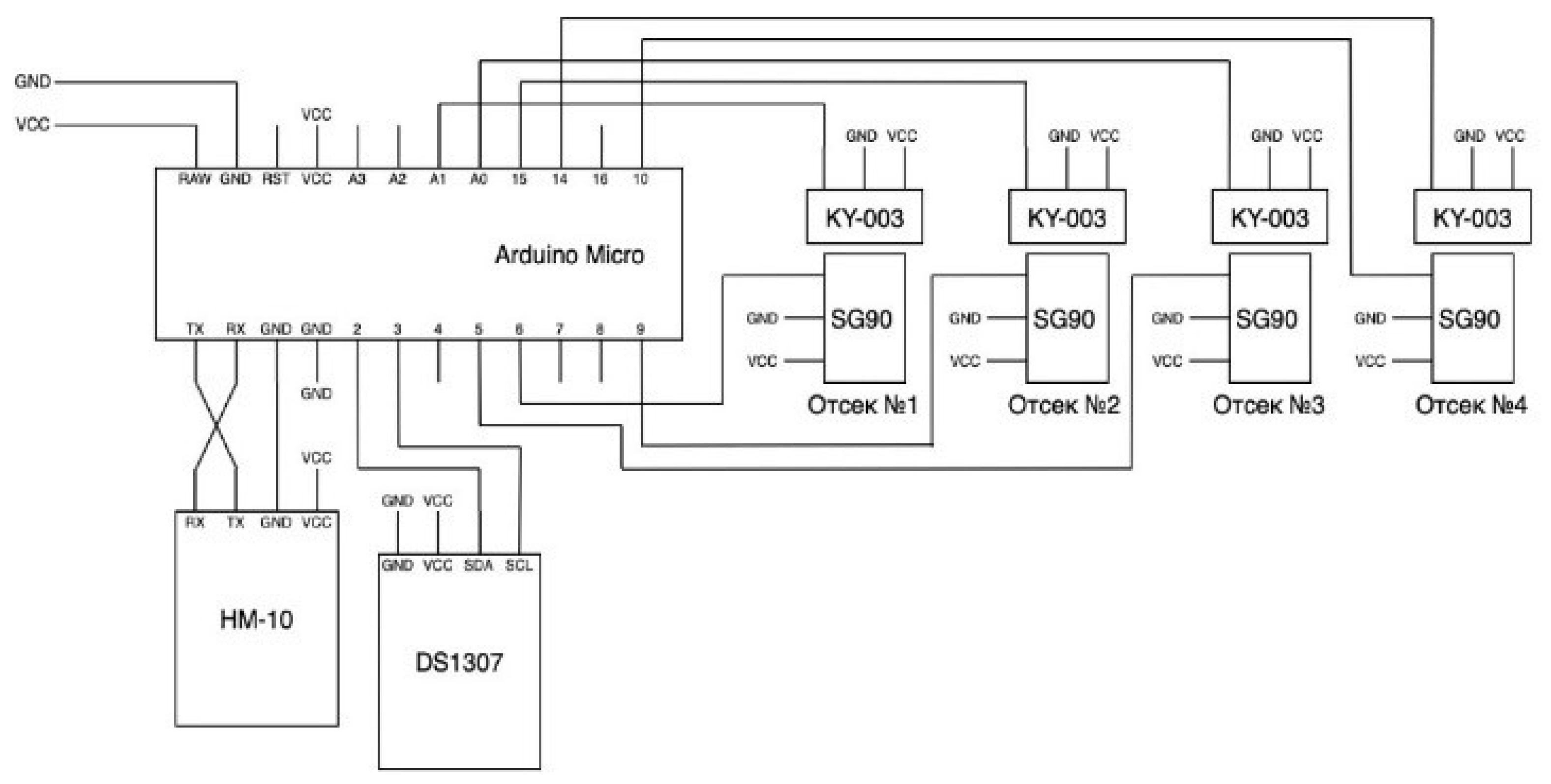
To monitor the use of medicines, a device has been developed that can store medicines in itself and communicate via Bluetooth with a mobile phone to configure and control physical access to the medicine, as well as notify of successful medication intake. The device is built on the basis of the Arduino platform. An ATmega32u4 microcontroller is used on an Arduino Micro board. The device uses a real-time RTC module for non-volatile recording of the current time, servos to restrict user access to compartments with medicines and Hall sensors to determine the position of each compartment (open or closed). The device is powered by a 9V battery connected to the VCC and GND power pins.
Physically, the device is a pillbox with four compartments for medicines. Each compartment has a hook that hooks the servo rotor in closed mode. There is a neodymium magnet on the hook, which acts with its magnetic field on the Hall sensor located in the compartment. To open the compartment, voltage needs to be applied to the corresponding servo, which will move its rotor so that the hook does not cling to it, after which the compartment can be physically opened. When the compartment is opened, the hook moves upwards, and the magnetic field of the magnet attached to it is removed from the sensitivity zone of the Hall sensor (Figure 7).
The microcontroller is programmed in the Arduino IDE environment to work with compartments, the opening of which is perceived as events. An event is an abstract unit of work that occurs at a strictly defined time and contains the time of occurrence, its type (open or close a compartment) and the number of the compartment. In the loop, the program compares the current time with the time of each event. When an event occurs, it is processed, i.e., opening or closing of the corresponding compartment, after which the event is overwritten in memory with a time shift, depending on the type of event, either on the next day or for the duration of the reception, while its type changes. Bluetooth protocol is used to transmit event data to a mobile device. Connection to the HM-10 module takes place through the FFE0 service, which has the characteristic of reading and writing FFE1—it is used for data transmission. In the process of event processing, a certain set of data is recorded, which is read by a microcontroller (or a mobile phone) for its subsequent processing. When Bluetooth is turned on and the application is opened, devices are searched for a few seconds to detect the HM-10. Upon successful connection, the application sends a time update command to the module to correct possible inaccuracies of the real-time module (as a rule, such modules, depending on the cost, may lag by 1–2 s every few days). In case of successful execution of the command, the module sends a command to the phone to request events that the application stores in the phone’s memory.
On the event screen (Figure 6), the user can create an event of the type “Taking medications”. If there is a Bluetooth connection, such events are generated into a command that is sent to the device. Any change in the list of events of this type leads to the re-formation and sending of the command. With the Bluetooth module connected, medication intake is monitored and taken into account. For example, when opening and then closing one of the compartments, the device sends the appropriate command to the application, which is perceived as a successful medication intake and is indicated by a similar manual click on the “Medications taken” button. Thus, the drug intake control system automates and monitors the intake of medications, allowing the patient not to mark the intake manually.

4. Conclusions

The practical application of the complex has also shown the relevance of its use in the task of studying the course of Parkinson’s disease, as well as for monitoring the condition of a patient with existing concomitant diseases and the degree of their influence on the course of the underlying disease. It is advisable to include the development of methods for constructing a digital double of the patient and the formation of methods for predicting the course of the disease for further research.

Author Contributions

Conceptualization, methodology and formal analysis, Y.S.; project administration and writing—review and editing, R.F.; software, validation, formal analysis, original draft preparation and visualization, N.I. All authors have read and agreed to the published version of the manuscript.

Funding

This research was funded by Russian Science Foundation (RSF) project 22-21-00686.

Institutional Review Board Statement

Not applicable.

Informed Consent Statement

Not applicable.

Data Availability Statement

Not applicable.

Conflicts of Interest

The authors declare no conflict of interest.

References

  1. Yetisen, A.K.; Martinez-Hurtado, J.L.; Ünal, B.; Khademhosseini, A.; Butt, H. Wearables in Medicine. Adv. Mater. 2018, 30, 17069102. [Google Scholar] [CrossRef] [PubMed]
  2. Son, D.; Bao, Z. Nanomaterials in Skin-Inspired Electronics: Toward Soft and Robust Skin-like Electronic. Nanosyst. ACS Nano 2018, 12, 11731–11739. [Google Scholar] [CrossRef] [PubMed]
  3. Afzal, M.; Riazul Islam, S.M.; Hussain, M.; Lee, S. Precision Medicine Informatics: Principles, Prospects, and Challenges. IEEE Access 2020, 8, 13593–13612. [Google Scholar] [CrossRef]
  4. Aliverti, A. Wearable technology: Role in respiratory health and disease. Breathe 2017, 13, e27–e36. [Google Scholar] [CrossRef] [PubMed]
  5. Scarpato, N.; Pieroni, A.; Di Nunzio, L.; Fallucchi, F. E-health-IoT universe: A review. Int. J. Adv. Sci. Eng. Inf. Technol. 2017, 7, 2328–2336. [Google Scholar] [CrossRef]
  6. Michard, F. Hemodynamic monitoring in the era of digital health. Ann. Intensive Care 2016, 6, 15. [Google Scholar] [CrossRef] [PubMed]
  7. Fernández-Caramés, T.M.; Froiz-Míguez, I.; Blanco-Novoa, O.; Fraga-Lamas, P. Enabling the internet of mobile crowdsourcing health things: A mobile fog computing, blockchain and iot based continuous glucose monitoring system for diabetes mellitus research and care. Sensors 2019, 19, 3319. [Google Scholar] [CrossRef] [PubMed]
  8. Godfrey, A.; Hetherington, V.; Shum, H.; Bonato, P.; Lovell, N.H.; Stuart, S. From A to Z: Wearable technology explained. Maturitas 2018, 113, 40–47. [Google Scholar] [CrossRef] [PubMed]
  9. Zanjal, S.V.; Talmale, G.R. Medicine Reminder and Monitoring System for Secure Health Using IOT. Procedia Comput. Sci. 2016, 78, 471–476. [Google Scholar] [CrossRef]
  10. Behmanesh, A.; Sayfouri, N.; Sadoughi, F. Technological Features of Internet of Things in Medicine: A Systematic Mapping Study. Wirel. Commun. Mob. Comput. 2020, 2020, 9238614. [Google Scholar] [CrossRef]
  11. Liu, Y.; Zhang, L.; Yang, Y.; Zhou, L.; Ren, L.; Wang, F.; Liu, R.; Pang, Z.; Deen, M.J. A Novel Cloud-Based Framework for the Elderly Healthcare Services Using Digital Twin. IEEE Access 2019, 7, 49088–49101. [Google Scholar] [CrossRef]
  12. Dziak, D.; Jachimczyk, B.; Kulesza, W.J. Wirelessly interfacing objects and subjects of healthcare system—IoT approach. Elektronika ir Elektrotechnika 2016, 22, 66–73. [Google Scholar] [CrossRef]
  13. Dash, S.; Shakyawar, S.K.; Sharma, M.; Kaushik, S. Big data in healthcare: Management, analysis and future prospects. J. Big Data 2019, 6, 54. [Google Scholar] [CrossRef]
  14. Kamel Boulos, M.N.; Peng, G.; Vopham, T. An overview of GeoAI applications in health and healthcare. Int. J. Health Geogr. 2019, 18, 7. [Google Scholar] [CrossRef] [PubMed]
  15. Qureshi, F.; K1ishnan, S. Wearable hardware design for the internet of medical things (IoMT). Sensors 2018, 18, 3812. [Google Scholar] [CrossRef] [PubMed]
  16. Pramanik, P.K.D.; Solanki, A.; Debnath, A.; Nayyar, A.; El-Sappagh, S.; Kwak, K.-S. Advancing Modern Healthcare with Nanotechnology, Nanobiosensors, and Internet of Nano Things: Taxonomies, Applications, Architecture, and Challenges. IEEE Access 2020, 8, 65230–65266. [Google Scholar] [CrossRef]
Figure 1. Status report screen.
Figure 1. Status report screen.
Engproc 33 00010 g001
Figure 2. Sending verification of taking medications.
Figure 2. Sending verification of taking medications.
Engproc 33 00010 g002
Figure 3. Test screen.
Figure 3. Test screen.
Engproc 33 00010 g003
Figure 4. Description of well-being.
Figure 4. Description of well-being.
Engproc 33 00010 g004
Figure 5. Event screen.
Figure 5. Event screen.
Engproc 33 00010 g005
Figure 6. Description of well-being.
Figure 6. Description of well-being.
Engproc 33 00010 g006
Figure 7. Device diagram.
Figure 7. Device diagram.
Engproc 33 00010 g007
Disclaimer/Publisher’s Note: The statements, opinions and data contained in all publications are solely those of the individual author(s) and contributor(s) and not of MDPI and/or the editor(s). MDPI and/or the editor(s) disclaim responsibility for any injury to people or property resulting from any ideas, methods, instructions or products referred to in the content.

Share and Cite

MDPI and ACS Style

Shichkina, Y.; Fatkieva, R.; Isaenko, N. Monitoring the Condition of a Patient with Parkinson’s Disease. Eng. Proc. 2023, 33, 10. https://doi.org/10.3390/engproc2023033010

AMA Style

Shichkina Y, Fatkieva R, Isaenko N. Monitoring the Condition of a Patient with Parkinson’s Disease. Engineering Proceedings. 2023; 33(1):10. https://doi.org/10.3390/engproc2023033010

Chicago/Turabian Style

Shichkina, Yulia, Roza Fatkieva, and Nikita Isaenko. 2023. "Monitoring the Condition of a Patient with Parkinson’s Disease" Engineering Proceedings 33, no. 1: 10. https://doi.org/10.3390/engproc2023033010

APA Style

Shichkina, Y., Fatkieva, R., & Isaenko, N. (2023). Monitoring the Condition of a Patient with Parkinson’s Disease. Engineering Proceedings, 33(1), 10. https://doi.org/10.3390/engproc2023033010

Article Metrics

Back to TopTop