Abstract
Currently, the key challenge of the oil-refining industry worldwide is to produce environmentally friendly fuel in large volumes to meet market demand, which is due to strict environmental standards governing the permissible sulfur content in fuel. Natural gas, refinery gas, and coal gas contain acid gases such as hydrogen sulfide and carbon dioxide. These compounds must be removed from the gas stream because of the toxicity of H2S and to prevent the acid gas-induced corrosion of pipelines and facilities. Hydrogen sulfide is released as a result of various industrial processes, and its removal is critical because this compound can cause corrosion and environmental damage even at low concentrations. Sulfur compounds are also present in natural gas, biofuels and other fuel gases used in power plants. This article proposes new adsorbents of natural and waste origin and presents the results of their testing for the removal of acid gases. This paper also considers methods for the preparation of adsorbents from waste and procedures for the removal of sulfur-containing compounds. Using agricultural, industrial waste to produce activated sorbents not only solves the problem of waste disposal but also reduces the cost of desulfurization, contributing to the creation of sustainable and environmentally friendly technologies. The Review Section comprehensively summarizes current research on hydrogen sulfide removal in gas cleaning processes using agricultural and industrial waste as highly efficient adsorbents. In the Experimental Section, 10 composite materials based on natural raw materials and wastes, as well as 6 commercial adsorbents, were synthesized and tested under laboratory conditions. The choice of materials for the adsorbent production was based on the principles of environmental friendliness, availability, and cost-effectiveness. The developed materials based on modified sludge from water treatment plants of thermal power plants are effective sorbents for the purification of gas emissions from petrochemical enterprises. For industrial use, it is necessary to solve the problems of increasing the economic attractiveness of sorbents from waste, the ability of regeneration, the competitive adsorption of pollutants, the use of indicator sorbents, the optimization of operating conditions, and safe waste disposal.
1. Introduction
As the demand for fossil natural resources increases, so do the requirements for environmental protection. One of the urgent issues in processing hydrogen sulfide-containing oils is increasing the operation efficiency and environmental safety of oilfield systems. In modern conditions of the market economy, there is a tendency to use small-sized automated installations in a block-aggregate design, which is due to the desire to save energy resources. The development of new energy- and resource-saving technologies is becoming an increasingly relevant topic in the field of environmental protection from harmful industrial gas emissions [1]. Sulfur-containing compounds must be removed before the use on power equipment due to their corrosive activity and the possibility of forming sulfide deposits on heating surfaces. Therefore, the use of adsorption technology, the development and use of sorbents from natural and waste materials for the purification of fuel gases and gas emissions from oil refining will contribute to solving the problems of rational uses of natural resources and energy conservation in the oil-refining sector.
2. Literature Review
The use of industrial waste to carry out the adsorption process has proven itself as one of the viable technologies for the purification of gaseous fuels and gaseous petroleum products from sulfur compounds [2]. Adsorbents from industrial waste are cheaper than traditionally used adsorbents, such as carbon structures, zeolites, metal oxides, membranes, etc. Some studies are devoted to the development of inexpensive adsorbents using various agro-industrial and municipal wastes [3,4,5]. Low-cost adsorbents help to protect the environment by contributing to the reduction in waste disposal costs.
In the studies of [3,6], it is shown that, despite the developed production of industrial adsorbents, there is a growing trend towards the development of low-cost adsorbents from waste or natural materials. Adsorbents obtained from free waste can have an overall positive impact on the country’s economy.
2.1. Agricultural Waste as Low-Cost Adsorbents
Agricultural materials have potential sorption capacity for various pollutants due to the cellulose content. The main components of agricultural waste include hemicellulose, lignin, lipids, proteins, simple sugars, water, carbohydrates and starch containing various functional groups. Agricultural waste is a potential raw material for the production of adsorbents due to its unique chemical composition and has the advantages of being economical and environmentally friendly, accessible, renewable and low cost. Agricultural waste is a rich source for activated carbon production. It has low ash content and acceptable strength [7], so recycling agricultural waste into low-cost adsorbents is a promising alternative to solve environmental problems.
Over the past decades, various agricultural wastes have been investigated as low-cost adsorbents. Over the past decades, various agricultural wastes have been investigated as low-cost adsorbents. Researchers have considered wastes such as shells and/or pits of fruits such as nuts [8], peanuts [9], olives [10], almonds [11], apricots [12] and cherries [13], wastes generated during the production of cereals such as rice [14], corn [15], as well as sugarcane bagasse [16] and coconut pulp [17]. These agricultural wastes were used in their natural form or after some physical or chemical modification.
It should be noted that the developed adsorbents based on agricultural waste show excellent results and are comparable to commercial adsorbents in terms of the adsorption capacity (sulfur adsorption capacity). Thus, when using rice husks processed by pyrolysis at 400 °C, the sulfur adsorption capacity of the resulting adsorbent was 382.7 mg/g. The model gas was humidified hydrogen sulfide [18]. The sulfur adsorption capacity of coffee production waste modified by pyrolysis at 800 °C followed by processing was approximately 200 mg/g [19].
With the growth of the economy, the regional pollution of nature and large-scale ecological destruction are becoming a serious threat to the survival and progress of mankind. More and more attention is paid to affordable and renewable biosorbents, which can be an effective solution to this problem. Agricultural waste, which has a porous structure, contains active groups such as carboxyl and hydroxyl, which makes it effective for removing pollutants. The adsorption process is influenced by various factors, including pH, temperature, and the initial concentration of substances. The modification of such waste can increase their adsorption capacity. The main mechanisms of pollutant removal include ion exchange, electrostatic interactions and complexation, which are still being studied. The creation of environmentally friendly modifiers and technologies will be a key direction in the development of biological adsorption. The use of agricultural waste as biosorbents not only reduces the environmental load but also promotes the principle of “waste disposal through waste recycling”. In the future, this opens up broad opportunities for the development of environmental management [20].
2.2. Industrial and Municipal Waste as Low-Cost Adsorbents
Industrial enterprises produce huge amounts of solid waste as by-products. Some industrial waste is used, while other waste has no useful application besides storage or disposal. Industrial waste is available virtually free of charge and has serious disposal problems. If industrial solid waste could be used as low-cost adsorbents, it would provide a double benefit in terms of environmental pollution. First, the volume of industrial waste requiring disposal can be reduced. Second, the low-cost adsorbent from industrial waste can reduce wastewater pollution and gas emissions at reasonable cost. Due to the low cost of such adsorbents, there is no need to regenerate waste materials.
The main by-product of solid waste production in coal-fired thermal power plants is fly ash. The high silica and alumina content of fly ash makes it suitable for use as a low-cost adsorbent for industrial applications [21]. The steel industry produces large quantities of waste such as blast furnace slag, dust and sludge, etc. In the study of [22], these wastes were investigated as adsorbents. Solid waste from the aluminum industry (red mud) produced during bauxite processing was considered as an adsorbent for wastewater treatment [23]. The fertilizer industry also produces a number of by-products in large quantities that have no further use and may have a negative impact on the environment, but have good potential for use as adsorbents [24]. Waste from the pulp and paper industry creates serious disposal problems and pollutes the environment. The experimental results showed that paper sludge from paint removal leads to the formation of mesoporous materials, while sludge from pulp production can be used to create highly porous adsorbents [25]. Various industries produce sludge as by-products that have been investigated as adsorbents. Solid waste from distillation units is a by-product of the ammonia–soda process for the soda ash production and has been used as an alternative adsorbent for the removal of anionic dyes from aqueous media [26]. Bhatnagar A. et al. investigated battery industry waste for the removal of some metal ions (Pb, Cu, Cr and Zn) from an aqueous solution [27]. Sewage sludge has also been used to produce an effective adsorbent [28].
In [29], it was proposed to use materials obtained from sewage sludge as adsorbents for the removal of hydrogen sulfide from humid air. The adsorbent created by carbonization at a temperature of 950 °C demonstrated an efficiency twice as high as that of activated carbon from coconut shells. The researchers noted that, with an increase in the temperature of the carbonization process, the adsorption properties of the obtained materials improved. The thermal reaction at 950 °C probably leads to the formation of a mineral-like phase containing catalytically active metals such as iron, copper and zinc. The results of the study show that the presence of iron oxide significantly increases the adsorption capacity of both carbon black and activated alumina. Adsorbents obtained from sludge effectively remove hydrogen sulfide until the pores are closed by sulfur that formed as a result of oxidation reactions. It was also found that chemisorption plays a key role in the process of removing hydrogen sulfide from air with high humidity.
The authors in [30] used sewage sludge to obtain an adsorbent by controlling the conditions of temperature and chemical activation. Using the adsorbent derived from sewage sludge to adsorb the low concentration SO2 in a fixed bed system, the effects of the metallic derivatives on characteristics of the adsorbent were investigated at different compositions of the gaseous mixtures. It has been shown that derivatives of metals (iron, calcium, copper, nickel), especially vanadium, fixed on the adsorbent have a great influence on the sorption characteristics of the adsorbent in relation to SO2.
The authors of [31] created adsorbents for desulfurization using mixtures of sewage sludge and metal sludge with different compositions, which were subjected to pyrolysis at temperatures of 650, 800 and 950 °C. The reaction temperature, as well as the composition of the starting materials, has a significant effect on the final characteristics of the adsorbents. With a significant proportion of sewage sludge, a significant increase in the effect is observed after pyrolysis at high temperatures. This result is explained by the development of mesopores and the formation of new catalytic phases due to the presence of solid-phase reactions. The removal of hydrogen sulfide using the created materials is complicated by the competition between H2S and CO2 for adsorption sites, as well as the deactivation of these sites by CO2/H2CO3.
To optimally use the catalytic activity of sludge-based adsorbents in hydrogen sulfide oxidation, the authors of [32] synthesized composites containing a phase of sewage and coconut charcoal in a ratio of 10 and 30%. They were obtained by pyrolysis at 600, 800 and 950 °C. After detailed characterization of the surface in terms of chemistry and porosity, their efficiency in removing hydrogen sulfide from humid air under ambient conditions was tested. The results showed improved performance only for the samples obtained at 600 and 800 °C. These composites adsorbed three times more hydrogen sulfide compared to the samples from untreated sludge. The improvement is due to the presence of active catalyst sites for the oxidation of hydrogen sulfide and the increased porosity of the carbon phase, which facilitates the storage of reactive adsorption products. However, pyrolysis of the composites at 950 °C led to a decrease in their efficiency compared to the adsorbent based on sludge alone, the sulfur capacity of which was 87 mg/g. This was due to the blocking of the ongoing chemical reactions by carbon particles and the fusion of carbon pores with the inorganic phase based on sludge.
Thus, industrial waste has a high potential for the removal of sulfur compounds due to the predominantly high content of metal ions and activated carbon. However, adsorbents based on industrial waste, as a rule, are destroyed after a single use and cannot be regenerated. Also, the use of adsorbents from industrial waste usually requires high temperatures to carry out an effective adsorption process. The spent adsorbent does not lose its toxic properties, but can even enhance them and become a hazardous waste due to increased toxicity after interaction with sulfur compounds [33].
2.3. Factors Influencing Hydrogen Sulfide Adsorption
The mechanism of H2S adsorption is a complex process with the simultaneous influence of several key factors, namely: porosity and specific surface area [34,35,36], pH [34,35,36,37,38], humidity [34,38,39,40], metal inclusions [36,39,40,41,42,43,44].
The main problem in waste disposal is its heterogeneity and inconsistency of composition. Waste varies in composition even if it comes from the same source and location. Efficient waste management and sorting could facilitate their intended use, but it is virtually impossible to obtain separate wastes of identical composition. One of the possible solutions for adjusting the composition is based on the standardization method. This method is associated with changing the properties of waste to specified parameters before further use as adsorbents. An example is the addition of iron filings to biochar and biomass-derived carbon to improve efficiency.
Many studies have shown that the adsorption capacity for hydrogen sulfide mainly depends on the content of metal ions such as iron, magnesium and calcium. The results of the work of [41] show that iron-containing sludge-based adsorbents containing calcium were the most reactive and demonstrated the greatest capacity to retain H2S. For this particular sludge type, fairly good performance was observed even when using dehydrated (raw) sludge as the adsorbent/catalyst. The thermal treatment (gasification) of raw (dehydrated) sludges increased the capacity to absorb H2S in all cases.
The adsorption capacity of wastes with low mineral content can be enhanced by adding iron filings, which increases their adsorption capacity by approximately 15% [36]. Interesting results were also obtained for red clay containing natural iron oxide. Its adsorption capacity without any modifications was higher than when using biochar [43].
Humidification of the adsorbent, as mentioned earlier, usually contributes to the improvement of its adsorption characteristics. Some scientists have attempted to increase the H2S adsorption capacity not only by increasing the humidity level in the adsorption system but also by changing the pH and porosity of the material. Some studies have shown an improvement in adsorption by almost three times with respect to low moisture content. For example, the initial water content of different types of biowaste affects the adsorption result [44]. It has been shown that biowaste from pig farming has the highest sulfur capacity (65.4 mg/g) with a moisture content of 25 wt.%.
The presence of water causes the dissociation of H2S into H+ and HS− ions. This effect facilitates their adsorption in the subsequent process. It has also been found that humidity replaces other key factors in the H2S adsorption.
In addition to humidity and the presence of metal inclusions, chemical activation with changes in pH plays a major role. In an experimental study, the effect of activation conditions on the adsorption efficiency of H2S gas using drinking water treatment waste was analyzed. According to the study of [37], the sludge was divided into three groups. The first group was only dried in an oven at 105 °C. For the other two groups, the sludge was soaked in a 2.5 M NaOH solution. After that, the sludge was divided into two groups (groups 2 and 3). The second group was washed with distilled water until pH 7 was reached, and the third group was not washed. Analysis of the obtained materials revealed that activation with NaOH contributed to an increase in the surface area and total volume of the sludge. The results of the adsorption experiments showed that the maximum adsorption capacity reached 87.94 mg/g. In addition, when 20 wt.% of iron filings was added to the sludge of the third group, the adsorption capacity increased to 105.22 mg/g of the adsorbent.
During the adsorption process, elemental sulfur is formed in the presence of oxygen from the air. It covers the surface of the material, as a result of which the pores of the adsorbent are blocked, and the process stops according to reaction (1) [45].
H2S + 1/2O2 = S + H2O
In this study, a new hydrogen sulfide removal by sewage sludge-derived adsorbent without elemental sulfur precipitation was proposed. At temperatures <180 °C, the adsorbent obtained from the sludge was deactivated and showed a limited amount of hydrogen sulfide absorption—9.18 mg/g after 60 min of the experiment. Scanning electron microscopy and Fourier-transform infrared spectroscopy showed that the carbon sites of the deactivated adsorbent were coated with elemental sulfur. In contrast, at temperatures >180 °C, the adsorbent achieved stable desulfurization without deactivation. As a result, the amount of hydrogen sulfide absorbed was 4141.2 mg/g after 20 h of the experiment. Sulfur efflux was a key factor determining the regeneration of active carbon sites and the continuous oxidation of H2S.
Thus, based on the results of the literature analysis, a number of unresolved problems were identified that complicate the industrial use of adsorbents from waste and natural materials, including the economic attractiveness of sorbents from waste, the ability to regenerate, the competitive adsorption of pollutants, the use of indicator sorbents, the optimization of operating conditions, and safe waste disposal.
Nevertheless, a high growth in the number of available literary data on the use of low-cost adsorbents, including for the petrochemical industry, was shown. The aim of the work was to investigate a number of industrial wastes based on sludge from water treatment of thermal power plants and natural materials with and without treatment as adsorbents for the removal of hydrogen sulfide from gas waste from oil refining.
3. Materials and Methods
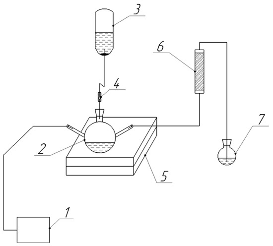
To test the developed and prepared sorbent compositions in laboratory conditions, a laboratory setup was assembled (Figure 1). The installation included a gas source, an adsorber, and a receiver with an absorbent solution. Gas from the source entered the adsorber for desulfurization, and, at the adsorber’s outlet, a receiver with the absorbent solution was installed.
Figure 1.
Schematic of the lab setup: 1—gas source, 2—sodium sulfide, 3—hydrochloric acid, 4—dispenser, 5—magnetic mixer, 6—adsorber, and 7—receiver with the absorbent solution.
The gas source was a chemical reaction of sodium sulfide interacting with hydrochloric acid and purging the released hydrogen sulfide with nitrogen, according to reaction 1. The amount of hydrogen sulfide released depends on the concentration of the initial solutions and their volumes. In this experiment, 100 mL of a 35 g/L solution of sodium sulfide 9-aqueous and 100 mL of a 10% hydrochloric acid solution were used. The gas flow rate during adsorption was 9 L per hour. The amount of hydrogen sulfide released was determined experimentally using a blank sample. The convergence of three subsequent measurements was ±1%.
The quantitative determination of hydrogen sulfide released during the reaction and not adsorbed after the adsorber was carried out by iodometric titration, and the photometric method was conducted according to GOST 22387.2-2021, “Natural gas. Methods for determination of hydrogen sulfide and mercaptan sulfur”.
To determine the adsorption capacity of the studied adsorbents, a spectrophotometric method was used. The content of sulfides in the absorbing solution after the adsorber was determined using a Shimadzu UV-1800 spectrophotometer at a wavelength of λ = 670 nm. The adsorption efficiency was estimated quantitatively by the sulfur absorption capacity index. This index was calculated as the amount of substance (hydrogen sulfide in mg) absorbed by a unit mass of the sorbent (in g) under given adsorption conditions.
Adsorbent material compositions were developed to absorb sulfur compounds. The waste from preliminary treatment of the water treatment plant was used as a basis for the sorbent preparation. The waste was in the form of an aqueous suspension, the solid part of which mainly consisted of calcium carbonate (more than 80%), magnesium hydroxide, iron oxides, and aluminum. The qualitative composition of the waste directly depends on the reagent treatment and the source water composition. In this work, waste from the preliminary treatment of the water treatment plant of Nizhnekamsk TPP-2 was used to conduct experiments.
To use sludge as a component of the adsorbent, it is necessary to carry out its pre-treatment, which is based on the following steps:
- -
- Sludge dehydration;
- -
- The calcination of dehydrated sludge for 2 h at 1000 °C (heating and cooling were carried out with a uniform change in temperature).
Since the sludge is predominantly composed of calcium carbonate, when it is heated (more than 840 °C), it decomposes, and carbon dioxide and calcium oxide (quicklime) are released. Figure 2 and Figure 3 show the spectra of the sludge before and after pyrolysis. The spectra were obtained on a Shimadzu IRAffinity-1S IR spectrophotometer.
Figure 2.
Sludge from the water treatment plant of Nizhnekamsk CHPP-2. Abs—absorbance, 1/cm—wavenumber.
Figure 3.
Sludge from the water treatment plant of Nizhnekamsk CHPP-2 after pyrolysis at 1000 °C for 2 h. Abs—absorbance, 1/cm—wavenumber.
Table 1 shows the decoding of IR spectra based on the characteristic absorption bands of certain bonds or groups of atoms.
Table 1.
Characteristic frequencies for IR spectra of water treatment plant sludge.
After preliminary treatment, soda lime was prepared from the activated sludge by adding dry sodium hydroxide in a ratio of 83/17 and mixing with distilled water (23% of the total mass of the mixture). The mixture was heated, and, after cooling, the activated sludge can be used as an active component.
For this study, adsorption compositions were prepared, including natural materials and waste (granulated coal, bentonite clay, red clay, non-activated sludge, activated sludge, sodium metasilicate, starch, natural limestone, wood sawdust), as well as chemical reagents and commercial adsorbents (chemical lime absorbent (HP-I) of Russian and foreign production, ascarite, zeolite NaX, sodium alkali, calcium oxide, and Anionite Tulsion A23CL). The composition of the obtained adsorbents and the methods of their treatment are presented in Table 2.
Table 2.
Composition and characteristics of the sorbents developed by the authors and some commercial ones.
The obtained adsorbents had the form of granules with a diameter of 5 mm. The criteria for selecting the prepared adsorbent samples for subsequent sorption capacity testing were based on the principles of environmental friendliness, availability, and the cost-effectiveness of materials. A test of mechanical abrasion resistance was also carried out for compliance with the requirements of GOST 6755-88, “Chemical Lime Absorbent HP-I”.
4. Results
The obtained results of the developed adsorbents are comparable with the indicators of adsorbents from waste and natural materials in terms of sulfur adsorption capacity, presented by researchers in the literature [5,6]. Based on the results of laboratory studies of the developed composite adsorbents, a high sulfur adsorption capacity was revealed in comparison with commercial adsorption materials. Powdered bentonite, a mixture of bentonite with coal, soda lime from sludge in powder form and soda lime from sludge with the addition of zinc oxide are 5–15 times higher in sulfur adsorption capacity than the commercial adsorbent zeolite, HP-I, lime absorbent (Figure 4).
Figure 4.
Sulfur adsorption capacity of developed and commercial adsorbents. Sample numbers are presented in Table 2.
It has been shown that sludge from water treatment plants has good potential for capturing hydrogen sulfide, especially after preliminary heat treatment due to its content of predominantly alkaline earth metal oxides. The addition of sodium hydroxide significantly increases the sulfur adsorption capacity, which reached 377 mg/g for the soda lime sample from thermally treated sludge. Thus, the mechanism of chemisorption is predominantly manifested due to the chemical reaction between the surface and the adsorbate. However, for this sample, strong loosening of the final product is observed, with its transformation into powder form. To form spherical granules, sodium metasilicate or starch was added to the powder. They give strength to the final product, but, at the same time, the sulfur absorption capacity decreased by more than 10 times. The decrease in adsorption capacity is associated with the disruption of the porous microstructure due to the coating of the sorbent with a polysaccharide film.
Mixing powdered sorbents with high sulfur adsorption capacity with moistened wood sawdust in a 1/1 ratio slightly reduces the sulfur absorption capacity (from 333 to 225 mg/g). This occurs due to a reduction in the total amount of chemical sorbent by weight (sodium hydroxide, alkaline earth metal oxides) but with the addition of a physical sorbent (sawdust), which initially has a lower absorption capacity for hydrogen sulfide. But, at the same time, it improves the hydrodynamic properties when the gas passes through the adsorber, due to a decrease in the bulk density of the adsorber backfill.
Sorbent samples made from red clay and primary untreated sludge have sufficient mechanical abrasion resistance (92%), measured according to GOST 6755-88, and their regeneration is possible. Although their sulfur adsorption capacity is lower than that of samples with thermally treated sludge in their composition (on average by 40%), after regeneration with 4% sodium alkali, their sorption capacity returns to its initial value. The adsorption capacity is significantly higher in thermally treated sludge due to the presence of alkaline earth metal oxides in it (Figure 3). However, untreated sludge has a higher surface porosity, i.e., it predominantly exhibits the properties of the physical adsorption mechanism. Combining thermally untreated sludge with red clay allows us to obtain an adsorbent that has the advantages of porosity, strength and the regeneration ability but with reduced sulfur capacity.
The developed sludge-based adsorbents acquire a dark green color when in contact with hydrogen sulfide. The color change can be used to draw a conclusion about the degree of material depletion and the need for its replacement (Figure 5).
Figure 5.
As the gas moves from left to right along the adsorber tube, darkening of the adsorbent is observed when interacting with hydrogen sulfide.
Bentonite clay samples, which are widely used as adsorbents due to the presence of chemical and physical sorption mechanisms simultaneously, have high sulfur adsorption capacity (119.8 mg/g) and regeneration ability but, according to the experimental results, have a high percentage of mass loss after regeneration and calcination (about 20% by mass).
The following compositions demonstrated the ability of regeneration: bentonite with coal 50/50, anionite Tulsion A23CL, and compositions based on untreated sludge. It should be noted that not all compositions demonstrated good regeneration tolerance. For example, the anionite demonstrated high sulfur capacity after a single use. Subsequent regenerations did not destroy its structure, but the sulfur capacity decreased by more than 50% and became economically ineffective. Bentonite with coal improved sulfur capacity after regeneration, but each subsequent regeneration leads to the sintering and destruction of about 20% of this material. Multiple regenerations (more than 10) of adsorbents based on untreated sludge led to the destruction of no more than 1% of the material by weight and did not significantly change the sulfur capacity from the initial values.
All samples prepared in the form of granules using molding materials (starch, sodium metasilicate, red clay, slaked lime) have a sufficient level of mechanical strength. Granulated samples were tested according to GOST 6755-88, and their mechanical abrasion resistance was at least 65%. This value corresponds to the minimum permissible limit of mechanical strength for the materials being developed.
5. Conclusions
This article presents a laboratory study of developed and commercially available adsorbents from natural and industrial waste materials for the purpose of removing hydrogen sulfide from fuel gases and gas emissions from oil production. The developed adsorbents are proposed for purifying sulfur-containing gas waste at petrochemical facilities. It is also proposed to use them for natural gas desulfurization for subsequent use as fuel or for hydrogen production by steam reforming.
The developed adsorbents showed a high level of sulfur adsorption capacity for hydrogen sulfide relative to commercially available products—activated carbon (brand BAU, Russia), chemical lime absorbent HP-I (Russia) and lime absorber Atrasorb (Portugal), ascarite, zeolite NaX, and anionite Tulsion A23CL, which are offered by manufacturers for gas purification from hydrogen sulfide for industrial purposes.
This study demonstrates that solid waste from energy enterprises (sludge from water treatment plants) can be used with high efficiency to purify gas waste from petrochemical enterprises.
The adsorbent obtained from thermally treated sludge with the addition of sodium alkali and mixing with wood sawdust showed the best results among the developed and commercially available materials in terms of sorption efficiency, environmental friendliness, moldability, availability, and ease of production. The sulfur adsorption capacity of the sample was 225 mg/g, which is a key innovation and allows us to consider it as a promising composite sorption material for use in the petrochemical industry.
Utilizing waste materials as cost-effective adsorbents for purifying gas fuel mixtures from contaminants offers several benefits, such as lowering waste management expenses and promoting environmental sustainability. Although research in this field is expanding, several challenges remain unresolved:
- (1)
- Identifying and selecting an appropriate low-cost material capable of effectively capturing specific pollutants, considering the properties of both the adsorbent and the adsorbate.
- (2)
- Ensuring cost-efficiency, which is critical in industrial applications. High adsorption capacity at minimal expense enhances process profitability.
- (3)
- Enabling adsorbent regeneration for repeated use, thereby improving economic viability.
- (4)
- Assessing the potential of affordable adsorbents for handling multi-component pollutants and their competitive adsorption, a key factor for commercial success.
- (5)
- Developing indicator sorbents to monitor purification processes and facilitate a timely replacement as gas emission compositions change.
- (6)
- Optimizing purification conditions, including pH, temperature, ionic strength, and contaminant concentration, to maximize efficiency.
- (7)
- Safely disposing of spent adsorbents containing captured pollutants.
The successful adoption of such adsorbents could provide significant advantages over costly purification methods while contributing to waste reduction efforts.
Author Contributions
A.V. and A.F. worked on all the tasks, A.F., R.K., I.B. and A.C. worked on the literature review, I.I., I.B. and A.F. conducted computational studies, I.I. and A.C. performed the supervision, and all authors analyzed the results. All authors have read and agreed to the published version of the manuscript.
Funding
This study is financed by the European Union—NextGenerationEU—through the National Recovery and Resilience Plan of the Republic of Bulgaria, project N° BG-RRP-2.013-0001-C01. This research was also co-funded by the Ministry of Science and Higher Education of the Russian Federation “Study of processes in a fuel cell-gas turbine hybrid power plant” (project code: FZSW-2022-0001).
Data Availability Statement
The original contributions presented in this study are included in the article. Further inquiries can be directed to the corresponding authors.
Conflicts of Interest
The authors declare no conflicts of interest.
References
- Batterman, S.; Grant-Alfieri, A.; Seo, S.H. Low level exposure to hydrogen sulfide: A review of emissions, community exposure, health effects, and exposure guidelines. Crit. Rev. Toxicol. 2023, 53, 244–295. [Google Scholar] [CrossRef]
- Rial, J.B.; Ferreira, M.L. Potential applications of spent adsorbents and catalysts: Re-valorization of waste. Sci. Total Environ. 2022, 823, 153370. [Google Scholar] [CrossRef] [PubMed]
- Ahmad, W.; Sethupathi, S.; Kanadasan, G.; Lau, L.C.; Kanthasamy, R. A review on the removal of hydrogen sulfide from biogas by adsorption using sorbents derived from waste. Rev. Chem. Eng. 2021, 37, 407–431. [Google Scholar] [CrossRef]
- Papurello, D.; Lanzini, A.; Bressan, M.; Santarelli, M. H2S Removal with Sorbent Obtained from Sewage Sludges. Processes 2020, 8, 130. [Google Scholar] [CrossRef]
- Nyamukamba, P.; Mukumba, P.; Chikukwa, E.S.; Makaka, G. Hydrogen Sulphide removal from biogas: A review of the upgrading techniques and mechanisms involved. Int. J. Renew. Energy Res. 2022, 12, 557–568. [Google Scholar]
- Pudi, A.; Rezaei, M.; Signorini, V.; Andersson, M.P.; Baschetti, M.G.; Mansouri, S.S. Hydrogen sulfide capture and removal technologies: A comprehensive review of recent developments and emerging trends. Sep. Purif. Technol. 2022, 298, 121448. [Google Scholar] [CrossRef]
- Yunus, Z.M.; Al-Gheethi, A.; Othman, N.; Hamdan, R.; Ruslan, N.N. Advanced methods for activated carbon from agriculture wastes; a comprehensive review. Int. J. Environ. Anal. Chem. 2022, 102, 134–158. [Google Scholar] [CrossRef]
- Tamborrino, V.; Costamagna, G.; Bartoli, M.; Rovere, M.; Jagdale, P.; Lavagna, L.; Ginepro, M.; Tagliaferro, A. Catalytic oxidative desulphurization of pyrolytic oils to fuels over different waste derived carbon-based catalysts. Fuel 2021, 296, 120693. [Google Scholar] [CrossRef]
- Aryee, A.A.; Mpatani, F.M.; Kani, A.N.; Dovi, E.; Han, R.; Li, Z.; Qu, L. A review on functionalized adsorbents based on peanut husk for the sequestration of pollutants in wastewater: Modification methods and adsorption study. J. Clean. Prod. 2021, 310, 127502. [Google Scholar] [CrossRef]
- Yakout, S.M.; El-Deen, G.S. Characterization of activated carbon prepared by phosphoric acid activation of olive stones. Arab. J. Chem. 2016, 9, S1155–S1162. [Google Scholar] [CrossRef]
- Christopher, T.; Wayne, M.E. Copper ion removal by almond shell carbons and commercial carbons: Batch and column studies. Sep. Sci. Technol. 2002, 37, 2369–2383. [Google Scholar]
- Soleimani, M.; Kaghazchi, T. Activated hard shell of apricot stones: A promising adsorbent in gold recovery. Chin. J. Chem. Eng. 2008, 16, 112–118. [Google Scholar] [CrossRef]
- Nowicki, P.; Kaźmierczak, M.; Wiśniewska, M. Adsorption of Organic Pollutants on Carbonaceous Adsorbents Prepared by Direct Activation of Sweet Cherry Stones. ChemPhysChem 2024, 25, e202300859. [Google Scholar] [CrossRef] [PubMed]
- Khalil, L.B. Adsorption characteristics of activated carbon obtained from rice husks by treatment with phosphoric acid. Adsorpt. Sci. Technol. 1996, 13, 317–325. [Google Scholar] [CrossRef]
- Elizalde-González, M.P.; Mattusch, J.; Wennrich, R. Chemically modified maize cobs waste with enhanced adsorption properties upon methyl orange and arsenic. Bioresour. Technol. 2008, 99, 5134–5139. [Google Scholar] [CrossRef] [PubMed]
- Garcia-Perez, T.; Ortiz-Ulloa, J.A.; Jara-Cobos, L.E.; Pelaez-Samaniego, M.R. Adding Value to Sugarcane Bagasse Ash: Potential Integration of Biogas Scrubbing with Vinasse Anaerobic Digestion. Sustainability 2023, 15, 15218. [Google Scholar] [CrossRef]
- Namasivayam, C.; Sangeetha, D. Recycling of agricultural solid waste, coir pith: Removal of anions, heavy metals, organics and dyes from water by adsorption onto ZnCl2 activated coir pith carbon. J. Hazard. Mater. 2006, 135, 449–452. [Google Scholar] [CrossRef]
- Shang, G.; Shen, G.; Liu, L.; Chen, Q.; Xu, Z. Kinetics and mechanisms of hydrogen sulfide adsorption by biochars. Bioresour. Technol. 2013, 133, 495–499. [Google Scholar] [CrossRef]
- Nowicki, P.; Skibiszewska, P.; Pietrzak, R. Hydrogen sulphide removal on carbonaceous adsorbents prepared from coffee industry waste materials. Chem. Eng. J. 2014, 248, 208–215. [Google Scholar] [CrossRef]
- Dai, Y.; Sun, Q.; Wang, W.; Lu, L.; Liu, M.; Li, J.; Yang, S.; Sun, Y.; Zhang, K.; Xu, J.; et al. Utilizations of agricultural waste as adsorbent for the removal of contaminants: A review. Chemosphere 2018, 211, 235–253. [Google Scholar] [CrossRef]
- Wang, S.; Wu, H. Environmental-benign utilisation of fly ash as low-cost adsorbents. J. Hazard. Mater. 2006, 136, 482–501. [Google Scholar] [CrossRef]
- Xie, B.; Geng, N.; Yu, Q.; He, D.; Wang, F.; Liu, T.; Gao, J.; Ning, P.; Song, X.; Jia, L. Removal of SO2 from flue gas using blast furnace dust as an adsorbent. Environ. Sci. Pollut. Res. 2022, 29, 15642–15653. [Google Scholar] [CrossRef] [PubMed]
- Liu, S.; Liu, Z.; Zhu, H.; Wang, Z.; Guo, J.; Zhang, X.; Yu, H.; Yue, X.; Ning, P.; Li, B. The roles of red mud as desulfurization and denitrification in flue gas: A review. J. Environ. Chem. Eng. 2023, 11, 109770. [Google Scholar] [CrossRef]
- Gupta, V.K.; Ali, I. Removal of endosulfan and methoxychlor from water on carbon slurry. Environ. Sci. Technol. 2008, 42, 766–770. [Google Scholar] [CrossRef]
- Méndez, A.; Barriga, S.; Fidalgo, J.M.; Gascó, G. Adsorbent materials from paper industry waste materials and their use in Cu(II) removal from water. J. Hazard. Mater. 2009, 165, 736–743. [Google Scholar] [CrossRef]
- Şener, S. Use of solid wastes of the soda ash plant as an adsorbent for the removal of anionic dyes: Equilibrium and kinetic studies. Chem. Eng. J. 2008, 138, 207–214. [Google Scholar] [CrossRef]
- Bhatnagar, A.; Minocha, A.K.; Kim, S.-H.; Jeon, B.-H. Removal of some metal ions from water using battery industry waste and its cement fixation. Fresenius Environ. Bull. 2007, 16, 1049–1055. [Google Scholar]
- Chen, C.Y.; Wang, P.; Zhuang, Y.Y. Dye removal from wastewater using the adsorbent developed from sewage sludge. J. Environ. Sci. 2005, 17, 1018–1021. [Google Scholar]
- Wang, L.; Sha, L.; Zhang, S.; Cao, F.; Ren, X.; Levendis, Y.A. Preparation of activated coke by carbonization, activation, ammonization and thermal treatment of sewage sludge and waste biomass for SO2 absorption applications. Fuel Process. Technol. 2022, 231, 107233. [Google Scholar] [CrossRef]
- Zhai, Y.; Wei, X.; Zeng, G.; Zhang, D. Effects of metallic derivatives in adsorbent derived from sewage sludge on adsorption of sulfur dioxide. J. Cent. South Univ. Technol. 2004, 11, 55–58. [Google Scholar] [CrossRef]
- Yuan, W.; Bandosz, T.J. Removal of hydrogen sulfide from biogas on sludge-derived adsorbents. Fuel 2007, 86, 2736–2746. [Google Scholar] [CrossRef]
- Florent, M.; Policicchio, A.; Niewiadomski, S.; Bandosz, T.J. Exploring the options for the improvement of H2S adsorption on sludge derived adsorbents: Building the composite with porous carbons. J. Clean. Prod. 2020, 249, 119412. [Google Scholar] [CrossRef]
- Aminuddin, M.S.; Bustam, M.A.; Johari, K. Latest technological advances and insights into capture and removal of hydrogen sulfide: A critical review. RSC Sustain. 2024, 2, 757–803. [Google Scholar] [CrossRef]
- Sun, Y.; Yang, G.; Zhang, L.; Sun, Z. Preparation of high performance H2S removal biochar by direct fluidized bed carbonization using potato peel waste. Process Saf. Environ. Prot. 2017, 107, 281–288. [Google Scholar] [CrossRef]
- Wallace, R.; Seredych, M.; Zhang, P.; Bandosz, T.J. Municipal waste conversion to hydrogen sulfide adsorbents: Investigation of the synergistic effects of sewage sludge/fish waste mixture. Chem. Eng. J. 2014, 237, 88–94. [Google Scholar] [CrossRef]
- Polruang, S.; Banjerdkij, P.; Sirivittayapakorn, S. Use of drinking water sludge as adsorbent for H2S gas removal from biogas. Environ. Asia 2017, 10, 73–80. [Google Scholar]
- Izhar, T.N.T.; Kee, G.Z.; Saad, F.N.M.; Rahim, S.Z.A.; Zakarya, I.A.; Besom, M.R.C.; Syafiuddin, A. Adsorption of hydrogen sulfide (H2S) from municipal solid waste by using biochars. Biointerface Res. Appl. Chem 2022, 12, 8057–8069. [Google Scholar]
- Xu, X.; Cao, X.; Zhao, L.; Sun, T. Comparison of sewage sludge- and pig manure-derived biochars for hydrogen sulfide removal. Chemosphere 2014, 111, 296–303. [Google Scholar] [CrossRef] [PubMed]
- Obis, M.F.; Germain, P.; Troesch, O.; Spillemaecker, M.; Benbelkacema, H. Valorization of MSWI bottom ash for biogas desulfurization: Influence of biogas water content. Waste Manag. 2017, 60, 388–396. [Google Scholar] [CrossRef]
- Lee, S.; Govindan, M.; Kim, D. CoFe-based layered double hydroxide for high removal capacity of hydrogen sulfide under high humid gas stream. Chem. Eng. J. 2021, 416, 127918. [Google Scholar] [CrossRef]
- Ros, A.; Montes-Moran, M.A.; Fuente, E.; Nevskaia, D.M.; Martin, M.J. Dried sludges and sludge-based chars for H2S removal at low temperature: Influence of sewage sludge characteristics. Environ. Sci. Technol. 2006, 40, 302–309. [Google Scholar] [CrossRef] [PubMed]
- Ortiz, F.J.G.; Aguilera, P.G.; Ollero, P. Biogas desulfurization by adsorption on thermally treated sewage sludge. Sep. Purif. Technol. 2014, 123, 200–213. [Google Scholar] [CrossRef]
- Wu, H.; Zhu, Y.; Bian, S.; Ko, J.H.; Li, S.; Xu, Q. H2S adsorption by municipal solid waste incineration (MSWI) fly ash with heavy metals immobilization. Chemosphere 2018, 195, 40–47. [Google Scholar] [CrossRef]
- Skerman, A.G.; Heubeck, S.; Batstone, D.J.; Tait, S. Low-cost filter media for removal of hydrogen sulphide from piggery biogas. Process Saf. Environ. Prot. 2017, 105, 117–126. [Google Scholar] [CrossRef]
- Yin, R.; Wang, Y.; Zhang, J.; Zhou, J.; Liu, Q.; Qian, G. Continuous oxidation of hydrogen sulfide by an adsorbent derived from sewage sludge. Environ. Eng. Sci. 2019, 36, 1170–1178. [Google Scholar] [CrossRef]
Disclaimer/Publisher’s Note: The statements, opinions and data contained in all publications are solely those of the individual author(s) and contributor(s) and not of MDPI and/or the editor(s). MDPI and/or the editor(s) disclaim responsibility for any injury to people or property resulting from any ideas, methods, instructions or products referred to in the content. |
© 2025 by the authors. Licensee MDPI, Basel, Switzerland. This article is an open access article distributed under the terms and conditions of the Creative Commons Attribution (CC BY) license (https://creativecommons.org/licenses/by/4.0/).









