FEM Method Study of the Advanced ECAP Die Channel and Tool Design
Abstract
1. Introduction
2. Materials and Methods
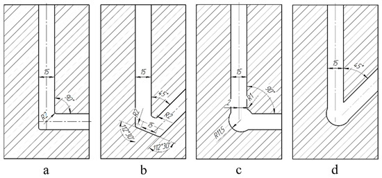
2.1. FEM Analysis of Different Schemes of Working Die
2.2. Designing a Casing for Strength Analysis
3. Results and Discussion
3.1. Conducting Simulations on Different Die Schemes
3.2. Results of Modeling the Strength Analysis of the Casing
3.3. Manufacturing of a Tool Based on the Conducted Analysis
4. Conclusions
Author Contributions
Funding
Institutional Review Board Statement
Informed Consent Statement
Data Availability Statement
Acknowledgments
Conflicts of Interest
References
- Segal, V.M. Materials Processing by Simple Shear. Mater. Sci. Eng. A 1995, 197, 157–164. [Google Scholar] [CrossRef]
- Segal, V.M. Equal Channel Angular Extrusion: From Macromechanics to Structure Formation. Mater. Sci. Eng. A 1999, 271, 322–333. [Google Scholar] [CrossRef]
- Valiev, R.Z.; Krasilnikov, N.A.; Tsenev, N.K. Plastic Deformation of Alloys with Submicron-Grained Stucture. Mater. Sci. Eng. A 1991, 137, 35–40. [Google Scholar] [CrossRef]
- Valiev, R.Z.; Islamgaliev, R.K.; Alexandrov, I.V. Bulk Nanostructured Materials from Severe Plastic Deformation. Prog. Mater. Sci. 2000, 45, 103–189. [Google Scholar] [CrossRef]
- Valiev, R.Z.; Langdon, T.G. Developments in the Use of ECAP Processing for Grain Refinement. Rev. Adv. Mater. Sci. 2006, 13, 15–26. [Google Scholar]
- Xu, C.; Xia, K.; Langdon, T.G. Processing of a Magnesium Alloy by Equal-Channel Angular Pressing Using a Back-Pressure. Mater. Sci. Eng. A 2009, 527, 205–211. [Google Scholar] [CrossRef]
- Höppel, H.W.; Valiev, R.Z. On the Possibilities to Enhance the Fatigue Properties of Ultrafine-Grained Metals. Z. Fuer Met. Mater. Res. Adv. Tech. 2002, 93, 641–648. [Google Scholar] [CrossRef]
- Naizabekov, A.B.; Ashkeev, Z.A.; Lezhnev, S.N.; Toleuova, A.R. Billet Deformation in Uniform Channel Stepped Die. Steel Transl. 2005, 35, 37–39. [Google Scholar]
- Öğüt, S.; Kaya, H.; Kentli, A.; Uçar, M. Applying Hybrid Equal Channel Angular Pressing (HECAP) to Pure Copper Using Optimized Exp.-ECAP Die. Int. J. Adv. Manuf. Technol. 2021, 116, 3859–3876. [Google Scholar] [CrossRef]
- Sepahi-Boroujeni, S.; Fereshteh-Saniee, F. Expansion Equal Channel Angular Extrusion, as a Novel Severe Plastic Deformation Technique. J. Mater. Sci. 2015, 50, 3908–3919. [Google Scholar] [CrossRef]
- Naizabekov, A.B.; Andreyachshenko, V.A.; Kocich, R. Study of Deformation Behavior, Structure and Mechanical Properties of the AlSiMnFe Alloy during ECAP-PBP. Micron 2013, 44, 210–217. [Google Scholar] [CrossRef] [PubMed]
- Naizabekov, A.; Andreyachshenko, V.; Kliber, J.; Kocich, R. Tool for Realization Several Plastic Deformation. In Proceedings of the 22th International Conference on Metallurgy and Materials, Brno, Czech Republic, 15–17 May 2013. [Google Scholar]
- Snopiński, P.; Król, M.; Pagáč, M.; Petrů, J.; Hajnyš, J.; Mikuszewski, T.; Tański, T. Effects of Equal Channel Angular Pressing and Heat Treatments on the Microstructures and Mechanical Properties of Selective Laser Melted and Cast AlSi10Mg Alloys. Archiv. Civ. Mech. Eng. 2021, 21, 92. [Google Scholar] [CrossRef]
- Alateyah, A.I.; Ahmed, M.M.Z.; Zedan, Y.; El-Hafez, H.A.; Alawad, M.O.; El-Garaihy, W.H. Experimental and Numerical Investigation of the ECAP Processed Copper: Microstructural Evolution, Crystallographic Texture and Hardness Homogeneity. Metals 2021, 11, 607. [Google Scholar] [CrossRef]
- Gronostajski, Z.; Hawryluk, M.; Kuziak, R.; Radwański, K.; Skubiszewski, T.; Zwierzchowski, M. The Equal Channel Angular Extrusion Process of Multiphase High Strength Aluminium Bronze/Proces Równokanałowego Wyciskania Kątowego Wysokowytrzymałych Wielofazowych Brązów Aluminiowych. Arch. Metall. Mater. 2012, 57, 897–909. [Google Scholar] [CrossRef]
- Siqueira, P.G.F.; Almeida, N.G.S.; Stemler, P.M.A.; Cetlin, P.R.; Aguilar, M.T.P. The Design of a Die for the Processing of Aluminum through Equal Channel Angular Pressing. Int. J. Mater. Metall. Eng. 2020, 14, 97–100. [Google Scholar]
- Scientific Forming Technologies Corporation. DEFORM v13.1.1 System Documentation; Scientific Forming Technologies Corporation: Columbus, OH, USA, 2023; p. 382. [Google Scholar]
- Arbuz, A.; Kawalek, A.; Ozhmegov, K.; Dyja, H.; Panin, E.; Lepsibayev, A.; Sultanbekov, S.; Shamenova, R. Using of Radial-Shear Rolling to Improve the Structure and Radiation Resistance of Zirconium-Based Alloys. Materials 2020, 13, 4306. [Google Scholar] [CrossRef] [PubMed]
- Panin, E. ZIRCONIUM_Zr-1%Nb, 2020. Mendeley Data. V1. Available online: https://data.mendeley.com/datasets/pg9wfwdxmz/1 (accessed on 14 December 2024).














| Parameter | Object | Value |
|---|---|---|
| FE mesh, elements | Billet | 85,000 |
| Two half-dies | 75,000 | |
| Casing | 75,000 | |
| Type of object | Billet | Plastic |
| Two half-dies | Elastic-plastic | |
| Casing | Elastic-plastic | |
| Material | Billet | Zr1%Nb |
| Two half-dies | AISI 52100 | |
| Casing | AISI 52100 | |
| Temperature, °C | Billet | 500 |
| Two half-dies | 20 | |
| Casing | 20 |
Disclaimer/Publisher’s Note: The statements, opinions and data contained in all publications are solely those of the individual author(s) and contributor(s) and not of MDPI and/or the editor(s). MDPI and/or the editor(s) disclaim responsibility for any injury to people or property resulting from any ideas, methods, instructions or products referred to in the content. |
© 2025 by the authors. Licensee MDPI, Basel, Switzerland. This article is an open access article distributed under the terms and conditions of the Creative Commons Attribution (CC BY) license (https://creativecommons.org/licenses/by/4.0/).
Share and Cite
Arbuz, A.; Lutchenko, N.; Yordanova, R. FEM Method Study of the Advanced ECAP Die Channel and Tool Design. Modelling 2025, 6, 19. https://doi.org/10.3390/modelling6010019
Arbuz A, Lutchenko N, Yordanova R. FEM Method Study of the Advanced ECAP Die Channel and Tool Design. Modelling. 2025; 6(1):19. https://doi.org/10.3390/modelling6010019
Chicago/Turabian StyleArbuz, Alexandr, Nikita Lutchenko, and Rozina Yordanova. 2025. "FEM Method Study of the Advanced ECAP Die Channel and Tool Design" Modelling 6, no. 1: 19. https://doi.org/10.3390/modelling6010019
APA StyleArbuz, A., Lutchenko, N., & Yordanova, R. (2025). FEM Method Study of the Advanced ECAP Die Channel and Tool Design. Modelling, 6(1), 19. https://doi.org/10.3390/modelling6010019

